|
(21), (22) Заявка: 2004117756/28, 11.06.2004
(24) Дата начала отсчета срока действия патента:
11.06.2004
(43) Дата публикации заявки: 20.11.2005
(46) Опубликовано: 10.05.2007
(56) Список документов, цитированных в отчете о поиске:
US 3958266 А, 18.05.1976. JP 5326554 А, 10.12.1993. JP 61104671 А, 22.05.1986. JP 6314785 А, 08.11.1994. US 6541821 В1, 01.04.2003. RU 2175460 C2, 27.10.2001.
Адрес для переписки:
109028, Москва, Б. Трехсвятительский пер., 3/12, МГИЭМ, Отдел охраны интеллектуальной собственности, пат. пов. Т.В. Григорьевой, рег.№34
|
(72) Автор(ы):
Адонин Алексей Сергеевич (RU)
(73) Патентообладатель(и):
Государственное образовательное учреждение высшего профессионального образования Московский государственный институт электроники и математики (Технический Университет) (RU)
|
(54) СПОСОБ ИЗГОТОВЛЕНИЯ МДП-ТРАНЗИСТОРА НА СТРУКТУРЕ КРЕМНИЙ НА САПФИРЕ
(57) Реферат:
Изобретение относится к области микроэлектроники и может быть использовано при изготовлении интегральных схем на базе структур “кремний на сапфире” (КНС). Сущность изобретения: в способе изготовления МДП-транзистора на структуре кремний на сапфире, включающем создание на подложке из сапфира островка слоя кремния собственной проводимости, формирование в нем канала транзистора путем легирования островка кремния примесью, соответствующей типу канала, с последующим созданием подзатворного диэлектрика и затвора, а затем изготовление областей истока и стока, перед легированием островка кремния примесью, соответствующей типу канала, маскируют часть островка кремния, а после легирования немаскированной его части и до создания подзатворного диэлектрика и затвора удаляют маску с части островка кремния собственного типа проводимости, кроме того, часть затвора создают над частью островка кремния собственного типа проводимости, при этом области истока изготавливают в части островка кремния собственного типа проводимости, а области стока изготавливают в части островка кремния, легированного примесью, соответствующей типу канала. Техническим результатом изобретения является реализация и обеспечение выходных характеристик короткоканального транзистора при относительно больших размерах затвора. 7 ил.
Изобретение относится к области микроэлектроники и может быть использовано при изготовлении интегральных схем на базе структур “кремний на сапфире” (КНС), широко используемых для создания цифровых, цифроаналоговых и аналого-цифровых КМОП БИС, а также КМОП БИС повышенной надежности и устойчивых к радиационным воздействиям.
Наиболее распространенное применение указанная элементная база получила в специальной радиоэлектронной аппаратуре для космических исследований, радиолокации, связи и телекоммуникаций, ликвидации последствий радиационных и других экологических катастроф, утилизации ядерных и химических отходов, а также в аппаратуре специального и гражданского назначения.
Известен МДП – транзистор на КНС с индуцированным каналом, в котором сформирована дополнительная инверсионная область, делящая канал в приповерхностной области на две части: одна – между истоком и инверсионной областью, другая – между инверсионной областью и стоком. Таким образом, эффективная длина канала уменьшается на длину инверсионной области, что позволяет получать короткоканальные транзисторы. (В.Федоров “За бугром – хуже” в разделе “Комиссионка”. Научно-технический журнал “Техника молодежи”, 1998 г., № 2, стр.42).
Недостатком описанной структуры МДП – транзистора на КНС является сложность воспроизведения геометрических параметров запирающих областей канала и соответственно выходных характеристик транзистора при размере канала менее 1,5 мкм, что ухудшает надежность устройства и ограничивает возможности его применения при реализации субмикронных транзисторов с длиной канала менее 1,5 мкм.
Наиболее близким по технической сущности к предлагаемому устройству является МОП – полевой транзистор (МОП-ПТ) с индуцированным каналом на базе структуры КНС. (Патент США № 4106045, МКИ 2 Н01L 29/78, опубл.08.08.1978 г.).
МОП-полевой транзистор (МОП-ПТ) с индуцированным каналом на базе структуры КНС содержит планарно сформированные в островке слоя кремния области истока и стока n+-типа проводимости, а также расположенную между ними область р-типа проводимости, в которой индуцируется канал. С целью увеличения быстродействия прибора в режиме переключения, в слое кремния у границы с сапфировой подложкой между n+-областью истока и р-областью, в которой индуцируется канал, создается р+-область. Дополнительная р+-область поддерживает потенциал подложки равным потенциалу истока, тем самым препятствует накоплению дырок в области канала и исключает “кинк эффект”.
Недостатком описанной структуры является применение ее только для n-канальных транзисторов. При этом заметного увеличения быстродействия формирование дополнительной р+-области не обеспечивает, так как эффективная длина канала транзистора не уменьшается.
Известен способ формирования МДП – транзистора на структуре КНС. (В.Федоров “За бугром – хуже” в разделе “Комиссионка”. Научно-технический журнал “Техника молодежи”, 1998 г., № 2, стр.42).
В известном способе в созданных методом литографии островках кремния на подложке из сапфира с помощью маскирования и ионной имплантации формируют карманы n-типа и p-типа проводимости. Далее поверхности кремниевых островков n-типа и p-типа проводимости подвергают термическому окислению для формирования подзатворного диэлектрика из диоксида кремния. Затем с помощью фотолитографии маскируют подзатворный оксид кремния SiO2, оставляя незащищенным участок оксида кремния в центральной области канала транзистора, при этом размер незащищенной области составляет не более 1/3 длины канала транзистора. А после травления незащищенного подзатворного оксида кремния удаляют маску. На поверхности подзатворного оксида кремния и центральные области канала транзистора, свободные от оксида кремния, наносят нитрид кремния Si3N4, обеспечивая при этом формирование “встроенного” канала или инверсионной области на границе раздела Si-Si3N4 и запирающих областей в канале транзистора на границе раздела Si-SiO2-Si3N4. Далее формируют затвор из поликристаллического кремния, методом ионной имплантации формируют области стоков и истоков, а после нанесения межслойной изоляции и вскрытия контактных окон напыляют контакты.
Поскольку для создания предлагаемой инверсионной области предусматривается использование разных диэлектрических покрытий в качестве подзатворного диэлектрика (SiO2 и Si3N4) или необходима перекомпенсация легирующей примеси в приповерхностной области канала с помощью ионной имплантации, то реализация такого способа очень трудоемка и дорогостоящая, требует также использования дополнительного фотолитографического оборудования с разрешением в несколько раз лучше, чем у базового производства, что не реально при изготовлении транзисторов с длиной канала менее 1,5 мкм.
Наиболее близким по технической сущности к предлагаемому способу является способ изготовления структуры МОП-полевого транзистора (МОП-ПТ) с индуцированным каналом на базе структуры КНС по патенту США № 41006045. (Патент США № 4106045, МКИ 2 Н01L 29/78, опубл.08.08.1978 г.).
В известном способе первоначально на подложке из сапфира (AL2О3) формируют островки кремния (Si). Затем для формирования канала p-типа проводимости островки кремния с помощью маскирования и ионной имплантации легируют примесью p-типа проводимости, подвергают термическому окислению и формируют подзатворный диэлектрик из оксида кремния и затвор из поликристаллического кремния. После чего изготавливают области стоков и истоков. Особенностью изготовления n-канальных транзисторов является то, что в них проводят формирование дополнительной р+-области. Дополнительная р+-область создается в слое кремния у границы с сапфировой подложкой между n+-областью истока и р-областью, в которой индуцируется канал транзистора. Формирование р+-области проводят путем бомбардировки протонами соответствующей области с последующим отжигом при температуре 800°-1000°С, одновременно с активацией примеси в стоковых и истоковых областях транзисторов, при этом в областях, подвергнутых протонной бомбардировке, происходит активная диффузия алюминия из сапфира в кремний с образованием р+-области. Далее после нанесения межслойной изоляции и вскрытия контактных окон изготавливают алюминиевые контакты.
Известный способ не решает главной задачи, а именно повышения быстродействия, а позволяет только исключить “кинк эффект” у n-канального транзистора.
Недостатками известного способа являются:
– необходимость включения в технологический цикл сложного дополнительного оборудования;
– ограниченное применение способа, поскольку способ может быть реализован только для n-канальных транзисторов.
Настоящее изобретение касается структуры МДП-транзистора на КНС и способа ее изготовления.
Технической задачей, на решение которой направлено предлагаемое изобретение, является создание МДП-транзистора, структура канала которого позволяет значительно уменьшать его эффективную длину при сохранении размеров затвора и толщины подзатворного диэлектрика.
Техническим результатом от использования изобретения является:
– существенное улучшение выходных характеристик транзистора по току (быстродействия, коэффициента усиления) при сохранении его надежности за счет устранения возможности пробоя в области запирания,
– значительное повышение надежности устройства в целом,
– расширение области применения предлагаемого транзистора.
Поставленная техническая задача решается тем, что в МДП-транзисторе на структуре кремний на сапфире, содержащем сформированные планарно в островке слоя кремния на подложке из сапфира области истока и стока и расположенный между ними канал с изолированным затвором, согласно предложенному изобретению, пограничная с истоком часть канала выполнена из кремния собственного типа проводимости.
Поставленная техническая задача решается также тем, что в способе изготовления МДП-транзистора на структуре кремний на сапфире, включающем создание на подложке из сапфира островка слоя кремния собственной проводимости, формирование в нем канала транзистора путем легирования островка кремния примесью, соответствующей типу канала, с последующим созданием подзатворного диэлектрика и затвора, а затем изготовление областей истока и стока, согласно предложенному изобретению, перед легированием островка кремния примесью, соответствующей типу канала, маскируют часть островка кремния, а после легирования немаскированной (открытой) его части и до создания подзатворного диэлектрика и затвора удаляют маску с части островка кремния собственного типа проводимости, кроме того, часть затвора создают над частью островка кремния собственного типа проводимости, при этом области истока изготавливают в части островка кремния собственного типа проводимости, а области стока изготавливают в части островка кремния, легированного примесью, соответствующей типу канала.
Формирование пограничной с истоком части канала транзистора из кремния собственного типа проводимости, далее которую для краткости можно называть “вставкой”, позволяет без изменения размера затвора уменьшать эффективную длину канала за счет повышенной подвижности и скорости носителей тока в части канала с собственным типом проводимости кремния, обеспечивая при этом высокую надежность воспроизведения запирающей части канала. Кроме того, отсутствие легирующей примеси в области “вставки” снижает количество центров рассеяния носителей заряда. “Вставка” позволяет также понизить пороговое напряжение транзистора за счет низкой концентрации носителей заряда в области “вставки” и одновременно увеличить подвижность, что резко увеличивает выходные характеристики по току более чем в 1,5 раза при одинаковом размере длины канала транзистора по затвору. Выполнение части канала из кремния собственного типа проводимости в предлагаемом способе изготовления обеспечивается совокупностью операций: маскирование части островка кремния собственного типа проводимости, легирование не маскированной части островка кремния с последующим формированием части затвора над частью островка кремния собственного типа проводимости. Выполнение части канала собственного типа проводимости в виде пограничной с истоком области обеспечивается созданием областей истока в части островка кремния собственного типа проводимости. Высокая воспроизводимость структуры транзистора предлагаемым способом обеспечивает надежность приборов.
Кроме того, сохранение размеров затвора за счет выполнения части канала из Si собственного типа проводимости обеспечит получение выходных характеристик короткоканального транзистора при большей толщине подзатворного диэлектрика, что позволит:
– повысить устойчивость к пробою от статического электричества;
– не снижать напряжение питания и тем самым повысить помехозащищенность транзистора.
Техническим результатом от использования предложенного изобретения являются реализация и обеспечение выходных характеристик короткоканального транзистора при относительно больших размерах затвора, что позволяет:
– использовать бóльшую толщину подзатворного диэлектрика,
– повысить устойчивость к пробою от статического электричества,
– сохранить прежнее напряжение питания,
– повысить помехозащищенность транзистора,
– увеличить выходные характеристики (коэффициент усиления, быстродействие) более чем в 1,5 раза при одинаковом размере длины канала транзистора по затвору за счет увеличения подвижности носителей заряда в области канала транзистора, изготовленного из кремния собственной проводимости и уменьшения эффективной длины канала транзистора.
Для достижения вышеописанных технических результатов в стандартном варианте исполнения транзистора (без “вставки” в канале) необходимо было бы уменьшить длину канала транзистора по затвору не менее чем в 1,3 раза.
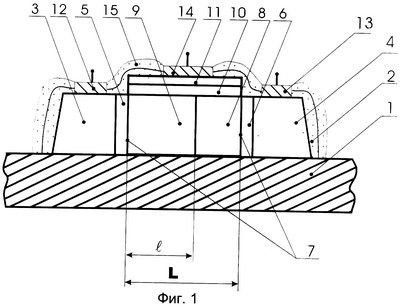
Сущность изобретения поясняется на фиг 1-7, где
на фиг.1 представлена структура p(n)-канального МДП-транзистора на КНС в разрезе;
на фиг.2 показан этап формирования границы между запирающей частью канала и его частью с собственной проводимостью;
на фиг.3 и фиг.4 показаны этапы формирования подзатворного диэлектрика и затвора;
на фиг.5 показан этап формирования сильнолегированных областей истока и стока;
на фиг.6 показан этап формирования слаболегированных областей истока и стока, а также границ индуцируемого канала;
на фиг.7 приведены выходные вольтамперные характеристики известного n-канального МДП-транзистора на КНС с длиной канала L=1,5 мкм (III) и предлагаемого исполнения n-канального МДП-транзистора на КНС при размерах маскированной области, составляющей 1/2L канала (I) и 3/4L канала (II) соответственно.
МДП-транзистор на КНС (фиг.1) содержит подложку 1 из сапфира (AL2О3); островок полупроводникового кремния (Si) 2 со сформированными в нем сильнолегированными областями 3 и 4, слаболегированными областями 5 и 6 истока и стока соответственно. Между областями 5 и 6 истока и стока расположена область индуцируемого канала 7, который разделен на легированную (запирающую) часть 8 и часть с собственной (i) проводимостью 9. Устройство содержит подзатворный диэлектрик 10, например из двуокиси кремния (SiO2); затвор 11, например из легированного поликремния; контактные площадки 12, 13, 14 с выводами к областям 3, 4 истока и стока и к каналу 7 соответственно; межслойную изоляцию 15, например, из слоев двуокиси кремния SiO2 и нитрида кремния (Si3N4). Длина канала 7 определяется длиной L затвора 11. Длина l части с собственным типом проводимости 9 канала 7 для p- и n-канальных МДП-транзисторов выбирается с учетом требуемых характеристик p- и n-канальных МДП-транзисторов, в зависимости от режимов работы. Например, в КМОП схеме желательно иметь одинаковый коэффициент усиления. Если используется один тип транзистора, то возможно использование конструкции с максимальным коэффициентом усиления.
На фиг.2, 3, 4, 5, 6, иллюстрирующих последовательность формирования областей истока, стока и канала предлагаемой конструкции МДП-транзистора, показаны позиции на промежуточных этапах ее формирования: граница 16 между легированной запирающей частью 8 индуцированного канала 7 и его частью с собственной проводимостью 9; формируется маской из фоторезиста 17 (фиг.2); слой оксида кремния (SiO2) 18 для создания подзатворного диэлектрика 10; слой поликремния 19 и маска 20 из фоторезиста для формирования затвора 11 (фиг.3, 4); маска 21 из фоторезиста для формирования сильнолегированных областей 3 и 4 соответственно истока и стока (фиг.5) и слаболегированных областей 5 и 6 истока и стока (фиг.6).
Предлагаемый МДП-транзистор на КНС с любым типом канала работает следующим образом.
При отсутствии напряжения питания (фиг.1) на затворе 11 канал 7 длиной L запирается в основном его частью 8, поскольку для транзисторов с любым типом канала часть с собственньм типом проводимости 9 в канале 7 имеет пониженное значение порогового напряжения. При подаче смещения на затвор 11 в части 9 канала 7 уже при малых значениях Uвх (например, 1 В) из-за малого порогового напряжения благодаря низкой концентрации носителей заряда в этой области наступает заметная инверсия заряда и появляется большое количество носителей тока соответствующего типа. При дальнейшем увеличении входного напряжения на затворе 11 открывается запирающая часть 8 канала 7 и значение тока Iвых достигает практически при пониженном питании (например, 3В) таких значений, которые в известных транзисторах (с каналом без пограничной с истоком части собственного типа проводимости) могут не всегда быть достигнуты при Uвх=5В (см. фиг.7). Такие результаты обеспечиваются благодаря повышенной подвижности носителей тока в части 9 канала 7 и малого количества центров рассеяния из-за отсутствия легирующей примеси в части 9 канала, а также существенному уменьшению эффективной длины канала 7, так как запирающей областью в канале 7 является лишь его часть 8, поэтому увеличивается быстродействие прибора, что подтверждено на фиг.7 увеличением крутизны (см. выходные характеристики) вольтамперных характеристик n-канальных МДП-транзисторов предложенной конструкции.
При использовании предлагаемой конструкции p- и n-канальных МДП-транзисторов на КНС достигаются следующие технические преимущества.
1. Увеличивается быстродействие устройства путем выполнения пограничной с истоком части канала из кремния собственной проводимости за счет повышения подвижности и скорости носителей тока, а также уменьшения эффективной длины канала.
2. Увеличивается коэффициент усиления за счет снижения центров рассеяния и числа столкновений носителей тока с дефектами собственного типа проводимости.
3. Увеличивается надежность и помехозащищенность устройств за счет возможности использования в субмикронных транзисторах подзатворного диэлектрика с большей толщиной оксида кремния, так как предлагаемая конструкция обеспечивает возможность сохранения повышенного напряжения питания.
4. Увеличивается экономичность предлагаемых устройств, поскольку не требуется больших затрат на модернизацию производственных мощностей для уменьшения проектных норм, а также у потребителей появляется возможность сохранения прежнего напряжения питания в устройствах, так как снижение напряжения питания требует дополнительных затрат.
Установлено, что коэффициент усиления (Кус) 1,5 для n-канального транзистора с длиной затвора L=1,5 мкм достигается при размере l “вставки”, выполненной из Si собственного типа проводимости в части 9 канала 7, равном 1/2 (0,75 мкм) от длины L затвора. Для p-канального транзистора коэффициент усиления 1,5 достигается при размере l части 9 из Si собственного типа проводимости, равном 3/4 от длины L затвора ( 1 мкм). Увеличение размера части 9 канала 7 для n-канального транзистора более 1/2 до 3/4 от длины L затвора 11 приводит к увеличению коэффициента усиления до значений 1,8-2. Применение таких n-канальных транзисторов возможно в схемах, когда они не работают в паре с p-канальными транзисторами, чтобы не приводить к нарушению стабильности работы схемы, поэтому, в случае КМОП схем, когда одновременно работают n- и p-канальные транзисторы, для n-канальных целесообразно значение l “вставки” 9 ограничить размером 1/2L. Размер l части 9 канала 7, равный 3/4 от длины L затвора 11 для p-канального транзистора, не ухудшает характеристики p-канального транзистора по входным токам потребления и пробивному напряжению стокового перехода. Для того, чтобы получить одинаковый коэффициент усиления у n- и p-канальных транзисторов с одинаковыми проектными нормами (по затвору) из-за разной подвижности носителей тока (дырок и электронов) для n-канальных транзисторов маскируемая область “вставки” l должная составлять, например 1/2 от области L, а для p-канальных транзисторов маскируемая область “вставки” l должна составлять 3/4 от области L.
Способ изготовления МДП-транзистора на структуре кремний на сапфире показан на конкретных примерах реализации n- и p-канальных транзисторов с длиной канала L (по проектньм нормам затвора) равной 1,5 мкм.
Пример 1. Пример реализации n-канального транзистора.
В процессе формирования канала 7 транзистора расположенный на подложке 1 из Al2O3 островок 2 слоя Si собственного типа проводимости (i-тип) с толщиной 0,3 мкм перед легированием канала 7 маскируют фоторезистом 17 таким образом, чтобы незащищенная часть островка 2 была пролегирована примесью p-типа проводимости (бором). При этом заранее определяется внутренняя граница 16 (фиг.2) запирающей части 8 канала 7. Легирование бором (В) проводят ионной имплантацией в 2-х режимах:
режим 1 – бор имплантируют на границу раздела Al2O3 – Si с энергией Е=150 кэВ и дозой D=0,5 мккул/см2;
режим 2 – бор имплантируют в приповерхностную область с энергией Е=40 кэВ и дозой D=0,3 мккул/см2.
После снятия слоя 17 фоторезиста проводят подзатворное окисление и формируют слой оксида кремния 18 толщиной 350 Å, а для формирования затвора 11 наращивают слой поликремния 19 толщиной 0,4 мкм (фиг.3) и легируют его диффузией фосфора. Затем проводят с помощью фотолитографии изготовление маски 20 (фиг.3), чтобы часть ее размещалась над частью островка кремния собственного типа проводимости для формирования затвора 11, расположенного как над частью островка Si собственного типа проводимости, так и над легированной частью островка. При этом операцию совмещения шаблона после нанесения фоторезиста проводят, делая привязку к краю островка 2 или к границе 16. В данном примере изготовления при размере маски 1,5 мкм ее располагали над границей 16 с перекрытием в сторону легированной части p-типа на 0,75 мкм (т.е. 1/2 L).
После травления поликремния 19 и удаления фоторезиста 20 (фиг,4) создают маску 21 (фиг.5) и формируют сильнолегированные области 3 и 4 соответственно истока и стока транзистора. Область 3 формируют в части Si собственного типа проводимости островка 2, а область 4 – в легированной части Si островка 2. Для этого проводят ионную имплантацию фосфора (Р) с энергией Е=40 кэВ и дозой D=700 мккул/см2 (фиг.5). Затем удаляют маску 21 и проводят повторную ионную имплантацию Р с энергией Е=40 кэВ и дозой D=100 мккул/см2 для создания слаболегированных областей 5 и 6 соответственно истока и стока при одновременном формировании внешних границ канала 7 (фиг.6). Активируют легирующие примеси при температуре Т=850°÷900°С, изготавливают межслойную изоляцию 15 из SiO2 и Si3N4 толщиной 0,35 мкм, а после вскрытия контактных окон в межслойной изоляции 15 формируют алюминиевые контакты 12, 13 и 14 к истоку, стоку и каналу 7 соответственно.
Пример 2. Пример реализации p-канального транзистора.
Все этапы формирования полупроводниковой структуры предлагаемого транзистора аналогичны этапам, описанным в примере 1 при изготовлении n-канального транзистора. Но на этапе формирования запирающей части 8 канала 7 незащищенную маской 17 часть островка 2 Si легируют примесью n-типа (фосфора) с помощью ионной имплантации, которую проводят двухзарядным фосфором. Так как легирующая примесь фосфора обладает большим ионным радиусом, то пролегировать на всю толщину 0,3 мкм пленки 2 Si ее можно только с большей энергией ионов 200÷250 кэВ. При наличии установки “Лада-30” это обеспечивается двухзарядными ионами фосфора с энергией Е=150 кэВ и дозой D=0,1 мккул/см2.
Отличием при формировании маски 20 длиной L=1,5 мкм в процессе создания затвора 11 является равная L – l величина перекрытия маски 20 от границы 16 в часть островка 2, легированную примесью n-типа проводимости (фосфором), что для p-канального транзистора может составлять не менее 1/3L, то есть при L=1,5 мкм – не менее 0,5 мкм.
Для формирования сильнолегированных областей 3 и 4 истока и стока соответственно в качестве легирующей примеси используют бор, и проводят ионную имплантацию с энергией Е=40 кэВ и дозой D=500 мккул/см2
Повторную имплантацию бором для создания слаболегированных областей 5 и 6 соответственно истока и стока с одновременным образованием внешних границ канала 7 проводят с энергией Е=40 кэВ и дозой D=30 мккул/см2.
Для создания p- и n-канальных транзисторов с одинаковым коэффициентом усиления, равным, например, Кус=1,5, необходимо для p-канального транзистора размер С части 9 канала 7 выполнить увеличенным.
Описанный выше способ может быть использован при создании p- и n-канальных МДП-транзисторов на КНС с коротким каналом и обеспечивает надежную воспроизводимость предлагаемых структур и не требует специального оборудования.
Формула изобретения
Способ изготовления МДП-транзистора на структуре кремний на сапфире, включающий создание на подложке из сапфира островка слоя кремния собственной проводимости, формирование в нем канала транзистора путем легирования островка кремния примесью, соответствующей типу канала, с последующим созданием подзатворного диэлектрика и затвора, а затем изготовление областей истока и стока, отличающийся тем, что перед легированием островка кремния примесью, соответствующей типу канала, маскируют часть островка кремния, а после легирования немаскированной его части и до создания подзатворного диэлектрика и затвора удаляют маску с части островка кремния собственного типа проводимости, кроме того, часть затвора создают над частью островка кремния собственного типа проводимости, при этом области истока изготавливают в части островка кремния собственного типа проводимости, а области стока изготавливают в части островка кремния, легированной примесью, соответствующей типу канала.
РИСУНКИ
|