Изобретение относится к электрохимическим батареям из пакетированных гальванических элементов. Согласно изобретению биполярная электрохимическая батарея содержит пакет из, по меньшей мере, двух электрохимических гальванических элементов, соединенных последовательно, при этом каждый из этих электрохимических гальванических элементов содержит: первую электропроводную слоистую структуру, содержащую первый внутренний металлический слой и первый внешний полимерный слой, причем первый внешний полимерный слой выполнен с, по меньшей мере, одним сквозным отверстием, через которое открыт доступ к первому металлическому слою, при этом первая электропроводная слоистая структура находится в электрическом контакте с внешней поверхностью отрицательного электрода; и вторую электропроводную слоистую структуру, содержащую второй внутренний металлический слой и второй внешний полимерный слой, причем второй внешний полимерный слой выполнен с, по меньшей мере, одним сквозным отверстием, через которое открыт доступ ко второму металлическому слою, при этом вторая электропроводная слоистая структура находится в электрическом контакте с внешней поверхностью положительного электрода; причем первая слоистая структура и вторая слоистая структура герметично соединены по периферии друг с другом с образованием замкнутого объема, в котором размещены положительный электрод, отрицательный электрод, сепаратор и электролит. Техническим результатом изобретения является создание батареи с улучшенными энергетическими характеристиками при стабильной и эффективной работе. 3 н. и 31 з.п. ф-лы, 10 ил.
Предлагаемое изобретение было создано при поддержке Правительства США по контракту NAS3-27787, предоставленному Национальным комитетом по аэронавтике и исследованию космического пространства. Правительство США имеет определенные права на предлагаемое изобретение.
Область техники, к которой относится предлагаемое изобретение
Предлагаемое изобретение в целом относится к способам пакетирования и к технологии изготовления электрохимических гальванических элементов и многоэлементных электрохимических батарей. А в частности, предлагаемое изобретение относится к конструкции электрохимических гальванических элементов, пригодных для использования при составлении электрохимических батарей биполярной конструкции из первичных и/или аккумуляторных, т.е. допускающих повторную зарядку гальванических элементов, имеющих высокие характеристики емкости и эффективности. Более конкретно, предлагаемое изобретение относится к электрохимическим гальваническим элементам, в том числе, к конструкции положительных и отрицательных электродов, и к способам изготовления таких гальванических элементов, допускающих возможность их пакетирования с образованием многоэлементной электрохимической батареи.
Предпосылки создания предлагаемого изобретения
Многоэлементные электрохимические батареи обычно создаются на основе широкого ассортимента электрохимических систем и часто упаковываются в корпуса цилиндрической или призматической формы. Отдельные гальванические элементы, составляющие батарею, соединены последовательно посредством электропроводных соединительных элементов, в результате чего получается многоэлементная электрохимическая батарея. При таком конструкционном подходе обеспечивается хорошая герметизация отсеков отдельных гальванических элементов и надежная работа батареи. Однако при таком конструкционном решении большая часть массы и объема многоэлементной батареи приходится на конструкцию упаковки, и, тем самым, не обеспечивается полное использование способности аккумулирования энергии активными компонентами гальванического элемента. Для увеличения запаса энергии батареи на единицу массы и объема предпринимаются поиски других конструктивных решений, касающихся упаковки, при которых обеспечивалось бы уменьшение массы и объема, приходящихся на упаковку, при обеспечении устойчивой работы и низкого внутреннего сопротивления электрохимической батареи.
Решение этих задач привело к попытке создания электрохимической конструкции биполярного типа, которая содержит электропроводный биполярный слой, служащий в качестве электрического промежуточного соединительного элемента между соседними гальваническими элементами. В конструкции такого типа направление протекания электрического тока может быть охарактеризовано как перпендикулярное, протекание электрического тока осуществляется от одного гальванического элемента к другому по всей площади гальванического элемента, благодаря чему обеспечивается высокая мощность. Однако для успешного использования электрохимической батареи биполярной конструкции упомянутый биполярный слой должен обладать электропроводностью, достаточной для пропуска электрического тока между гальваническими элементами, химической устойчивостью в окружении гальванических элементов, способностью создания и поддержания хорошего электрического контакта с электродами и быть выполненным с возможностью обеспечения электрической изоляции и герметизации по границам гальванического элемента, так чтобы обеспечивалось содержание электролита в пространстве гальванического элемента. Выполнение этих условий гораздо труднее обеспечить в перезаряжаемых аккумуляторных электрохимических батареях из-за зарядного потенциала, который может вызвать ускоренную коррозию биполярного слоя, и в щелочных аккумуляторных электрохимических батареях из-за ползучего характера используемого в них электролита. Достижение вышеперечисленных характеристик в приемлемом сочетании оказалось очень трудной задачей.
Для обеспечения работы, не требующей обслуживания, желательно, чтобы аккумуляторные батареи имели герметизированную конструкцию. Однако в герметизированных аккумуляторных батареях биполярного типа обычно используются плоские электроды и конструкции с пакетированными гальваническими элементами, которые не приспособлены в достаточной степени для удерживания газов, присутствующих или образующихся в процессе работы гальванического элемента. В конструкции с герметизированными гальваническими элементами происходит газообразование во время зарядки, для устойчивой работы батареи эти газы внутри гальванического элемента должны подвергнуться химической рекомбинации. Для минимизации массы конструкционных элементов, используемых для обеспечения удержания находящихся под давлением газов, батарея должна работать при сравнительно низком давлении. Требование удержания находящихся под давлением газов создает дополнительные проблемы при создании устойчивой биполярной конструкции.
Кроме того, ограничивающим конструктивным фактором ввиду компактного характера конструкции может быть необходимость отвода тепла, образующегося во время нормальной работы батареи. Таким образом, при оптимальной биполярной конструкции должна обеспечиваться возможность отвода тепла, образующегося во время работы батареи.
В патенте США №5393617 раскрываются химический состав электродов, которые могут быть использованы в первичных и аккумуляторных (допускающих повторную зарядку) электрохимических галетных гальванических элементах. Согласно одному из вариантов осуществления изобретения по указанному патенту, плоский галетный гальванический элемент включает электропроводные внешние слои из наполненного углеродом полимера, которые служат в качестве электродных контактов, а также в качестве защитной оболочки гальванического элемента. Путем пакетирования таких гальванических элементов могут быть получены многоэлементные электрохимические батареи с высокими значениями электродвижущей силы. Электроды особой конструкции и технологии обработки, совместимые с конструкцией галетных гальванических элементов, раскрыты, в частности, для электрохимических батарей никель-металлогидридной системы. При конструкции гальванического элемента и химическом составе электродов, раскрытых в патенте США №5393617, обеспечивается возможность индивидуальной работы такого гальванического элемента, вентилируемого или герметичного, и/или работа таких гальванических элементов в пакетированном наборе при размещении внутри внешнего корпуса батареи.
Вышеупомянутое конструктивное решение, раскрытое в патенте США №5393617, представляет преимущества и доказало свою гибкость с точки зрения создания электрохимических батарей, имеющих разную емкость, электродвижущую силу и химический состав. Однако ученые и инженеры, работающие под руководством представителя данного заявителя, находятся в непрерывном поиске дальнейших усовершенствований конструкции галетного гальванического элемента и батареи из таких элементов, а также способов их изготовления.
Преимущества предлагаемого изобретения и его краткое содержание
Предлагаемое изобретение обеспечивает достижение желаемой выгодной упаковки многоэлементных электрохимических батарей биполярной конструкции и преодоление присущих прежним техническим решениям проблем, связанных с материалами и конструкцией. Хотя материалы конструкции каждого типа гальванических элементов являются особыми для каждого конкретного химического состава батареи, общая биполярная конструкция, раскрываемая здесь, может быть использована для многих типов электрохимических гальванических элементов. В частности, несколько вариантов осуществления предлагаемого изобретения, представленные в примерах, которые будут описаны ниже, относятся к перезаряжаемым гальваническим элементам с никель-металлогидридным химическим составом, но подобные технические решения могут быть в целом применены и к гальваническим элементам с другим химическим составом.
Одно из преимуществ предлагаемого изобретения состоит в создании электрохимической батареи биполярной конструкции, представляющей собой многоэлементную электрохимическую батарею из первичных и/или аккумуляторных (допускающих повторную зарядку) электрохимических элементов, имеющую улучшенные характеристики энергетической емкости при обеспечении устойчивой и эффективной работы, а также долговременной химической и физической устойчивости.
Еще одно преимущество предлагаемого изобретения состоит в создании электрохимической батареи биполярной конструкции, в которой используются электрохимические гальванические элементы плоской формы, имеющие герметизированную конструкцию.
Еще одно преимущество предлагаемого изобретения состоит в создании электрохимической батареи биполярной конструкции, в которой могут быть использованы никель-металлогидридные электроды.
Эти и другие преимущества могут быть достигнуты путем создания электрохимической батареи биполярной конструкции, включающей
пакет из по меньшей мере двух электрохимических гальванических элементов, соединенных последовательно с обеспечением контакта электроположительной поверхности каждого гальванического элемента с электроотрицательной поверхностью соседнего гальванического элемента, при этом каждый гальванический элемент содержит
(a) отрицательный электрод,
(b) положительный электрод,
(c) сепаратор, расположенный между положительным и отрицательным электродами, при этом сепаратор содержит электролит,
(d) первую электропроводную слоистую структуру, содержащую первый внутренний металлический слой и первый внешний полимерный слой, при этом первый внешний полимерный слой имеет по меньшей мере одно сквозное отверстие, через которое открыт доступ к первому металлическому слою, при этом первая электропроводная слоистая структура находится в электрическом контакте с внешней поверхностью отрицательного электрода, и
(e) вторую электропроводную слоистую структуру, содержащую второй внутренний металлический слой и второй внешний полимерный слой, при этом второй внешний полимерный слой имеет по меньшей мере одно сквозное отверстие, через которое открыт доступ ко второму металлическому слою, при этом вторая электропроводная слоистая структура находится в электрическом контакте с внешней поверхностью положительного электрода,
при этом первая слоистая структура и вторая слоистая структура герметично соединены по периферии друг с другом с образованием замкнутого объема, в котором размещены положительный и отрицательный электроды, сепаратор и электролит.
Кроме того, предлагаемое изобретение относится к электрохимическому галетному гальваническому элементу, содержащему:
(a) отрицательный электрод,
(b) положительный электрод,
(c) сепаратор, расположенный между положительным и отрицательным электродами, при этом сепаратор содержит электролит,
(d) первую электропроводную слоистую структуру, содержащую первый внутренний металлический слой и первый внешний полимерный слой, при этом первый внешний полимерный слой имеет по меньшей мере одно сквозное отверстие, через которое открыт доступ к первому металлическому слою, при этом первая электропроводная слоистая структура находится в электрическом контакте с внешней поверхностью отрицательного электрода, и
(e) вторую электропроводную слоистую структуру, содержащую второй внутренний металлический слой и второй внешний полимерный слой, при этом второй внешний полимерный слой имеет по меньшей мере одно сквозное отверстие, через которое открыт доступ ко второму металлическому слою, при этом вторая электропроводная слоистая структура находится в электрическом контакте с внешней поверхностью положительного электрода,
при этом первая слоистая структура и вторая слоистая структура герметично соединены по периферии друг с другом с образованием замкнутого объема, в котором размещены положительный и отрицательный электроды, сепаратор и электролит.
Кроме того, предлагаемое изобретение относится к конструктивному узлу для удержания содержимого галетного гальванического элемента, содержащему:
(a) первую электропроводную слоистую структуру, содержащую первый внутренний металлический слой и первый внешний полимерный слой, при этом первый внешний полимерный слой имеет по меньшей мере одно сквозное отверстие, через которое открыт доступ к первому металлическому слою, при этом первая электропроводная слоистая структура находится в электрическом контакте с отрицательным электродом, и
(b) вторую электропроводную слоистую структуру, содержащую второй внутренний металлический слой и второй внешний полимерный слой, при этом второй внешний полимерный слой имеет по меньшей мере одно сквозное отверстие, через которое открыт доступ ко второму металлическому слою, при этом вторая электропроводная слоистая структура находится в электрическом контакте с положительным электродом,
при этом первая слоистая структура и вторая слоистая структура выполнены с возможностью герметичного соединения по периферии друг с другом с образованием замкнутого объема, в котором может быть размещено содержимое галетного гальванического элемента.
Еще одно преимущество предлагаемого изобретения состоит в увеличенной электропроводности через гальванический элемент и/или через соседние гальванические элементы благодаря низкому сопротивлению, обеспеченному благодаря сквозным отверстиям в слоистых структурах, через которые обеспечен доступ к их металлическим слоям.
Другие преимущества предлагаемого изобретения станут понятными для специалиста соответствующего профиля из последующего подробного описания раскрываемых электрохимических батарей биполярной структуры и способов изготовления таких электрохимических батарей биполярной структуры, а также галетных гальванических элементов, используемых в таких батареях.
Краткое описание прилагаемых чертежей
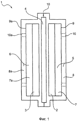
На фиг.1 схематично показан общий вид галетного гальванического элемента по одному из вариантов осуществления предлагаемого изобретения.
На фиг.2А показан участок галетного гальванического элемента по одному из вариантов осуществления предлагаемого изобретения, вид сбоку.
На фиг.2В показан галетный гальванический элемент по одному из вариантов осуществления предлагаемого изобретения, в разрезе.
На фиг.3 показан многоэлементный пакет галетных гальванических элементов по одному из вариантов осуществления предлагаемого изобретения.
На фиг.4 в аксонометрии показан внешний вид многоэлементного пакета галетных гальванических элементов по одному из вариантов осуществления предлагаемого изобретения, заключенный во внешний корпус батареи.
На фиг.5 графически показано изменение напряжения гальванического элемента по предлагаемому изобретению при различных значениях разрядного тока.
На фиг.6 графически показано изменение напряжения гальванического элемента, в сравнении с гальваническим элементом по предлагаемому изобретению, при различных значениях разрядного тока.
На фиг.7 графически показано изменение напряжения гальванического элемента, сравниваемого с гальваническим элементом по предлагаемому изобретению, при различных скоростях.
На фиг.8 приведены графики, характеризующие изменение напряжения во времени (испытание на срок службы) для гальванического элемента по предлагаемому изобретению.
На фиг.9 графически показано изменение напряжения гальванического элемента по предлагаемому изобретению при различных значениях разрядного тока.
На фиг.10 графически показано изменение напряжения в зарядно-разрядном цикле для батареи из гальванических элементов по предлагаемому изобретению.
Подробное описание предлагаемого изобретения
Следует заметить, что, хотя назначение нижеследующего описания вариантов осуществления предлагаемого изобретения состоит в предоставлении среднему специалисту соответствующего профиля подробных инструкций, позволяющих ему осуществить предлагаемое изобретение, все же, объем предлагаемого изобретения не ограничен рамками конкретных деталей описываемого далее продукта или процесса.
Являющаяся предметом предлагаемого изобретения электрохимическая батарея биполярной конструкции прежде всего связана с изготовлением электрохимического галетного гальванического элемента 1. На фиг.1 и 2В схематично показаны иллюстративные варианты осуществления электрохимического галетного гальванического элемента 1, который содержит отрицательный электрод 2 и положительный электрод 3. При этом с помощью сепаратора 4 обеспечено недопущение вступления отрицательного и положительного электродов в непосредственный физический контакт друг с другом, и отрицательный и положительный электроды расположены между двумя внешними слоями: первой электропроводной слоистой структурой 5 и второй электропроводной слоистой структурой 6, которые находятся в электрическом контакте с отрицательным электродом 2 и положительным электродом 3 соответственно. Как можно видеть на фиг.1 и 2В, вариант осуществления предлагаемого изобретения включает электрохимический гальванический элемент 1, у которого отрицательный электрод 2, положительный электрод 3, сепаратор 4, расположенный между этими электродами, и две внешних электропроводных структуры 5 и 6 имеют практически плоскую форму, и каждый из вышеперечисленных конструкционных элементов находится в плотном физическом контакте с соседним конструкционным элементом, благодаря чему получена представляющая собой преимущество конструкция тонкого галетного электрохимического гальванического элемента.
В качестве отрицательного электрода 2 в галетном гальваническом элементе по предлагаемому изобретению может быть использован любой отрицательный электрод, известный в данной отрасли. Например, отрицательный электрод 2 может быть выполнен из материала, выбранного из следующего перечня: кадмий, железо, водород, цинк, серебро, гидрид металла, литий, свинец, литиевоугольный материал, например уголь, содержащий литиевый материал, а также смеси этих материалов. Кроме того, в качестве материала для отрицательного электрода 2 могут быть использованы следующие вещества: гидриды никеля, гидриды железа, гидрид лития, гидриды меди, а также смеси этих веществ. В другом варианте осуществления предлагаемого изобретения отрицательный электрод 2 выполнен из связанного порошка металлогидридного сплава, способного электрохимически и обратимо удерживать водород. В число таких подходящих для использования в галетном гальваническом элементе по предлагаемому изобретению отрицательных электродов входят электроды, изготовленные из материалов, раскрытых в следующих патентах США (этот перечень не имеет исчерпывающего характера): №№4487817, 4728586, 5552243, 5698342 и 5393617. В частности, в число подходящих сплавов могут входить, например, сплавы, известные под названием мишметаллогидридных сплавов, которые могут состоять из гидридобразующих металлов, таких как Mn Ni3,5Со0,7Al0,83, типа АВ5 или композиций AB2.
В качестве положительного электрода 3 в галетном гальваническом элементе по предлагаемому изобретению также может быть использован любой положительный электрод, известный в данной отрасли, в том числе так называемый электрод никелевого типа, или, проще говоря, никелевый электрод. Активным компонентом никелевого электрода является гидроокись никеля, примеры никелевых электродов раскрываются в патенте США №5393617, патенте Германии №491498 и патенте Великобритании №917291. Положительный электрод 3 может представлять собой, например, синтерированный, связанный пластиком или клееный пенный никелевый электрод. В альтернативном варианте осуществления предлагаемого изобретения положительный электрод 3 может быть выполнен из другого, чем окись или гидроокись никеля, материала, как раскрывается в вышеперечисленных патентах. К числу материалов, подходящих для изготовления положительного электрода 3, относятся также следующие вещества (этот перечень не имеет исчерпывающего характера): кислород, никель, литий, марганец, медь, кобальт, серебро, окись или гидроокись марганца, окись или гидроокись меди, окись или гидроокись ртути, окись или гидроокись серебра, окись или гидроокись магния, окись или гидроокись лития (в том числе электроды, используемые в литиевых аккумуляторных батареях), а также комбинации этих материалов. В одном из вариантов осуществления предлагаемого изобретения отрицательный электрод 2 и положительный электрод 3 имеют плоскую форму и выполнены в соответствии с указаниями патента США №5393617 или патента США №5552242.
Отрицательный электрод 2 и положительный электрод 3 могут включать также токосъемники, предназначенные для прохождения электрического тока между соседними гальваническими элементами. Необходимости в таких токосъемниках может не быть, потому что путь прохождения электрического тока между соседними гальваническими элементами относительно короток, а площадь физического и электрического контакта по отношению к общей площади непосредственно соседних участков велика. Кроме того, электроды обычно имеют достаточную электропроводность для того, чтобы была возможна работа гальванических элементов без токосъемников, которые увеличивали бы массу гальванического элемента и делали бы его конструкцию более сложной.
Непосредственный физический контакт между отрицательным электродом 2 и положительным электродом 3 может быть предотвращен с помощью сепаратора 4, который выполнен с простиранием за пределы краев отрицательного электрода 2 и положительного электрода 3, как это можно видеть на фиг.1 и 2В. Сепаратор 4 обычно выполнен из волокон синтетической смолы, например из полиамидных или полипропиленовых волокон. Кроме того, сепаратор 4 может быть выполнен также, в числе прочего, из неорганических слоистых материалов или из любого другого материала для сепаратора, известного среднему специалисту соответствующего профиля. Сепаратор 4 является плоским по форме и имеет пористую структуру, обеспечивающую возможность впитывания и удерживания электролита во внутреннем пространстве гальванического элемента 1 по одному из вариантов осуществления предлагаемого изобретения.
В гальванических элементах щелочного типа электролит обычно представляет собой водный раствор одной или более гидроокисей щелочных металлов, таких как гидроокись лития, гидроокись натрия и гидроокись калия. В одном из вариантов осуществления предлагаемого изобретения сепаратор 4 содержит два слоя нетканого полиолифина, а электролит представляет собой щелочной раствор. В другом варианте осуществления никель-металлогидридной электрохимической системы щелочной раствор представляет собой смесь гидроокиси калия и гидроокиси лития.
Отрицательный электрод 2, положительный электрод 3 и сепаратор 4 могут быть заключены внутри галетного гальванического элемента 1 с помощью первой электропроводной слоистой структуры 5 и второй электропроводной слоистой структуры 6, что, как было определено заявителем, является преимуществом относительно предшествующего уровня техники. Как можно видеть на фиг.1 и 2В, первая электропроводная слоистая структура 5 и вторая электропроводная слоистая структура 6 равны между собой по размерам и расположены друг напротив друга. Первая электропроводная слоистая структура 5 содержит первый внутренний металлический слой 7 и первый внешний полимерный слой 8. Упомянутый первый полимерный слой 8, как это можно видеть на фиг.2А, имеет по меньшей мере одно сквозное отверстие 10, с помощью которого обеспечен доступ к первому внутреннему металлическому слою 7 и участок электрического контакта для прохождения электрического тока через гальванический элемент 1. Сходным образом, вторая электропроводная слоистая структура 6 содержит второй внутренний металлический слой 7а и второй внешний полимерный слой 8а. Упомянутый второй полимерный слой 8а также имеет по меньшей мере одно сквозное отверстие 10а, с помощью которого обеспечен доступ ко второму внутреннему металлическому слою 7а, и участок электрического контакта для прохождения электрического тока через гальванический элемент 1. Сквозные отверстия 10 и 10а могут по расположению быть выровнены друг относительно друга с целью обеспечения оптимальной проводимости между соседними гальваническими элементами, как показано на фиг.3.
Первый внутренний металлический слой 7 первой электропроводной слоистой структуры 5 и второй внутренний металлический слой 7а второй электропроводной слоистой структуры 6 могут быть выполнены из любого металлического материала и могут иметь различные форму и размеры. Например, первый внутренний металлический слой 7 первой электропроводной слоистой структуры 5 и второй внутренний металлический слой 7а второй электропроводной слоистой структуры 6 могут быть выполнены из тонкой металлической фольги, совпадающими по размерам с отрицательным электродом 2 и положительным электродом 3 соответственно, и выровнены по расположению с соответствующим электродом, как это можно видеть на фиг.1, 2В и 3. Может быть использовано также несколько слоев. В число материалов, подходящих для изготовления первого внутреннего металлического слоя 7 первой электропроводной слоистой структуры 5 и второго внутреннего металлического слоя 7а второй электропроводной слоистой структуры 6, входят следующие металлические материалы (этот перечень не имеет исчерпывающего характера): медь, алюминий, сталь, серебро, никель, а также смеси этих материалов, в том числе материалы с металлическим покрытием, хорошо известные специалистам соответствующей отрасли. Толщина фольги может быть такой, насколько это практически возможно, например, в зависимости от технических условий и требований к их соблюдению, толщина фольги может находиться в диапазоне от приблизительно 7,62 мкм (приблизительно 0,0003 дюйма) до приблизительно 127 мкм (приблизительно 0,005 дюйма).
Для того, чтобы увеличить электрический контакт, между первым внутренним металлическим слоем 7 первой электропроводной слоистой структуры 5 и отрицательным электродом 2 и между вторым внутренним металлическим слоем 7а второй электропроводной слоистой структуры 6 и положительным электродом 3 может быть нанесена электропроводная паста или электропроводное вяжущее вещество, такое как электропроводная эпоксидная смола, или другой подходящий материал, хорошо известный специалистам соответствующего профиля. Толщина такого промежуточного слоя из электропроводного вяжущего вещества может составлять от 12,7 мкм (0,0005 дюйма) до 25,4 мкм (0,001 дюйма).
Первый внешний полимерный слой 8 первой электропроводной слоистой структуры 5 и второй внешний полимерный слой 8а второй электропроводной слоистой структуры 6 могут быть выполнены из любого подходящего полимерного материала, включая такие материалы, как: нейлон, полипропилен, полиэтилен, полисульфон, поливинилхлорид (этот перечень не имеет исчерпывающего характера), а также смеси этих материалов. Нет необходимости в том, чтобы полимерные материалы, из которых выполнены первый внешний полимерный слой 8 первой электропроводной слоистой структуры 5 и второй внешний полимерный слой 8а второй электропроводной слоистой структуры 6 были электропроводными. Преимущество этого признака состоит в том, что выбор материала для первого внешнего полимерного слоя 8 первой электропроводной слоистой структуры 5 и второго внешнего полимерного слоя 8а второй электропроводной слоистой структуры 6 не ограничивается требованием электропроводности. В одном из вариантов осуществления предлагаемого изобретения первый внешний полимерный слой 8 первой электропроводной слоистой структуры 5 и второй внешний полимерный слой 8а второй электропроводной слоистой структуры 6 представляют собой полипропиленовую пленку толщиной от приблизительно 25,4 мкм (приблизительно 0,001 дюйма) до приблизительно 76,2 мкм (приблизительно 0,005 дюйма). Первый внешний полимерный слой 8 первой электропроводной слоистой структуры 5 и второй внешний полимерный слой 8а второй электропроводной слоистой структуры 6 должны допускать термосварку и проявлять химическую устойчивость в среде гальванического элемента 1.
Для получения первой электропроводной слоистой структуры 5 первый внешний полимерный слой 8 может быть прикреплен к первому внутреннему металлическому слою 7 с использованием любого подходящего механизма герметизирующего прикрепления, создающего, тем самым, межфазную герметизированную поверхность раздела 9. Сходным образом, для получения второй электропроводной слоистой структуры 6 второй внешний полимерный слой 8а может быть прикреплен ко второму внутреннему металлическому слою 7а с использованием любого подходящего механизма герметизирующего прикрепления, создающего, тем самым, межфазную герметизированную поверхность раздела 9а. К числу подходящих механизмов такого герметизирующего прикрепления относятся, например, использование таких клеящих веществ, как битум, гудрон, неопрен, каучук, эпоксидная смола, цемент (этот перечень не имеет исчерпывающего характера), а также комбинации этих веществ.
В одном из вариантов осуществления предлагаемого изобретения потенциальная утечка электролита из гальванического элемента 1 может происходить по пути вдоль межфазной герметизированной поверхности раздела 9 и вдоль межфазной герметизированной поверхности раздела 9а, между первым внутренним металлическим слоем 7 и первым внешним полимерным слоем 8 и между вторым внутренним металлическим слоем 7а и вторым внешним полимерным слоем 8а вокруг краев первого внутреннего металлического слоя 7 и второго внутреннего металлического слоя 7а к ближайшему сквозному отверстию 10 или 10а соответственно. Для обеспечения эффективной герметизации вокруг краев сквозных отверстий может быть нанесен подходящий контактный материал, например цементирующее вещество, который был бы химически устойчивым в среде электролита гальванического элемента 1, при этом толщина слоя такого контактного материала может составлять от приблизительно 7,62 мкм (приблизительно 0,0003 дюйма) до приблизительно 25,4 мкм (приблизительно 0,001 дюйма), так чтобы было обеспечено достаточное покрытие межфазной поверхности раздела и предотвращение, тем самым, всякой потенциальной утечки. К числу подходящих контактных цементирующих веществ относятся такие вещества, как битум, гудрон, неопрен, каучук, эпоксидная смола, цемент (этот перечень не имеет исчерпывающего характера), а также комбинации этих веществ.
Для того чтобы была обеспечена возможность размещения отрицательного электрода 2, положительного электрода 3, расположенного между ними сепаратора 4 и электролита внутри галетного гальванического элемента 1, первый внешний полимерный слой 8 первой электропроводной слоистой структуры 5 и второй внешний полимерный слой 8а второй электропроводной слоистой структуры 6 должны иметь большую физическую площадь, чем соответственно отрицательный электрод 2 и положительный электрод 3 и перекрывать соответствующий электрод по всему периметру, как это можно видеть на фиг.1 и 2В. Кроме того, первый внешний полимерный слой 8 первой электропроводной слоистой структуры 5 выполнен с простиранием за пределы первого внутреннего металлического слоя 7 первой электропроводной слоистой структуры 5, а второй внешний полимерный слой 8а второй электропроводной слоистой структуры 6 выполнен с простиранием за пределы второго внутреннего металлического слоя 7а второй электропроводной слоистой структуры 6, и эти первый и второй внешние полимерные слои 8 и 8а прикреплены друг к другу с образованием герметизированного соединения по периметру галетного гальванического элемента 1, что составляет преимущество рассматриваемого варианта осуществления предлагаемого изобретения. Такие герметичные соединения по периметру, которые могут образовывать спаи 11 полимера с полимером, могут быть осуществлены с использованием любой подходящей известной технологии, в том числе с помощью таких технологий, как (этот перечень не имеет исчерпывающего характера) термосварка, склеивание с помощью цементирующего вещества или материала-заполнителя, связывающегося с материалом внешних полимерных слоев 8 и 8а. Этим обеспечивается положительный результат с точки зрения герметизации содержимого галетного гальванического элемента 1.
Закрытый галетный гальванический элемент 1 может быть герметизирован полностью, или же может быть выполнено одно или более вентиляционных отверстий или один или более клапанов декомпрессии для стравливания избыточного давления, возникающего в процессе зарядки. Для сосуда, находящегося под давлением, плоская конструкция гальванического элемента не является физически оптимальной, поэтому в варианте с вентилируемой конструкцией может быть особенно полезным использование сплавов гидридов, которые работают при атмосферном давлении. Если же конструкция галетного гальванического элемента 1 полностью герметизирована, то преимущество может представлять техническое решение, электрохимически ограниченное вместимостью положительного электрода. При этом техническом решении в конце цикла зарядки около положительного электрода имеет место образование газообразного кислорода, перед тем как будет полностью использована способность гидридного электрода вмещать водород. Кислород, образующийся около положительного электрода, может мигрировать к отрицательному гидридному электроду, и при этом может происходить его химическая рекомбинация с водородом, содержащимся в гидридном электроде, благодаря чему обеспечивается предотвращение возникновения избыточного давления. Эта химическая рекомбинация кислорода и водорода в настоящем описании дальше будет называться реакцией рекомбинации кислорода. С этой точки зрения для нас может представлять интерес патент США №5393617, в котором раскрывается, в частности, средство для увеличения миграции газообразного кислорода к отрицательному электроду и средство для стимулирования эффективной химической рекомбинации кислорода с водородом у поверхности гидридного электрода.
Среднему специалисту соответствующего профиля должно быть понятно, что галетный гальванический элемент 1 может быть изготовлен в сухом состоянии и снабжен отверстием для заполнения, выполненным в первой электропроводной слоистой структуре 5 или второй электропроводной слоистой структуре 6, через которое может быть осуществлено вакуумное заполнение галетного гальванического элемента 1 или его заполнение под давлением, после чего отверстие для заполнения может быть заделано с помощью подходящих средств. При такой технологии воздух из гальванического элемента может быть удален, если он там имеется, через это отверстие для заполнения путем вакуумного отсоса, а под действием разности давлений электролит заполнит поры электродов и сепаратора. В альтернативном варианте осуществления предлагаемого изобретения перед осуществлением герметизации галетного гальванического элемента 1 по периметру, как это было описано выше, отрицательный электрод 2, положительный электрод 3 и сепаратор 4 могут быть подвергнуты предварительному увлажнению или предварительному смачиванию с помощью взятого в надлежащем количестве электролита. Объем электролита, который может быть введен в гальванический элемент, может составлять, например, от 60% до 90% от объема пор электродов и сепараторов.
В одном из вариантов осуществления предлагаемого изобретения первая электропроводная слоистая структура 5 находится в электрическом контакте с внешней поверхностью отрицательного электрода 2 через посредство по меньшей мере одного сквозного отверстия 10, как это можно видеть на фиг.1 и 2В. Сходным образом, вторая электропроводная слоистая структура 6 находится в электрическом контакте с внешней поверхностью положительного электрода 3 через посредство по меньшей мере одного сквозного отверстия 10а, как это можно видеть на тех же фиг.1 и 2В. Таким образом, примененное заявителем техническое решение, заключающееся в использовании сквозных отверстий 10 и 10а, представляет преимущество и обеспечивает электрический контакт с поверхностями отрицательного электрода 2 и положительного электрода 3 галетного гальванического элемента 1, а также через галетный гальванический элемент 1 и/или соседние гальванические элементы. Размеры сквозных отверстий 10 и 10а и их размещение могут быть выбраны исходя из ряда конструктивных факторов с обеспечением оптимальной герметизации и электрической проводимости. Например, возможно такое размещение сквозных отверстий 10 и 10а, при котором они отстоят от краев фольги, из которой выполнены первый внутренний металлический слой 7 первой электропроводной слоистой структуры 5 и второй внутренний металлический слой 7а второй электропроводной слоистой структуры 6 соответственно, на расстояние по меньшей мере 6,35 мм (1/4 дюйма). Размеры сквозных отверстий 10 и 10а и их размещение могут быть определены из электрических требований к галетному гальваническому элементу 1.
На фиг.3 показан многоэлементный батарейный пакет 12, являющийся одним из вариантов осуществления предлагаемого изобретения, который может быть создан путем пакетирования нескольких галетных гальванических элементов 1. Эти галетные гальванические элементы электрически соединены последовательно, таким образом что электроположительная поверхность каждого гальванического элемента приведена в электрический контакт с электроотрицательной поверхностью соседнего гальванического элемента. В рассматриваемом варианте осуществления предлагаемого изобретения обеспечен представляющий преимущество путь протекания электрического тока через многоэлементный батарейный пакет 12 от электрода к слою из металлической фольги, внутри гальванического элемента через фольгу к сквозному отверстию и через это сквозное отверстие к соседнему гальваническому элементу многоэлементного батарейного пакета 12.
Концевые гальванические элементы многоэлементного батарейного пакета тоже могут иметь фольговые контакты, как это описано в патенте США №5393617, для обеспечения протекания электрического тока от многоэлементного батарейного пакета к выводам батареи. Межэлементный электрический контакт или электрический контакт между концевыми гальваническими элементами и фольгой в точках расположения сквозных отверстий также может быть увеличен путем использования такого материала, как электропроводная паста, электропроводный цементирующий материал, или диска из присадочного металла. Компактная пакетная сборка может удерживаться в состоянии прижатия друг к другу для обеспечения равномерного физического контакта между соседними гальваническими элементами и между соответствующими слоями внутри каждого гальванического элемента. Такое сжатие многоэлементного батарейного пакета может быть осуществлено с помощью жестких концевых пластин, снабженных внешними стяжными стержнями, расположенными по периметру пакета, или с помощью внутренних стяжных стержней, установленных с прохождением сквозь герметизированные отверстия, выполненные в отдельных электрохимических гальванических элементах, как это описано, например, в патенте США №5393617. Во избежание утечки электрического тока, для предотвращения электрического контакта между стяжными стержнями и электропроводными элементами гальванического элемента эти отверстия могут быть герметизированы.
В альтернативном варианте осуществления предлагаемого изобретения многоэлементный батарейный пакет может быть помещен в наружный батарейный корпус 13, как это можно видеть на фиг.4. С учетом вытягивания электродов и нарушений регулярности пакетирования, многоэлементный батарейный пакет может удерживаться в сжатом состоянии с помощью слоя губчатой резины, установленного с одной или с обеих сторон между контактом из металлической фольги и концевой пластиной наружного батарейного корпуса 13. Вместо слоя (слоев) губчатой резины может быть использована пружина или наполненная газом сжимаемая прокладка 14, или же диафрагма. Сходным образом, для удержания многоэлементного батарейного пакета с помощью облегченной ребристой структуры многоэлементный батарейный пакет может быть помещен в корпус, снабженный пластиной с ячеистой структурой. Например, для уменьшения массы концевых пластин многоэлементного батарейного пакета могут быть использованы ребристые структуры или листы с ячеистой структурой, известные специалистам в области облегченных структур. Кроме того, если многоэлементный батарейный пакет содержится в замкнутом наружном корпусе, то этот наружный корпус может служить средством сжатия многоэлементного батарейного пакета, и этот наружный корпус может быть как герметизированным, так и вентилируемым.
Каждый из гальванических элементов, составляющих многоэлементный батарейный пакет, может иметь маленькие вентиляционные отверстия, и эти гальванические элементы могут быть помещены в герметизированный контейнер, служащий в качестве батарейного корпуса. Если гальванические элементы являются вентилируемыми, то батарейный корпус может быть снабжен каким-либо известным устройством для измерения давления. В качестве такого устройства может быть использован манометр, измерительный преобразователь и/или мембранный переключатель. Это устройство для измерения давления может быть использовано для текущего контроля давления в батарее и для регулирования величины и длительности зарядного электрического тока во время зарядки батареи. Такое регулирование зарядного электрического тока в настоящем описании называется контролем зарядки. Кроме того, для обеспечения равномерности сжатия и равномерности контакта по всей плоскости гальванических элементов многоэлементный батарейный пакет может содержать также внутренние стяжные стержни. Для выпуска внутренних газов герметизированный контейнер может дополнительно быть снабжен также клапаном декомпрессии. Отдельные галетные гальванические элементы 1 могут быть изготовлены в соответствии с информацией, приведенной в настоящем описании, а другие составные части батареи, такие как манометры и т.д., о которых говорилось выше, могут быть изготовлены с применением известных способов или же получены из источников, известных специалистам в данной отрасли.
Для улучшения теплопередачи между гальваническими элементами, везде или через определенные промежутки, могут быть введены дополнительные слои из металлической фольги. В альтернативном варианте осуществления предлагаемого изобретения края гальванических элементов могут быть выполнены удлиненными для обеспечения лучшей теплоотдачи боковым стенкам батарейного корпуса. Например, для обеспечения устойчивой работы батареи в различных тепловых режимах должен быть обеспечен отвод тепла, генерируемого во время работы батареи. Для улучшения внутренней теплопередачи в многоэлементном батарейном пакете может быть размещен дополнительный слой из металлической фольги, например, в непосредственном соседстве с внутренним металлическим слоем и/или внешним полимерным слоем. Кроме того, для обеспечения термического контакта с боковыми стенками батарейного корпуса края гальванических элементов могут быть выполнены с удлинением для обеспечения физического контакта с этими боковыми стенками.
В рассматриваемых ниже примерах осуществления предлагаемого изобретения подробно описываются определенные представительные варианты осуществления предлагаемого изобретения, при этом используемые материалы, устройства и стадии процесса изготовления компонентов следует понимать как примеры, приводимые только с иллюстративными целями. В частности, объем предлагаемого изобретения не ограничивается способами изготовления, материалами, условиями, параметрами процесса изготовления компонентов, используемыми устройствами и другими конкретными данными, приводимыми в рассматриваемых ниже примерах осуществления предлагаемого изобретения.
В настоящем описании делались ссылки на различные патенты. Информация, содержащаяся во всех этих патентах, во всей полноте включается в настоящую заявку по ссылке для более полного описания предшествующего уровня техники в той области, к которой относится предлагаемое изобретение.
Должно быть понятно и не должно быть неожиданным, что раскрытое в настоящем описании предлагаемое изобретение может иметь варианты, очевидные для среднего специалиста соответствующего профиля, и такие варианты охватываются объемом предлагаемого изобретения.
Примеры осуществления предлагаемого изобретения
Пример 1
Осуществлялось изготовление единичного галетного гальванического элемента, содержащего один положительный никелевый электрод и один отрицательный маталлогидридный электрод, в соответствии со структурой, показанной на фиг.1. Положительный и отрицательный электроды были изготовлены в соответствии с процедурой, описанной в патенте США №5393617. В частности, отрицательный металлогидридный электрод был изготовлен из смеси, содержащей мишметаллогидридный сплав в количестве 45 г, порошок политетрафторэтилена PTFE (аббревиатура от polytetrafluoroethylene – политетрафторэтилен, выпускается на рынок под товарным знаком Teflon®) в количестве 0,5 г и окись меди (CuO) в количестве 4,5 г. Использованный здесь мишметаллогидридный сплав представлял собой сплав Mn Ni3,5Со0,7Al0,83. Этот металлогидридный сплав, полученный в виде частиц с размерами от 3,175 мм (1/8 дюйма) до 6,35 мм (1/4 дюйма), был подвергнут измельчению путем пятикратного сухого автоклавного гидратирования при давлении между вакуумом и 14,062 кг/см2 (200 фунтов), в результате чего были получен порошок со средним размером частиц 50 мкм. Смесь подвергалась перемешиванию в высокоскоростном смесителе в течение двух 30-секундных периодов времени. Затем смесь была раскатана в слой толщиной приблизительно 1,524 мм (приблизительно 0,060 дюйма), после чего полученный слой был перегнут и раскатан на толщину 1,524 мм (0,060 дюйма) в направлении, перпендикулярном первоначальному направлению. Такое перегибание и раскатывание в повернутом на 90° направлении было последовательно выполнено семь раз, в результате чего было достигнуто такое состояние, когда порошок политетрафторэтилена фибриллизировался, то есть произошло образование переплетенной сетки из волокон из политетрафторэтилена, которая связала между собой остальные ингредиенты смеси. На каждой стадии перегибание и раскатывание выполнялось в направлении приблизительно 90° по отношению к направлению перегибания и раскатывания на непосредственно предшествовавшей стадии. Полученная пластина затем была расплющена до толщины 0,508 мм (0,020 дюйма). Для установки в гальванический элемент из этой расплющенной пластины был вырезан участок с размерами 76,2 мм×76,2 мм (3 дюйма×3 дюйма), масса которого составила 11 г.
Для изготовления положительного никелевого электрода был применен способ, сходный с тем, который был применен для изготовления отрицательного металлогидридного электрода. Смесь, из которой изготовлялся положительный никелевый электрод, содержала порошок политетрафторэтилена в количестве 1 г, моноокись кобальта в количестве 1,5 г, графитовый порошок в количестве 15 г и порошок гидроокиси никеля в количестве 32,5 г. Полученная пластинка была расплющена до толщины приблизительно 1,016 мм (приблизительно 0,040 дюйма). Из этой расплющенной пластины был вырезан участок с размерами 76,2 мм×76,2 мм (3 дюйма×3 дюйма), масса которого составила 10 г. После этого, перед установкой в гальванический элемент полученный электрод был подвергнут сжатию посредством гидравлического пресса с давлением приблизительно 140,62 кг/см2 (приблизительно 2000 фунтов на квадратный дюйм), в результате чего его толщина составила приблизительно 0,8382 мм (приблизительно 0,033 дюйма). Между полученными отрицательным и положительным электродами был размещен сепаратор квадратной формы, состоящий из двух слоев нетканого нейлона с размерами 79,375 мм×79,375 мм (31/8 дюйма×31/8 дюйма).
Наружная оболочка гальванического элемента была составлена из двух электропроводных слоистых структур, полученных путем связывания участка никелевой фольги квадратной формы с размерами 76,2 мм×76,2 мм (3 дюйма×3 дюйма) и толщиной 50,8 мкм (в оригинале – 2 мила; для пересчета в метрическую систему мер использовано соотношение 1 мил
25,4 мкм) с участком полипропиленовой пленки квадратной формы с размерами 82,55 мм×82,55 мм (31/4 дюйма×31/4 дюйма) и толщиной 76,2 мкм (3 мила). В качестве вяжущего агента была использована растворенная в растворителе смесь битума с каменноугольным дегтем, при этом концентрация твердых веществ в растворе составляла 30%. Этот связующий агент наносился на фольгу, оставлялся для подсушивания до клейкого состояния, после чего фольга накладывалась на полипропиленовую пленку с легким прижиманием. Толщина слоя связующего агента составляла приблизительно 25,4 мкм (приблизительно 0,001 дюйма).
Перед связыванием металлических и полимерных слоев в полипропиленовой пленке с помощью пробойника пробивалось четыре сквозных отверстия диаметром 6,35 мм (1/4 дюйма), при этом расстояние между центрами соседних сквозных отверстий составляло 37,65 мм (1/2 дюйма), и они располагались как бы по углам некоторого квадрата таким образом, что каждая контактная точка никелевой фольги обслуживала четвертую часть электрода квадратной формы с размерами 19,05 мм×19,05 мм (3/4 дюйма×3/4 дюйма), как это можно видеть на фиг.2А.
Гальванический элемент был получен путем помещения вышеописанных положительного никелевого электрода, сепаратора и отрицательного металлогидридного электрода между электропроводными слоистыми структурами, как это можно видеть на фиг.2В. После этого по периметру оболочки из электропроводных слоистых структур выполнялась термосварка с получением по краям сборки гальванического элемента термосварной полоски шириной 3,175 мм (1/8 дюйма). В полипропиленовой пленке и металлической фольге, составляющих электропроводную слоистую структуру, прилегающую к отрицательному электроду, было выполнено отверстие размером 3,175 мм (1/8 дюйма), расположенное по центру и предназначенное для обеспечения возможности заполнения гальванического элемента электролитом.
С испытательными целями на внешние электроположительную и электроотрицательную поверхности внешних слоев сборки гальванического элемента была помещена контактная пластинка из никелевой фольги толщиной 127 мкм (0,005 дюйма). Затем сборка гальванического элемента была помещена между жесткими акриловыми пластинами, содержащими канал для заполнения и снабженными периферийными болтами для удержания гальванического элемента в сборке и поддержания его во время испытания давлением.
После этого осуществлялось вакуумное наполнение гальванического элемента по технологии, заключающейся в вакуумном отсосе из гальванического элемента воздуха и последующем самотечном заполнении его электролитом. В рассматриваемом примере для заполнения гальванического элемента был использован электролит, содержащий 30% гидроокиси калия (КОН) и 1% гидроокиси лития (LiOH). После заполнения электролитом гальванический элемент был оставлен на 24 часа для пропитывания, после чего он был подвергнут трем циклам активации. Каждый цикл активации заключался в зарядке продолжительностью 81/2 часа током 200 мА и разряде током 500 мА до напряжения 0,8 В, или же в течение времени максимум 31/2 часа. После этого гальванический элемент подвергался испытаниям с разными токами разряда, как показано на фиг.5. Между разрядами гальванический элемент подвергался стандартной зарядке продолжительностью 81/2 часа.
На фиг.5 графически показано изменение напряжения гальванического элемента при различных значениях разрядного тока. Полученные результаты показывают высокую емкость гальванического элемента, что является преимуществом предлагаемого изобретения.
Пример 2
Для сравнения с предлагаемым изобретением и для демонстрации обеспечивающих преимущества результатов, достигаемых при осуществлении предлагаемого изобретения, был изготовлен единичный гальванический элемент, причем этот гальванический элемент был изготовлен в соответствии с процедурой, описанной в Примере 1, за исключением того, что размер двух участков никелевой фольги толщиной 50,8 мкм (2 мила) и квадратной формы был увеличен с 76,2 мм×76,2 мм (3 дюйма×3 дюйма), как это имело место в Примере 1, до 82,55 мм×82,55 мм (31/4 дюйма×31/4 дюйма), а участки полипропиленовой пленки квадратной формы с размерами 82,55 мм×82,55 мм (31/4 дюйма×31/4 дюйма), как это имело место в Примере 1, не применялись. Полученные участки никелевой фольги были непосредственно прикреплены по периметру гальванического элемента с помощью эпоксидной смолы. Эта краевая герметизация была использована для кратковременного тестирования, но она не обеспечивала предотвращения утечки электролита при длительном тестировании.
Такая конструкция гальванического элемента не является предметом предлагаемого изобретения, так как в ней не используются обеспечивающие преимущества электропроводные слоистые структуры 5 и 6, описанные выше. Однако тестирование гальванического элемента такой конструкции в условиях, описанных в Примере 1, оказалось полезным для демонстрации преимуществ, представляемых конструкцией гальванического элемента по предлагаемому изобретению. В частности, тестирование показало, что текущая мощность гальванического элемента без внешних участков полимерной пленки была сравнима по величине с этим параметром у гальванического элемента по предлагаемому изобретению, описанного в Примере 1, который содержит внешние участки полимерной пленки, снабженные сквозными отверстиями, через которые обеспечивается доступ к участкам металлической фольги с обеспечением, тем самым, условий для протекания электрического тока через гальванический элемент. На фиг.6 графически показано изменение напряжения полученного гальванического элемента при различных значениях разрядного тока. Сравнение с графиками, приведенными на фиг.5 (см. Пример 1), показывает, что вольтовые характеристики сравниваемых гальванических элементов сходны.
Пример 3
С целью дальнейшего отхода от предлагаемого изобретения был изготовлен еще один гальванический элемент, при этом отличия от процедуры изготовления, описанной в Примере 1, состояли в том, что внешние слои гальванического элемента были изготовлены из наполненного углеродом электропроводного полимерного материала поливинилхлорида, номинальная толщина которого составляла 101,6 мкм (4 мила), а наружные края гальванического элемента были прикреплены к электропроводному полимерному материалу поливинилхлориду путем термосварки с образованием краевой герметизации, как это описано в патенте США №5393617. Таким образом, применяемые в предлагаемом изобретении электропроводные слоистые структуры, состоящие из слоев металлической фольги и полимерной пленки, снабженной сквозными отверстиями, в рассматриваемом примере не использовались.
Гальванический элемент по этому примеру демонстрирует худшие скоростные характеристики составляющей внешний слой пленки из наполненного углеродом электропроводного полимерного материала по сравнению с электропроводными слоистыми структурами, представляющими собой обеспечивающий преимущества признак предлагаемого изобретения. На фиг.7 приведены вольтовые характеристики этого гальванического элемента. Сравнение с вольтовыми характеристиками, приведенными на фиг.5 (см. Пример 1), показывает, что гальванический элемент по предлагаемому изобретению имеет лучшие скоростные характеристики.
Пример 4
Гальванический элемент по предлагаемому изобретению был изготовлен в соответствии с процедурой, описанной в Примере 1, за исключением того, что вместо термосварки внешних полимерных слоев с образованием краевой герметизации по периметру гальванического элемента был нанесен эпоксидный вяжущий материал путем впрыскивания этого материала в промежуток между слоями по краям гальванического элемента, после чего гальванический элемент был оставлен для затвердевания приблизительно на 2 часа. После трех циклов активации, каждый из которых состоял в зарядке продолжительностью 8,5 часа и разряде продолжительностью 3,5 часа, из гальванического элемента был удален избыточный электролит, что было осуществлено путем зарядки гальванического элемента в перевернутом состоянии, в результате чего были созданы условия для выталкивания из гальванического элемента всякой свободной жидкости. После этой стадии в отверстие для заполнения, выполненное во внешней акриловой пластинке, был установлен манометр, в результате чего была обеспечена герметичная изоляция внутреннего пространства гальванического элемента от окружающей среды. После этого гальванический элемент был подвергнут тестированию на срок службы при глубине разряда 40% с циклом, состоящим из зарядки продолжительностью 55 минут током 0,72 А и разряда продолжительностью 35 минут током 1,1 А.
На фиг.8 приведены вольтовые характеристики полученного гальванического элемента при тестировании на срок службы в течение 5000 циклов. Как можно видеть из этих графиков, гальванический элемент по предлагаемому изобретению обеспечивает устойчивость характеристик в течение срока службы, что говорит об устойчивости материалов, обеспечивающих герметизацию и устойчивость конструкции.
Пример 5
Гальванический элемент по предлагаемому изобретению был изготовлен в соответствии с процедурой, описанной в Примере 1, за исключением того, что размеры положительного и отрицательного электродов составляли 152,4 мм×152,4 мм (6 дюймов×6 дюймов), а электропроводные слоистые структуры состояли из слоев полипропиленовой пленки, представляющих собой квадратные участки с размерами 158,75 мм×158,75 мм (61/4 дюйма×61/4 дюйма), приклеенные к слоям металлической фольги толщиной 25,4 мкм (1 мил), представляющих собой квадратные участки с размерами 152,4 мм×152,4 мм (6 дюймов×6 дюймов). В каждом участке полипропиленовой пленки были выполнены сквозные отверстия диаметром 6,35 мм (1/4 дюйма) с расстоянием между центрами этих сквозных отверстий, равным 25,4 мм (1 дюйм), таким образом, что каждая контактная точка обслуживала участок электрода квадратной формы с размерами 25,4 мм×25,4 мм (1 дюйм×1 дюйм).
На фиг.9 показаны вольт-амперные характеристики этого гальванического элемента при различных значениях разрядного тока, которые демонстрируют хорошие нагрузочные характеристики гальванического элемента по предлагаемому изобретению и эффективность герметизации конструкции.
Пример 6
В соответствии с предлагаемым изобретением путем пакетирования (как показано на фиг.3) пяти герметизированных гальванических элементов была собрана аккумуляторная батарея с номинальным напряжением 6 В. Конструкция каждого отдельного гальванического элемента была такой, как описано выше в Примере 4, за исключением того, что отверстие для заполнения у каждого гальванического элемента было запечатано цементирующим веществом. На фиг.10 графически показано изменение напряжения в зарядно-разрядном цикле для полученной аккумуляторной батареи.
Как можно видеть из фиг.10, из гальванических элементов по предлагаемому изобретению могут легко и эффективно собираться многоэлементные пакеты, обладающие преимуществами, характерными для предлагаемого изобретения.
Как можно видеть из приведенного выше описания предлагаемого изобретения и рассмотренных примеров его осуществления, при осуществлении предлагаемого изобретения обеспечивается устойчивая работа герметизированного гальванического элемента на протяжении многих циклов заряд-разряд, что является преимуществом предлагаемого изобретения.
Еще одним преимуществом предлагаемого изобретения является высокая нагрузочная способность гальванического элемента и аккумуляторной батареи.
Еще одним преимуществом предлагаемого изобретения является удобство построения гальванического элемента и аккумуляторной батареи.
Еще одним преимуществом предлагаемого изобретения является конструкционное решение гальванического элемента и аккумуляторной батареи, обеспечивающее минимизацию используемого пространства и высокое отношение массы активного вещества к инертному.
1. Биполярная электрохимическая аккумуляторная батарея, содержащая пакет из по меньшей мере двух электрохимических гальванических элементов, соединенных последовательно с обеспечением контакта электроположительной поверхности каждого гальванического элемента с электроотрицательной поверхностью соседнего гальванического элемента, при этом каждый гальванический элемент включает
(c) сепаратор, расположенный между электродами, при этом сепаратор содержит электролит,
(d) первую электропроводную слоистую структуру, содержащую первый внутренний металлический слой и первый внешний полимерный слой, причем в первом внешнем полимерном слое выполнено по меньшей мере одно сквозное отверстие, через которое открыт доступ к первому металлическому слою, при этом первая электропроводная слоистая структура находится в электрическом контакте с внешней поверхностью отрицательного электрода, и
(e) вторую электропроводную слоистую структуру, содержащую второй внутренний металлический слой и второй внешний полимерный слой, причем во втором внешнем полимерном слое выполнено по меньшей мере одно сквозное отверстие, через которое открыт доступ ко второму металлическому слою, при этом вторая электропроводная слоистая структура находится в электрическом контакте с внешней поверхностью положительного электрода, при этом первая слоистая структура и вторая слоистая структура герметично соединены по периферии друг с другом с образованием замкнутого объема, в котором размещены положительный и отрицательный электроды, сепаратор и электролит.
2. Биполярная электрохимическая аккумуляторная батарея по п.1, в которой электроды, сепаратор, а также первая и вторая электропроводные слоистые структуры имеют практически плоскую форму.
3. Биполярная электрохимическая аккумуляторная батарея по п.1, в которой первый внутренний металлический слой и второй внутренний металлический слой выполнены из металлической фольги.
4. Биполярная электрохимическая аккумуляторная батарея по п.1, в которой толщина первого и второго внутреннего металлического слоя составляет от приблизительно 7,62 мкм (приблизительно 0,0003 дюйма) до приблизительно 127 мкм (приблизительно 0,005 дюйма).
5. Биполярная электрохимическая аккумуляторная батарея по п.1, в которой первый и второй внутренний металлический слой выполнен из металла, выбранного из следующего перечня: медь, алюминий, серебро, сталь, литий, никель, или же из смесей этих металлов, а также из материалов, покрытых этими металлами или их смесями.
6. Биполярная электрохимическая аккумуляторная батарея по п.1, в которой первый и второй внешние полимерные слои выполнены из материала, выбранного из следующего перечня: полипропилен, полиэтилен, полисульфон, поливинилхлорид, или же из смесей этих материалов.
7. Биполярная электрохимическая аккумуляторная батарея по п.6, в которой первый и второй внешние полимерные слои выполнены в виде тонкой полимерной пленки толщиной в диапазоне от приблизительно 25,4 мкм (приблизительно 0,001 дюйма) до приблизительно 76,2 мкм (приблизительно 0,005 дюйма).
8. Биполярная электрохимическая аккумуляторная батарея по п.1, в которой в первом и втором внешних полимерных слоях выполнены сквозные отверстия, выровненные относительно друг друга с целью обеспечения контактных точек, через которые обеспечивается протекание электрического тока от одного гальванического элемента к другому.
9. Биполярная электрохимическая аккумуляторная батарея по п.1, в которой положительный электрод содержит в своем составе материал, выбранный из следующего перечня: кислород, магний, никель, литий, марганец, медь, кобальт, серебро, литий, окись или гидроокись никеля, окись или гидроокись марганца, окись или гидроокись меди, окись или гидроокись ртути, окись или гидроокись серебра, окись или гидроокись магния, окись или гидроокись лития, окись или гидроокись кобальта, или же комбинации этих материалов.
10. Биполярная электрохимическая аккумуляторная батарея по п.9, в которой положительный электрод является кислородным электродом или никелевым электродом.
11. Биполярная электрохимическая аккумуляторная батарея по п.3, в которой по меньшей мере один внутренний металлический слой, выполненный из металлической фольги, связан с внешним полимерным слоем с помощью гудрона, эпоксидной смолы или резинового клея.
12. Биполярная электрохимическая аккумуляторная батарея по п.11, в которой никелевый электрод выбран из следующего перечня: клееный пенный никелевый электрод, синтерированный никелевый электрод, связанный пластиком никелевый электрод.
13. Биполярная электрохимическая аккумуляторная батарея по п.1, в которой отрицательный электрод содержит в своем составе материал, выбранный из следующего перечня: кадмий, железо, цинк, серебро, литий, уголь, содержащий литиевый материал, или же смеси этих материалов.
14. Биполярная электрохимическая аккумуляторная батарея по п.1, в которой отрицательный электрод представляет собой металлогидридный электрод.
15. Биполярная электрохимическая аккумуляторная батарея по п.14, в которой металлогидридный электрод выбран из следующего перечня: никелегидридный электрод, медно-гидридный электрод, литийгидридный электрод, железогидридный электрод, или же электрод из смесей этих металлогидридов.
16. Биполярная электрохимическая аккумуляторная батарея по п.1, в которой сепаратор является пористым.
17. Биполярная электрохимическая аккумуляторная батарея по п.1, в которой первый и второй внешние полимерные слои герметично соединены между собой с образованием замкнутого объема.
18. Биполярная электрохимическая аккумуляторная батарея по п.1, в которой, по меньшей мере, между одним внутренним металлическим слоем и электродом, с которым он находится в контакте, размещена электропроводная паста или электропроводное вяжущее вещество.
19. Биполярная электрохимическая аккумуляторная батарея по п.1, в которой пакет из, по меньшей мере, двух электрохимических гальванических элементов помещен в герметичный батарейный корпус.
20. Биполярная электрохимическая аккумуляторная батарея по п.19, в которой герметичный батарейный корпус снабжен устройством для измерения давления.
21. Биполярная электрохимическая аккумуляторная батарея по п.19, в которой каждый электрохимический гальванический элемент выполнен полностью герметичным.
22. Биполярная электрохимическая аккумуляторная батарея по п.19, в которой между гальваническими элементами размещена электропроводная паста или электропроводное вяжущее вещество.
23. Биполярная электрохимическая аккумуляторная батарея по п.19, в которой по меньшей мере для одного из крайних гальванических элементов, составляющих пакет, обеспечен контакт с контактным элементом из металлической фольги, при этом упомянутый контактный элемент из металлической фольги электрически соединен с выводом аккумуляторной батареи.
24. Биполярная электрохимическая аккумуляторная батарея по п.19, в которой обеспечено удержание пакета из гальванических элементов в состоянии прижатия друг к другу.
25. Биполярная электрохимическая аккумуляторная батарея по п.19, в которой электрохимические гальванические элементы снабжены вентиляционными отверстиями.
26. Биполярная электрохимическая аккумуляторная батарея по п.19, в которой обеспечено удержание совокупности гальванических элементов в состоянии прижатия друг к другу.
27. Биполярная электрохимическая аккумуляторная батарея по п.26, в которой удержание гальванических элементов в состоянии прижатия друг к другу обеспечено с помощью наполненной газом прокладки.
28. Биполярная электрохимическая аккумуляторная батарея по п.19, в которой для обеспечения теплопроводности между гальваническими элементами проложены слои из металлической фольги.
29. Биполярная электрохимическая аккумуляторная батарея по п.19, в которой края гальванических элементов выполнены с удлинением до стенок батарейного корпуса для улучшения термического контакта с последним.
30. Биполярная электрохимическая аккумуляторная батарея по п.19, помещенная в корпус, снабженный пластиной с ячеистой структурой, с целью облегчения жесткой структуры для удержания пакета из гальванических элементов.
31. Биполярная электрохимическая аккумуляторная батарея по п.19, в котором первый внутренний металлический слой и первый внешний полимерный слой скреплены друг с другом с помощью гудрона, эпоксидной смолы или резинового клея, при этом второй внутренний металлический слои и второй внешний полимерный слой также скреплены друг с другом с помощью гудрона, эпоксидной смолы или резинового клея.
32. Электрохимический галетный гальванический элемент, включающий
(c) сепаратор, расположенный между положительным и отрицательным электродами, при этом сепаратор содержит электролит,
(d) первую электропроводную слоистую структуру, содержащую первый внутренний металлический слой и первый внешний полимерный слой, причем в первом внешнем полимерном слое выполнено по меньшей мере одно сквозное отверстие, через которое открыт доступ к первому металлическому слою, при этом первая электропроводная слоистая структура находится в электрическом контакте с внешней поверхностью отрицательного электрода, и
(e) вторую электропроводную слоистую структуру, содержащую второй внутренний металлический слой и второй внешний полимерный слой, причем во втором внешнем полимерном слое выполнено по меньшей мере одно сквозное отверстие, через которое открыт доступ ко второму металлическому слою, при этом вторая электропроводная слоистая структура находится в электрическом контакте с внешней поверхностью положительного электрода,
при этом первая слоистая структура и вторая слоистая структура герметично соединены по периферии друг с другом с образованием замкнутого объема, в котором размещены положительный и отрицательный электроды, сепаратор и электролит.
33. Способ получения биполярной электрохимической батареи, включающий следующие стадии:
(1) создание пакета из по меньшей мере двух электрохимических гальванических элементов, соединенных последовательно с обеспечением контакта электроположительной поверхности каждого гальванического элемента с электроотрицательной поверхностью соседнего гальванического элемента, при этом каждый гальванический элемент содержит
(c) сепаратор, расположенный между положительным и отрицательным электродами, при этом сепаратор содержит электролит,
(d) первую электропроводную слоистую структуру, содержащую первый внутренний металлический слой и первый внешний полимерный слой, причем в первом внешнем полимерном слое выполнено по меньшей мере одно сквозное отверстие, через которое открыт доступ к первому металлическому слою, при этом первая электропроводная слоистая структура находится в электрическом контакте с внешней поверхностью отрицательного электрода, и
(e) вторую электропроводную слоистую структуру, содержащую второй внутренний металлический слой и второй внешний полимерный слой, причем во втором внешнем полимерном слое выполнено по меньшей мере одно сквозное отверстие, через которое открыт доступ ко второму металлическому слою, при этом вторая электропроводная слоистая структура находится в электрическом контакте с внешней поверхностью положительного электрода,
(2) герметичное соединение первой и второй электропроводных слоистых структур между собой по периферии с образованием замкнутого объема, выполненного с возможностью размещения в нем положительного и отрицательного электродов, сепаратора и электролита.
34. Электрохимический галетный гальванический элемент по п.32, имеющий удлиненные края.