|
(21), (22) Заявка: 2006107093/11, 06.03.2006
(24) Дата начала отсчета срока действия патента:
06.03.2006
(46) Опубликовано: 27.04.2007
(56) Список документов, цитированных в отчете о поиске:
RU 2106555 С1, 10.03.1998. RU 93009958 А, 10.08.1995. SU 956874 A1, 07.09.1982. SU 1224189 A2, 15.04.1986. JP 49092462 A, 03.09.1974.
Адрес для переписки:
423810, Республика Татарстан, г. Набережные Челны, пр. Мира, 68/19, к.233А, Камская государственная инженерно-экономическая академия ОНТИ
|
(72) Автор(ы):
Волошко Владимир Владимирович (RU), Мавлеев Ильдус Рифович (RU)
(73) Патентообладатель(и):
Камская государственная инженерно-экономическая академия (RU)
|
(54) ДИФФЕРЕНЦИАЛЬНЫЙ ГИДРОМЕХАНИЧЕСКИЙ ВАРИАТОР
(57) Реферат:
Изобретение относится к механизмам зубчатых бесступенчатых передач и может быть использовано в транспортном машиностроении. Устройство состоит из двух последовательно соединенных дифференциальных ступеней. Дифференциальная ступень, входной вал которой связан с двигателем и является входным валом вариатора, представляет собой механический дифференциальный механизм. Вторая дифференциальная ступень представляет собой гидравлический дифференциальный преобразователь, имеющий два планетарных ряда, каждый из которых образован кинематическими звеньями многошестеренных гидронасоса и гидромотора с различными значениями внутренних передаточных чисел. Оси сателлитов первой и второй дифференциальной ступени установлены в общем для обеих дифференциальных ступеней корпусе. Корпус, установленный на подшипниках в картере вариатора, служит для обеих дифференциальных ступеней общим водилом, на котором установлена муфта свободного хода. Кроме механической связи, обусловленной наличием общего водила, между планетарными рядами гидравлического дифференциального преобразователя действует динамическая гидравлическая связь, в контур которой установлены автоматический перепускной и регулируемый клапаны. Технический результат заключается в увеличении значения КПД, увеличении диапазона автоматического регулирования, повышении топливно-экономических и экологических характеристик двигателя, плавности хода и постоянстве тягового усилия на ведущих колесах. 2 ил.
Изобретение относится к механизмам зубчатых бесступенчатых передач и может быть использовано в машиностроении, в частности транспортном машиностроении.
Дифференциальный гидромеханический вариатор предназначен для автоматического бесступенчатого преобразования вращательного движения между валом двигателя и валом рабочего органа машин и механизмов с целью обеспечения оптимального режима совместной работы двигателя и вариатора при изменяющейся произвольно величине внешней нагрузки на рабочем органе.
Известно устройство, наиболее близкое по совокупности признаков к заявленному изобретению, для бесступенчатого изменения крутящего момента и плавной передачи его на ведущие колеса.
Известное устройство, объемная гидромеханическая передача с внешним разделением мощности (ОГМП), представляет собой одноконтурную или двухконтурную передачу, соответственно с одним или двумя дифференциалами и объемной гидропередачей. Мощность, подведенная к ОГМП, разделяется на два потока через механические и гидравлические звенья, и только часть ее (обычно меньшая) передается гидромашинам. Поэтому по сравнению с объемной гидропередачей ОГМП обладает более высоким КПД при одних и тех же мощностях и диапазонах регулирования [1]. Одноконтурная ОГМП состоит из объемной гидропередачи и дифференциального механизма со смешанным или внешним зацеплением шестерен. В зависимости от расположения дифференциального звена по отношению к объемной гидропередаче различают ОГМП с дифференциальным звеном на входе или дифференциальным звеном на выходе.
Мощность с ведущего на ведомый вал ОГМП передается двумя потоками. Первый поток мощности передается через солнечную шестерню на сателлиты и далее на водило. Здесь существуют только механические потери мощности. Второй поток мощности передается на регулируемый гидронасос, далее на нерегулируемый или регулируемый гидромотор и через сателлиты на водило. Здесь мощность теряется в гидрообъемной передаче (ГОП). Основная доля потерь мощности приходится на ГОП.
Существенными недостатками одноконтурных ОГМП являются необходимость регулирования гидрообъемной передачи, что усложняет конструкцию за счет использования активной системы управления, и ограниченный диапазон автоматического регулирования
R=imax/imin,
где imax – максимальное передаточное отношение ОГМП;
imin – минимальное передаточное отношение ОГМП.
Увеличение диапазона регулирования достигается в двухконтурной ОГМП с двумя дифференциалами и гидрообъемной передачей, конструкции которых выполняют по трем схемам: с параллельным, последовательным и параллельно-последовательным соединением дифференциалов. Наиболее распространенной является схема с параллельным соединением дифференциалов, при котором вся мощность, не проходящая через гидропередачу, передается с ведущего вала на ведомый двумя параллельными потоками, причем преобразователем потоков мощности является гидрообъемная передача с дифференциальным механизмом на выходе.
Во избежании циркуляции мощности передаточное отношение всей передачи i находится в пределах между i02 и i01, где i01, i02 – передаточное отношение соответственно первого и второго дифференциалов при заторможенном звене, связанном с гидропередачей. При |i01|>|i02|, т.е. i01=imax, i02=imin диапазон регулирования R=imax/imin=i01/i02.
Общими недостатками для всех схем являются ограниченный диапазон регулирования, сложность конструкции, обусловленная применением дорогостоящего и сложного регулируемого гидропривода и системы автоматического управления.
Задачей, на решение которой направлено заявляемое изобретение, является обеспечение автоматического, без использования систем управления, регулирования вращающего момента на выходном валу в зависимости от изменения внешней нагрузки и диапазоне регулирования вариатора
ivar=1/iзад÷1,
где ivar – передаточное отношение вариатора;
iзад – заданное передаточное отношение.
При осуществлении изобретения могут быть получены следующие технические результаты:
– увеличение значения КПД;
– диапазон автоматического регулирования, охватывающий весь спектр частоты вращения выходного вала вариатора от его минимального заданного значения при максимальном крутящем моменте до частоты вращения, равной частоте вращения вала двигателя, и крутящем моменте, равном моменту двигателя;
– повышение топливно-экономических и экологических характеристик двигателя внутреннего сгорания при совместной работе его с гидромеханическим дифференциальным вариатором;
– внутренний автоматизм, не требующий решения задачи логистики управления;
– возможность торможения двигателем;
– бесшумность работы, плавность хода и постоянство тягового усилия на ведущих колесах;
– возможность быстрой смены режимов работы;
– защита двигателя в режиме разгона и “стоп режиме” от перегрузок.
Поставленная задача решается тем, что устройство состоит из двух последовательно соединенных дифференциальных ступеней. Дифференциальная ступень, входной вал которой связан с двигателем и является входным валом вариатора, представляет собой механический дифференциальный механизм, внутреннее передаточное число которого может иметь различные значения. Вторая дифференциальная ступень представляет собой гидравлический дифференциальный преобразователь, имеющий два планетарных ряда, каждый из которых образован кинематическими звеньями многошестеренных гидронасоса и гидромотора с различными значениями внутренних передаточных чисел. Оси сателлитов первой и второй дифференциальной ступени установлены в общем для обеих дифференциальных ступеней корпусе. Корпус, установленный на подшипниках в картере вариатора, служит для обеих дифференциальных ступеней общим водилом, на котором установлена муфта свободного хода. Кроме механической связи, обусловленной наличием общего водила, между планетарными рядами гидравлического дифференциального преобразователя действует динамическая гидравлическая связь, в контур которой установлены автоматический перепускной и регулируемый клапаны.
В отличие от прототипа, у которого преобразователь двух потоков мощности входного дифференциала состоит из кинематически связанных гидрообъемной и дифференциальной передач, предлагаемое изобретение решает задачу преобразования потоков мощности входного дифференциала с помощью гидравлического дифференциального преобразователя, что позволяет достигнуть вышеуказанные технические результаты.
Принцип работы гидромеханического дифференциального вариатора основан на равенстве взаимодействия противоположно направленных по отношению друг к другу моментов, создаваемых на водиле в результате действии внутренних сил дифференциальных ступеней, и автоматическом изменении давления р и расхода рабочей жидкости Q через гидронасос и гидромотор, который происходит в результате изменения относительных скоростей звеньев дифференциальных ступеней при изменении скорости выходного вала по отношению к постоянной скорости входного вала.
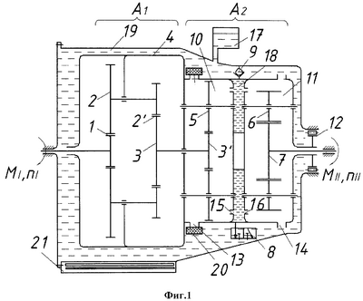
На фиг.1 представлена кинематическая схема конструкции предлагаемого дифференциального гидромеханического вариатора.
На фиг.2 представлена безразмерная характеристика изменения расхода жидкости Q и давления р в функции
ivar=nII/nI,
где Qmax раб – максимальный расход;
pmax – максимальное давление;
р0 – давление при ivar=1;
К=1/iзад – коэффициент трансформации.
На кинематической схеме фиг.1 обозначены:
А1 – механический дифференциальный механизм; А2 – гидравлический дифференциальный преобразователь; 1 – входное звено дифференциального механизма, оно же входной вал вариатора; 2-2′ – сателлиты; 3-3′ – выходное звено дифференциального механизма, оно же входное звено гидравлического дифференциального преобразователя; 4 – водило (корпус) вариатора; 5 и 6 – ведомые колеса соответственно гидронасоса и гидромотора; 7 – ведомый вал гидромотора, он же выходной вал вариатора; 8 – управляемый клапан; 9 – автоматический перепускной клапан; 10 – гидронасос; 11 – гидромотор; 12 – муфта свободного хода; 13 и 16 – соответственно впускные окна гидронасоса и гидромотора; 14 и 15 – соответственно выпускные окна гидронасоса и гидромотора; 17 – расширительный бачок; 18 – кольцевой канал; 19 – картер вариатора; 20 – фильтр; 21 – теплообменник.
Корпус 4 дифференциального гидромеханического вариатора опирается на подшипники, установленные в заполненном маслом картере 19. Для компенсации температурных расширений масла картер имеет расширительный бачок 17. Первая дифференциальная ступень вариатора представляет собой механический дифференциальный механизм, составленный из входного вала 1, сателлитов 2-2′, выходного звена 3-3′ и водила 4. Вторая дифференциальная ступень вариатора представляет собой гидравлический дифференциальный преобразователь, образованный водилом 4, многошестеренными зубчатым гидронасосом 10 с подвижными осями и ведомыми колесами 5, число которых должно быть не менее двух, и гидромотором 11 с подвижными осями и ведущими колесами 6, число которых должно быть не менее двух. Гидронасос и гидромотор имеют впускные 13 и 16, выпускные 14 и 15 окна, число которых равно числу ведомых колес гидронасоса и ведущих гидромотора.
В гидравлический кольцевой канал 18 установлен автоматический перепускной клапан 9 и управляемый клапан 8. Между водилом 4 и картером 19 установлена муфта свободного хода 12, на впускных окнах гидронасоса установлен фильтр 20, в нижней части картера 19 установлен теплообменник 21.
При неподвижном водиле 4 вращающий момент M1 от внешнего источника энергии передается на входное звено 1 дифференциального механизма A1, которое вращается с частотой вращения n1, и через планетарные шестерни 2-2′ передается на шестерню 3 кинематического звена 3-3′. При этом звено 3-3′ вращается в ту же сторону, что и входное звено 1. Вращение звена 3-3′ и шестерен 5 создает поток рабочей жидкости, определяемый параметрами уравнения

где М3-3′=MГН – момент на входном валу гидронасоса;
р – давление жидкости, Па;
VГН – рабочий объем гидронасоса, м3.
Водило 4 воспринимает реактивный момент со стороны механического дифференциального механизма А1, равный М4А1=-М1(1-i13), направленный в сторону, противоположную направлению вращения входного звена 1.
При использовании зубчатого насоса с двумя и более ведомыми колесами сила, действующая со стороны ведущей шестерни 3′ на шестерни 5, воспринимающие окружной момент в процессе вытеснения рабочей жидкости, при приведении ее к центрам шестерен 5 создает момент на водиле 4, определяемый как М4A2=-M1i13(1-i3’5).
Сумма моментов M4A1 и M4А2 равна М4=M4A1+М4A2=-М1(1-i13i3’5) и имеет направление, совпадающее с направлением вращения входного звена 1.
Поток рабочей жидкости через выпускные окна гидронасоса 14 попадает в кольцевой канал 18 и через впускные окна гидромотора 75 в его рабочие полости, образованные впадинами шестерен 6 и 7. Крутящий момент на выходном валу гидромотора определяется по уравнению
МГМ=pVГМ/2 =МГНiг=-M1i13iг=МII,
где р – давление жидкости, Па;
VГМ – рабочий объем гидромотора, м3;
– гидравлическое передаточное число.
Гидравлическое передаточное число из условия равновесия водила 4 , откуда .
Водило 4, являющееся общим для двух дифференциальных ступеней, при наличии момента сопротивления на выходном валу 7 МC=-МII находится в состоянии равновесия и число оборотов его n4=0, а число оборотов выходного вала вариатора . При |МC|>|-МII| разница моментов на водиле 4 воспринимается муфтой свободного хода 12. При уменьшении числа оборотов выходного вала под действием нагрузки, превышающей расчетную, до nII=0 давление в кольцевой полости растет до величины давления срабатывания автоматического перепускной клапана 9 и разность расходов жидкости через гидронасос и гидромотор перетекает из кольцевого канала 18 во внутреннюю полость корпуса 19. Ввиду значительного повышения температуры рабочей жидкости при перетекании ее через щели клапана 9 такой режим работы допускается кратковременно в процессе трогания транспортного средства с места.
При уменьшении нагрузки на выходном валу II реактивный момент на водило 4 со стороны гидромотора уменьшается, поток гидравлической мощности уменьшается в то время, как механический суммарный момент M4, образуемый работой дифференциальных ступеней А1 и А2, при постоянном числе оборотов входного вала I осуществляет передачу мощности по параллельному механическому потоку мощности. Разница между суммарным моментом и реактивным моментом приводит к вращению водила 4 в ту же сторону, что входной I и выходной II валы, и число оборотов выходного вала II возрастает от до nII=nI, что и определяет диапазон автоматического регулирования вариатора ivar=1/iзад÷1. При этом происходит перераспределение потоков мощности по гидравлическому и механическому контуру, и при nII=nI вся мощность передается по механическому контуру.
При скорости вращения выходного вала nII=nI относительные скорости всех звеньев равны нулю, следовательно Q=0. При изменении скорости nII изменяется скорость водила n4 и, соответственно, скорости звеньев гидронасоса и гидромотора относительно водила 4. Изменение числа оборотов выходного вала в диапазоне от nII=1/iзад до nII=0 происходит при n4=0. При n4=0 расход рабочей жидкости Q=n3′VГН=nIIVГМ и давление р=рmax. В связи с перераспределением потока мощности при изменении скорости выходного вала параметры гидравлического потока мощности р и Q изменяются в соответствии с графиком, изображенным на фиг.2.
С целью обеспечения постоянного давления pmax в диапазоне разгонного режима, когда QГН QГМ, в гидросистеме предусмотрен автоматический перепускной клапан 9. Кроме того, в гидросистеме предусмотрен управляемый клапан 8, назначением которого является разрыв потока рабочей жидкости в гидравлическом контуре, что необходимо при запуске двигателя, трогании с места автомобиля, рассоединения двигателя с трансмиссией во время движения.
По сравнению с прототипом автоматическое бесступенчатое регулирование кинематических и силовых параметров осуществляется при полном отсутствии какой-либо системы управления, достигается простота вариантов конструкции.
Повышение коэффициента полезного действия происходит за счет уменьшения гидрообъемных потерь, в виду отсутствия местных сопротивлений в органах управления, малых значений длины потока и скорости движения рабочей жидкости в нем.
Свойство обратимости роторных гидромашин при действии нагрузки со стороны выходного вала обеспечивает возможность торможения двигателем.
Демпфирующие свойства гидравлического контура обуславливают бесшумность работы, плавность хода и постоянство тягового усилия на ведущих колесах.
Малая инерционность вращающихся частей при невысоком уровне давления и, соответственно, небольшой массе корпуса вариатора позволяет производить быструю смену режима работы.
Муфта свободного хода, установленная на валу водила, и автоматический перепускной клапан в гидравлическом контуре защищают двигатель в режиме разгона и “стоп режиме” от перегрузок.
Сравнительный анализ состава конструкций автоматических коробок передач, клиноцепных и торроидных вариаторов, выпускаемых современной автомобильной промышленностью разных стран, показывает высокую степень конструкторско-технологической преемственности по отношению к существующему производству зубчатых передач и гидромашин, высокую степень унификации, значительно меньшую стоимости материалов и трудозатрат и, соответственно, гораздо более низкую стоимость.
В автомобилестроении дифференциальные гидромеханические вариаторы, используемые в качестве автоматических трансмиссий, при совместной работе с двигателем позволяют последнему, при изменяющейся во всем диапазоне внешней нагрузке, работать в области режима равных мощностей, что приводит к оптимальной степени использования мощности и, соответственно, к значительному уменьшению расхода топлива.
Достигаемые технические результаты обуславливают многофункциональное использование предлагаемого изобретения во всех областях машиностроения.
Источники информации
1. Гидропневмоавтоматика и гидропривод мобильных машин. Объемные гидро- и пневмомашины и передачи. Под ред. Гуськова В.В. – Мн.: Выш. шк., 1987. – С.212-221.
Формула изобретения
Дифференциальный гидромеханический вариатор, состоящий из кинематически связанных входного дифференциального механизма и преобразователя его параллельных потоков мощности, содержащий входное звено, являющееся выходным звеном дифференциального механизма, и выходное звено, являющееся выходным звеном преобразователя, отличающийся тем, что преобразователь потоков мощности представляет собой гидравлический дифференциальный механизм, имеющий два планетарных ряда, каждый из которых образован кинематическими звеньями многошестеренных гидронасоса и гидромотора с различными значениями внутренних передаточных чисел, оси сателлитов первой и второй дифференциальной ступени установлены в общем для обеих дифференциальных ступеней корпусе, который установлен на подшипниках в картере вариатора и служит для обеих дифференциальных ступеней общим водилом с установленной на нем муфтой свободного хода, и кроме механической связи, обусловленной наличием общего водила, между планетарными рядами гидравлического дифференциального механизма действует динамическая гидравлическая связь, в контур которой установлены автоматический перепускной и управляемый клапаны.
РИСУНКИ
|