|
|
(21), (22) Заявка: 2006102766/11, 31.01.2006
(24) Дата начала отсчета срока действия патента:
31.01.2006
(46) Опубликовано: 27.04.2007
(56) Список документов, цитированных в отчете о поиске:
КОЖЕВНИКОВ С.Н. Механизмы. – М.: Машиностроение, 1965, с.102, рис.2.144. АРТОБОЛЕВСКИЙ И.И. Механизмы в современной технике. Том “Кулисно-рычажные и кривошипно-ползунные механизмы”. 2-е изд., переработанное. – М.: Наука, главная редакция физико-математической литературы, 1979, с.491, схема 1504. US 2005076728 А, 14.04.2005. RU 2201348 C1, 27.03.2003.
Адрес для переписки:
654007, Кемеровская обл., г. Новокузнецк, ул. Кирова, 42, СибГИУ, патентный отдел, Н.В. Галаниной
|
(72) Автор(ы):
Дворников Леонид Трофимович (RU), Большаков Никита Сергеевич (RU)
(73) Патентообладатель(и):
Государственное образовательное учреждение высшего профессионального образования “Сибирский государственный индустриальный университет” (ГОУ ВПО “СибГИУ”) (RU)
|
(54) КРИВОШИПНО-ШАТУННЫЙ МЕХАНИЗМ СО СДВОЕННЫМ ШАТУНОМ
(57) Реферат:
Изобретение относится к машиностроению, а именно к механизмам для преобразования вращательного движения в поступательное. Кривошипно-ползунный механизм со сдвоенным шатуном включает кривошип, два шатуна различной длины и ползун. Между кривошипом и шатунами устанавливается трехпарное звено. Ползун снабжен двумя вращательными кинематическими парами для соединения с каждым из шатунов в отдельности. Конструкция упрощена за счет использования двух шатунов различной длины, соединенных с единым ползуном. 1 ил.
Изобретение относится к машиностроению, а именно к механизмам для преобразования вращательного движения в поступательное.
Известен кривошипно-ползунный механизм общего назначения ([1], стр.183, схема а), который состоит из кривошипа, шатуна и ползуна. Такой механизм ограничен по усилию, передаваемому на ползун, так как при большой длине шатуна последний может потерять продольную устойчивость.
Наиболее близким к предлагаемому является механизм компрессора ([2], стр.102, рис.2.144), который состоит из трехпарного звена, выполняющего роль кривошипа, двух шатунов, каждый из которых закреплен на ползунах, совершающих возвратно-поступательное движение в параллельных плоскостях.
Недостатком такого механизма является то обстоятельство, что трехпарное звено жестко закреплено с опорой, при этом шатуны соединены с различными ползунами, что ведет к усложнению конструкции механизма.
Задачей изобретения является упрощение конструкции механизма за счет использования для передачи вращательного движения в поступательное двух шатунов различной длины, соединенных с единым ползуном.
Сущность изобретения заключается в том, что предлагается кривошипно-ползунный механизм со сдвоенным шатуном, включающий кривошип, два шатуна различной длины и ползун, при этом между кривошипом и шатунами устанавливается трехпарное звено, а ползун снабжен двумя вращательными кинематическими парами для соединения с каждым из шатунов в отдельности.
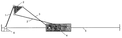
На чертеже показано одно из положений предлагаемого кривошипно-ползунного механизма со сдвоенным шатуном.
Механизм содержит кривошип 1, трехпарное звено 2, имеющее три вращательные кинематические пары, шатуны 3 и 3′ различной длины, ползун 4, направляющие 5 поступательного движения ползуна, соединенные за одно целое со стойкой 6, относительно которой осуществляется вращение кривошипа. Стрелкой показано направление вращения кривошипа 1.
Подвижность системы можно доказать по формуле Чебышева П.Л. ([3] форм.2.8)
W=3·n-2·р5,
где W – подвижность механизма, n – число подвижных звеньев, а р5 – число одноподвижных кинематических пар.
В предлагаемом механизме пять подвижных звеньев: кривошип 1, трехпарное звено 2, шатуны 3 и 3′ различной длины, ползун 4, т.е. n=5, а кинематических пар семь: связь кривошипа 1 с неподвижным звеном – стойкой 6, три связи трехпарного звена с кривошипом 1, и шатунами 3 и 3′, две связи шатунов с ползуном и связь ползуна с направляющей 5. Так как n=5, а р5=7, то W=3·5-2·7=1, т.е. система является работоспособной, следовательно, при задании движения одному из звеньев (кривошипу) ползун будет двигаться вполне определенно, т.е. возвратно-поступательно.
Работает механизм следующим образом: при задании вращательного движения кривошипу 1, трехпарное звено, воздействуя на шатуны, через них передаст движение ползуну 4, который получает возвратно-поступательное движение, при этом шатуны, закрепленные на едином ползуне, будут совершать плоскопараллельное движение совместно с трехпарным звеном.
Источники информации
1. Крайнев А.Ф. Словарь – справочник по механизмам. 2-е изд., переработанное и дополненное. – М.: Машиностроение, 1987 г. – 560 с.
2. Кожевников С.Н. Механизмы. – М.: Машиностроение, 1965 г.
3. Артоболевский И.И. Теория механизмов и машин. М.: Наука, 1988 г.
Формула изобретения
Кривошипно-ползунный механизм со сдвоенным шатуном, включающий кривошип, два шатуна различной длины и ползун, отличающийся тем, что между кривошипом и шатунами устанавливается трехпарное звено, а ползун снабжен двумя вращательными кинематическими парами для соединения с каждым из шатунов в отдельности.
РИСУНКИ
MM4A – Досрочное прекращение действия патента СССР или патента Российской Федерации на изобретение из-за неуплаты в установленный срок пошлины за поддержание патента в силе
Дата прекращения действия патента: 01.02.2008
Извещение опубликовано: 20.11.2009 БИ: 32/2009
|
|