|
|
(21), (22) Заявка: 2005134805/03, 09.11.2005
(24) Дата начала отсчета срока действия патента:
09.11.2005
(46) Опубликовано: 27.04.2007
(56) Список документов, цитированных в отчете о поиске:
RU 2244831 C1, 20.01.2005. SU 855222 A, 15.08.1981. SU 1344909 A1, 15.10.1987. SU 1536012 A1, 15.01.1990. RU 2169265 C2, 10.08.1999. RU 18186 U1, 27.05.2001. DE 2841919 A1, 10.05.1979. DE 3717024 A1, 01.12.1988.
Адрес для переписки:
630091, г.Новосибирск, Красный пр-т, 54, ИГД СО РАН
|
(72) Автор(ы):
Кю Николай Георгиевич (RU)
(73) Патентообладатель(и):
Институт горного дела Сибирского отделения Российской академии наук (RU)
|
(54) АНКЕР (ВАРИАНТЫ)
(57) Реферат:
Группа изобретений относится к горному делу и используется для крепления выработок. Анкер включает разрушаемую втулку из частиц заданных размеров, формы и прочности, скрепленных связующим веществом, прочность которого меньше прочности указанных частиц. Разрушаемая втулка армирована стержнями. На конце разрушаемой втулки установлена заглушка. Полость разрушаемой втулки заполнена твердеющим веществом, которое при отвердении расширяется. Во втором варианте в отличие от первого внутри разрушаемой втулки размещена труба, выполненная в виде свернутого в спираль листа. На конце трубы установлена заглушка. Труба заполнена твердеющим веществом, которое при отвердении расширяется. В третьем варианте анкер включает разрушаемую втулку. Составляющие ее части скреплены по продольным плоскостям связующим веществом, прочность которого меньше прочности материала частей разрушаемой втулки. На конце разрушаемой втулки установлена заглушка. Полость разрушаемой втулки заполнена твердеющим веществом, которое при отвердении расширяется. Возрастает эффективность анкера за счет снижения трудоемкости установки и повышения надежности крепления, обусловленного равномерным сцеплением со стенками скважины по всей длине. 3 н. и 12 з.п. ф-лы, 8 ил.
Техническое решение относится к горному делу и может быть использовано для крепления выработок.
Известен анкер по авт. св. СССР №1344909, кл. Е21D 21/00, опубл. в БИ №38, 1987 г., включающий грузонесущую штангу с эксцентрично навинченной на замковом конце гайкой, опорную шайбу и разрушаемую втулку, установленную на штанге между гайкой и опорной шайбой. Разрушаемая втулка выполнена из термически закаленного стекла, а гайка и шайба – с размещенными на торце шипами, взаимодействующими с втулкой.
Анкер имеет сложную конструкцию. Для его установки в скважине необходимо вращать штангу, которая зажимается стеклянной крошкой, образующейся в результате дробления разрушаемой втулки. На дробление разрушаемой втулки из закаленного стекла и преодоление трения между штангой и уплотняющейся стеклянной крошкой затрачивается много энергии, обуславливающей высокую трудоемкость установки анкера в скважине. Размеры, форма и прочность стеклянной крошки определяются свойствами термически закаленного стекла разрушаемой втулки и не могут варьироваться в больших пределах. С увеличением длины втулки снижается равномерность сцепления анкера со стенками скважины, т.е. надежность крепления. Все это обуславливает относительно низкую эффективность анкера.
Наиболее близким по технической сущности и совокупности существенных признаков является анкер по 1-му варианту по патенту РФ №2244831, кл. Е21D 21/00, опубл. в БИ №2, 2005 г., включающий штангу, гайку, опорную шайбу и разрушаемую втулку, установленную на штанге. На штанге закреплена трубка с конусной внешней поверхностью, расширяющейся в сторону замкового конца анкера. Разрушаемая втулка выполнена из частиц заданных размеров, формы и прочности, скрепленных связующим веществом, прочность которого меньше прочности указанных частиц. Между опорной шайбой и разрушаемой втулкой установлена металлическая втулка.
Этот анкер имеет сравнительно высокую трудоемкость установки в скважине (в каждой скважине нужно многократно устанавливать и разрушать втулки). При использовании относительно длинных втулок (с целью снижения трудоемкости установки анкера) сцепление анкера со стенками скважины оказывается неравномерным, что снижает надежность крепления. Поэтому эффективность анкера сравнительно низкая.
Решаемая техническая задача заключается в повышении эффективности анкера за счет снижения трудоемкости установки и повышения надежности крепления, обусловленной равномерным сцеплением со стенками скважины по всей длине.
Задача решается тем, что в анкере, включающем разрушаемую втулку из частиц заданных размеров, формы и прочности, скрепленных связующим веществом, прочность которого меньше прочности указанных частиц, согласно предлагаемому техническому решению разрушаемая втулка армирована стержнями, на конце разрушаемой втулки установлена заглушка, а полость разрушаемой втулки заполнена твердеющим веществом, которое при отвердении расширяется.
Разрушаемая втулка, армированная стержнями, заглушка на конце разрушаемой втулки и твердеющее вещество внутри разрушаемой втулки, которое при отвердении расширяется, исключают операции по раздавливанию разрушаемых втулок внутри скважины и необходимость применения для этих целей дополнительных механизмов. Для установки анкера выполняют только одну операцию – подачу его в скважину. Это по сравнению с прототипом существенно снижает трудоемкость крепления (установки анкера). Из-за расширения твердеющего вещества по всему объему сцепление анкера с горной породой оказывается равномерным по всей длине скважины и, следовательно, крепление становится более надежным (по сравнению с прототипом). В результате повышается эффективность анкера.
Целесообразно использовать стержни с периодическим профилем. Это существенно усиливает сцепление стержней с сыпучей смесью, образующейся в результате дробления разрушаемой втулки.
Целесообразно стержни выполнить из материала, не повреждающего рабочие органы механизмов (комбайнов) для разрушения горных пород, например из пластмассы. Это позволяет устанавливать анкеры в породных массивах, подлежащих в дальнейшем отработке механизированными комплексами.
Целесообразно внутреннюю поверхность разрушаемой втулки покрыть гидроизоляционным материалом. Это исключает возможность пропитки разрушаемой втулки поданным в нее твердеющим материалом (влияние на процесс отвердения).
Целесообразно на заглушке установить тарельчатую пружину с радиальными надрезами со стороны внешней окружности, выпуклой поверхностью в сторону заглушки и диаметром, который до установки анкера больше диаметра скважины. Это исключает возможность выпадения анкера из восстающей скважины.
Целесообразно заглушку скрепить со стержнями и на ней установить винт. Это позволяет крепить к анкеру дополнительные элементы (например, ограждающую сетку), исключающие травматизм рабочих от кусков горной породы, выпадающих из кровли или стенок выработки.
Во втором варианте исполнения в анкере, включающем разрушаемую втулку из частиц заданных размеров, формы и прочности, скрепленных связующим веществом, прочность которого меньше прочности указанных частиц, согласно предлагаемому техническому решению внутри разрушаемой втулки размещена труба, выполненная в виде свернутого в спираль листа, на конце трубы установлена заглушка, а труба заполнена твердеющим веществом, которое при отвердении расширяется.
Установка внутри разрушаемой втулки трубы, выполненной в виде свернутого в спираль листа, упрощает изготовление анкера и повышает его прочность (увеличивается поперечное сечение детали, несущей основную нагрузку). При этом на расширение трубы требуется относительно небольшое (по сравнению с расширением цельной трубы) усилие. Поданное в трубу твердеющее вещество, которое при отвердении расширяется, исключает операции по раздавливанию разрушаемых втулок внутри скважины. Заглушка на конце трубы устраняет утечку из нее твердеющего вещества. Для установки анкера выполняют только одну операцию – подачу его в скважину. Это по сравнению с прототипом существенно снижает трудоемкость крепления (установки анкера). Из-за расширения твердеющего вещества по всему объему сцепление анкера с горной породой оказывается равномерным по всей длине скважины и, следовательно, крепление становится более надежным (по сравнению с прототипом). В результате повышается эффективность анкера.
Целесообразно трубу выполнить из материала, не повреждающего рабочие органы механизмов для разрушения горных пород, например из пластмассы. Это позволяет устанавливать анкеры в породных массивах, подлежащих в дальнейшем отработке механизированными комплексами.
Целесообразно на заглушке установить тарельчатую пружину с радиальными надрезами со стороны внешней окружности выпуклой поверхностью в сторону заглушки и диаметром, который до установки анкера больше диаметра скважины. Это исключает возможность выпадения анкера из восстающей скважины.
Целесообразно заглушку скрепить с трубой и на ней установить винт. Это позволяет крепить к анкеру дополнительные элементы (например, ограждающую сетку), исключающие травматизм рабочих от кусков горной породы, выпадающих из кровли или стенок выработки.
В третьем варианте исполнения в анкере, включающем разрушаемую втулку, согласно предлагаемому техническому решению составляющие разрушаемую втулку части скреплены по продольным плоскостям связующим веществом, прочность которого меньше прочности материала частей разрушаемой втулки, на конце разрушаемой втулки установлена заглушка, а полость разрушаемой втулки заполнена твердеющим веществом, которое при отвердении расширяется.
Скрепление составляющих разрушаемую втулку частей по продольным плоскостям связующим веществом, прочность которого меньше прочности материала частей разрушаемой втулки, позволяет изготавливать несущие элементы с максимально большой (при прочих равных условиях) площадью поперечного сечения, делая анкер предельно прочным. При этом прочность материала частей разрушаемой втулки не влияет на усилие ее раздвижения (разрушения). Установленная на конце заглушка и поданное в полость разрушаемой втулки твердеющее вещество, которое при отвердении расширяется, исключают операции по раздавливанию разрушаемых втулок внутри скважины. Для установки анкера выполняют только одну операцию – подачу его в скважину. Это по сравнению с прототипом существенно снижает трудоемкость крепления (установки анкера). Из-за расширения твердеющего вещества по всему объему сцепление анкера с горной породой оказывается равномерным по всей длине скважины и, следовательно, крепление становится более надежным (по сравнению с прототипом). Все это повышает эффективность анкера.
Целесообразно на внешней поверхности разрушаемой втулки выполнить заостренные выступы из материала, прочность которого выше прочности горной породы. Это существенно усиливает сцепление анкера со стенками скважины.
Целесообразно части разрушаемой втулки выполнить из материала, не повреждающего рабочие органы механизмов для разрушения горных пород, например из пластмассы. Это позволяет устанавливать анкеры в породных массивах, подлежащих в дальнейшем отработке механизированными комплексами.
Целесообразно на заглушке установить тарельчатую пружину с радиальными надрезами со стороны внешней окружности выпуклой поверхностью в сторону заглушки и диаметром, который до установки анкера больше диаметра скважины. Это исключает возможность выпадения анкера из восстающей скважины.
Целесообразно заглушку скрепить с составляющими частями разрушаемой втулки и на ней установить винт. Это позволяет крепить к анкеру дополнительные элементы (например, ограждающую сетку), исключающие травматизм рабочих от кусков горной породы, выпадающих из кровли или стенок выработки.
Сущность технического решения поясняется примерами конкретного исполнения и чертежами.
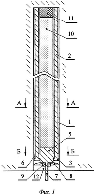
На фиг.1 показан анкер в скважине по первому варианту, продольный разрез; на фиг.2 – разрез А-А на фиг.1; на фиг.3 – разрез Б-Б на фиг.1; на фиг.4 – анкер в скважине по второму варианту, продольный разрез; на фиг.5 – разрез В-В на фиг.4; на фиг.6 – анкер в скважине по третьему варианту, продольный разрез; на фиг.7 – разрез Г-Г на фиг.6; на фиг.8 – разрез Д-Д на фиг.6.
Анкер по первому варианту включает разрушаемую втулку 1 (далее – втулка 1) из частиц заданных размеров, формы и прочности, скрепленных связующим веществом, прочность которого меньше прочности указанных частиц (фиг.1-3). Втулка 1 армирована стержнями 2, установленными параллельно ее оси. Стержни 2 имеют головки 3 (кольцевые выступы на конце) и в нескольких местах скреплены проволокой 4 (для удержания стержней в нужном положении во время изготовления втулки 1). На одном конце втулки 1 установлена заглушка 5 с радиальными пазами 6, в которые вставлены стержни 2. К заглушке 5 прикреплен винт 7, на который надета тарельчатая пружина 8 с радиальными надрезами (на фиг.1 не обозначены) со стороны внешней окружности. Тарельчатая пружина 8 выпуклой поверхностью прикреплена к заглушке 5 с помощью гайки 9. Полость втулки 1 заполнена твердеющим веществом 10, которое при отвердении расширяется. На другом конце (свободном от заглушки 5) втулки 1 установлена пробка 11. Анкер подан в скважину 12.
Работа анкера по первому варианту осуществляется следующим образом.
Анкер подают в скважину 12 до упора в забой (фиг.1). При отвердении вещество 10 расширяется, от чего втулка 1 разрушается и образующаяся при этом сыпучая смесь, заполнив зазор (который был до разрушения втулки 1) между анкером и стенками скважины 12, спрессовывается. Частицы втулки 1 вдавливаются в горную породу и распираются между стенками скважины 12 и стержнями 2. В результате анкер оказывается сцепленным со стенками скважины 12 по всей длине.
Для установки анкера нужно заполнить втулку 1 твердеющим веществом 10 и подать его (анкер) в скважину 12. Время между этими двумя операциями может исчисляться часами. В качестве твердеющего вещества 10 предполагается использовать серийно выпускаемое невзрывчатое разрушающее средство (НРС), наиболее интенсивно расширяющееся в течение первых суток. В этом случае участок заполнения втулок 1 может находиться на значительном (в пределах одного горного предприятия на любом) расстоянии от места установки анкера. Такие условия позволяют относительно просто механизировать и даже автоматизировать процесс крепления выработок. Участок подготовки анкеров располагают на поверхности (в специальном помещении) и оснащают соответствующим оборудованием. В подземных условиях для крепления выработок выполняют только одну операцию – подачу анкеров в скважины 12. Пробка 11 предотвращает вытекание твердеющего вещества 10 во время транспортировки анкера к месту установки. Она изготавливается из традиционных материалов (дерева, пластмассы, резины) и принципиальных особенностей не имеет.
В качестве стержней 2 в первую очередь предполагается использовать арматуру, которая широко применяется в строительстве (в железобетонных конструкциях). Такие стержни 2 имеют периодический профиль и по своим свойствам (прочности на растяжение и надежности сцепления с вмещающей средой) наиболее полно удовлетворяют требованиям к анкерной крепи.
Существуют технологии, в которых анкерное крепление применяют для выработок, проводимых непосредственно в отрабатываемом рудном теле. Очевидно, что в этом случае предполагается дальнейшая отбойка горной породы, в которой установлены анкеры. Горные породы средней и слабой прочности наиболее эффективно отбивают механизированными комплексами. Чтобы анкеры не повреждали механизированные комплексы, стержни 2 изготавливают из материалов, прочность которых существенно меньше прочности отбивающих горную породу рабочих органов. В качестве таких материалов используют, например, пластмассу. Отметим, что в ряде случаев, когда требуется, сохраняя возможность отбойки горной породы механизированными комплексами, более надежное крепление (по сравнению с пластмассовыми стержнями) выработок, в качестве стержней 2 используют канаты, например, из капрона.
Втулки 1 изготавливают из доступных и дешевых материалов. В качестве связующего частицы вещества предполагается использовать гипс или смесь песка и цемента. Такие связующие вещества способны впитывать воду, содержащуюся в твердеющем веществе 10 (НРС). Чтобы втулка 1 не оказывала влияние на свойства твердеющего вещества 10 (не впитывала содержащуюся в нем воду), ее внутреннюю поверхность покрывают гидроизоляционным материалом (на фиг. не показан).
После подачи анкера в восстающую скважину 12 его нужно удерживать от выпадения до сцепления с горной породой (расширения твердеющего вещества 10). Делать это можно известными способами и техническими средствами. В предлагаемом анкере функцию удержания его от выпадения из восстающей скважины 12 выполняет тарельчатая пружина 8 с радиальными надрезами со стороны внешней окружности, установленная на заглушке 5. Диаметр тарельчатой пружины 8 в исходном состоянии больше диаметра скважины 12. Такая тарельчатая пружина 8 может перемещаться по скважине 12 только в направлении от ее устья к забою (в сторону выпуклой ее поверхности). При попытке перемещения тарельчатой пружины 8 в обратном направлении (от забоя скважины 12) она распирается о стенки скважины 12 (работает как якорь) и фиксирует положение анкера.
Для повышения безопасности ведения горных работ путем снижения вероятности травматизма от выпадающих из кровли или стенок выработки кусков горной породы устанавливают соответствующие ограждения (щиты, сетки), которые крепят к анкерам. С этой целью заглушку 5 скрепляют со стержнями 2 и на ней устанавливают винт 7. В заглушке 5 выполняют радиальные пазы 6, в которые вставляют стержни 2 с головками 3, как показано на фиг.1 и на фиг.3. Радиальные пазы 6 не препятствуют стержням 2 расходиться (перемещаться в радиальном направлении относительно оси анкера) при расширении твердеющего вещества 10, а головки 3 удерживают заглушку 5 в скважине 12. Винт 7 облегчает установку тарельчатой пружины 8 на заглушке 5 с помощью гайки 9 и обеспечивает возможность крепления к анкеру дополнительных элементов (ограждающей сетки).
Наличие проволоки 4 обусловлено технологией изготовления втулок 1. Они удерживают стержни 2 в нужном положении во время изготовления втулки 1.
Анкер по второму варианту включает разрушаемую втулку 1 (далее – втулку 1) из частиц заданных размеров, формы и прочности, скрепленных связующим веществом, прочность которого меньше прочности указанных частиц (фиг.4, 5). Внутри втулки 1 размещена труба 13, выполненная в виде свернутого в спираль листа. На конце трубы 13 установлена заглушка 5. Заглушка 5 скреплена с трубой 13 стержнем 14, который пропущен через сквозное отверстие (на фиг.4 не обозначено), выполненное поперек анкера, как показано на фиг.4. К заглушке 5 прикреплен винт 7, на который надета тарельчатая пружина 8 с радиальными надрезами (на фиг.4 не обозначены) со стороны внешней окружности. Тарельчатая пружина 8 выпуклой поверхностью прикреплена к заглушке 5 с помощью гайки 9. Труба 13 заполнена твердеющим веществом 10, которое при отвердении расширяется. На другом конце (свободном от заглушки 5) трубы 13 установлена пробка 11. Анкер подан в скважину 12.
Работа анкера по второму варианту осуществляется следующим образом.
Анкер подают в скважину 12 до упора в забой (фиг.4). При отвердении вещество 10 расширяется, от чего стенки трубы 13 раздвигаются (развертывается скрученный в спираль лист), втулка 1 разрушается и образующаяся при этом сыпучая смесь, заполнив зазор (который был до разрушения втулки 1) между анкером и стенками скважины 12, спрессовывается. Частицы втулки 1 вдавливаются в горную породу и распираются между стенками скважины 12 и трубой 13. В результате анкер оказывается сцепленным со стенками скважины 12 по всей длине.
Трубу 13 изготавливают путем накручивания на штангу листа, нагретого до состояния, при котором он становится пластичным. В зависимости от прочностных и технологических требований к анкеру трубу 13 выполняют из металла или пластмассы. При этом труба 13 должна расширяться на нужную величину без разрушения материала, из которого она сделана. Диаметр отверстия в трубе 13 делают больше диаметра пропущенного через нее стержня 14. Связано это с необходимостью беспрепятственного раздвижения стенок трубы 13 при расширении твердеющего вещества 10. При изготовлении втулки 1 труба 13 выполняет функцию внутренней опалубки, что снижает трудоемкость изготовления анкера.
Анкер по третьему варианту включает разрушаемую втулку 1 (далее – втулку 1), состоящую из частей (фиг.6-8), скрепленных по продольным плоскостям 15 связующим веществом 16, прочность которого меньше прочности материала частей втулки 1. На внешней боковой поверхности втулки 1 выполнены выступы 17 из материала, прочность которого выше прочности горной породы. На конце втулки 1 установлена заглушка 5. Заглушка 5 скреплена с втулкой 1 стержнем 14, который пропущен через сквозное отверстие (на фиг.6, 8 не обозначено), выполненное поперек анкера, как показано на фиг.6. К заглушке 5 прикреплен винт 7, на который надета тарельчатая пружина 8 с радиальными надрезами (на фиг.6 не обозначены) со стороны внешней окружности. Тарельчатая пружина 8 выпуклой поверхностью прикреплена к заглушке 5 с помощью гайки 9. Втулка 1 заполнена твердеющим веществом 10, которое при отвердении расширяется. На другом конце (свободном от заглушки 5) втулки 1 установлена пробка 11. Анкер подан в скважину 12.
Работа анкера по третьему варианту осуществляется следующим образом.
Анкер подают в скважину 12 до упора в забой (фиг.6). При отвердении вещество 10 расширяется, разрушает втулку 1 и раздвигает составляющие ее части. Выступы 17 внедряются в горную породу, от чего анкер скрепляется со стенками скважины 12 по всей длине.
В третьем варианте исполнения несущими нагрузку элементами анкера являются составляющие втулку 1 части, суммарная площадь поперечного сечения которых больше, чем у стержней 2 (первый вариант исполнения) или трубы 13 (второй вариант исполнения). Поэтому несущая способность анкера в третьем варианте (по сравнению с первым и вторым) наибольшая. В качестве материала, из которого изготавливают составляющие втулку 1 части, используют металл или пластмассу. Анкер по третьему варианту исполнения наиболее прост по конструкции и при массовом производстве может оказаться самым дешевым. Однако для его изготовления требуется специальное оборудование (например, прокатный стан).
Для повышения сцепления анкера с горной породой на внешней поверхности частей втулки 1 выполняют выступы 17, прочность которых выше прочности горной породы. Форма выступов 17 принципиального значения не имеет. Они могут иметь вид пирамид, конусов, заостренных дисков и т. д. Предполагается, что выступы 17 будут формироваться одновременно с изготовлением частей втулки 1 методами штамповки или прокатки и выполняться только на втулках 1, составные части которых изготавливаются из металла. Втулки 1 из пластмассы достаточно надежно сцепляются с шероховатой поверхностью стенок скважины и без выступов 17.
Представленные варианты анкера предназначены для крепления выработок в различных условиях, определяемых прочностью горной породы, устойчивостью выработок, технологией ведения работ, техническими возможностями рудников и шахт. Различие конструктивных особенностей обеспечивает высокую эффективность использования анкеров в широком диапазоне изменения условий крепления выработок. Анкер прост в эксплуатации и может применяться на любых горных предприятиях.
Формула изобретения
1. Анкер, включающий разрушаемую втулку из частиц заданных размеров, формы и прочности, скрепленных связующим веществом, прочность которого меньше прочности указанных частиц, отличающийся тем, что разрушаемая втулка армирована стержнями, на конце разрушаемой втулки установлена заглушка, а полость разрушаемой втулки заполнена твердеющим веществом, которое при отвердении расширяется.
2. Анкер по п.1, отличающийся тем, что стержни имеют периодический профиль.
3. Анкер по п.1 или 2, отличающийся тем, что стержни выполнены из материала, не повреждающего рабочие органы механизмов для разрушения горных пород, например из пластмассы.
4. Анкер по п.1, отличающийся тем, что внутренняя поверхность разрушаемой втулки покрыта гидроизоляционным материалом.
5. Анкер по п.1, отличающийся тем, что на заглушке установлена тарельчатая пружина с радиальными надрезами со стороны внешней окружности, выпуклой поверхностью в сторону заглушки и диаметром, который до установки анкера больше диаметра скважины.
6. Анкер по п.1, отличающийся тем, что заглушка скреплена со стержнями и на ней установлен винт.
7. Анкер, включающий разрушаемую втулку из частиц заданных размеров, формы и прочности, скрепленных связующим веществом, прочность которого меньше прочности указанных частиц, отличающийся тем, что внутри разрушаемой втулки размещена труба, выполненная в виде свернутого в спираль листа, на конце трубы установлена заглушка, а труба заполнена твердеющим веществом, которое при отвердении расширяется.
8. Анкер по п.7, отличающийся тем, что труба выполнена из материала, не повреждающего рабочие органы механизмов для разрушения горных пород, например из пластмассы.
9. Анкер по п.7, отличающийся тем, что на заглушке установлена тарельчатая пружина с радиальными надрезами со стороны внешней окружности, выпуклой поверхностью в сторону заглушки и диаметром, который до установки анкера больше диаметра скважины.
10. Анкер по п.7, отличающийся тем, что заглушка скреплена с трубой и на ней установлен винт.
11. Анкер, включающий разрушаемую втулку, отличающийся тем, что составляющие разрушаемую втулку части скреплены по продольным плоскостям связующим веществом, прочность которого меньше прочности материала частей разрушаемой втулки, на конце разрушаемой втулки установлена заглушка, а полость разрушаемой втулки заполнена твердеющим веществом, которое при отвердении расширяется.
12. Анкер по п.11, отличающийся тем, что на внешней поверхности разрушаемой втулки выполнены выступы из материала, прочность которого выше прочности горной породы.
13. Анкер по п.11, отличающийся тем, что части разрушаемой втулки выполнены из материала, не повреждающего рабочие органы механизмов для разрушения горных пород, например из пластмассы.
14. Анкер по п.11, отличающийся тем, что на заглушке установлена тарельчатая пружина с радиальными надрезами со стороны внешней окружности, выпуклой поверхностью в сторону заглушки и диаметром, который до установки анкера больше диаметра скважины.
15. Анкер по п.11, отличающийся тем, что заглушка скреплена с составляющими разрушаемую втулку частями и на ней установлен винт.
РИСУНКИ
|
|