|
|
(21), (22) Заявка: 2005132205/12, 18.10.2005
(24) Дата начала отсчета срока действия патента:
18.10.2005
(46) Опубликовано: 27.04.2007
(56) Список документов, цитированных в отчете о поиске:
GB 1215935 А, 16.12.1970. FR 2402017 A1, 30.03.1979. SU 787499 A, 25.12.1980. SU 80977 A, 25.10.1960. CH 680738 A5, 30.10.1992. DE 3120035 A1, 23.12.1982.
Адрес для переписки:
156005, г.Кострома, ул. Дзержинского, 17, Костромской государственный технологический университет
|
(72) Автор(ы):
Соркин Борис Аркадьевич (RU), Кириллова Екатерина Сергеевна (RU), Рудовский Павел Николаевич (RU), Соркин Аркадий Павлович (RU), Плаксин Евгений Борисович (RU)
(73) Патентообладатель(и):
Государственное образовательное учреждение высшего профессионального образования “Костромской государственный технологический университет” (RU)
|
(54) ПИТАЮЩАЯ РАМКА ПРЯДИЛЬНОЙ МАШИНЫ
(57) Реферат:
Питающая рамка может быть использована на прядильной машине и обеспечивает получение технического результата, состоящего в снижении силы натяжения ровницы при ее сматывании с катушки и уменьшении вследствие этого обрывности ровницы и скрытой вытяжки ее. Питающая рамка содержит подвеску, направляющий ролик, питающий вал, корыто и рычаг, на котором расположены отклоняющий ролик, груз и датчик Холла. При увеличении натяжения ровницы по сигналу датчика Холла включается шаговый двигатель, вращающий катушку с ровницей. После снижения натяжения ровницы датчик Холла подает сигнал для выключения шагового двигателя. 1 ил.
Изобретение относится к прядильному производству текстильной промышленности и касается питающего устройства прядильной машины.
Питающие устройства для питания прядильных машин ровницей выполняются в виде питающих рамок и предназначены для установки катушек с ровницей. Конструкция рамок должна обеспечивать легкое вращение катушек для сматывания ровницы без излишнего натяжения и скрытой вытяжки. Вращение питающей пары вытяжного прибора создает натяжение ровницы, за счет которого происходит разматывание ровницы с катушки. Опорой катушки при ее вращении в некоторых конструкциях питающих рамок служит опорный узел катушки, имеющий грибообразные опоры (Кориковский П.К., Моисеенко М.М., Острогожский О.Г. Прядильно-крутильные машины. М.: Легкая индустрия, 1969; Журавский Л.М., Жоховский В.В., Беккер Л.Г. и др. Машины для прядения хлопка и химических волокон из подкрученной ленты. М.: Легкая индустрия, 1972). Недостатком питающих рамок с такими опорными узлами является постепенное наматывание в процессе работы оборвавшихся концов ровницы и пуха на опору, что приводит к значительному повышению момента трения на опоре и соответственно к повышению натяжения сматываемой ровницы, увеличению скрытой вытяжки ровницы и повышению обрывности в рамке.
Прототипом заявленного устройства является устройство питающей рамки прядильной машины с установкой катушек на вращающихся держателях-подвесках (Питающая рамка кольцевой прядильной машины. Пат. 680738, Швейцария). В таких конструкциях катушки с ровницей подвешены на вращающихся подвесках. Смотанная с катушек ровница огибает направляющий пруток и направляется в вытяжной прибор. В питающих рамках с подвесками катушка имеет лишь верхнюю опору, что облегчает обслуживание и исключает наматывание оборвавшихся концов ровницы. Недостатком указанного устройства является высокое натяжение ровницы при сматывании ее с катушки, а также нестабильность натяжения по высоте разматываемой катушки.
Технической задачей изобретения является создание питающей рамки прядильной машины, обеспечивающей получение технического результата, состоящего в снижении силы натяжения ровницы при сматывании с катушки.
Указанная техническая задача достигается тем, что катушка с ровницей вращается за счет шагового двигателя.
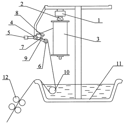
На чертеже представлена общая схема устройства.
В состав устройства входят
1 – шаговый двигатель;
2 – подвеска;
3 – катушка с ровницей;
4 – направляющий ролик;
5 – груз;
6 – отклоняющий ролик;
7 – датчик Холла;
8 – постоянный магнит;
9 – рычаг;
10 – питающий вал;
11 – корыто;
12 – питающая пара вытяжного прибора.
Устройство работает следующим образом.
Рычаг 9 под воздействием расположенного на нем груза 5 отклюняется и занимает свое исходное положение. Ровница, сматываясь с катушки, огибает направляющий ролик 4 и отклоняющий ролик 6, закрепленный на рычаге, поступает в корыто 11. Из корыта через питающий вал 10 ровница поступает в питающую пару вытяжного прибора 12. При вращении валиков питающей пары создается натяжение ровницы, за счет которого рычаг 9 с отклоняющим роликом 6 поворачивается вокруг своего исходного положения по часовой стрелке. При этом датчик Холла 7, закрепленный на рычаге 9, удаляется от магнита 8, закрепленного на кронштейне. После удаления его на определенное расстояние датчик Холла срабатывает, и по сигналу от него включается шаговый двигатель 1, вращающий катушку с ровницей 3. Натяжение ровницы уменьшается, и рычаг 9 с отклоняющим роликом 6 возвращается в свое исходное положение, шаговый двигатель 1 по сигналу датчика Холла 7 выключается. В результате натяжение ровницы за весь цикл работы устройства остается низким, так как оно не достигает величин, при которых должно обеспечиваться вращение катушки, имеющей значительную массу.
Полезный эффект от заявленного устройства заключается в уменьшении обрывности и скрытой вытяжки при сматывании ровницы с катушки в процессе прядения.
Формула изобретения
Питающая рамка прядильной машины, содержащая подвеску, направляющий ролик, питающий вал, корыто, отличающаяся тем, что рамка дополнительно оснащена рычагом с расположенными на нем отклоняющим роликом, грузом и датчиком Холла, по сигналу которого включается и выключается шаговый двигатель, вращающий катушку с ровницей.
РИСУНКИ
MM4A – Досрочное прекращение действия патента СССР или патента Российской Федерации на изобретение из-за неуплаты в установленный срок пошлины за поддержание патента в силе
Дата прекращения действия патента: 19.10.2007
Извещение опубликовано: 27.06.2009 БИ: 18/2009
|
|