|
|
(21), (22) Заявка: 2006104510/11, 13.02.2006
(24) Дата начала отсчета срока действия патента:
13.02.2006
(46) Опубликовано: 27.04.2007
(56) Список документов, цитированных в отчете о поиске:
RU 2258658 C1, 20.08.2005. SU 1384484 A1, 30.03.1988. RU 2170695 C1, 20.07.2001. JP 2002046832 A, 12.02.2002.
Адрес для переписки:
199106, Санкт-Петербург, В.О., 21 линия, 2, СПГГИ (ТУ), патентный отдел, А.П.Яковлеву
|
(72) Автор(ы):
Тарасов Юрий Дмитриевич (RU)
(73) Патентообладатель(и):
Государственное образовательное учреждение высшего профессионального образования “Санкт-Петербургский государственный горный институт имени Г.В. Плеханова (технический университет)” (RU)
|
(54) ЛЕНТОЧНЫЙ КОНВЕЙЕР С ПОДВЕСНОЙ ЛЕНТОЙ
(57) Реферат:
Изобретение относится к конвейеростроению, а именно к ленточным конвейерам с подвесной лентой для транспортирования кусковых и сыпучих грузов. Конвейер содержит стойки, бесконечно замкнутую на приводном и натяжном барабанах ленту с образованием грузонесущей и нерабочей ветвей. Несущие элементы ленты выполнены с нормально ориентированными к поверхности ленты полками с возможностью опирания полок несущих элементов как на грузонесущей, так и на нерабочей ветвях на два дисковых ролика с закругленными ободами, установленных перпендикулярно друг другу и размещенных на стойках конвейера. Полки снабжены щелевыми вырезами. Грузонесущая и нерабочая ветви ленты размещены эквидистантно друг относительно друга. Несущие элементы прикреплены к наружной поверхности бортов ленты. Дисковые ролики выполнены сдвоенными. На стойках между бортами грузонесущей и нерабочей ветвей ленты с возможностью взаимодействия с ними и вращения размещены цилиндрические ролики, установленные в плане между сдвоенными дисковыми роликами с зазорами по отношению к ним. Стойки выполнены П-образной формы для обеспечения возможности использования на конвейере ленты стандартной конструкции и улавливания оборвавшейся ленты. 2 ил.
Изобретение относится к конвейеростроению, а именно к ленточным конвейерам с подвесной лентой для транспортирования кусковых и сыпучих грузов.
Известны ленточные конвейеры с подвесной лентой, содержащие стойки, бесконечно замкнутую на приводном и натяжном барабанах ленту с образованием грузонесущей и нерабочей ветвей, два несущих гибких элемента, каждый из которых выполнен в виде ремня, имеющего Т-образный профиль в поперечном сечении и размещенного с возможностью опирания его полки как на грузонесущей, так и на нерабочей ветвях ленты на два дисковых ролика с закругленными ободами, установленных перпендикулярно друг другу и размещенных на раме конвейера симметрично относительно ремня, при этом борта ленты с ремнями связаны с помощью прикрепленных к бортам ленты и ремням скоб, соединенных между собой посредством пальцев, с возможностью поворота скоб друг относительно друга (патент РФ №2170695, М. Кл.7 В 65 G 15/00, 2002).
Недостатками известных конвейеров являются сложность конструкции опорных узлов ленты и значительная поперечная жесткость несущих ремней, а также невозможность улавливания оборвавшейся ленты.
Известен конвейер с подвесной лентой (прототип), содержащий стойки, бесконечно замкнутую на приводном, натяжном и отклоняющих барабанах ленту с образованием грузонесущей и нерабочей ветвей, при этом несущие элементы бортов ленты выполнены Т-образного профиля в поперечном сечении с возможностью опирания полок несущих элементов бортов как на грузонесущей, так и на нерабочей ветвях на два дисковых ролика с закругленными ободами, установленных перпендикулярно друг другу и размещенных на стойках конвейера симметрично относительно бортов ленты, а каждая полка бортов ленты с двух сторон снабжена щелевыми вырезами, ориентированными перпендикулярно продольной оси ленты и выполненными на всю ширину выступающих частей полки, щелевые вырезы размещены с одинаковым шагом по длине ленты и на противоположных сторонах полки смещены относительно друг друга на половину этого шага (патент РФ №2258658, М. Кл.7 В 65 G 15/08, 2005).
Недостатками известного конвейера являются необходимость изготовления специальной ленты с несущим бортами Т-образного профиля в поперечном сечении и невозможность без применения специальных приспособлений улавливать оборвавшуюся ленту при наклонной установке конвейера.
Техническим результатом изобретения является возможность использования для оснащения конвейера ленты стандартной конструкции и возможность улавливания оборвавшейся ленты наклонного конвейера без применения специальных технических средств.
Технический результат достигается тем, что в ленточном конвейере с подвесной лентой, содержащем стойки, бесконечно замкнутую на приводном, натяжном и отклоняющих барабанах ленту с образованием грузонесущей и нерабочей ветвей, при этом несущие элементы ленты выполнены с нормально ориентированными к поверхности ленты полками с возможностью опирания полок несущих элементов как на грузонесущей, так и на нерабочей ветвях на два дисковых ролика с закругленными ободами, установленных перпендикулярно друг другу и размещенных на стойках конвейера, а полки снабжены клиновыми щелевыми вырезами, направленными нормально к поверхности ленты и выполненными на всю ширину выступающей части полки, согласно изобретению грузонесущая и нерабочая ветви ленты размещены эквидистантно друг относительно друга, несущие элементы прикреплены к наружной поверхности бортов ленты, дисковые ролики выполнены сдвоенными, а на стойках между бортами грузонесущей и нерабочей ветвей ленты с возможностью взаимодействия с ними и вращения размещены цилиндрические ролики, установленные в плане между сдвоенными дисковыми роликами с зазорами по отношению к ним, при этом стойки выполнены П-образной формы с перекладиной, размещенной над грузонесущей ветвью ленты.
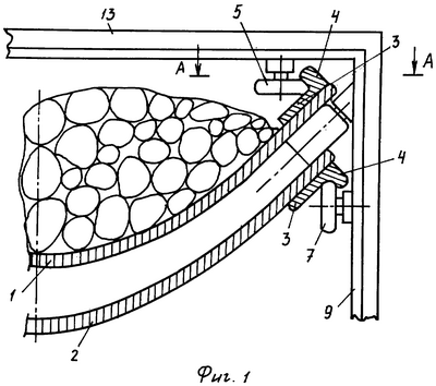
Ленточный конвейер с подвесной лентой представлен на фиг.1 – поперечный разрез, на фиг.2 – разрез А-А по фиг.1.
Ленточный конвейер с подвесной лентой содержит бесконечно замкнутую на приводном, натяжном и отклоняющих барабанах (не показаны) ленту с образованием грузонесущей 1 и нерабочей 2 ветвей. Грузонесущая 1 и нерабочая 2 ветви ленты размещены эквидистантно друг относительно друга. К наружной поверхности ленты (1, 2) прикреплены несущие элементы 3, выполненные с нормально ориентированными к поверхности ленты полками 4 с возможностью опирания полок 4 несущих элементов 3 как на грузонесущей 1, так и на нерабочей 2 ветвях на два сдвоенных дисковых ролика 5, 6 и 7, 8 с закругленными ободами. Сдвоенные дисковые ролики 5, 6 и 7, 8 установлены перпендикулярно друг другу и размещены на стойках 9 конвейера. Между бортами грузонесущей 1 и нерабочей 2 ветвей ленты размещены цилиндрические ролики 10, установленные на стойках 9 с возможностью вращения и взаимодействия с внутренними поверхностями бортов грузонесущей 1 и нерабочей 2 ветвей ленты. При этом цилиндрические ролики 10 в плане установлены между сдвоенными дисковыми роликами 5, 6 и 7, 8 и с зазорами 11 и 12 по отношению к ним. Стойки 9 выполнены П-образной формы с перекладиной 13, размещенной над грузонесущей ветвью 1 ленты. 14 – щелевые вырезы в полках 4 несущих элементов 3.
Ленточный конвейер с подвесной лентой действует следующим образом. Перед навеской на конвейер к бортам ленты 1, 2 прикрепляются изготовленные независимо от ленты несущие элементы 3 с полками 4. Их крепление к бортам ленты 1, 2 может осуществляться с помощью болтов, вулканизацией или с помощью заклепок. Тяговое усилие от приводного барабана передается грузонесущей ветви 1 ленты с находящимся на ней грузом. При этом лента последовательно огибает приводной, отклоняющие и натяжной барабаны. Поперечное натяжение ленты (от собственного веса – на ее нерабочей ветви 2 и от веса груза вместе с собственным весом ленты – на грузонесущей ветви 1) воспринимается через несущие элементы 3 с их полками 4 сдвоенными дисковыми роликами 5, 6 и 7, 8, на которые опираются полки 4 несущих элементов 3, и далее стойками 9. Часть поперечного натяжения обеих ветвей 1 и 2 ленты воспринимается цилиндрическими роликами 10. При огибании лентой приводного, натяжного и отклоняющих барабанов напряжения изгиба в несущих элементах 3 ограничиваются за счет щелевых вырезов 14, уменьшающих продольную жесткость полок 4 несущих элементов 3.
При наклонной установке конвейера и в случае обрыва ленты ее грузонесущая 1 и нерабочая 2 ветви начинают под действием синусоидальных составляющих их весов двигаться вниз. Однако за счет приложения к цилиндрическим роликам 10 сил трения, создающих крутящие моменты противоположного знака, цилиндрические ролики 10 затормаживаются сами и затормаживают обе ветви 1 и 2 ленты, что приводит к ее улавливанию.
Благодаря выполнению дисковых роликов 5, 6 и 7, 8 сдвоенными их диаметры могут быть уменьшены, что позволяет максимально использовать площадь поперечного сечения лотка грузонесущей ветви 1 ленты для размещения транспортируемого груза.
Размещение цилиндрических роликов 10 в плане между сдвоенными дисковыми роликами 5, 6 и 7, 8 с зазорами 11 и 12 по отношению к ним обеспечивают не только надежную фиксацию обеих ветвей 1 и 2 ленты в поперечном направлении, но и свободный их проход через опорные узлы при наличии отклонений в толщине ленты. Выполнение стоек 9 П-образной формы с поперечинами 13, размещенными над грузонесущей ветвью 1 ленты, обеспечивает их поперечную жесткость при минимальной высоте става конвейера и минимальной металлоемкости их конструкции.
Отличительные признаки изобретения позволяют использовать для оснащения конвейера ленту стандартной конструкции за счет прикрепления к ее бортам двух несущих элементов, максимально использовать площадь поперечного сечения лотка грузонесущей ветви ленты для размещения транспортируемого груза, а также обеспечивают улавливание оборвавшейся ленты наклонного конвейера без использования дополнительных технических средств.
Формула изобретения
Ленточный конвейер с подвесной лентой, содержащий стойки, бесконечно замкнутую на приводном и натяжном барабанах ленту с образованием грузонесущей и нерабочей ветвей, при этом несущие элементы ленты выполнены с нормально ориентированными к поверхности ленты полками с возможностью опирания полок несущих элементов как на грузонесущей, так и на нерабочей ветвях на два дисковых ролика с закругленными ободами, установленных перпендикулярно друг другу и размещенных на стойках конвейера, а полки снабжены щелевыми вырезами, ориентированными перпендикулярно продольной оси ленты и выполненными на всю ширину выступающей части полки, отличающийся тем, что грузонесущая и нерабочая ветви ленты размещены эквидистантно друг относительно друга, несущие элементы прикреплены к наружной поверхности бортов ленты, дисковые ролики выполнены сдвоенными, а на стойках между бортами грузонесущей и нерабочей ветвей ленты с возможностью взаимодействия с ними и вращения размещены цилиндрические ролики, установленные в плане между сдвоенными дисковыми роликами с зазорами по отношению к ним, при этом стойки выполнены П-образной формы с перекладиной, размещенной над грузонесущей ветвью ленты.
РИСУНКИ
MM4A – Досрочное прекращение действия патента СССР или патента Российской Федерации на изобретение из-за неуплаты в установленный срок пошлины за поддержание патента в силе
Дата прекращения действия патента: 14.02.2008
Извещение опубликовано: 20.05.2010 БИ: 14/2010
|
|