|
|
(21), (22) Заявка: 2006111953/11, 10.04.2006
(24) Дата начала отсчета срока действия патента:
10.04.2006
(46) Опубликовано: 27.04.2007
(56) Список документов, цитированных в отчете о поиске:
АВТОМОБИЛЬНЫЙ ТРАНСПОРТ, 2004, №10, с.67-68. SU 931568 А, 30.05.1982. RU 2245812 C1, 10.02.2005. DE 4201513 A1, 22.07.1993. EP 0972701 A1, 19.01.2000. EP 1588929 A2, 26.10.2005.
Адрес для переписки:
454080, г.Челябинск, пр-т им. В.И. Ленина, 76, ЮУрГУ, технический отдел
|
(72) Автор(ы):
Сергеев Владимир Михайлович (RU)
(73) Патентообладатель(и):
Государственное образовательное учреждение высшего профессионального образования “Южно-Уральский государственный университет” (RU)
|
(54) НИЗКОПОЛЬНЫЙ АВТОБУС
(57) Реферат:
Изобретение относится к средствам городского общественного транспорта и может быть использовано в производстве автобусов. Низкопольный автобус имеет привод передних колес и упруго-демпферные элементы. Задние колеса установлены попарно тандемом в одну колею на индивидуальных осях. Каждая из осей закреплена на конце одного из плеч треугольного рычага. Ось поворота рычага, общая для аналогичного рычага колеса другого борта, закреплена в основании кузова между колесами одного борта ниже их осей. Упруго-демпферный элемент для каждой пары колес одного борта размещен в их колее вдоль верхней части кузовной ниши для колес и соединяет концы вторых плеч треугольных рычагов для упрощения задней подвески. 2 ил.
Изобретение относится к средствам городского общественного транспорта и может быть использовано в производстве автобусов.
Известен низкопольный автобус с передним расположением двигателя и приводом передних колес, который имеет четыре одинарных задних колеса, установленных попарно в одну колею с каждого борта (Автомобильный транспорт, 2004, №10, с.67-68).
В таком автобусе, благодаря переднему расположению моторно-трансмиссионного агрегата, совмещенного в плане с кабиной водителя, и отсутствию заднего ведущего моста с валом его привода пол пассажирского салона на всей длине можно выполнить низким и ровным. Распределение массы задней части автобуса на четыре колеса позволяет сделать их односкатными, вследствие чего уменьшаются поперечные размеры колесных ниш в кузове, возрастает ширина прохода между ними, что облегчает перемещение во встречных направлениях пассажиров по автобусу. Установка задних колес попарно в одну колею у каждого борта позволяет получить дополнительные точки опоры в пределах длины автобуса и сохранить необходимые продольный радиус проходимости и задний угол съезда при небольшом дорожном просвете, обусловленном низким уровнем пола кузова.
Однако использование мостов в виде изогнутых балок, связывающих между собой пары задних колес правого и левого бортов, требует наличия четырех упругих и демпфирующих элементов, размещаемых вертикально между мостом и кузовом вблизи колес в пространстве ниши с соответствующим увеличением ширины последней. Это усугубляется тем, что низкий уровень пола кузова накладывает жесткие ограничения на высоту таких элементов, из-за чего приходится увеличивать их поперечные размеры, а это вызывает дополнительный рост габаритов колесных ниш и, как следствие, сокращение площади пассажирского салона с низким уровнем пола.
Изобретение решает задачу упрощения задней подвески благодаря использованию для пары колес одной колеи по одному элементу упругости и демпфирования с исключением их вертикальной ориентации и размещения под полом кузова.
Указанная цель достигается тем, что в низкопольном автобусе, имеющем привод передних колес, упруго-демпферные элементы, и у которого задние колеса расположены попарно тандемом в одну колею, согласно изобретению задние колеса установлены на индивидуальных осях, каждая из которых закреплена на конце одного из плеч треугольного рычага с осью поворота, общей для аналогичного рычага колеса другого борта, закрепленной в основании кузова между колесами одного борта ниже их осей, а упруго-демпферный элемент для каждой пары колес одного борта размещен в их колее продольно в верхней части кузовной ниши для колес и соединяет концы вторых плеч треугольных рычагов.
Благодаря индивидуальным для каждого из задних колес продольным рычагам подвески исключается связь колес обоих бортов балками мостов, что дает возможность сделать подвеску колес справа и слева независимой, а расположение осей поворота рычагов подвески ниже осей колес позволяет выполнить на низком уровне пол пассажирского салона в пространстве между кузовными нишами задних колес.
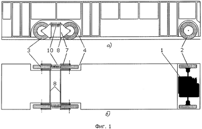
Сущность изобретения поясняется чертежами, где на фиг.1 дан общий вид автобуса: а) сбоку и б) сверху; на фиг.2 – элементы задней подвески одного борта: а) сбоку и б) сверху.
Автобус содержит силовой агрегат 1 с приводом передних колес 2, четыре одинарных задних колеса 3, расположенные попарно в одну колею в кузовной нише 4. Каждое заднее колесо установлено на подшипниках 5 оси 6, закрепленной на конце одного из плеч треугольного рычага 7 с общей для такого же рычага другого борта осью поворота 8, расположенной ниже оси 6 заднего колеса на величину h. Концы вторых плеч пары рычагов 7 одного борта через шарниры 9 связаны упруго-демпферным элементом 10.
Работа задней подвески при движении автобуса происходит следующим образом.
Вертикальная составляющая перемещения колеса 3 при переезде дорожной неровности вместе с осью 6, жестко связанной с плечом треугольного рычага 7, вызывает поворот последнего вокруг оси 8. В результате изменяется расстояние между другим плечом рычага и аналогичным плечом рычага другого заднего колеса того же борта, которые с помощью шарниров 9 соединены между собой упруго-демпферным элементом 10, за счет деформации которого гасится передача на кузов динамических нагрузок, действующих на колеса от поверхности дороги.
Установка осей поворота рычагов подвески 8 в нижней части основания кузова в пространстве между близко расставленными по бортам задними колесами не мешает выполнить пол ровным на всей длине пассажирского салона, исключив ступени во всех дверных проемах и не ухудшив продольную проходимость автобуса. Коробчатая конструкция треугольного рычага 7 с охватом колеса 3 с двух сторон, связанных между собой осью 6, способствует повышению его поперечной жесткости и, соответственно, сокращению поперечных размеров, а вместе с ними и ширины ниши 4 в кузове для колес с элементами подвески.
Близкое к горизонтальному расположение упруго-демпферного элемента 10 вдоль кузовной ниши 4 в ее верхней части, где пространство между колесами в продольном направлении самое большое, позволяет разместить его в габаритах ниши в пределах высоты, обусловленной максимальным перемещением колес вверх. Упрощается конструкция подвески за счет уменьшения числа ее элементов, т.к. один упруго-демпферный элемент приходится на пару колес.
Таким образом, в предлагаемом автобусе элементы упругости и демпфирования задней подвески благодаря отказу от вертикальной ориентации выносятся из под пола пассажирского салона в пространство кузова, где в плане они расположены за пределами пассажирской зоны.
Формула изобретения
Низкопольный автобус, имеющий привод передних колес, упругодемпферные элементы и у которого задние колеса установлены попарно тандемом в одну колею, отличающийся тем, что задние колеса установлены на индивидуальных осях, каждая из которых закреплена на конце одного из плеч треугольного рычага с осью поворота, общей для аналогичного рычага колеса другого борта, закрепленной в основании кузова между колесами одного борта ниже их осей, а упругодемпферный элемент для каждой пары колес одного борта размещен в их колее вдоль верхней части кузовной ниши для колес и соединяет концы вторых плеч треугольных рычагов.
РИСУНКИ
MM4A – Досрочное прекращение действия патента СССР или патента Российской Федерации на изобретение из-за неуплаты в установленный срок пошлины за поддержание патента в силе
Дата прекращения действия патента: 11.04.2008
Извещение опубликовано: 20.05.2010 БИ: 14/2010
|
|