|
|
(21), (22) Заявка: 2005106243/11, 28.07.2003
(24) Дата начала отсчета срока действия патента:
28.07.2003
(30) Конвенционный приоритет:
06.08.2002 (пп.1-28) AT A1191/2002
(43) Дата публикации заявки: 27.08.2005
(46) Опубликовано: 27.04.2007
(56) Список документов, цитированных в отчете о поиске:
WO 02/18155 А2, 07.03.2002. WO 02/051646 A1, 04.07.2002. WO 01/53113 А1, 26.07.2001. RU 2000100326 А, 20.03.2004.
(85) Дата перевода заявки PCT на национальную фазу:
09.03.2005
(86) Заявка PCT:
EP 03/08327 (28.07.2003)
(87) Публикация PCT:
WO 2004/014663 (19.02.2004)
Адрес для переписки:
129010, Москва, ул. Б. Спасская, 25, стр.3, ООО “Юридическая фирма Городисский и Партнеры”, пат.пов. Ю.Д.Кузнецову, рег.№ 595
|
(72) Автор(ы):
КАСТНЕР Фридрих (AT), БЕРГСМАНН Мартин (AT), ВАЛЬТЕР Харальд (DE), БАУЭР Георг (AT), ДОМНИК Ральф (DE)
(73) Патентообладатель(и):
ХУЕК ФОЛИЕН ГЕЗ.М.Б.Х. (AT), НОВЕМБЕР АГ (DE)
|
(54) СПОСОБ СОЗДАНИЯ ЗАЩИЩЕННЫХ ОТ ПОДДЕЛКИ ИДЕНТИФИКАЦИОННЫХ ПРИЗНАКОВ
(57) Реферат:
Изобретение касается способа создания защищенных от подделки идентификационных признаков, которые имеют эффект изменения цвета, создаваемый металлическими кластерами, которые определенным прозрачным слоем отделены от зеркального слоя. Описывается способ создания защищенных от подделки идентификационных признаков, а также изготовленные по этому способу защищенные от подделки идентификационные признаки, включающие минимум один слой, отражающий электромагнитные волны, промежуточный слой и слой, образованный металлическими кластерами, при котором на подложку наносится частично или по всей поверхности слой, отражающий электромагнитные волны, и вслед за ним наносится частично и/или по всей поверхности один или несколько оптически прозрачных полимерных слоев) определенной толщины, после чего на этот промежуточный слой (слои) наносится слой, образованный металлическими кластерами, который изготавливается с помощью вакуумнотехнических способов или из систем на основе растворителей. Технический результат – создание защищенных от подделки идентификационных признаков на гибких материалах, при котором защита от подделки обеспечена за счет видимого изменения цвета при различных углах зрения (эффект наклона), которое также должно считываться и машиной. 4 н. и 24 з.п. ф-лы, 6 ил.
Изобретение касается способа создания защищенных от подделки идентификационных признаков, которые имеют эффект изменения цвета, создаваемый металлическими кластерами, которые определенным прозрачным слоем отделены от зеркального слоя.
Из WO 02/18155 известен способ защищенной от подделки маркировки предметов, при котором предмет снабжается маркировкой, состоящей из первого отражающего электромагнитные волны слоя, на который наносится инертный слой определенной толщины, пропускающий электромагнитные волны, после этого инертного слоя следует третий слой, образованный металлическими кластерами.
Задачей изобретения является разработка способа создания защищенных от подделки идентификационных признаков на гибких материалах, при котором защита от подделки обеспечена за счет видимого изменения цвета при различных углах зрения (эффект наклона), которое также должно считываться и машиной. Способ создания должен однозначно кодироваться в считываемом машиной спектре.
Предметом изобретения является способ создания защищенных от подделки идентификационных признаков, включающих минимум один отражающий электромагнитные волны слой, промежуточный слой и слой, образованный металлическими кластерами, при котором на подложку наносят частично или по всей поверхности один отражающий электромагнитные волны слой, а затем частично и/или по всей поверхности один или несколько полимерных слоев определенной толщины, после чего на промежуточный слой наносят слой, образованный металлическими кластерами, который получают с помощью вакуумной техники или с помощью систем на основе растворителей.
В качестве подложки может быть использована гибкая пленка из полимерных материалов, таких как, например, PI, PP, MOPP, PE, PPS, PEEK, PEK, PEI, PSU, PAEK, LCP, PEN, PBT, PET, PA, PA, PC, COC, POM, ABS, PVC. Подложка имеет толщину преимущественно в пределах 5-700 м, предпочтительно 8-200 м, особо предпочтительно 12-50 м.
Далее в качестве подложки может быть применена металлическая фольга из, например, Al-, Cu-, Sn-, Ni-, Fe- или высококачественной стали с толщиной в пределах 5-200 м, преимущественно от 10 до 80 м, особо предпочтительно 20-50 м. Фольга может иметь обработанную внешнюю поверхность, иметь покрытие, ламинирована, например, полимерными материалами или покрыта лаком.
Далее в качестве подложки может применяться содержащая целлюлозу или не содержащая ее бумага, термоактивируемая бумага или композиты, содержащие бумагу, например, композиты с полимерными материалами с весом единицы площади в пределах 20-500 г/м2, преимущественно 40-200 г/м2.
На подложку наносится слой, отражающий электромагнитные волны. Этот слой может состоять из металлов, преимущественно таких как: алюминий, золото, хром, серебро, медь, олово, платина, никель и их сплавы, например, никель/хром, медь/алюминий и тому подобные сплавы.
Слой, отражающий электромагнитные волны, может полностью или частично наноситься с помощью известных способов, таких как: распыление, осаждение из газовой фазы, ионное напыление, печать (глубокая, с использованием гибких пленок, трафаретная и цифровая печать), лакирование, накатывание и тому подобных способов.
Для частичного нанесения особо подходит способ с применением растворимых слоев краски для получения частичной металлизации. При этом на первом этапе на подложку наносится слой краски, растворимый в растворителе, на втором этапе в данном случае осуществляется обработка этого слоя с помощью плазмы, коронного разряда или пламенем и на третьем этапе наносится слой подлежащего структурированию металла и/или сплава металлов, после чего на четвертом этапе производится удаление слоя краски с помощью растворителя, при необходимости в комбинации с механическим воздействием.
Нанесение краски может осуществляться по всей поверхности или частично, нанесение металла или сплава металлов может производиться также по всей поверхности или частично.
Нанесение слоя краски может осуществляться любым способом, например, с помощью глубокой печати, с применением гибких пленок, трафаретной, цифровой печати и тому подобными способами. Применяемая краска и/или применяемый лак могут растворяться в растворителе, преимущественно в воде, но могут использоваться краски, растворимые в другом любом растворителе, например, в спирте, сложных эфирах и других. Краска и/или лак могут быть обычного состава на основе как натуральных, так и синтетических макромолекул. Растворимая краска может быть пигментирована или не пигментирована. В качестве пигментов могут применяться все известные пигменты. Особенно подходят TiO2, ZnS, каолин и другие.
Затем, при необходимости, подложка с нанесенным с помощью печати слоем подвергается обработке плазмой (плазма при низком или атмосферном давлении), коронным разрядом или пламенем. При обработке плазмой, например, Ar- или Ar/O2– плазмой поверхность очищается от остатков печатной краски.
Одновременно происходит активация поверхности. Одновременно на поверхности создаются полярные группы. Благодаря этому повышается сцепление металлов и других материалов с поверхностью.
В случае необходимости одновременно с применением плазменной, разрядной и/или пламенной обработкой, или после нее может наноситься в качестве средства сцепления тонкий слой металла или окиси металла, это может производиться методом ионного напыления или осаждения из газовой фазы. Особенно подходящими для этих целей являются: Cr, Al, Ag, Ti, Cu, TiO2, Si-оксиды или оксиды хрома. Этот слой для сцепления имеет в основном толщину от 0,1 до 5 нм, преимущественно 0,2-2 нм, предпочтительно от 0,2 до 1 нм.
Благодаря этому значительно повышается сцепление нанесенного частично или полностью слоя металла и/или сплава металлов, отражающего электромагнитные волны.
Частичный слой, отражающий электромагнитные волны, может быть получен также с помощью обычного, известного способа травления.
Толщина слоя, отражающего электромагнитные волны, составляет преимущественно около 10-50 нм, но возможна и большая и/или меньшая толщина этого слоя.
Если металлическая фольга используется в качестве подложки, то сама подложка может быть слоем, отражающим электромагнитные волны.
Преимущественно отражение электромагнитных волн такого слоя составляет в зависимости от толщины и/или от вида применяемой фольги от 10 до 100%.
Следующий за этим полимерный слой или слои могут наноситься как частично, так и по всей поверхности.
Полимерные слои состоят, например, из краски или лака на основе нитроцеллюлозы, эпокси-, полиэстер-, канифольных-, акрилат-, алкид-, меламин-, PVA-, PVC-, изоцианат – или уретановых соединений.
Этот полимерный слой служит, в основном, в качестве прозрачного промежуточного слоя, но может служить, в зависимости от состава, и для целей абсорбции в определенных областях спектра. В данном случае такие абсорбирующие свойства могут быть усилены за счет добавления соответствующих хромофоров. Путем подбора различных хромофоров может быть осуществлен выбор подходящей области спектра. Благодаря этому наряду с эффектом цветоизменения полимерный слой выполняется дополнительно с возможностью считывания с помощью машины. Так, например, в голубую область спектра (область в пределах 400 нм) может быть введено желтое AZO-красящее вещество, например, анилид, родурал, еозин. Кроме того, красящее вещество изменяет спектр маркировки характерным образом.
Этот полимерный слой может, в зависимости от качества адгезии с подложкой и/или с лежащим ниже в данном случае слоем, дать эффект появления несмачиваемых участков, что ведет к характерным, макроскопическим латеральным структурам.
Такие структуры могут быть целенаправленно изменены, например, с помощью модификации энергии поверхности слоев, например, путем обработки плазмой, коронарными разрядами, облучением электронами и ионами или обработкой лазером.
Далее возможно нанесение сцепляющего слоя с отличающейся поверхностной энергией на различных участках.
Полимерный слой имеет определенную толщину, преимущественно в пределах от 10 нм до 3 м, особо предпочтительно 100-1000 нм. Если наносится несколько полимерных слоев, они могут иметь различную толщину.
Полимерный слой может наноситься любым из способов, таких как: намазка, лакирование, литье, распыление, печать (глубокая, с помощью гибких пленок, трафаретная, цифровая) или методом накатки.
Преимущественно полимерный слой наносится способом, позволяющим получать однородную толщину слоя на большой поверхности. Такая однородная толщина слоя требуется, чтобы обеспечить равномерное проявление краски. Допуски составляют не более ±5%, преимущественно ±2%.
При этом особо благоприятным является способ печати, при котором краска или лак наносится из ванны, в которой регулируется температура лака, с помощью погружного цилиндра или вспомогательного валика на печатный валок, при этом краской или лаком заполняются в основном только углубления на печатном валке. С помощью ракеля производится удаление излишка краски или лака и затем, при необходимости, осуществляется сушка с помощью обдувки.
Далее на полимерный слой наносится слой, образованный металлическими кластерами. Металлические кластеры могут, например, состоять из алюминия, золота, палладия, платины, хрома, серебра, меди, никеля и подобных металлов или их сплавов, как, например, Au/Pd или Cr/Ni.
Этот слой кластеров может наноситься путем напыления (например, ионного напыления или в магнетроне), или испарения методом электронного напыления, из раствора или путем адсорбции.
При получении слоя кластеров в вакуумных процессах можно оказывать влияние, что дает преимущество, на рост кластера и таким образом на его форму, а также на оптические свойства путем регулирования поверхностной энергии или шероховатости лежащего ниже слоя. Это в значительной мере изменяет характеристику спектра. Это может быть осуществлено, например, с помощью термической обработки в процессе нанесения слоя или путем предварительного нагревания подложки.
Так можно, например, оказать влияние на форму и таким образом на оптические свойства кластера с помощью регулирования поверхностной энергии и/или коэффициента конденсации металла на лежащем ниже слое.
Эти параметры могут достигаться, например, путем обработки поверхности оксидирующими жидкостями, например, с Na-гипохлоритом или с помощью PVD или CVD-процесса (физического или химического осаждения из газовой фазы).
Кластерный слой может наноситься преимущественно с помощью ионного напыления. При этом производится регулирование свойств слоя, в частности толщины и структуры, регулировка осуществляется путем изменения рабочей толщины, применяемого количества газа и его состава, температуры подложки и скорости ионов.
При нанесении этого слоя из раствора с помощью жидкостного химического способа на первом этапе кластер изготавливается в растворе, затем осуществляется его деривация, повышение концентрации и непосредственное нанесение на полимерную поверхность.
Для нанесения с помощью печатного способа после повышения концентрации к кластеру подмешивается небольшое количество инертного полимера, например, ПВА, полиметилметакрилата, нитроцеллюлозы, полиэстера или полиуретана. Смесь затем может быть нанесена на полимерный слой с помощью печатного способа, например, трафаретной, с помощью гибких пленок или предпочтительно способом глубокой печати.
Толщина кластерного слоя составляет преимущественно 2-20 нм, особо предпочтительно 3-10 нм.
Дополнительно может наноситься защитный слой с помощью вакуумного или печатного способа.
В предпочтительном варианте осуществления полимерный слой целенаправленно структурируется путем модификации поверхностной энергии.
Структуры появляются потом при заключительном нанесении слоя кластера в виде очень контрастного цветового эффекта, благодаря которому они легко различимы для глаза. Таким образом, благодаря такому структурированию создается дополнительный защищенный от подделки признак.
Далее это структурирование может быть с помощью алгоритмов отпечатков пальцев преобразовано в однозначный код, который потом может быть считан машиной. Благодаря такому структурированию может быть придано определенное численное значение, таким образом может быть индивидуализирована маркировка с одинаковыми параметрами изготовления, т.е. с одинаковым цветовым эффектом.
Для применения, в частности, в качестве защитного признака, могут отдельные комбинации слоев наноситься на раздельные подложки. Так могут отражающий электромагнитные волны слой и полимерный промежуточный слой наноситься на первую подложку, которая, например, нанесена на ценный документ или на этот документ. На другую подложку может быть нанесен затем кластерный слой, который при необходимости снабжен клеящим слоем. С помощью соединения обеих подложек с покрытием появляется затем по принципу ключ/замок характерный цветовой эффект.
Подложка может иметь также один или несколько функциональных и/или декоративных слоев.
В качестве таких красочных и/или лаковых слоев могут использоваться самые различные составы. Состав отдельных слоев может варьироваться в зависимости от их задачи, служат ли отдельные слои исключительно декоративным целям или должны быть функциональными слоями, или должны быть как декоративными, так и другими функциональными слоями.
Слои, которые предусматривается наносить с помощью печати, могут быть пигментированы или не содержать пигмент. В качестве пигментов могут применяться все известные пигменты, такие как, например, окись титана, сульфид цинка, каолин, ATO, FTO, ITO, алюминий, оксиды хрома и кремния, а также красящие пигменты. При этом возможно применение лаковых систем, содержащих растворители, а также системы без растворителя.
В качестве вяжущего средства могут быть использованы натуральные и синтетические вяжущие средства.
Функциональные слои могут иметь, например, определенные электрические, магнитные, специальные химические, физические, а также оптические свойства.
Для регулирования электрических свойств, в частности проводимости, могут быть добавлены, например, графит, сажа, проводящие органические и неорганические полимеры, пигменты, содержащие металлы (например, медь, алюминий, серебро, золото, железо, хром, свинец и т.п.), сплавы металлов, такие как медь-цинк или медь-алюминий и их сульфиды или окислы, а также аморфные или кристаллические керамические пигменты как ITO и подобные этому. Далее могут применяться в качестве добавки легированные или нелегированные полупроводники, такие как, например, кремний, германий или проводники ионов, такие как аморфные или кристаллические оксиды металлов или их сульфиды. Далее для регулирования электрических свойств слоя могут применяться или добавляться полярные или частично полярные соединения, такие как поверхностно-активные вещества или неполярные соединения, такие как силиконовые аддитивы или гигроскопические или негигроскопические соли.
Для регулирования магнитных свойств могут применяться парамагнитные, диамагнитные, а также ферромагнитные вещества, такие как железо, никель, кобальт и их соединения или соли (например, оксиды или сульфиды).
На оптические свойства может быть оказано влияние с помощью различимых красящих веществ или пигментов, люминисцирующих красящих веществ и/или пигментов, которые флюоресцируют или фосфоресцируют в ультрафиолетовой или инфракрасной области, эффективных пигментов, таких как жидкие кристаллы, жемчужный блеск, бронза и/или красок, чувствительных к температуре. Они могут использоваться в любых возможных комбинациях. Дополнительно могут быть добавлены и фосфоресцирующие пигменты как самостоятельно, так и в комбинации с другими красящими веществами и/или пигментами.
Различные свойства могут также комбинироваться с помощью добавления различных названных выше добавок. Так имеется возможность применения окрашенных и/или проводящих магнитных пигментов. При этом могут быть применены все названные проводящие добавки.
Специально для окрашивания магнитных пигментов могут применяться все известные растворимые и нерастворимые красящие вещества или пигменты. Так, например, может коричневая магнитная краска путем добавки металла получить металлический, например, серебристый оттенок.
Далее могут быть нанесены, например, изолирующие слои. В качестве изоляторов подходят, например, органические вещества или их производные и соединения, например, системы красок и лаков, такие как эпокси-, полиэстер-, канифоль-, акрилат-, алкид-, меламин-, PVA-, PVC-, изоцианат- и уретановые системы, которые могут быть отверждены под воздействием облучения, например, с помощью теплового или ультрафиолетового облучения.
Эти слои могут наноситься с помощью известных способов, например, путем осаждения из газовой фазы, ионного напыления, печати (например, глубокой, с помощью гибких пленок, трафаретной и цифровой печати), распыления, гальванизации, методом накатывания валками и другими способами. Толщина функциональных слоев составляет от 0,001 до 50 м, преимущественно от 0,1 до 20 м.
С помощью однократного или многократного повторения одного или нескольких описанных этапов реализации способа может быть получена многослойная конструкция, которая будет в нанесенных друг на друга слоях иметь различные свойства. При этом имеется возможность получения с помощью комбинации различных свойств отдельных слоев, например, слоев с различной проводимостью, способностью к намагничиванию, различными оптическими свойствами, различной абсорбционной способностью и тому подобными, конструкции, например, для защитных элементов с многими точными признаками, удостоверяющими подлинность.
Слои могут, в зависимости от обстоятельств, существовать и/или наноситься на подложку частично или по всей поверхности.
При этом этапы реализации способа могут повторяться как угодно часто, при этом, например, при нанесении функционального слоя по всей поверхности нанесение краски в данном случае может не применяться.
Однако в известных способах, например прямой металлизации или при металлизации с травлением частичных металлических слоев, и/или, например, в способах многокрасочной печати могут также наноситься другие слои.
При необходимости таким образом изготовленная многослойная пленка может быть покрыта дополнительно защитным слоем лака или дополнительно облагорожена, например, с помощью ламинирования или другим способом.
В данном случае продукт может наноситься с помощью термосваривающегося клея, например, клея, сваривающегося в холодном или горячем состоянии, на соответствующие несущие материалы или, например, при изготовлении бумаги для требующих защиты ценных бумаг заделываются в них с помощью обычных способов.
Такие клеи могут быть снабжены различимыми, или видимыми в ультрафиолетовом свете, флюоресцирующими, фосфоресцирующими или поглощающими лазерное и инфракрасное излучение признаками, которые повышают защиту от подделок. Такие признаки могут иметь форму узора или знаков, или иметь цветовой эффект, причем в принципе при любом количестве цветов, преимущественно от 1 до 10 цветов или их сочетаний.
Подложка при одностороннем покрытии после применения может быть удалена или оставлена на продукте. При этом в данном случае подложка на стороне, где отсутствует покрытие, может быть выполнена особым образом, в частности, быть устойчивой к царапанью, обработана антистатиком и тому подобное. Это же относится к возможному слою лака на подложке.
Далее структура слоев может быть выполнена как переводная или как не переводная, при необходимости она может быть снабжена слоем переводного лака, который может иметь дифракционную, например, голограммную структуру.
Структура, предложенная в изобретении, может быть нанесена на несущий материал в обратном порядке, при этом на подложку наносится слой, образованный металлическими кластерами, который изготавливается с помощью вакуумной техники или с использованием систем на основе растворителей, а после этого слоя наносится один или несколько частичных и/или по всей поверхности полимерных слоев определенной толщины и затем на промежуточный слой наносится частично или по всей поверхности слой, отражающий электромагнитные волны.
На фиг.1-6 представлены примеры признаков защиты, соответствующих изобретению.
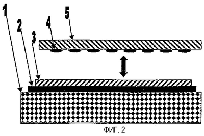
На фигурах позиции обозначают: 1 – подложка, 2 – первый слой, отражающий электромагнитные волны, 3 – прозрачный слой, 4 – слой, состоящий из металлических кластеров, 5 – оптически прозрачная подложка, 6 – клеевой или ламинирующий слой.
На фиг.1 представлено схематическое изображение поперечного сечения первой постоянно видимой маркировки на подложке.
На фиг.2 представлено схематическое изображение поперечного сечения не постоянно видимой первой маркировки на подложке, а также второй подложки, подходящей для подтверждения или для визуального выявления.
На фиг.3 представлено схематическое изображение поперечного сечения постоянно видимой первой ламинируемой или приклеиваемой маркировки.
На фиг.4 представлено схематическое изображение поперечного сечения другой постоянно видимой второй ламинируемой или приклеиваемой маркировки.
На фиг.5 представлено схематическое изображение поперечного сечения не постоянно видимой первой приклеиваемой или ламинируемой маркировки, а также второй подложки, подходящей для доказательства или для визуального выявления.
На фиг.6 – в увеличенном масштабе непрерывная маркированная подложка с покрытием для защиты от подделки, частично намотанная на ролик.
На показанных на фиг.1-5 маркировках первый слой, отражающий электромагнитные волны, обозначен позицией (2). Здесь может идти речь о тонком слое, например, из алюминия. Первый слой (2) может также быть представлен слоем, образованным металлическими кластерами, который нанесен на носитель (1). В части носителя (1) речь может идти о подлежащей маркировке подложке. Инертный промежуточный слой обозначен позицией (3). Металлические кластеры (4) целесообразным образом изготовлены, например, из меди.
На фиг.3-5 позицией (6) обозначен слой клея или материала для ламинирования, предусмотренный для дальнейшей обработки защищенной от подделки маркированной подложки.
Изменение отраженного света, реализующееся в характерном цветовом спектре, по сравнению с падающим светом, показано в этих фигурах с помощью заштрихованной серым стрелки.
В маркировках, показанных на фиг.1 и 3, на второй слой (3) нанесен третий слой (4), изготовленный из металлических кластеров. Второй слой (3) нанесен при этом на зеркальный слой (2). Далее на фиг.1 и 3 зеркальный слой нанесен на подложку.
На фиг.4 на подложку (1) первоначально наносится третий слой (4), образованный металлическими кластерами, потом второй слой (3), затем зеркальный слой (2) и в конце слой (6) клея или ламинирующего вещества.
В показанных на фиг.2 и 5 маркировках на подложку (1) наносится первый слой (2), отражающий электромагнитные волны, а на него наносится только второй выполненный оптически прозрачным слой (3). Первоначально маркировка не различима. Маркировки становятся различимы только тогда, когда они вступают в контакт с подложкой (5), на чьей поверхности нанесен образованный металлическими кластерами третий слой (4). В этом случае снова возникает цветовой эффект, который можно наблюдать через подложку (5). Подложку (5) целесообразно изготавливать из прозрачных синтетических материалов, таких как: полиэтилентерефталат, поликарбонат, полиуретан, полиэтилен, полипропилен, полиакрилат, поливинилхлорид, полиэпоксид.
Функции маркировки состоят в следующем.
При облучении светом из источников света, таких как: лампа накаливания, лазер, люминисцентная лампа, галогенная лампа, ксеноновая лампа, на маркировках, показанных на фиг.1, 3 и 4, этот свет отражается от первого слоя (1). При взаимодействии отраженного света с третьим слоем (4), образованным металлическими кластерами, часть направленного света абсорбируется. Отраженный свет имеет зависящий от многих параметров, например, от оптических констант структуры слоев, характерный спектр. Маркировка проявляется в цвете. Окраска служит доказательством отсутствия подделки и подлинности маркировки. Полученная глубина цвета зависима от угла зрения и может идентифицироваться как с помощью невооруженного глаза, так и с помощью считывающего прибора, работающего в режиме отражения, преимущественно с помощью спектрального фотометра. Такой фотометр может исследовать, например, окраску поверхности с двух различных углов. Это осуществляется или с помощью детектора с применением двух соответственно подключенных источников света, и при этом детектор устанавливается под разными углами, или с помощью двух фотометров измеряются образцы, освещенные из двух различных углов, из обоих соответствующих углов.
Относительно параметров, получаемых при изменении воздействия, имеются ссылки на US 5611998, WO 98/48275, WO 99/47702 и WO 02/181155, чей объем раскрытия здесь приобщается.
Носители, изготовленные с покрытием в соответствии с изобретением, могут применяться в качестве защитных признаков в носителях информации, ценных документах, лейблах, этикетках, на упаковках, текстильных изделиях и т.д.
ПРИМЕРЫ
Пример 1
Изготовление кластерного слоя с помощью жидкостного химического способа:
а) Синтез кластеров из 14 нм золота
100 мл дистиллированной воды нагреваются в колбе емкостью 250 мл до кипения. При сильном помешивании сначала в воду добавляют 4 мл 1% тринатрийцитрата, и затем 1 мл 1% тетрахлорозолотой кислоты. В течение 5 мин происходит изменение цвета исходной смеси, бывшей до тех пор почти бесцветной, через темно-фиолетовый в вишнево-красный. После этого подвод тепла прекращают и смесь дальше перемешивают около 10 мин. Анализ полученного золя с помощью трансмиссионного электронного микроскопа показывает наличие сферических частиц средним диаметром 14 нм. Распределение величины кластеров узкое (ковариация<20%). Максимум длины волны оптической абсорбции приходится на 518 нм.
b) Дериватизация золота кластера:
К 100 мл золи золота, синтезированной вышеуказанным способом, при сильном помешивании добавляют 1 мл 1% раствора BSA (Bovines Serum Albumin) в дистиллированной воде. Раствор окрашивается сначала в легкий вишнево-красный цвет, а затем становится темно-красным. Максимум оптической абсорбции сохраняется постоянным. Абсорбция в области длины волны увеличивается от 550 нм и выше. В трансмиссионный электронный микроскоп можно видеть определенное расстояние между частицами.
с) Нанесение кластеров из золота на поверхность из нитроцеллюлозы:
Золь (почти нейтральное рН, вряд ли соль) взбивается при добавлении 5 мл 1 М раствора карбоната натрия (рН 9,6). Только достаточно защищенные кластеры остаются в растворе и не осаждаются. Концентрация золя может быть повышена с помощью центрифугирования или золь связывается сразу же после нанесения на поверхность, покрытую слоем нитроцеллюлозы. При соответствующем выборе толщины слоя нитроцеллюлозы после высыхания избыточной воды достигается прочное окрашивание поверхности.
Пример 2
Изготовление кластерного слоя с помощью печати
К золю после повышения концентрации до фактора 10 добавляется небольшое количество (например, 5%) нейтрального полимера (например, ПВА). Благодаря этому появляется возможность выдавливания с помощью обычного цилиндра машины глубокой печати. Коллоид высыхает, имея случайную ориентировку с полимером, очень тонким слоем. Можно наблюдать (как в примере 1) характерное окрашивание.
Пример 3
Изготовление кластерного слоя с использованием вакуумнотехнического способа
В условиях высокого вакуума (базовое давление р<1×10-3 мбар) на имеющую форму рулона подложку, уже снабженную зеркальным слоем и слоем нитроцеллюлозы, в качестве прозрачного промежуточного слоя, методом ионного напыления наносится слой меди толщиной 4 нм.
Напыление осуществляется с помощью магнетронного источника плазмы мощностью 20 Вт/см2 при температуре 25°С с применением аргона с парциальным давлением 5×10-3 мбар в качестве рабочего газа. Скорость движения рулона составляет 0,5 м/c. При этих условиях слой меди показывает выраженный рост в виде островков. Островки со средним диаметром от нескольких нм соответствуют кластерам, полученным жидкостно-химическим способом.
Можно отчетливо наблюдать другие характерные цветовые спектры.
Формула изобретения
1. Способ создания защищенных от подделки идентификационных признаков, включающих минимум один слой (2), отражающий электромагнитные волны, промежуточный слой (3), выполненный оптически прозрачным и слой, образованный металлическими кластерами (4), в котором на подложку (1) наносят частично или по всей поверхности слой (2), отражающий электромагнитные волны, на этот отражающий электромагнитные волны слой (2) частично и/или по всей поверхности наносят инертный оптически прозрачный промежуточный слой (3), и на этот выполненный оптически прозрачным промежуточный слой (3) наносят слой, образованный металлическими кластерами (4), отличающийся тем, что наносят слой, образованный металлическими кластерами (4), полученный с помощью вакуумно-технического способа или систем на основе растворителей, и оптически прозрачный промежуточный слой (3) выполнен из по меньшей мере одного полимерного слоя определенной толщины.
2. Способ по п.1, отличающийся тем, что на первую подложку наносят слой, отражающий электромагнитные волны, а вслед за ним полимерный промежуточный слой, а на вторую подложку-кластерный слой, при этом только при соединении обеих таким образом покрытых подложек защищенный от подделки идентификационный признак образуется и/или может быть подтвержден.
3. Способ по п.1, отличающийся тем, что на кластерный слой наносят защитный слой.
4. Способ по п.1, отличающийся тем, что слой, на который наносят промежуточный слой, модифицируют путем обработки оксидирующими жидкостями или путем применения PVD- или CVD-процесса.
5. Способ по п.1, отличающийся тем, что полимерный промежуточный слой подвергают структурированию с использованием эффекта образования несмачиваемых участков.
6. Способ по п.5, отличающийся тем, что структуры несмачиваемых участков структурированного полимерного промежуточного слоя с помощью алгоритма отпечатков пальцев переведены в однозначный код.
7. Способ по п.1, отличающийся тем, что полимерный промежуточный слой модифицируют путем обработки Na-гипохлоритом, с помощью PVD- или CVD-процесса,
8. Способ по п.1, отличающийся тем, что полимерный промежуточный слой содержит хромофор.
9. Способ по п.1, отличающийся тем, что металлический кластерный слой осаждают с помощью напыления или осаждения из газовой фазы.
10. Способ по п.1, отличающийся тем, что металлический кластерный слой осаждают с использованием магнетрона или методов электронного или ионного напыления.
11. Способ по п.1, отличающийся тем, что металлический кластерный слой осаждают с помощью жидкостно-химического способа или с использованием печатной техники.
12. Способ по п.1, отличающийся тем, что на подложке или на подложках имеются другие функциональные и/или декоративные слои.
13. Способ по п.1, отличающийся тем, что подложка или подложки снабжена(ы) термосваривающимся лаком.
14. Способ создания защищенных от подделки идентификационных признаков, включающих минимум один слой, отражающий электромагнитные волны, промежуточный слой и слой, образованный металлическими кластерами, при котором на подложку наносят слой, образованный металлическими кластерами, который получают с помощью вакуумно-технических способов или систем на основе растворителей, и вслед за ним частично и/или по всей поверхности один или несколько полимерных слоев определенной толщины, после чего на промежуточный слой частично или по всей поверхности наносят слой, отражающий электромагнитные волны.
15. Способ по п.14, отличающийся тем, что на первую подложку наносят слой, отражающий электромагнитные волны, а вслед за ним полимерный промежуточный слой, а на вторую подложку – кластерный слой, при этом только при соединении обеих таким образом покрытых подложек защищенный от подделки идентификационный признак образуется и/или может быть подтвержден.
16. Способ по п.14, отличающийся тем, что на кластерный слой наносят защитный слой.
17. Способ по п.14, отличающийся тем, что слой, на который наносят промежуточный слой, модифицируют путем обработки оксидирующими жидкостями или путем применения PVD- или CVD-процесса.
18. Способ по п.14, отличающийся тем, что полимерный промежуточный слой подвергают структурированию с использованием эффекта образования несмачиваемых участков.
19. Способ по п.18, отличающийся тем, что структуры несмачиваемых участков структурированного полимерного промежуточного слоя с помощью алгоритма отпечатков пальцев переведены в однозначный код.
20. Способ по п.14, отличающийся тем, что полимерный промежуточный слой модифицируют путем обработки Na-гипохлоритом, с помощью PVD-или CVD-процесса.
21. Способ по п.14, отличающийся тем, что полимерный промежуточный слой содержит хромофор.
22. Способ по п.14, отличающийся тем, что металлический кластерный слой осаждают с помощью напыления или осаждения из газовой фазы.
23. Способ по п.14, отличающийся тем, что металлический кластерный слой осаждают с использованием магнетрона или методов электронного или ионного напыления.
24. Способ по п.14, отличающийся тем, что металлический кластерный слой осаждают с помощью жидкостно-химического способа или с использованием печатной техники.
25. Способ по п.14, отличающийся тем, что на подложке или на подложках имеются другие функциональные и/или декоративные слои.
26. Способ по п.14, отличающийся тем, что подложка или подложки снабжена(ы) термосваривающимся лаком.
27. Защитные признаки, изготовленные способом в соответствии с пп.1-26 формулы изобретения.
28. Применение защитных признаков по п.27 в носителях информации, ценных документах, упаковках, лейблах, этикетках, на печатях и тому подобном.
РИСУНКИ
|
|