|
|
(21), (22) Заявка: 2005128643/02, 15.09.2005
(24) Дата начала отсчета срока действия патента:
15.09.2005
(46) Опубликовано: 27.04.2007
(56) Список документов, цитированных в отчете о поиске:
US 3211027 A, 12.10.1965. RU 2000106851, 27.11.2001. RU 2172653 C1, 27.08.2001. RU 2212964 C2, 27.09.2003. RU 2220795 C1, 10.01.2004. US 5561998 A, 08.10.1996.
Адрес для переписки:
105037, Москва, ул. 3-я Прядильная, 11, кв.5, В.А.Мироненко
|
(72) Автор(ы):
Мироненко Владислав Архипович (RU), Шубин Игорь Александрович (RU)
(73) Патентообладатель(и):
Мироненко Владислав Архипович (RU), Шубин Игорь Александрович (RU)
|
(54) РАБОЧАЯ КЛЕТЬ СТАНА ХОЛОДНОЙ ПРОКАТКИ ТРУБ
(57) Реферат:
Изобретение относится к области трубопрокатного производства и касается усовершенствования рабочей клети стана холодной прокатки труб. Рабочая клеть стана холодной прокатки содержит подвижную силовую станину с опорными рельсами и подвижную кассету, состоящую из корпуса, рабочих валков с подшипниковыми опорами в подушках и средства для осевой настройки валков. Подушки подшипниковых опор хотя бы одного рабочего валка снабжены хвостовиками, неподвижно соединенными между собой стяжкой, установленной в корпусе кассеты с возможностью вращения и продольного перемещения и имеющей на боковых поверхностях с двух сторон вырезы с клиновыми скосами, взаимодействующими со средством осевой настройки валков, выполненным в виде клиньев, расположенных между скосами на стяжке и стенкой корпуса кассеты. Изобретение обеспечивает повышение производительности и быстроходности стана за счет снижения динамических нагрузок путем уменьшения веса подвижной кассеты. 2 ил.
Изобретение относится к трубопрокатному производству и касается усовершенствования рабочей клети стана холодной прокатки труб.
Известна рабочая клеть стана холодной прокатки труб (см. а.с. №223025, кл. 7а, 16/01), содержащая силовую станину с опорными рельсами и подвижную кассету, в станине которой на осях установлены корпусы с рабочими и опорными валками.
Недостаток известной конструкции заключается в том, что наличие корпусов с рабочими и опорными валками существенно увеличивает массу подвижной каретки. Увеличение подвижных масс рабочей клети приводит к необходимости снижения быстроходности, то есть снижению производительности стана.
Из известных клетей станов холодной прокатки труб наиболее близкой по технической сущности является рабочая клеть, описанная в патенте США №3211027, кл. 72-208, 1965 г. Известная рабочая клеть стана холодной прокатки труб содержит силовую станину с опорными рельсами и подвижную кассету, состоящую из корпуса и рабочих валков с подшипниковыми опорами в подушках и средствами для осевой настройки валков.
Недостаток известной конструкции заключается в том, что для установки подушек подшипниковых опор рабочих валков в корпусе кассеты выполнены окна, образованные двумя вертикальными стойками и горизонтальными перемычками. Такое исполнение кассеты увеличивает ее массу. Увеличение подвижных масс рабочей клети приводит к необходимости снижения быстроходности, то есть снижению производительности стана.
Задача настоящего изобретения состоит в создании рабочей клети стана холодной прокатки труб, обеспечивающей повышение быстроходности и увеличение производительности стана.
Поставленная задача достигается тем, что в рабочей клети стана холодной прокатки, содержащей подвижную силовую станину с опорными рельсами и подвижную кассету, состоящую из корпуса и рабочих валков с подшипниковыми опорами в подушках и средство для осевой настройки валков, согласно изобретению подушки подшипниковых опор хотя бы одного рабочего валка снабжены хвостовиками, неподвижно соединенными между собой стяжкой, установленной в корпусе кассеты с возможностью вращения и продольного перемещения и имеющей на боковых поверхностях с двух сторон вырезы с клиновыми скосами, взаимодействующими со средством осевой настройки валков, выполненного в виде клиньев, расположенных между скосами на стяжке и стенкой корпуса кассеты.
Такое выполнение рабочей клети стана холодной прокатки труб позволяет уменьшить массу корпуса кассеты и за счет этого повысить быстроходность и производительность стана.
Для пояснения изобретения ниже приводится конкретный пример выполнения изобретения со ссылкой на прилагаемые чертежи, в которых:
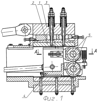
на фиг.1 изображена рабочая клеть стана холодной прокатки труб, продольный разрез по линии прокатки;
на фиг.2 – то же, разрез А-А на фиг.1.
Рабочая клеть стана холодной прокатки труб содержит подвижную силовую станину 1 с опорными рельсами 2 и подвижную кассету 3, состоящую из корпуса 4, рабочих валков 5, подшипников 6, подушек 7 и 8, стяжки 9, гаек 10, клиньев 11 и 12, винтов 13 и 14. Подушки 7 и 8 имеют хвостовики 15 и 16 с отверстиями под установку стяжки 9.
После установки стяжки 9 в отверстия корпуса 4 кассеты 3 хвостовики 15 и 16 подушек 7 и 8 устанавливаются на ее концевые шейки и закрепляются с помощью гаек 10. Стяжка 9 устанавливается в корпусе 4 с возможностью вращения и продольного перемещения. В средней части стяжки 9 на ее боковых поверхностях с двух сторон выполнены вырезы с клиновыми скосами “Б” и “В”, направленными навстречу друг другу.
Между скосом “Б” и корпусом 4 установлен вилкообразный клин 11. Между скосом “В” и корпусом 4 установлен вилкообразный клин 12. Клинья 11 и 12 соединены со стяжкой 9 с помощью винтов 13 и 14, ввернутых в резьбовые отверстия в стяжке 9.
В процессе работы стана кассета 3 перемещается по станине 1, валки 5, перекатываясь по опорным рельсам 2, осуществляют деформацию трубы.
Для получения качественного проката необходима настройка положения валков 5 относительно друг друга и линии прокатки. С этой целью стяжка 9 с закрепленными на ней подушками 7 и 8 и валком 5 на подшипниках 6, смонтированных в этих подушках, перемещается в поперечном направлении с помощью клиньев 11 и 12. При этом один из клиньев, к примеру, 11 с помощью винта 13 перемещается в направлении от оси стяжки 9 до тех пор, пока между клином 11 и скосом “Б” не образуется зазор, величина которого не меньше, чем требуемая величина перемещения валка 5 до совпадения его ручья с линией прокатки.
После этого клин 12 с помощью винта 14 перемещается в направлении, противоположном перемещению клина 11, и перемещает стяжку 9 до тех пор, пока ручей валка 5 не совпадет с линией прокатки. Затем клин 11 перемещается с помощью винта 13 до контакта со скосом “Б”.
Выполнение рабочей клети описанным образом позволяет уменьшить вес корпуса кассеты, снизить, таким образом, динамические нагрузки, возникающие при перемещении кассеты, и повысить за счет этого быстроходность и производительность стана.
Формула изобретения
Рабочая клеть стана холодной прокатки труб, содержащая подвижную силовую станину с опорными рельсами и подвижную кассету, состоящую из корпуса, рабочих валков с подшипниковыми опорами в подушках и средство для осевой настройки валков, отличающаяся тем, что подушки подшипниковых опор, по крайней мере, одного рабочего валка выполнены с хвостовиками, неподвижно соединенными между собой стяжкой, установленной в корпусе кассеты с возможностью вращения и продольного перемещения, и имеющей на боковых поверхностях с двух сторон вырезы с клиновыми скосами, взаимодействующими со средством осевой настройки валков, выполненным в виде клиньев, расположенных между скосами на стяжке и стенкой корпуса кассеты.
РИСУНКИ
|
|