|
|
(21), (22) Заявка: 2005131125/12, 10.10.2005
(24) Дата начала отсчета срока действия патента:
10.10.2005
(46) Опубликовано: 27.04.2007
(56) Список документов, цитированных в отчете о поиске:
RU 2149069 C1, 20.05.2000. RU 2207922 C2, 10.07.2003. RU 2229350 C2, 27.11.2003.
Адрес для переписки:
450000, г.Уфа, ул. К. Маркса, 12, корп.5, к.211, ООО ХТЦ УАИ, Е.Б. Волковой
|
(72) Автор(ы):
Акульшин Михаил Дмитриевич (RU), Хасанов Ильфат Фаритович (RU), Шолом Владимир Юрьевич (RU), Струговец Сергей Анатольевич (RU), Фазлетдинов Кадурий Абдрахимович (RU)
(73) Патентообладатель(и):
Общество с ограниченной ответственностью ХОЗРАСЧЕТНЫЙ ТВОРЧЕСКИЙ ЦЕНТР УФИМСКОГО АВИАЦИОННОГО ИНСТИТУТА (RU)
|
(54) УСТАНОВКА ДЛЯ ОЧИСТКИ ПОЛОСТИ ТРУБОПРОВОДОВ
(57) Реферат:
Изобретение относится к области машиностроения и может быть использовано в строительстве и ремонте магистральных трубопроводов. Установка содержит авиационный газотурбинный двигатель с введенными за его компрессором патрубками отбора воздуха, сообщенными с коллектором сбора воздуха, к выходу которого через первую запорно-регулирующую арматуру подключено устройство для впрыска воды в воздух с рукавом, а выход устройства для впрыска воды в воздух сообщен через гибкий металлорукав с обратным клапаном, перед которым установлен измеритель температуры паровоздушной смеси. При этом за обратным клапаном через боковой отвод присоединена вторая запорно-регулирующая арматура с патрубком сброса паровоздушной смеси, также за обратным клапаном установлена третья запорно-регулирующая арматура, выход которой сообщен с трубопроводом, и измеритель давления паровоздушной смеси, установленный на трубопроводе, в полости которого расположены очистные устройства. Патрубки отбора воздуха сообщены с коллектором сбора воздуха через гибкие металлорукава, компенсирующие линейные и угловые перемещения коллектора сбора воздуха относительно патрубков отбора воздуха, полость вторичного воздуха камеры сгорания непосредственно за компрессором авиационного газотурбинного двигателя сообщена с выходом коллектора сбора воздуха магистралью, включающей узел замера расхода воздуха, а рукав устройства впрыска воды в воздух сообщен с источником подачи воды через обогреваемый теплозащищенный узел переключения потока, включающий магистраль с основным нормально открытым краном, сообщающую рукав устройства впрыска воды в воздух с источником подачи воды, два отвода с нормально закрытыми кранами, сообщающие магистраль с патрубком сброса воды: первый – по направлению потока воды до основного крана, второй – после основного крана, два электромеханических привода: первый – для поворота кранов основного и первого отвода, второй – для поворота крана второго отвода. Изобретение обеспечивает расширение функциональных возможностей установки и защиту водной магистрали от замерзания в зимних условиях при прекращении подачи воды. 1 ил.
Изобретение относится к области машиностроения и может быть использовано в строительстве и ремонте магистральных трубопроводов.
Известно устройство для очистки труб, содержащее газотурбинный двигатель, патрубки отбора воздуха из компрессора двигателя, связанные с воздухосборником, к которому через входную запорно-регулирующую аппаратуру подключен модуль для впрыска воды в воздух, модуль измерения расхода воздуха, установленный между воздухосборником и модулем для впрыска воды в воздух, соединенный с воздухосборником металлорукавом, регулируемые заслонки, установленные на входе воздухосборника, соединенным с газотурбинным двигателем шлангами, причем воздухосборник имеет собственную раму, кроме того устройство содержит регулятор температуры паровоздушной смеси, включающий регулятор расхода воды, приемник температуры, исполнительный механизм, блок сравнения и задатчик температуры, при этом входные модули топливопитания газотурбинного двигателя и водоснабжения установки снабжены собственными насосами забора и подачи, расположенными параллельно линиям снабжения от посторонних источником подачи топлива и воды, и запорной арматурой переключения указанных линий снабжения (RU №2207922 С2, В08В 5/02 от 2001.09.10).
Известное устройство имеет ряд недостатков:
– нерациональным с точки зрения мобильности устройства в целом и минимизации габаритов вспомогательных отдельных узлов является способ измерения напрямую всего расхода воздуха.
Для стабилизации потока воздуха перед узлом замера расхода с целью достижения необходимой точности замера, следует, согласно общепринятым в технике правилам, установить перед узлом замера входной прямолинейный цилиндрический участок трубопровода длиной 50 Дтр, за узлом замера аналогичный выходной участок длиной 10 Дтр. При расходе воздуха 10-15 кг/сек, используемого для очистки полости трубопроводов в практике с помощью газотурбинных двигателей, общая длина модуля измерения расхода воздуха может достигать 12 м и более, что требует при монтаже и транспортировании устройства дополнительных трудозатрат.
Не решен вопрос защиты водных магистралей и агрегатов от замерзания в зимних условиях при прекращении подачи воды.
Известна установка для очистки полости трубопроводов, содержащая авиационный газотурбинный двигатель с введенными за компрессором двигателя патрубками отбора воздуха, связанными с коллектором сбора воздуха, к которому через первую запорно-регулирующую арматуру подключено устройство для впрыска воды в воздух с рукавом, а выход устройства связан гибким металлорукавом с обратным клапаном, перед которым установлен измеритель температуры паровоздушной смеси, при этом за обратным клапаном через боковой отвод присоединена вторая запорно-регулирующая арматура с патрубком сброса паровоздушной смеси, причем за обратным клапаном также установлена третья запорно-регулирующая арматура, выход которой соединен с трубопроводом, измеритель давления паровоздушной смеси установлен на трубопроводе, в полости которого расположены очистные устройства (патент RU №2149069 от 15.10.1998 г., В08В 9/02).
Известная установка имеет ряд недостатков:
– нет замера расхода воздуха, используемого для очистки полости трубопроводов;
– нет защиты водной магистрали, подводящей воду к устройству впрыска воды в воздух, от замерзания в зимних условиях при прекращении подачи воды.
Известная установка наиболее близка заявляемому изобретению по технической сущности и достигаемым техническим результатам.
Технической задачей изобретения является расширение функциональных возможностей установки за счет замера расхода воздуха, используемого для очистки полости трубопроводов, защиты водной магистрали от замерзания в зимних условиях при прекращении подачи воды.
Техническая задача по установке для очистки полости трубопроводов, содержащей авиационный газотурбинный двигатель с введенными за его компрессором патрубками отбора воздуха, сообщенными с коллектором сбора воздуха, к выходу которого через первую запорно-регулирующую арматуру подключено устройство для впрыска воды в воздух с рукавом, а выход устройства для впрыска воды в воздух сообщен через гибкий металлорукав с обратным клапаном, перед которым установлен измеритель температуры паровоздушной смеси, при этом за обратным клапаном через боковой отвод присоединена вторая запорно-регулирующая арматура с патрубком сброса паровоздушной смеси, причем за обратным клапаном также установлена третья запорно-регулирующая, выход которой сообщен с трубопроводом, измеритель давления паровоздушной смеси, установленный на трубопроводе, в полости которого расположены очистные устройства, решается согласно изобретению тем, что патрубки отбора воздуха сообщены с коллектором сбора воздуха через гибкие металлорукава, компенсирующие линейные и угловые перемещения коллектора сбора воздуха относительно патрубков отбора воздуха, полость вторичного воздуха камеры сгорания непосредственно за компрессором авиационного газотурбинного двигателя сообщена с выходом коллектора сбора воздуха магистралью, включающей узел замера расхода воздуха, а рукав устройства впрыска воды в воздух сообщен с источником подачи воды через обогреваемый теплозащищенный узел переключения потока, включающий магистраль с основным нормально открытым краном, сообщающую рукав устройства впрыска воды в воздух с источником подачи воды, два отвода с нормально закрытыми кранами, сообщающие магистраль с патрубком сброса воды: первый – по направлению потока воды до основного крана, второй – после основного крана; два электромеханических привода: первый – для поворота кранов основного и первого отвода, второй – для поворота крана второго отвода.
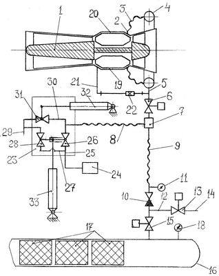
Изобретение поясняется чертежом, на котором представлена схема установки для очистки полости трубопроводов.
Установка содержит авиационный газотурбинный двигатель 1 с патрубками 2 отбора воздуха за его компрессором, сообщенные через гибкие металлорукава 3 с коллектором 4 сбора воздуха. К выходу 5 коллектора 4 сбора воздуха через первую запорно-регулирующую арматуру 6 подсоединено устройство 7 для впрыска воды в воздух с рукавом 8. Устройство 7 для впрыска воды в воздух сообщено через гибкий металлорукав 9 с обратным клапаном 10, перед которым установлен измеритель температуры 11 паровоздушной смеси. За обратным клапаном 10 через боковой отвод 12 присоединена вторая запорно-регулирующая арматура 13 с патрубком сброса паровоздушной смеси 14. Также за обратным клапаном 10 установлена третья запорно-регулирующая арматура 15, которая в свою очередь сообщена с трубопроводом 16, в полости которого расположены очистные устройства 17, а на самом трубопроводе 16 установлен измеритель давления паровоздушной смеси 18. Первая, вторая, третья запорно-регулирующая арматура 6, 13, 15 имеет электромеханический привод и дистанционное управление. Полость вторичного воздуха 19 камеры сгорания 20 непосредственно за компрессором авиационного газотурбинного двигателя 1 сообщена магистралью 21 с выходом 5 коллектора 6 сбора воздуха, которая включает узел замера расхода воздуха 22 минимального типоразмера из имеющегося в практике ряда узлов замера расхода воздуха. Рукав 8 через обогреваемый теплозащищенный узел переключения потока 23 сообщен с источником подачи воды 24. Узел переключения потока 23 включает магистраль 25 с основным нормально открытым краном 26, сообщающую источник подачи воды 24 с рукавом 8 устройства впрыска в воздух 7. Первый отвод 27 с нормально закрытым краном 28 сообщает магистраль 25 перед основным краном 26, по направлению потока, с патрубком сброса 29 воды. Второй отвод 30 с нормально закрытым краном 31 сообщает магистраль 25 после крана 26, по направлению потока, с патрубком сброса 29 воды. Узел переключения потока 23 включает также электромеханический привод 32 для поворота крана 31 второго отвода 30 и электромеханический привод 33 для одновременного поворота основного крана 26 и крана 28 первого отвода 27.
Установка работает следующим образом.
Перед запуском авиационного газотурбинного двигателя 1 первая запорно-регулирующая арматура 6 и третья запорно-регулирующая арматура 15 закрыты, а вторая запорно-регулирующая арматура 13 – открыта. После запуска и выхода на режим авиационного газотурбинного двигателя 1, открывают первую запорно-регулирующую арматуру 6 и воздух, сжатый в компрессоре авиационного газотурбинного двигателя 1, поступает по патрубкам отбора воздуха 2, через гибкие металлорукава 3 в коллектор сбора воздуха 4, из которого через выход 5 и далее через первую запорно-регулирующую арматуру 6 подается в устройство впрыска воды в воздух 7. Гибкие металлорукава 3 служат для компенсации линейных и угловых перемещений коллектора сбора воздуха 4 относительно патрубков отбора воздуха 2.
Количество воздуха регулируют первой запорно-регулирующей арматурой 6. В устройство для впрыска воды в воздух 7 из источника подачи воды 24 через узел переключения потока 23, конкретно по магистрали 25 с основным нормально открытым краном 26, подают необходимое количество воды по рукаву 8, которая под действием горячего воздуха превращается в пар. Паровоздушная смесь по гибкому металлорукаву 9 через обратный клапан 10 и открытую вторую запорно-регулирующую арматуру 13 и патрубок сброса паровоздушной смеси 14 сбрасывают в атмосферу. Третья запорно-регулирующая арматура 15 закрыта и паровоздушая смесь в трубопровод 16 не поступает. Требуемую температуру паровоздушной смеси, определяемую в основном условиями термостойкости изоляции трубопровода 16, достигают регулированием подачи воды и контролируют измерителем температуры паровоздушной смеси 11. При достижении необходимой температуры открывают третью запорно-регулирующую арматуру 15 с одновременным согласованным закрытием второй запорно-регулирующей арматуры 13 и паровоздушную смесь подают в трубопровод 16. Посредством давления паровоздушной смеси приводят в движение очистные устройства 17 по трубопроводу 16. При достижении необходимого давления, которое контролируют измерителем давления паровоздушной смеси 18 в трубопроводе 16, или по окончании очистки трубопровода 16, закрывают третью запорно-регулирующую арматуру 15 с одновременным согласованным открытием второй запорно-регулирующей арматуры 13.
После закрытия третьей запорно-регулирующей арматуры 15 узлом переключения потока 23 направляют поток воды из источника подачи воды 24 в патрубок сброса воды 29 и сбрасывают ее на рельеф, одновременно согласованно с этим прекращают подачу воды по рукаву 8 в устройство впрыска воды в воздух 7. Достигается это следующим образом: перекрывают основной кран 26 и одновременно согласованно открывают кран 28 первого отвода 27 путем приведения в действие электромеханического привода 33. Вода из магистрали 25 по первому отводу 27 начинает поступать в патрубок 29 сброса воды и далее на рельеф. Одновременно и согласованно с этим открывают электромеханическим приводом 32 кран 31 второго отвода 30 и сообщают через магистраль 25 и второй отвод 30 рукав 8 с патрубком сброса воды 29. Вся имеющаяся в каналах вода давлением воздуха в устройстве впрыска воды в воздух 7 выбрасывается через патрубок сброса воды 29 на рельеф. Каналы и в том числе устройство впрыска воды в воздух 7 и рукав 8 осушаются и таким образом защищены от угрозы замерзания в зимний период. Сам узел переключения потока 23 обогревается и теплозащищен. Канал от источника подачи воды 24 до узла переключения потока 23 защищен от замерзания в зимний период надлежащим образом, не относящимся к сути технической задачи изобретения. Таким образом решается техническая задача обеспечения возможности работы установки в зимний период.
После прекращения подачи воды в устройство впрыска воды в воздух 7 и осушения его и рукава 8, электромеханическим приводом 32 закрывают кран 31 второго отвода 30 и останавливают авиационный газотурбинный двигатель 1.
Перепад давления воздуха от компрессора авиационного газотурбинного двигателя 1 до выхода 5 коллектора 4 сбора воздуха обеспечивает поток воздуха в магистрали 21 и дает возможность замера полного расхода воздуха, отбираемого от авиационного газотурбинного двигателя 1 на очистку трубопровода 16, по показаниям узла замера расхода воздуха 22, измеряющего расход воздуха в потоке по магистрали 21. Осуществляется это следующим образом: установку на стенде испытывают на различных режимах работы авиационного газотурбинного двигателя 1 при изменяющихся величинах отбора воздуха из-за компрессора и изменении параметров давления, температуры, влажности воздуха на входе в авиационный газотурбинный двигатель 1 и измеряют полный расход отбираемого воздуха лабораторным, стендовым измерителем расхода воздуха, показания которого сопоставляют с показаниями узла замера расхода воздуха 22 и соответствующим образом тарируют последний.
Таким образом, решается техническая задача удовлетворения требований мобильности и минимизации габаритов отдельных узлов установки в отличии от аналога.
Пример конкретной реализации изобретения.
Авиационный газотурбинный двигатель АЛ-21Ф-3А подает отбираемый сжатый воздух с расходом 10-15 кг/сек 4, с температурой 300-360°С и давлением 1,0-1,2 МПа. Подав воду в устройство впрыска воды в воздух 7, регулируют температуру паровоздушной смеси на уровне 60°-80°С. Паровоздушную смесь на установившейся температуре 60-80°С подают в полость трубопровода 16. Такая температура паровоздушной смеси вполне приемлема для трубопроводов с полимерной изоляцией.
Применение заявляемого изобретения позволяет расширить функциональные возможности установки: обеспечить возможность работы ее в зимних условиях, и возможность прогнозировать местоположение очистных устройств 7 в трубопроводе 16 по показаниям узла замера расхода воздуха 22 и измерителей температуры 11 и давления паровоздушной смеси 18 в трубопроводе 16. А также применение изобретения позволяет снизить в отличие от аналога габариты узла замера расхода воздуха, предотвратить взрывоопасную ситуацию за счет впрыска воды в воздух в трубопроводах со следами углеводорода в их полости.
Формула изобретения
Установка для очистки полости трубопроводов, содержащая авиационный газотурбинный двигатель с введенными за его компрессором патрубками отбора воздуха, сообщенными с коллектором сбора воздуха, к выходу которого через первую запорно-регулирующую арматуру подключено устройство для впрыска воды в воздух с рукавом, а выход устройства для впрыска воды в воздух сообщен через гибкий металлорукав с обратным клапаном, перед которым установлен измеритель температуры паровоздушной смеси, при этом за обратным клапаном через боковой отвод присоединена вторая запорно-регулирующая арматура с патрубком сброса паровоздушной смеси, причем за обратным клапаном также установлена третья запорно-регулирующая арматура, выход которой сообщен с трубопроводом, измеритель давления паровоздушной смеси, установленный на трубопроводе, в полости которого расположены очистные устройства, отличающаяся тем, что патрубки отбора воздуха сообщены с коллектором сбора воздуха через гибкие металлорукава, компенсирующие линейные и угловые перемещения коллектора сбора воздуха относительно патрубков отбора воздуха, полость вторичного воздуха камеры сгорания непосредственно за компрессором авиационного газотурбинного двигателя сообщена с выходом коллектора сбора воздуха магистралью, включающей узел замера расхода воздуха, а рукав устройства впрыска воды в воздух сообщен с источником подачи воды через обогреваемый теплозащищенный узел переключения потока, включающий магистраль с основным нормально открытым краном, сообщающую рукав устройства впрыска воды в воздух с источником подачи воды, два отвода с нормально закрытыми кранами, сообщающие магистраль с патрубком сброса воды: первый – по направлению потока воды до основного крана, второй – после основного крана, два электромеханических привода: первый – для поворота кранов основного и первого отвода, второй – для поворота крана второго отвода.
РИСУНКИ
|
|