|
|
(21), (22) Заявка: 2005134027/03, 07.11.2005
(24) Дата начала отсчета срока действия патента:
07.11.2005
(46) Опубликовано: 27.04.2007
(56) Список документов, цитированных в отчете о поиске:
RU 2167005 С2, 20.05.2001. SU 959842 A, 23.09.1982. SU 563197 A1, 30.06.1977. RU 2188723 C1, 10.09.2001. RU 2207921 С2, 10.07.2003. GB 2132920 A, 18.07.1984. GB 2013098 A, 08.08.1979. ШОХИН В.Н. и др., “Гравитационные методы обогащения”, Москва, Недра, 1993, с.285-295, 315-318.
Адрес для переписки:
141410, Московская обл., г. Химки, ул. Марии Рубцовой, 3, кв.440, М.Н. Злобину
|
(72) Автор(ы):
Злобин Михаил Николаевич (RU), Злобин Евгений Михайлович (RU)
(73) Патентообладатель(и):
Злобин Михаил Николаевич (RU), Злобин Евгений Михайлович (RU)
|
(54) ЦЕНТРОБЕЖНЫЙ ВОЗДУШНЫЙ ВИБРОКОНЦЕНТРАТОР
(57) Реферат:
Изобретение может быть использовано в горнодобывающей, строительной промышленности, в сельском хозяйстве и других отраслях для сепарации сыпучих материалов по плотности, крупности, форме частиц. Центробежный воздушный виброконцентратор снабжен воздушной системой, размещенной соосно внутри конической чаши с конусообразным зазором по отношению к ее внутренней поверхности и выполненной в виде двух коаксиально расположенных друг в друге усеченных конусов с зазором между собой и с вертикальными ребрами на их внешней поверхности. В верхней части воздушная система снабжена входным патрубком, сообщенным посредством воздуховодов с внутренней ее полостью, а через конусообразный зазор внутренняя полость воздушной системы сообщена с внутренней полостью разгрузочного приспособления, выполненного в виде кольцеобразного желоба с наклонным днищем, снабженного в нижней части патрубком для вывода легкой фракции, а в верхней части экранированным со стороны внутренней полости патрубком для отвода воздуха. На контакте подвижной части конической чаши с неподвижной торцевой кромкой разгрузочного приспособления имеется уплотняющая эластичная манжета. Загрузочное приспособление выполнено в виде воронки, соосно расположенной внутри воздушной системы, и имеет в нижней части осевой выход на диск, закрепленный с зазором за днище конической чаши посредством спиралеобразных ребер, по оси к диску прикреплен стержень в виде винта с острием, направленным внутрь воронки, а по периметру диска закреплена конусообразная обечайка. Вибровозбудитель выполнен в виде поворотного эксцентрикового сочленения вертикального полого вала конической чаши с приводным валом подшипникового узла, полый вал конической чаши через зазор под диском сообщается с внутренней полостью чаши. Технический результат – повышение удельной производительности аппарата, а также повышение эффективности разделения ценных компонентов. 1 ил.
Изобретение может быть использовано в горнодобывающей, строительной промышленности, в сельском хозяйстве и других отраслях для сепарации сыпучих материалов по плотности, крупности, форме частиц.
Известны центробежные концентраторы различных конструкций и модификаций, широко применяемые на отечественных и зарубежных золотоизвлекательных фабриках, включающие установленную с возможностью вращения на вертикальном валу коническую чашу с нарифлениями на внутренней поверхности, приспособлений для подачи питания и выгрузки легкой и тяжелой фракций, а также приспособлений для подачи разрыхляющей и смывной воды.
Недостаток этих центробежных концентраторов заключается в отсутствии в них необходимых технических элементов (деталей, узлов) и конструктивных решений, позволяющих разделять частицы сыпучих материалов в потоке воздуха.
Известен воздушный камерный сепаратор для сухой сепарации, включающий закрепленный на несущей раме корпус, выполненный в виде подготовительной камеры и камер для сепарации крупных и тонких частиц материала, дозатор, вентилятор, разгрузочные приспособления с карманами для сбора крупных и тонких фракций /1/.
Недостаток воздушного камерного сепаратора /1/ заключается в отсутствии в нем необходимых технических элементов (деталей, узлов) и конструктивных решений, позволяющих повысить удельную производительность аппарата для разделения частиц сыпучих материалов в потоке воздуха.
Наиболее близким по технической сущности и достигаемому результату является виброконцентратор, включающий короб, вибровозбудитель, концентратоприемник, концентрационный элемент в виде ребристого покрытия с поперечными ребрами, поперечные ребра имеют уклон вниз и наклон в загрузочную сторону, причем возможно изменение их количества, высоты и угла наклона, ребристое покрытие концентрационного элемента выполнено износостойким, короб с концентрационным элементом имеют возможность изменения частоты и амплитуды вибрации /2/.
Недостатком данного устройства также является отсутствие в нем необходимых технических элементов (деталей, узлов) и конструктивных решений, позволяющих существенно повысить удельную производительность аппарата для разделения частиц сыпучих материалов.
Целью изобретения является повышение удельной производительности аппарата для разделения частиц сыпучих материалов в потоке воздуха.
Поставленная цель достигается тем, что в центробежном воздушном виброконцентраторе для сухой сепарации, включающем установленную с возможностью вращения на вертикальном валу коническую чашу с концентрационным элементом в виде ребристого покрытия, дозатор, загрузочное и разгрузочное приспособления, концентратоприемник, вибровозбудитель, вентилятор, коническая чаша с концентрационным элементом имеют возможность изменения частоты и амплитуды вибрации, концентрационный элемент выполнен в форме усеченного конуса с ребрами на внутренней поверхности, ребра имеют уклон вниз и наклон в загрузочную сторону, причем возможно изменение количества ребер, их высоты и углов наклона, концентрационный элемент и его ребристое покрытие выполнены износостойкими, виброконцентратор снабжен воздушной системой, размещенной соосно внутри конической чаши с конусообразным зазором по отношению к ее внутренней поверхности и выполненной в виде двух коаксиально расположенных друг в друге усеченных конусов с зазором между собой и с вертикальными ребрами на их внешней поверхности, при этом образуемая между этими усеченными конусами внутренняя полость сообщена со стороны малых нижних их оснований посредством кольцеобразного прохода с внутренней полостью конусообразного зазора, в верхней части воздушная система снабжена входным патрубком, сообщенным посредством воздуховодов с внутренней ее полостью, а через конусообразный зазор внутренняя полость воздушной системы сообщена с внутренней полостью разгрузочного приспособления, выполненного в виде кольцеобразного желоба с наклонным днищем, снабженного в нижней части патрубком для вывода легкой фракции, а в верхней части экранированным со стороны внутренней полости патрубком для отвода воздуха, при этом на контакте подвижной части конической чаши с неподвижной торцевой кромкой разгрузочного приспособления имеется уплотняющая эластичная манжета, загрузочное приспособление выполнено в виде воронки, соосно расположенной внутри воздушной системы, и имеет в нижней части осевой выход на диск, закрепленный с зазором за днище конической чаши посредством спиралеобразных ребер, по оси к диску прикреплен стержень в виде винта с острием, направленным внутрь воронки, а по периметру диска закреплена конусообразная обечайка, вибровозбудитель выполнен в виде поворотного эксцентрикового сочленения вертикального полого вала конической чаши с приводным валом подшипникового узла, полый вал конической чаши через зазор под диском сообщается с внутренней полостью чаши.
При создании изобретения авторы исходили из следующего.
При вибрациях слоя обогащаемого материала минералы, обладающие повышенной плотностью по отношению к минералам пустой породы, стремятся занять наиболее низкий уровень в этом слое, а в центробежном поле они стремятся занять периферийное положение по отношению к концентрически расположенному слою материала. В центробежном поле процесс разделения частиц идет более эффективно за счет увеличения ускорения частиц (g) во много раз по сравнению с условиями свободного падения. Поэтому целесообразно процесс разделения частиц в центробежном поле совмещать с наложением вибраций на слой разделяемого материала. При этих условиях можно достичь высокой удельной производительности аппаратов и их эффективности.
Для реализации такого совмещенного гравитационного способа разделения частиц в воздушной среде необходимо учитывать, что разделение частиц сыпучих материалов с использованием потока воздуха происходит более эффективно и производительно при обеспечении ламинарности движения потока воздуха, оптимальных аэродинамических условий ввода частиц сепарируемого материала в воздушный поток и их скоростного режима движения как при вводе частиц в поток воздуха, так и непосредственно в самом потоке.
Реализовать условия центробежного вибрационного обогащения в воздушном потоке возможно в предлагаемом центробежном воздушном виброконцентраторе для сухой сепарации. Такие условия концентрации приемлемы ко многим видам минерального сырья. Эффективность обогащения при этом особенно возрастает, когда плотность зерен полезного компонента на много превышает плотность зерен пустой породы, например, при обогащении золотосодержащих руд и песков, при обогащении редкометального сырья, оловянных руд и многих других, аналогичных и близких по разделительному признаку, видов сырья.
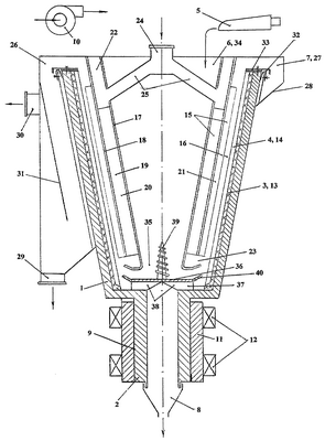
Изобретение поясняется чертежом, где показан общий вид центробежного воздушного виброконцентратора с показом отдельных деталей.
Центробежный воздушный виброконцентратор для сухой сепарации состоит (см. чертеж) из конической чаши 1, установленной с возможностью вращения на вертикальном валу 2, концентрационного элемента 3, выполненного в виде ребристого покрытия 4, дозатора 5, загрузочного 6 и разгрузочного 7 приспособлений, концентратоприемника 8, вибровозбудителя 9, вентилятора 10.
Коническая чаша 1 с концентрационным элементом 3 имеют возможность изменения частоты и амплитуды вибрации за счет того, что вибровозбудитель 9 выполнен в виде поворотного эксцентрикового сочленения вертикального вала 2 конической чаши 1 с приводным валом 11 подшипникового узла 12, с возможностью штифтовой их фиксацией в нужном положении.
Концентрационный элемент 3 с ребристым покрытием 4 выполнен в виде съемного усеченного конуса 13 с ребрами 14 на его внутренней поверхности, выполненными заодно с конусом 13. Ребра 14 имеют уклон вниз и наклон в загрузочную сторону, что призвано улучшить условия для накопления в чаше тяжелой фракции и последующей ее выгрузки. В зависимости от характеристики обрабатываемого материала и его крупности возможно изменение количества ребер 14, их высоты и углов наклона путем замены одного концентрационного элемента на другой с иными конструктивными параметрами. Концентрационный элемент 3 и его ребристое покрытие 4 выполнены износостойкими.
Центробежный воздушный виброконцентратор снабжен воздушной системой 15, размещенной соосно внутри конической чаши 1 с конусообразным зазором 16 по отношению к ее внутренней поверхности.
Воздушная система 15 выполнена в виде двух коаксиально расположенных друг в друге усеченных конусов 17 и 18 с зазором 19 между собой и с вертикальными ребрами 20 и 21 на их внешней поверхности.
Образуемая усеченными конусами 17 и 18 внутренняя полость 22, сообщена со стороны малых нижних их оснований посредством кольцеобразного прохода 23 с внутренней полостью конусообразного зазора 16.
В верхней своей части воздушная система 15 снабжена входным патрубком 24, сообщенным посредством воздуховодов 25 с внутренней ее полостью 22. Через конусообразный зазор 16 внутренняя полость 22 воздушной системы 15 сообщена с внутренней полостью 26 разгрузочного приспособления 7.
Разгрузочное приспособления 7 выполнено в виде кольцеобразного желоба 27 с наклонным днищем 28. В нижней части кольцеобразного желоба 27 имеется патрубок 29 для вывода легкой фракции, а в верхней части – патрубок 30 для отвода воздуха, экранированный на входе пластиной 31.
На контакте подвижной части конической чаши 1 с неподвижной торцевой кромкой разгрузочного приспособления 7 имеется закрепленная за кромку уплотняющая эластичная манжета 32, экранированная сверху кольцевым диском 33, закрепленным за торцевую часть чаши 1.
Загрузочное приспособление 6 выполнено в виде воронки 34, соосно размещенной внутри воздушной системы 15, и имеет в нижней части осевой выход 35 на диск 36, закрепленный с зазором 37 за днище конической чаши 1 посредством спиралевидных ребер 38. По оси к диску 36 прикреплен стержень 39 в виде винта с острием, направленным внутрь воронки 34. По периметру диска 36 закреплена конусообразная обечайка 40.
Вал 2 конической чаши 1 выполнен полым. Его осевое отверстие через зазор 37 под диском 36 сообщено с внутренней полостью чаши 1.
Центробежный воздушный виброконцентратор для сухой сепарации работает следующим образом.
Приводят во вращение посредством привода (на чертеже не показан) приводной вал 11 подшипникового узла 12. Предварительно устанавливают посредством поворотного эксцентрикового сочленения вертикального вала 2 конической чаши 1 с приводным валом 11 подшипникового узла 12 необходимую величину амплитуды вибрации вибровозбудителя 9 и, соответственно, конической чаши 1. Штифтом фиксируют и закрепляют это положение валов. Коническая чаша 1 при этом при своем вращении будет одновременно совершать эллипсовидное движение вокруг осевой линии приводного вала 11 с частотой, соответствующей числу оборотов приводного вала 11 и, соответственно, конической чаши 1.
Включают вентилятор 10 для создания воздушного потока в конусообразном зазоре 16 рабочей зоны разделения частиц. При этом воздухозабор осуществляется через входной патрубок 24 воздушной системы 15, в которой воздушный поток от входного патрубка 24 к зазору 16 движется по воздуховодам 25, внутренней полости 22, кольцеобразному проходу 23. Вертикальные ребра 20 и 21, установленные на внешней поверхности усеченных конусов 17 и 18 воздушной системы 15, обеспечивают при этом ламинарное движение воздушного потока. Посредством дросселирования устанавливают заданную скорость воздушного потока в рабочей зоне аппарата.
Пускают в работу дозатор 5, подающий материал с заданной производительностью в процесс концентрации. С дозатора 5 частицы материала падают в воронку 34 загрузочного приспособления 6, а затем через осевой выход 35 поступают на диск 36, закрепленный посредством спиралевидных ребер 38 за днище конической чаши 1. Стержень 39 в виде винта с острием, направленным внутрь воронки 34, прикрепленный к диску 36, при своем вращении вместе с диском 36 предотвращает забивание осевого выхода 35 частицами материала и способствует быстрому их прохождению через осевой выход 35 на диск 36. Вращаясь вместе с чашей 1, диск 36 равномерно по всему периметру разбрасывает частицы материала на внутреннюю ее поверхность, на которой размещен концентрационный элемент 3, выполненный в виде ребристого покрытия 4. Лучшему распределению частиц материала по поверхности концентрационного элемента 3 способствует конусообразная обечайка 40, закрепленная по периметру диска 36. Этому же способствует спиралевидность ребер 38, которые при вращении чаши 1 засасывают воздух из отверстия полого вала 2 и направляют его в зону подачи частиц материала на концентрационный элемент 3.
При поступлении на ребристое покрытие 4 концентрационного элемента 3 частицы материала за счет вибраций чаши 1 и действия центробежных сил расслаиваются в концентрическом слое материала в зависимости от их плотности и крупности. Более тяжелые и крупные частицы занимают периферийное положение в этом слое, а более легкие и мелкие частицы располагаются на поверхности этого слоя. Потоком воздуха, поступающего в конусообразный зазор 16 и движущегося в направлении перемещения частиц материала по концентрационному элементу 3, легкие и мелкие частицы материала транспортируются к разгрузочному приспособлению 7, выполненному в виде кольцеобразного желоба 27 с наклонным днищем 28. Через расположенный в нижней его части патрубок 29 легкая и мелкая фракция материала выводится из аппарата.
Более тяжелые и крупные частицы, занимающие периферийное положение в слое материала, накапливаются в межреберных впадинах ребристого покрытия 4 концентрационного элемента 3. Их более эффективному накоплению способствует уклон ребер 14 вниз и наклон их в загрузочную сторону. После накопления и заполнения тяжелой фракцией межреберного пространства концентрационного элемента 3 процесс концентрации прекращается и производится выгрузка тяжелой фракции из концентрационной чаши 1. Для этого останавливают вращение чаши 1 и подачу воздуха в воздушную систему 15 и включают реверсивное вращение чаши 1 при малых оборотах. По наклонно расположенным ребрам 14 и межреберным впадинам тяжелая фракция при этом поступает через зазор 37 под диском 36 в осевое отверстие полого вала 2, а затем в концентратоприемник 8. Спиралевидность ребер 38 в этом случае способствует быстрой выгрузке тяжелой фракции при обратном медленном вращении чаши 1 и ее вибрации.
Воздух из внутренней полости 26 разгрузочного приспособления 7 отводится вентилятором 10 через патрубок 30, расположенный в верхней части кольцеобразного желоба 27. При этом подсос воздуха через контакт подвижной части конической чаши 1 с неподвижной торцевой кромкой разгрузочного приспособления 7 предотвращается посредством уплотняющей эластичной манжеты 32. Исключение возможности попадания частиц материала в поток отводимого воздуха обеспечивается экранированием патрубка 30 на его входе пластиной 31. После очистки воздуха от сверхтонкой пыли он может повторно многократно использоваться при подводе его посредством воздуховода и присоединения выходного конца воздуховода к патрубку 24 воздушной системы 15. Это позволяет сохранять тепло помещений, где эксплуатируется концентратор, а также обеспечить более благоприятные условия защиты от запыленности окружающего пространства.
Настройку и регулирование процесса концентрации осуществляют изменением величины и скорости подачи исходного питания, изменением амплитуды и частоты вибрации конической чаши 1, дросселированием потока воздуха в рабочей зоне концентратора, а также изменением конструктивных параметров концентрационного элемента 3, достигаемого использованием сменных комплектов с различными конструктивными элементами, в зависимости от характеристики обрабатываемого материала и его крупности.
Таким образом, предложенное техническое решение по сравнению с прототипом позволит за счет разработки технических элементов (деталей, узлов) и применения рациональных конструктивных решений существенно повысить удельную производительность аппарата для разделения частиц сыпучих материалов в потоке воздуха.
Источники информации
1. Патент Российской Федерации №2241551 “Воздушный камерный сепаратор”, В07В 4/04, приоритет от 06.09.2002, 10.12.2004, Бюл. №34.
2. Патент Российской Федерации №2234982 “Грохот-концентратор”/ М.Н.Злобин, Е.М.Злобин, А.М.Злобин. N 200210630503/03 от 11.03.2002, Бюл. 2005, № 4 (прототип).
Формула изобретения
Центробежный воздушный виброконцентратор для сухой сепарации, включающий установленную с возможностью вращения на вертикальном валу коническую чашу с концентрационным элементом в виде ребристого покрытия, дозатор, загрузочное и разгрузочное приспособления, концентратоприемник, вибровозбудитель, вентилятор, коническая чаша с концентрационным элементом имеют возможность изменения частоты и амплитуды вибрации, концентрационный элемент выполнен в форме усеченного конуса с ребрами на внутренней поверхности, ребра имеют уклон вниз и наклон в загрузочную сторону, причем возможно изменение количества ребер, их высоты и углов наклона, концентрационный элемент и его ребристое покрытие выполнены износостойкими, отличающийся тем, что он снабжен воздушной системой, размещенной соосно внутри конической чаши с конусообразным зазором по отношению к ее внутренней поверхности и выполненной в виде двух коаксиально расположенных друг в друге усеченных конусов с зазором между собой и с вертикальными ребрами на их внешней поверхности, при этом образуемая между этими усеченными конусами внутренняя полость сообщена со стороны малых нижних их оснований посредством кольцеобразного прохода с внутренней полостью конусообразного зазора, в верхней части воздушная система снабжена входным патрубком, сообщенным посредством воздуховодов с внутренней ее полостью, а через конусообразный зазор внутренняя полость воздушной системы сообщена с внутренней полостью разгрузочного приспособления, выполненного в виде кольцеобразного желоба с наклонным днищем, снабженного в нижней части патрубком для вывода легкой фракции, а в верхней части – экранированным со стороны внутренней полости патрубком для отвода воздуха, при этом на контакте подвижной части конической чаши с неподвижной торцевой кромкой разгрузочного приспособления имеется уплотняющая эластичная манжета, загрузочное приспособление выполнено в виде воронки, соосно расположенной внутри воздушной системы, и имеет в нижней части осевой выход на диск, закрепленный с зазором за днище конической чаши посредством спиралеобразных ребер, по оси к диску прикреплен стержень в виде винта с острием, направленным внутрь воронки, а по периметру диска закреплена конусообразная обечайка, вибровозбудитель выполнен в виде поворотного эксцентрикового сочленения вертикального полого вала конической чаши с приводным валом подшипникового узла, полый вал конической чаши через зазор под диском сообщается с внутренней полостью чаши.
РИСУНКИ
|
|