|
|
(21), (22) Заявка: 2006100213/28, 10.01.2006
(24) Дата начала отсчета срока действия патента:
10.01.2006
(46) Опубликовано: 27.04.2007
(56) Список документов, цитированных в отчете о поиске:
SU 1063479 А, 30.12.1983. SU 856583 A1, 23.08.1981. SU 915975 A1, 30.03.1982. US 2829529 А, 02.07.1954.
Адрес для переписки:
350044, г.Краснодар, Калинина, 13, КГАУ, патентно-информационный отдел
|
(72) Автор(ы):
Стрижков Игорь Григорьевич (RU), Потапенко Иосиф Андреевич (RU), Трубин Александр Николаевич (RU), Чеснюк Евгений Николаевич (RU), Черноярова Оксана Александровна (RU)
(73) Патентообладатель(и):
Федеральное государственное образовательное учреждение высшего профессионального образования “Кубанский государственный аграрный университет” (RU)
|
(54) ВИБРАТОР НАПРАВЛЕННОГО ДЕЙСТВИЯ
(57) Реферат:
Изобретение относится к вибрационной технике и может быть использовано в теплоэнергетике, в частности, для борьбы с отложениями в теплообменной аппаратуре, а также для интенсификации технологических процессов в жидких, твердых и газообразных средах. Сущность: вибратор направленного действия, содержащий цилиндрическую обойму с внутренней беговой дорожкой, шарик, обегающий ее, силовую обмотку, выполненную в виде m катушек, расположенных на цилиндрической обойме соосно траектории движения шарика, коммутатор, обеспечивающий подачу на катушки m-фазных однополярных импульсов напряжения, волновод, соединенный с обоймой, причем обойма и беговая дорожка имеют с двух сторон от волновода виброгасящие вставки, повторяющие по форме поперечное сечение беговой дорожки и обоймы. Технический результат: возможность регулирования частоты и амплитуды вынужденных колебаний при упрощении конструкции. 1 ил.
Изобретение относится к вибрационной технике и может быть использовано в теплотехнике для борьбы с твердыми солевыми отложениями на теплопередающих поверхностях, а также для интенсификации различных технологических процессов в жидких, твердых и газообразных средах.
Известен вибровозбудитель (патент США №2829529, кл.74-87.1958), содержащий корпус с внутренней беговой дорожкой, шарик, обегающий ее, и привод для шарика. Привод выполнен в виде двигателя, на валу которого закреплено водило в виде лепестков. Недостатком этого устройства является сложность конструкции и невысокая надежность вследствие истирания лепестков и наличия электродвигателя, работающего в условиях высокой вибрации.
Наиболее близким по своей технической сущности к предлагаемому устройству является изобретение по авторскому свидетельству SU 1063479, В06В 1/00 от 30.12.1983 «Шариковый вибратор», в котором для возбуждения колебаний используется двойная цилиндрическая обойма и два шарика, а для приведения шариков во вращение используется силовая обмотка, выполненная в виде секций и уложенная на цилиндрическую обойму, на секции которой подается импульсное напряжение.
Такое устройство обладает рядом несомненных достоинств, главным из которых является возможность регулирования частоты и амплитуды вынужденных колебаний.
Вместе с тем, это изобретение имеет серьезные недостатки, среди которых низкая эффективность вследствие того, что направление действия центробежной силы, приложенной к двойной обойме, изменяется по круговому закону, при котором значительная часть энергии вынужденных колебаний используется неэффективно, а также сложность конструкции, обусловленная наличием двух источников колебаний, требующих синхронизации перемещения двух шариков и, соответственно, двойной системы управления силовой обмоткой.
Технической задачей является устранение указанных недостатков за счет изменения конструкции вибратора.
Решение задачи достигается тем, что вибратор направленного действия, содержащий цилиндрическую обойму с внутренней беговой дорожкой, шарик, обегающий ее, силовую обмотку, выполненную в виде m катушек, расположенных на цилиндрической обойме соосно траектории движения шарика, коммутатор, обеспечивающий подачу на катушки m-фазных однополярных импульсов напряжения, волновод, соединенный с обоймой, при этом обойма и беговая дорожка имеют с двух сторон от волновода виброгасящие вставки, повторяющие по форме поперечное сечение беговой дорожки и обоймы.
По данным патентной и научно-технической литературы не выявлена заявляемая совокупность признаков, что позволяет сделать вывод о соответствии заявляемого решения критериям «изобретательский уровень» и «новизна». Заявляемое решение может быть реализовано в теплоэнергетике, в частности, для борьбы с отложениями в теплообменной аппаратуре, а также для интенсификации технологических процессов в жидких, твердых и газообразных средах, что отвечает критерию «промышленная применимость».
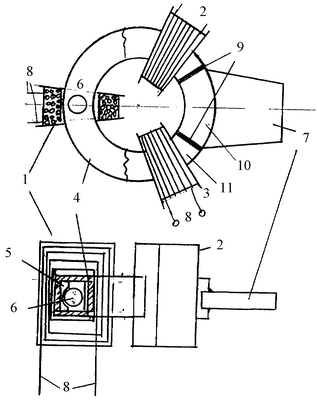
На чертеже представлена конструктивная схема вибратора направленного действия.
Конструкция вибратора приведена для силовой обмотки с тремя катушками, т.е. при m=3. В общем случае число катушек может составлять любое целое число. Катушки 1, 2 и 3 установлены соосно на полой цилиндрической обойме 4, выполненной из немагнитного материала. Внутри обоймы расположена беговая дорожка 5, по которой движется шарик 6. Возбужденные колебания передаются технологическому аппарату через волновод 7, прикрепленный одним концом к обойме 4, а другим – к аппарату (не показан). Каждая из катушек 1, 2 и 3 имеет по два конца 8 для подключения к коммутатору как источнику электроэнергии в форме однополярных импульсов напряжения. С двух сторон от волновода 7 в обойме 4 расположены виброгасящие вставки 9, разделяющие обойму 4 и дорожку 5 на две части: часть 10, соединенную с волноводом 7, и часть 11, отделенную от волновода виброгасящими вставками 9. Виброгасящие вставки 9 выполняются из материала, поглощающего упругие колебания, например фторопласта. Сечение виброгасящей вставки 9 в зоне беговой дорожки 5 повторяет ее форму и не препятствует перемещению шарика 6.
Работает вибратор следующим образом. В интервал времени от t0 до t1 (t1>t0) коммутатор подает импульс напряжения на обмотку 1, возбуждающий вокруг обмотки 1 магнитное поле, притягивающее шарик 6, который переместится в зону расположения этой обмотки. Токи в обмотках других полюсов в это время отсутствуют. В последующий интервал времени от t1 до t2 импульс напряжения снимается с обмотки 1 и подается на обмотку 2. Шарик перемещается из зоны расположения обмотки 1 к обмотке 2. Далее, в интервале времени t2-t3 импульс напряжения снимается с обмотки 2 и подается на обмотку 3 и шарик продолжает движение по беговой дорожке. Далее циклы движения повторяются.
Возникающая при вращении шарика центробежная сила воспринимается беговой дорожкой 5 и обоймой 4.
При нахождении шарика в зоне 10 обоймы, соединенной с волноводом 7, импульсные колебания имеют направленное действие преимущественно по продольной оси волновода 7. Эти колебания через волновод 7 передаются технологическому аппарату. Колебания, возбуждаемые при нахождении шарика в зоне 11 обоймы, гасятся в виброгасящих вставках 9 и не передаются технологическому аппарату.
Частота возбужденных колебаний зависит от частоты вращения шарика 4, а амплитуда определяется величиной центробежной силы Fц=mV2/R, где m – масса шарика, V – линейная скорость шарика, R – радиус расточки беговой дорожки. В свою очередь, частота вращения шарика синхронизирована с частотой подаваемых на обмотки импульсов. Изменение частоты импульсов приводит к изменению частоты вращения шарика, следовательно, к изменению частоты и амплитуды возбужденных колебаний. Амплитуда колебаний дополнительно может регулироваться изменением массы шарика.
Формула изобретения
Вибратор направленного действия, содержащий цилиндрическую обойму с внутренней беговой дорожкой, шарик, обегающий ее, силовую обмотку, выполненную в виде m катушек, расположенных на цилиндрической обойме соосно траектории движения шарика, коммутатор, обеспечивающий подачу на катушки m-фазных однополярных импульсов напряжения, волновод, соединенный с обоймой, отличающийся тем, что обойма и беговая дорожка имеют с двух сторон от волновода виброгасящие вставки, повторяющие по форме поперечное сечение беговой дорожки и обоймы.
РИСУНКИ
MM4A – Досрочное прекращение действия патента СССР или патента Российской Федерации на изобретение из-за неуплаты в установленный срок пошлины за поддержание патента в силе
Дата прекращения действия патента: 11.01.2008
Извещение опубликовано: 10.11.2009 БИ: 31/2009
|
|