|
|
(21), (22) Заявка: 2005135160/03, 14.11.2005
(24) Дата начала отсчета срока действия патента:
14.11.2005
(46) Опубликовано: 27.04.2007
(56) Список документов, цитированных в отчете о поиске:
RU 2100087 C1, 27.12.1997. SU 884744 А, 30.11.1981. SU 1676440 А3, 07.09.1991. SU 1641425 А1, 15.04.1991. RU 2094122 C1, 27.10.1997. RU 2132738 С1, 10.07.1999. US 4846781 А, 11.07.1989. US 4286748 А, 01.09.1981. ШОХИН В.Н. и др. Гравитационные методы обогащения. – М.: Недра, 1993, с.285-295.
Адрес для переписки:
141410, Московская обл., г. Химки, ул. Марии Рубцовой, 3, кв.440, М.Н. Злобину
|
(72) Автор(ы):
Злобин Михаил Николаевич (RU), Злобин Евгений Михайлович (RU)
(73) Патентообладатель(и):
Злобин Михаил Николаевич (RU), Злобин Евгений Михайлович (RU)
|
(54) ЦЕНТРОБЕЖНЫЙ ВИБРОКОНЦЕНТРАТОР
(57) Реферат:
Изобретение может быть использовано в устройствах для разделения зернистых материалов по плотности. Центробежный виброконцентратор включает установленную с возможностью вращения на полом вертикальном валу коническую чашу с концентрационным элементом в виде ребристого покрытия и диском, закрепленным с зазором за днище чаши, дозатор, загрузочное и разгрузочное приспособления, приспособление для подачи смывной воды, концентратоприемник, вибровозбудитель. Коническая чаша с концентрационным элементом имеют возможность изменения частоты и амплитуды вибрации. Концентрационный элемент выполнен в форме усеченного конуса с ребрами на внутренней поверхности, ребра имеют уклон вниз и наклон в загрузочную сторону, причем возможно изменение количества ребер, их высоты и углов наклона. Концентрационный элемент и его ребристое покрытие выполнены износостойкими. Вибровозбудитель выполнен в виде поворотного эксцентрикового сочленения полого вертикального вала конической чаши с приводным валом подшипникового узла. В межреберных впадинах концентрационного элемента размещены щеточные ролики, концы которых закреплены в конических кольцах с возможностью свободного вращения вокруг своей оси. Верхнее кольцо подвижно закреплено в кольцевом пазу верхней кромки конической чаши, а нижнее кольцо с радиальным зазором свободно соприкасается с концентрационным элементом. Технический результат-повышение удельной производительности аппарата, а также повышение степени концентрации ценных компонентов. 1 ил.
Изобретение относится к области обогащения полезных ископаемых гравитационными методами и может быть использовано в устройствах для разделения зернистых материалов.
Известны центробежные концентраторы различных конструкций и модификаций, широко применяемые на отечественных и зарубежных золотоизвлекательных фабриках, включающие установленную с возможностью вращения на вертикальном валу коническую чашу с нарифлениями на внутренней поверхности, приспособление для подачи питания и выгрузки легкой и тяжелой фракций, а также приспособление для подачи разрыхляющей и смывной воды.
Недостаток этих центробежных концентраторов заключается в отсутствии в них необходимых технических элементов (деталей, узлов) и конструктивных решений, позволяющих повысить степень концентрации ценных компонентов.
Наиболее близким по технической сущности и достигаемому результату является виброконцентратор, включающий короб, вибровозбудитель, концентратоприемник, концентрационный элемент в виде ребристого покрытия с поперечными ребрами, поперечные ребра имеют уклон вниз и наклон в загрузочную сторону, причем возможно изменение их количества, высоты и угла наклона, ребристое покрытие концентрационного элемента выполнено износостойким, короб с концентрационным элементом имеет возможность изменения частоты и амплитуды вибрации /1/.
Недостатком данного устройства также является отсутствие в нем необходимых технических элементов (деталей, узлов) и конструктивных решений, позволяющих существенно повысить удельную производительность аппарата и степень концентрации ценных минералов, особенно мелкозернистых.
Целью изобретения является повышение удельной производительности аппарата и степени концентрации ценных компонентов.
Поставленная цель достигается тем, что в центробежном виброконцентраторе, включающем установленную с возможностью вращения на полом вертикальном валу коническую чашу с концентрационным элементом в виде ребристого покрытия и диском, закрепленным с зазором за днище чаши, дозатор, загрузочное и разгрузочное приспособления, приспособление для подачи смывной воды, концентратоприемник, вибровозбудитель, коническая чаша с концентрационным элементом имеет возможность изменения частоты и амплитуды вибрации, концентрационный элемент выполнен в форме усеченного конуса с ребрами на внутренней поверхности, ребра имеют уклон вниз и наклон в загрузочную сторону, причем возможно изменение количества ребер, их высоты и углов наклона, концентрационный элемент и его ребристое покрытие выполнены износостойкими, вибровозбудитель выполнен в виде поворотного эксцентрикового сочленения полого вертикального вала конической чаши с приводным валом подшипникового узла, в межреберных впадинах концентрационного элемента размещены щеточные ролики, концы которых закреплены в конических кольцах с возможностью свободного вращения вокруг своей оси, при этом верхнее кольцо подвижно закреплено в кольцевом пазу верхней кромки конической чаши, а нижнее кольцо с радиальным зазором свободно соприкасается с концентрационным элементом.
При создании изобретения авторы исходили из следующего.
При вибрациях слоя обогащаемого материала минералы, обладающие повышенной плотностью по отношению к минералам пустой породы, стремятся занять наиболее низкий уровень в этом слое, а в центробежном поле они стремятся занять периферийное положение по отношению к концентрически расположенному слою материала. В центробежном поле процесс разделения частиц идет более эффективно за счет увеличения ускорения частиц (g) во много раз по сравнению с условиями свободного падения. Поэтому целесообразно процесс разделения частиц в центробежном поле совмещать с наложением вибраций на слой разделяемого материала. При этих условиях можно достичь высокой удельной производительности аппаратов и степени концентрации ценных компонентов, особенно мелкозернистых.
Реализовать условия центробежного вибрационного обогащения возможно в предлагаемом центробежном виброконцентраторе. Такие условия концентрации приемлемы ко многим видам минерального сырья. Эффективность обогащения при этом особенно возрастает, когда плотность зерен полезного компонента намного превышает плотность зерен пустой породы, например, при обогащении золотосодержащих руд и песков, при обогащении редкометального сырья, оловянных руд и многих других аналогичных и близких по разделительному признаку, видов сырья.
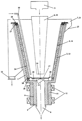
Изобретение поясняется чертежом, где показан общий вид центробежного виброконцентратора с показом отдельных деталей.
Центробежный виброконцентратор состоит (см. чертеж) из конической чаши 1, установленной с возможностью вращения на полом вертикальном валу 2, концентрационного элемента 3, выполненного в виде ребристого покрытия 4, дозатора 5, загрузочного 6 и разгрузочного 7 приспособлений, концентратоприемника 8, вибровозбудителя 9, приспособления для подачи смывной воды 10.
Коническая чаша 1 с концентрационным элементом 3 имеют возможность изменения частоты и амплитуды вибрации за счет того, что вибровозбудитель 9 выполнен в виде поворотного эксцентрикового сочленения полого вертикального вала 2 конической чаши 1 с приводным валом 11 подшипникового узла 12, с возможностью штифтовой их фиксации в нужном положении.
Концентрационный элемент 3 с ребристым покрытием 4 выполнен в виде съемного усеченного конуса 13 с ребрами 14 на его внутренней поверхности, выполненными заодно с конусом 13. Ребра 14 имеют уклон вниз и наклон в загрузочную сторону, что призвано улучшить условия для накопления в конической чаше 1 тяжелой фракции и последующей ее выгрузки. В зависимости от характеристики обрабатываемого материала и его крупности возможно изменение количества ребер 14, их высоты и углов наклона путем замены одного концентрационного элемента на другой с иными конструктивными параметрами. Концентрационный элемент 3 и его ребристое покрытие 4 выполнены износостойкими.
Загрузочное приспособление 6 выполнено в виде воронки 15, соосно размещенной в конической чаше 1, и имеет в нижней части осевой выход 16 на диск 17, закрепленный с зазором 18 за днище конической чаши 1 посредством спиралевидных ребер 19. По периметру диска 17 закреплена конусообразная обечайка 20.
Разгрузочное приспособление 7 выполнено в виде кольцеобразного желоба 21 с наклонным днищем 22. В нижней части кольцеобразного желоба 21 имеется патрубок 23 для вывода легкой фракции.
Осевое отверстие полого вертикального вала 2 через зазор 18 под диском 17 сообщено с внутренней полостью чаши 1.
В межреберных впадинах концентрационного элемента 3 размещены щеточные ролики 24, концы которых закреплены в конических кольцах 25 и 26 с возможностью свободного вращения вокруг своей оси. Верхнее кольцо 25 подвижно закреплено в кольцевом пазу 27 верхней кромки конической чаши 1. Нижнее кольцо 26 с радиальным зазором 28 свободно соприкасается с поверхностью концентрационного элемента 3.
Центробежный виброконцентратор работает следующим образом.
Приводят во вращение посредством привода (на чертеже не показан) приводной вал 11 подшипникового узла 12. Предварительно устанавливают посредством поворотного эксцентрикового сочленения полого вертикального вала 2 конической чаши 1 с приводным валом 11 подшипникового узла 12 необходимую величину амплитуды вибрации вибровозбудителя 9 и, соответственно, конической чаши 1. Штифтом фиксируют и закрепляют это положение валов. Коническая чаша 1 при этом при своем вращении будет одновременно совершать эллипсовидное движение вокруг осевой линии приводного вала 11 с частотой, соответствующей числу оборотов приводного вала 11 и, соответственно, конической чаши 1. При вибрационном вращении чаши 1 конические кольца 25 и 26 также совершают эллипсовидные колебательные движения, аналогично чаше, и далее передают импульсы движения щеточным роликам 24. Так как концы щеточных роликов 24 закреплены в конических кольцах 25 и 26 с возможностью свободного вращения, щеточные ролики 24 могут проворачиваться вокруг своей оси.
Пускают в работу дозатор 5, подающий материал с заданной производительностью в процесс концентрации. С дозатора 5 частицы материала с водой падают в воронку 15 загрузочного приспособления 6, а затем через осевой выход 16 поступают на диск 17, закрепленный посредством спиралевидных ребер 19 за днище конической чаши 1. Вращаясь вместе с чашей 1, диск 17 равномерно по всему периметру разбрасывает частицы материала с водой на внутреннюю ее поверхность, на которой размещен концентрационный элемент 3, выполненный в виде ребристого покрытия 4. Лучшему распределению частиц материала по поверхности концентрационного элемента 3 способствует конусообразная обечайка 20, закрепленная по периметру диска 17.
При поступлении на ребристое покрытие 4 концентрационного элемента 3 частицы материала за счет вибраций чаши 1 и действия центробежных сил расслаиваются в концентрическом слое материала в зависимости от их плотности и крупности. Более тяжелые и крупные частицы занимают периферийное положение в этом слое, а более легкие и мелкие частицы располагаются на поверхности этого слоя. Качественному расслоению материала способствуют щеточные ролики 24, которые разрыхляют слой материала в межреберных впадинах концентрационного элемента 3. Размеры кольцевого паза 27 и величина радиального зазора 28 определяют при этом амплитуду и характер движения щеточных роликов 24.
Потоком воды, движущимся в направлении перемещения частиц материала по концентрационному элементу 3, легкие и мелкие частицы материала транспортируются к разгрузочному приспособлению 7, выполненному в виде кольцеобразного желоба 21 с наклонным днищем 22. Через расположенный в нижней его части патрубок 23 легкая и мелкая фракция материала выводятся из аппарата.
Более тяжелые и крупные частицы, занимающие периферийное положение в слое материала, накапливаются в межреберных впадинах ребристого покрытия 4 концентрационного элемента 3. Их более эффективному накоплению способствует уклон ребер 14 вниз и наклон их в загрузочную сторону.
После накопления и заполнения тяжелой фракцией межреберного пространства концентрационного элемента 3 процесс концентрации прекращается и производится выгрузка тяжелой фракции из концентрационной чаши 1. Для этого чашу 1 останавливают и включают ее реверсивное вращение при малых оборотах. По наклонно расположенным ребрам 14 и межреберным впадинам тяжелая фракция при этом поступает через зазор 18 под диском 17 в осевое отверстии полого вала 2, а затем в концентратоприемник 8. Спиралевидность ребер 19 способствует быстрой выгрузке тяжелой фракции при обратном медленном вращении чаши 1 и ее вибрации.
Настройку и регулирование процесса концентрации осуществляют изменением величины и скорости подачи исходного питания и его плотности, изменением амплитуды и частоты вибрации конической чаши 1, изменением размеров и параметров работы щеточных роликов 24 и изменением конструктивных параметров концентрационного элемента 3, достигаемого использованием сменных комплектов с конструктивными различными элементами, в зависимости от характеристики обрабатываемого материала и его крупности.
Таким образом, предложенное техническое решение по сравнению с прототипом позволит за счет разработки технических элементов (деталей, узлов) и применения рациональных конструктивных решений существенно повысить удельную производительность аппарата и степень концентрации ценных компонентов.
Источники информации, принятые во внимание
1. Патент Российской Федерации №2234982 “Грохот-концентратор”/ М.Н.Злобин, Е.М.Злобин, А.М.Злобин. N 200210630503/03 от 11.03.2002, Бюл. 2005, N 4, (прототип).
Формула изобретения
Центробежный виброконцентратор, включающий установленную с возможностью вращения на полом вертикальном валу коническую чашу с концентрационным элементом в виде ребристого покрытия и диском, закрепленным с зазором за днище чаши, дозатор, загрузочное и разгрузочное приспособления, приспособление для подачи смывной воды, концентратоприемник, вибровозбудитель, коническая чаша с концентрационным элементом имеют возможность изменения частоты и амплитуды вибрации, концентрационный элемент выполнен в форме усеченного конуса с ребрами на внутренней поверхности, ребра имеют уклон вниз и наклон в загрузочную сторону, причем возможно изменение количества ребер, их высоты и углов наклона, концентрационный элемент и его ребристое покрытие выполнены износостойкими, отличающийся тем, что вибровозбудитель выполнен в виде поворотного эксцентрикового сочленения полого вертикального вала конической чаши с приводным валом подшипникового узла, в межреберных впадинах концентрационного элемента размещены щеточные ролики, концы которых закреплены в конических кольцах с возможностью свободного вращения вокруг своей оси, при этом верхнее кольцо подвижно закреплено в кольцевом пазу верхней кромки конической чаши, а нижнее кольцо с радиальным зазором свободно соприкасается с концентрационным элементом.
РИСУНКИ
|
|