|
|
(21), (22) Заявка: 2005128864/15, 19.09.2005
(24) Дата начала отсчета срока действия патента:
19.09.2005
(46) Опубликовано: 27.04.2007
(56) Список документов, цитированных в отчете о поиске:
SU 860847 А1, 07.09.1981. RU 2166987 C1, 20.05.2001. ЕР 0082908 A1, 06.07.1983. DE 1442687 А, 09.10.1969. JP 6142481 А, 24.05.1994.
Адрес для переписки:
141400, Московская обл., г. Химки, ул. Парковая, 12, кв.106, Л.С. Лазаренко
|
(72) Автор(ы):
Поляков Александр Алексеевич (LV), Полякова Эвелина Александровна (LV), Лазаренко Людмила Степановна (RU)
(73) Патентообладатель(и):
Поляков Александр Алексеевич (LV), Лазаренко Людмила Степановна (RU)
|
(54) СМЕСИТЕЛЬ-ДИСПЕРГАТОР
(57) Реферат:
Изобретение относится к области машиностроения, преимущественно энергетического и химического, и предназначено для получения стойких тонкодисперсных эмульсий. Смеситель-диспергатор содержит крыльчатку, статор и конусообразный ротор, выполненный в виде набора зубчатых дисков, между которыми установлены промежуточные диски. Рабочая поверхность зуба диска направлена в сторону вращения и лежит в плоскости, проходящей через ось диска. На боковой поверхности зубчатого диска, примыкающего к крыльчатке, со стороны входа обрабатываемой среды установлена рифленая шайба с рифлениями в виде прямоугольного треугольника. Технический результат состоит в повышении качества смешиваемых сред и уменьшении затрат энергии. 5 з.п. ф-лы, 10 ил., 4 табл.
Изобретение относится к области машиностроения, преимущественно энергетического и химического, и предназначено для получения тонкодисперсных стойких эмульсий. Оно может быть использовано для защиты окружающей среды путем подготовки к сжиганию не подлежащих регенерации сильнообводненных отходов нефтепродуктов. Может быть использовано также в пищевой промышленности при производстве соков, сметаны и т.д. при условии изготовления деталей из материалов, отвечающих требованиям пищевой промышленности.
Известны смесители-диспергаторы, предназначенные для этой цели, содержащие крыльчатку, ротор и статор конической формы, причем ротор выполнен в виде набора дисков с рабочей поверхностью зубчатой формы (Авт. св. СССР №860847, 1981 г., №611659, 1976 г.).
Однако в известных смесителях-диспергаторах рабочая поверхность не позволяет достаточно эффективно измельчать высоковязкие среды с плотными включениями.
Из известных устройств наиболее близким по технической сущности и достигаемому положительному эффекту является смеситель-диспергатор, который содержит статор и ротор, выполненный в виде зубчатых дисков, причем зубцы имеют форму равнобедренных треугольников с основанием у диска (Авт. св. СССР №424586, 1974 г.).
К недостаткам этого устройства следует отнести незначительную рабочую поверхность дисков и неэффективность ее использования: измельчение смешиваемых сред осуществляется малой поверхностью, а выполнение зубца в виде равнобедренного треугольника с основанием у диска не обеспечивает максимальную силу удара при измельчении плотных включений высоковязких сред, что приводит к повышенным затратам энергии (требуется многократное пропускание смеси через устройство).
Технической задачей, решаемой данным изобретением, является повышение качества смешиваемых сред и уменьшение затрат энергии.
Техническая задача достигается тем, что в смесителе-диспергаторе, содержащем крыльчатку, статор и конусообразный ротор, выполненный в виде набора зубчатых дисков, между которыми установлены промежуточные диски, рабочая поверхность зуба диска направлена в сторону вращения и лежит в плоскости, проходящей через ось диска, при этом на боковой поверхности зубчатого диска, примыкающего к крыльчатке, со стороны входа обрабатываемой среды установлена рифленая шайба с рифлениями в виде прямоугольного треугольника.
Зубья зубчатого диска отогнуты от плоскости диска на угол 20-40°, причем каждый последующий зуб отогнут в сторону, противоположную предыдущему.
Каждый диск выполнен в виде двух пластин, зубья каждой из которых отогнуты в противоположные стороны.
Зубья одной пластины диска смещены по отношению к зубьям другой пластины на половину шага между зубьями.
Рабочая поверхность каждого рифления составляет угол 90° с поверхностью шайбы, а высота их составляет не более половины толщины шайбы, при этом рифления выполнены по радиусу, проходящему через ось вращения диска.
Наружный диаметр рифленой шайбы равен диаметру, на котором расположено основание зуба зубчатого диска, а внутренний диаметр шайбы равен наружному диаметру промежуточного диска.
Авторам не известны технические решения, имеющие признаки, сходные с отличительными признаками заявляемого решения.
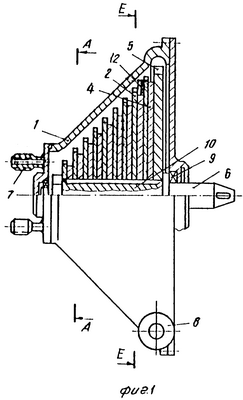
На фиг.1 изображен смеситель-диспергатор в разрезе, общий вид; на фиг.2 – сечение А-А на фиг.1 (диск плоский); на фиг.3 – вариант выполнения смесителя-диспергатора (зубья отогнуты от плоскости диска); на фиг.4 – общий вид смесителя-диспергатора с дисками в виде двух пластин; на фиг.5 – сечение Б-Б на фиг.4 (зубья обеих пластин диска установлены идентично с шагом t между зубьями); на фиг.6 – вариант выполнения (зубья одной пластины диска смещены по отношению к зубьям другой пластины на величину t/2 – половину шага между зубьями); на фиг.7 – вид по стрелке В на фиг.3; на фиг.8 – вид по стрелке Г на фиг.6; на фиг.9 – сечение Е-Е смесителя-диспергатора (рифленая шайба); на фиг.10 – сечение К-К рифленой шайбы (сечение развернуто).
Смеситель-диспергатор (см. фиг.1, 2) состоит из статора 1, набора дисков 2 с зубьями 3 и установленных между ними промежуточных дисков 4 и крыльчатки 5. Набор дисков 2 и 4 и крыльчатка 5 установлены на валу 6. Входная часть статора содержит приемные штуцера 7, а выходная – выходной патрубок 8. Вал ротора вращается в подшипниках 9. Диски 2 образуют конический ротор 10. Рабочая поверхность 11 зубьев 3 направлена в сторону вращения и лежит в плоскости S, проходящей через ось диска 2. Рифленая шайба 12 установлена на боковой поверхности рабочего диска, примыкающего к крыльчатке 5 через промежуточный диск 4.
Диски могут быть выполнены плоскими, как представлено на фиг.3, 7, зубья 3 на дисках отогнуты от плоскости на угол 20-40°, причем каждый последующий зуб отогнут в сторону, противоположную предыдущему.
На фиг.4 показан такой же, как и на фиг.1 (обозначения идентичны), смеситель-диспергатор, однако каждый диск выполнен из двух пластин 13. Здесь диски могут быть выполнены таким образом, что зубья обеих пластин 13 диска 2 или отогнуты в противоположные стороны (см. фиг.5), или (см. фиг.6) зубья 3 обеих пластин 13 диска 2 также отогнуты в противоположные стороны, но зубья 3 одной пластины 13 диска 2 смещены по отношению к зубьям 3 второй пластины 13 на половину шага t/2. На фиг.9 и 10 показано расположение рифленой шайбы 12 на диске 2.
Устройство работает следующим образом.
Через штуцера 7 в смеситель-диспергатор подаются подвергаемые смешению и измельчению среды. Проходя через смеситель посредством зубьев 3, среды перемешиваются, крупные включения разбиваются в мелкие, а затем по мере продвижения к выходу измельчаются до микронных размеров. Качественному измельчению способствует то, что рабочая поверхность 11 зубьев 3 лежит в плоскости S, проходящей через ось вращения диска, а в этом случае плотные включения высоковязких сред разбиваются с наибольшей силой и эффективностью. Кроме измельчения эмульсии за счет зубчатых выступов, происходит и значительное измельчение среды за счет ударного эффекта от выступов рифлений шайб 12, поскольку рабочая поверхность рифлений выполнена по радиусу, проходящему через ось вращения диска (удар максимален по силе). Одновременно часть жидкости движется по рифлениям от центра к периферии за счет центробежных сил, т.е. рифления обеспечивают насосный эффект (производительность устройства растет). Выход эмульсии осуществляется через выходной патрубок 8.
Качественная картина смешения и диспергирования сред наблюдалась на модельной экспериментальной установке с приводом от электродвигателя постоянного тока с изменением числа оборотов. Статор экспериментального смесителя-диспергатора выполнен из оргстекла (прозрачный). Для наблюдения за течением сред использовался стробоскоп СШ-2. Проведенные наблюдения показали, что в смесителе-диспергаторе с дисками, зубья которых выполнены таким образом, что их рабочая поверхность лежит в плоскости, проходящей через ось вращения диска, и направлена в сторону вращения, кавитационный эффект возникает значительно раньше, чем при вращении ротора этого устройства в противоположную сторону или в смесителе-диспергаторе с дисками, зубья которых выполнены в виде равнобедренного треугольника с основанием у диска. Проведенные наблюдения показали также, что при отклонении зубьев от плоскости дисков объем подвергаемой обработке на зубьях среды увеличивается (в определенном диапазоне углов отклонения зубьев).
Характеристики предлагаемого объекта определялись на заводском испытательном стенде. Сопоставление их проводилось с характеристиками базового объекта, в качестве которого использовался выпускаемый предприятием ОРИОНТ НПО «Силава» (г.Рига) «Роторный эмульсатор» (ТУ 56-27-005-87), зубья дисков которого выполнены как у прототипа. На стенде определялись (известным способом) затрачиваемая мощность при обработке смешиваемых сред (мазут 40+20% воды), а также качество эмульсии при одно- и двукратной обработке среды в смесителе-диспергаторе. Определение качества эмульсии производилось на микроскопе Мби-1 в проходящем свете по величине глобул воды в эмульсии.
Известно, что при размере капель воды в эмульсии более 10 мкм резко возрастает износ топливной аппаратуры, и нарушения в работе топливной аппаратуры (износ, коррозия) исключаются при размере капель воды в эмульсии менее 5 мкм.
Пример 1. Производилось смешивание сред (мазут 40+20% воды) в роторном эмульсаторе (базовый объект) и в смесителе-диспергаторе (предлагаемый объект) при одно- и двукратной циркуляции, причем в смесителе-диспергаторе установлены диски с зубьями, выполненными таким образом, что их рабочая поверхность лежит в плоскости, проходящей через ось вращения диска; вращение диска ротора производилось таким образом, чтобы рабочая поверхность зубьев была направлена в сторону вращения, а также в противоположном направлении. Известным способом (измерялись сила тока и напряжение на электродвигатель) определялись затраты энергии на приготовление эмульсии и ее качество по величине глобул воды и эмульсии. Результаты сведены в таблицу 1.
Как видно из таблицы, для приготовления качественной эмульсии в заявляемом объекте (поверхность зуба направлена в сторону вращения) достаточно однократной обработки смешиваемых сред, т.е. затраты энергии уменьшены приблизительно на 50%, при этом качество эмульсии (по среднему размеру капель) выросло в два раза.
Пример 2. В предлагаемом смесителе-диспергаторе установлены диски, зубья которых выполнены таким образом, что их рабочая поверхность лежит в плоскости, проходящей через ось вращения диска. В наборе дисков зубья отгибались от плоскости диска на угол от 0° до 50°, причем каждый последующий зуб отогнут в сторону, противоположную предыдущему. Определялось качество эмульсии. Результаты сведены в таблицу 2.
Как видно из таблицы, наиболее качественная эмульсия получается при обработке смешиваемых сред с дисками, зубья которых отклонены от плоскости диска на 20-40°: более 90% эмульсии менее 5 мкм, причем количество эмульсии менее 1 мкм увеличилось на 5-25% по сравнению с неотклоненными зубьями.
Пример 3. В предлагаемом смесителе-диспергаторе установлены диски, зубья которых отклонены на угол 30°, причем каждый последующий зуб отогнут в сторону, противоположную предыдущему – случай I, диски выполнены в виде двух пластин, зубья каждой из которых отведены в противоположные стороны на угол 30° – случай II; диски выполнены в виде двух пластин, зубья каждой из которых отведены в противоположные стороны на угол 30°, но зубья одной пластины диска смещены по отношению к зубьям второй пластины на половину шага между зубьями – случай III. Определялось качество эмульсии. Результаты сведены в таблицу 3.
Как видно из таблицы, выполнение диска из двух пластин с отогнутыми зубьями повышает качество эмульсии; одновременно это упрощает технологию изготовления дисков (например, изготовление штамповкой).
Пример 4. Производилось смешивание сред (мазут 40+20% воды) в смесителе-диспергаторе (заявляемый объект без рифленых шайб) и в смесителе-диспергаторе (заявляемый объект с рифлеными шайбами) при двукратной циркуляции.
Измерялись сила тока и напряжение на электродвигателе, определялись затраты энергии на приготовление эмульсии и ее качество по величине глобул воды в эмульсии. Производительность определялась объемным методом. Результаты сведены в таблицу 4.
Как видно из таблицы, при использовании рифленых шайб у заявляемого объекта незначительно увеличилась затрачиваемая мощность, сохранилось то же высокое качество, но увеличилась производительность (увеличение производительности почти на 16%).
Предлагаемый смеситель-диспергатор по сравнению с прототипом является более экономичным (уменьшаются затраты энергии почти на 50%) и обеспечивает более качественную эмульсию (средний размер капель уменьшился более чем в два раза) за счет оптимальной формы зубьев, их рационального расположения и использования рифленой шайбы.
| Таблица 1. |
| |
Базовый объект |
Предлагаемый объект |
| 1-кратная обработка |
2-кратная обработка |
Поверхность зуба направлена в сторону вращения |
Вращение в обратном направлении |
| 1-кратная обработка |
2-кратная обработка |
1-кратная обработка |
2-кратная обработка |
| Затрачиваемая мощность, кВт |
5,0 |
5,0 |
5,03 |
5,03 |
4,95 |
4,95 |
| Величина глобул эмульсии, мкм |
15-30 |
5-15 |
менее 5 |
менее 5 |
12-30 |
5-15 |
| Таблица 2. |
| Угол отклонения зуба, ° |
Количество глобул воды, % |
| 1 мкм и менее |
1-5 мкм |
5-10 мкм |
| 0 |
30 |
50 |
20 |
| 10 |
35 |
50 |
15 |
| 20 |
43 |
50 |
7 |
| 30 |
55 |
40 |
5 |
| 40 |
40 |
53 |
7 |
| 50 |
30 |
50 |
20 |
| Таблица 3. |
| Вид диска |
Количество глобул воды, % |
| 1 мкм и менее |
1-5 мкм |
5-10 мкм |
| I |
55 |
40 |
5 |
| II |
57 |
38 |
5 |
| III |
60 |
38 |
2 |
| Таблица 4. |
| |
Затрачиваемая мощность, кВт |
Производительность, м3/ч |
Величина глобул эмульсии |
| мкм |
% |
| Заявляемый объект без рифленой шайбы |
5,03 |
10,0 |
менее 5 |
80 |
| Заявляемый объект с рифленой шайбой |
5,05 |
11,9 |
менее 5 |
82 |
Формула изобретения
1. Смеситель-диспергатор, содержащий крыльчатку, статор и конусообразный ротор, выполненный в виде набора зубчатых дисков, между которыми установлены промежуточные диски, отличающийся тем, что рабочая поверхность зуба диска направлена в сторону вращения и лежит в плоскости, проходящей через ось диска, при этом на боковой поверхности зубчатого диска, примыкающего к крыльчатке, со стороны входа обрабатываемой среды установлена рифленая шайба с рифлениями в виде прямоугольного треугольника.
2. Смеситель-диспергатор по п.1, отличающийся тем, что зубья зубчатого диска отогнуты от плоскости диска на угол 20-40°, причем каждый последующий зуб отогнут в сторону, противоположную предыдущему.
3. Смеситель-диспергатор по п.1 или 2, отличающийся тем, что каждый диск выполнен в виде двух пластин, зубья каждой из которых отогнуты в противоположные стороны.
4. Смеситель-диспергатор по п.1 или 2, отличающийся тем, что зубья одной пластины диска смещены по отношению к зубьям другой пластины на половину шага между зубьями.
5. Смеситель-диспергатор по п.1, отличающийся тем, что рабочая поверхность каждого рифления составляет угол 90° с поверхностью шайбы, а высота их составляет не более половины толщины шайбы, при этом рифления выполнены по радиусу, проходящему через ось вращения диска.
6. Смеситель-диспергатор по п.1, отличающийся тем, что наружный диаметр рифленой шайбы равен диаметру, на котором расположено основание зуба зубчатого диска, а внутренний диаметр шайбы равен наружному диаметру промежуточного диска.
РИСУНКИ
|
|