|
|
(21), (22) Заявка: 2005135687/15, 17.11.2005
(24) Дата начала отсчета срока действия патента:
17.11.2005
(46) Опубликовано: 27.04.2007
(56) Список документов, цитированных в отчете о поиске:
RU 29861 U1, 10.06.2003. RU 2217218 С2, 27.11.2003. AT 365474 В, 25.01.1982. JP 59032915 A, 22.02.1984.
Адрес для переписки:
390025, г.Рязань, ул. Щорса, 38/11, ГНУ ВНИМС, патентное бюро
|
(72) Автор(ы):
Буробин Вячеслав Николаевич (RU), Синяков Александр Григорьевич (RU)
(73) Патентообладатель(и):
Государственное научное учреждение Всероссийский научно-исследовательский институт механизации агрохимического и материально-технического обеспечения сельского хозяйства (RU)
|
(54) УСТРОЙСТВО ДЛЯ ОЧИСТКИ ВОЗДУХА
(57) Реферат:
Изобретение относится к воздухоочистительным устройствам, в частности к устройствам для очистки от пылевидных частиц транспортирующего воздуха пневмотранспортных установок. Устройство содержит корпус с бункером, патрубки для входа загрязненного и выхода очищенного воздуха, фильтрующий элемент и механизм его регенерации, который размещен на фильтрующем элементе и выполнен в виде шнека. Фильтрующий элемент выполнен в виде параллельно натянутых струн. Шнек установлен на приводном валу с возможностью углового и осевого перемещений относительно вала посредством коаксиально расположенных на нем винтовых пружин, одни концы которых закреплены на приводном валу, а другие – на цилиндрической обечайке шнека. Устройство снабжено приспособлением принудительных колебаний шнека. Приспособление принудительных колебаний шнека содержит упорную пластину, установленную на торцовой поверхности опорного элемента цилиндрической обечайки шнека под углом к ней, и ролик, закрепленный на раме подшипниковой опоры устройства с возможностью взаимодействия с упорной пластиной. Упорная пластина выполнена с возможностью установочного изменения угла а, установлена на шарнире и зафиксирована нажимной планкой. Ролик выполнен с возможностью установочного перемещения вдоль приводного вала шнека. Для этого в резьбовой втулке установлен толкатель ролика. Технический результат: улучшение эксплуатационно-технологических характеристик. 1 з.п. ф-лы, 5 ил.
Изобретение относится к воздухоочистительным устройствам, в частности к устройствам для очистки от пылевидных частиц транспортирующего воздуха пневмотранспортирующих установок.
Известны фильтрующие элементы, выполненные в виде проволоки, намотанной на каркас, который изготовлен в виде полого цилиндра (авт. свид. СССР №455739, кл. B 01 D 25/10, 1972).
Недостатком такого устройства является постепенное забивание пылевидными частицами рабочей поверхности фильтрующего элемента в процессе работы, а очистка возможна после прекращения работы.
Известно также устройство для очистки воздуха, включающее корпус с бункером, фильтрующий элемент, установленный в корпусе и соединенный с фильтрующим элементом механизм его регенерации (патент ФРГ №1607722, кл. B 01 D 46/44, 1974).
Недостатком этого устройства является неравномерность очистки фильтровального элемента от осевшей на его поверхности пыли, так как механизм регенерации не обеспечивает равномерного импульса встряхивания по всей фильтрующей поверхности, и, кроме того, ударная нагрузка способствует к быстрому выходу из строя элементов конструкции.
Известно устройство для очистки воздуха, включающее корпус с бункером, фильтрующий элемент, установленный в корпусе и соединенный с фильтрующим элементом механизм его регенерации, при этом механизм регенерации размещен на фильтрующем элементе и выполнен в виде закрепленного на приводном валу шнека, а фильтрующий элемент выполнен в виде струн (авт. свид. СССР №741914, кл. B 01 D 46/42, 1976).
Однако в таком устройстве при симметричности прогиба струн фильтрующего элемента относительно продольной оси шнека структура движения воздушного потока носит стационарный характер, что не является оптимально возможным условием для качественной очистки от пылевидных частиц воздуха при пневмотранспортировании.
Наиболее близким к изобретению по технической сущности и достигаемому результату является устройство для очистки воздуха, включающее корпус с бункером, фильтрующий элемент, установленный в корпусе и соединенный с фильтрующим элементом механизм его регенерации, при этом механизм регенерации размещен на фильтрующем элементе и выполнен в виде закрепленного на приводном валу шнека, а фильтрующий элемент выполнен в виде струн, шнек установлен на приводном валу посредством коаксиально расположенных на нем винтовых пружин, одни концы которых закреплены соответственно на приводном валу, а другие – на цилиндрической обечайке шнека, и привод с приспособлением сообщения шнеку принудительных колебаний (Полезная модель RU №29861, кл. B 01 D 46/42, 2002).
Наличие упругой связи шнека с приводным валом обеспечивает вибрационно-активное колебательное движение шнека и силовое поле воздействия его спиральных витков на поверхность фильтрующего элемента и, следовательно, достаточно удовлетворительную очистку воздуха от пылевидных частиц материала при пневмотранспортировании.
Однако в данном схемно-конструктивном решении устройства интенсивность фазовых колебаний шнека относительно невелика, при этом механизм осевого перемещения шнека не позволяет устанавливать требуемую среднюю гарантированную амплитуду колебаний, оптимальную для данного вида транспортируемого материала.
Задача, на решение которой направлено изобретение, – повышение эксплуатационно-технологических характеристик устройства для очистки воздуха путем обеспечения гарантированных колебаний шнека и регулировки их установочных параметров.
Поставленная задача достигается тем, что в устройстве для очистки воздуха, включающем корпус с бункером, фильтрующий элемент, установленный в корпусе и соединенный с фильтрующим элементом механизм его регенерации, при этом механизм регенерации размещен на фильтрующем элементе и выполнен в виде закрепленного на приводном валу шнека, а фильтрующий элемент выполнен в виде струн, шнек установлен на приводном валу посредством коаксиально расположенных на нем винтовых пружин, одни концы которых закреплены соответственно на приводном валу, а другие – на цилиндрической обечайке шнека, и привод с приспособлением сообщения шнеку принудительных колебаний, согласно изобретению приспособление сообщения шнеку принудительных колебаний выполнено в виде упорной пластины, установленной на торцовой поверхности опорного элемента цилиндрической обечайке шнека под углом к ней, и ролика, закрепленного на раме подшипниковой опоры с возможностью взаимодействия с упорной пластиной. Упорная пластина выполнена с возможностью установочного изменения угла по отношению к торцовой поверхности опорного элемента цилиндрической обечайке шнека, а ролик выполнен с возможностью установочного перемещения вдоль вала шнека.
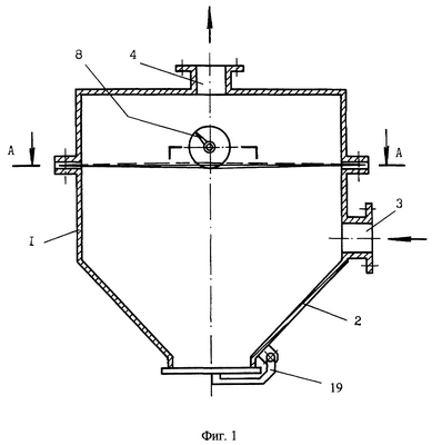
На фиг.1 изображено предлагаемое устройство, общий вид; на фиг.2 дан разрез А-А на фиг.1; на фиг.3 – сечение Б-Б на фиг.2; на фиг.4 – место С на фиг.2; на фиг.5 – сечение В-В на фиг.4.
Устройство состоит из корпуса 1 с бункером 2, патрубков 3 и 4 соответственно входа загрязненного и выхода очищенного воздуха, фильтрующего элемента 5, перекрывающего сечение корпуса между входным и выходным патрубками. Фильтрующий элемент выполнен в виде параллельно натянутых струн на каркас 6, который закреплен в стенках корпуса. На фильтрующем элементе в опорных подшипниковых узлах установлен механизм регенерации, выполненный в виде приводного вала 7 с размещенным на нем шнеком 8. Причем вал со шнеком установлен на фильтрующем элементе так, что наружный диаметр шнека продавливает струны на некоторую величину вниз.
Шнек 8 установлен на приводном валу 7 с возможностью углового и осевого перемещений относительно вала 7 посредством коаксиально расположенных на нем разнонаправленных цилиндрических винтовых пружин 9 растяжения-сжатия, внутренние концы которых закреплены на втулках 10, установленных на валу 7 посредством скользящего соединения «шпонка-паз» с возможностью перемещения вдоль него. Наружные концы пружин 9 жестко укреплены посредством присоединительных элементов 11 на цилиндрической обечайке шнека 8, свободно охватывающей приводной вал 7.
Шнек 8 снабжен приспособлением сообщения ему принудительных колебаний. Приспособление сообщения принудительных колебаний шнеку содержит упорную пластину 12, установленную на торцовой поверхности опорного элемента 13, цилиндрической обечайке шнека, под углом к ней, и ролик 14, закрепленный на раме подшипниковой опоры устройства с возможностью взаимодействия с упорной пластиной 12. Упорная пластина 12 выполнена с возможностью установочного изменения угла , установлена на шарнире 15 и зафиксирована нажимной планкой 16. Ролик 14 выполнен с возможностью установочного перемещения вдоль приводного вала 7 шнека 8. Для этого в резьбовой втулке 17 установлен толкатель 18 ролика 14.
В бункере установлено разгрузочное устройство 19, выполненное, например, в виде обратного клапана.
Устройство для очистки воздуха работает следующим образом.
В рабочем режиме очистки воздуха вращение вала 7 с установленным на нем шнеком 8 осуществляется от шестерни 20 привода. При одном обороте вращающегося вала каждая из натянутых струн один раз отжимается вниз от плоскости общего ряда при набегании соответствующей линии винтовой поверхности шнека 8. Толщина и шаг винтовой поверхности шнека 8 определяют количество отжатых струн, а частота вращения соответственно определяет их частоту колебаний. Таким образом, фильтрующий элемент 5 приобретает волнообразное движение.
При вращении шнека 8 наклонная упорная пластина 12, вращаясь вместе с ним по стрелке Г, плавно входит в контакт с роликом 14, который, оставаясь неподвижным, свободно вращается на своей оси, перекатываясь по наклонной рабочей плоскости пластины 12, отжимая (перемещая) последнюю вместе со шнеком на величину хода Н в направлении стрелки Д, что проявляется в осевой и угловой (окружной) деформации (возбуждениях) пружин 9.
При сходе (соскоке) вращающийся в направлении стрелки Г упорной пластины 12 с ролика 14 происходят резкие автоколебания шнека в осевом – с амплитудой ± и в окружном (угловом) – с амплитудой ± направлениях относительно вала 7 под действием ранее возбужденных (деформированных) пружин 9, стремящихся возвратиться в исходное состояние динамического равновесия.
Автоколебательный процесс шнека является незатухающим, так как за каждый полный оборот принудительное возбуждение пружин повторяется по указанной схеме.
Сложные пространственные траектории колебательных движений шнека, пульсирующие силовые воздействия и геометрические условия контактирования его винтовой поверхности с фильтрующим элементом в свою очередь формируют широкий спектр колебаний струн, изгибные волны которых характеризуются большими вариациями амплитуд и частот этих колебаний, быстрыми их изменениями. Загрязненный воздух, подаваемый во входной патрубок 3, проходит через фильтрующий элемент 5, очищается вследствие неоднократного изменения направления воздушного потока.
При осциллирующем (колебательном) процессе движения шнека в осевом и угловом направлениях одновременно многократное изменение формы и фронта волны фильтрующей поверхности за короткий промежуток времени создают дополнительные пульсирующие скорости воздушного потока и давления воздуха, что способствует более эффективному и качественному выполнению операции очистки запыленного воздуха. Очищенный воздух из корпуса выходит через выходной патрубок 4. Осаждающиеся в бункере 2 частицы могут выгружаться любым известным способом, периодически, по мере накопления, при открывании обратного клапана 19.
Вибрационно-колебательный режим движения шнека носит самопроизвольный, т.е. без наличия каких-либо специальных энергетических приводов, характер с регулируемыми первоначальными амплитудами ( и ) колебаний. Резкие большой частоты колебания шнека одновременно в двух направлениях обеспечивают соответствующую высокую активную подвижность его спиральных витков в зоне контакта с фильтрующей поверхностью и, следовательно, и хорошую самоочистку струн от сильно адгезированных с ними частиц материала.
Изменение деформации пружин, то есть обеспечение первоначальной гарантированной амплитуды колебания шнеку 8, осуществляется регулировкой угла наклона пластины 12 и поворотом толкателя 18 относительно резьбовой втулки 17, то есть регулировкой хода Н шнека.
Предлагаемое техническое решение просто в конструктивном исполнении и при использовании улучшает эксплуатационно-технологические характеристики устройства для очистки воздуха.
Формула изобретения
1. Устройство для очистки воздуха, включающее корпус с бункером, фильтрующий элемент, установленный в корпусе и соединенный с фильтрующим элементом механизм его регенерации, при этом механизм регенерации размещен на фильтрующем элементе и выполнен в виде закрепленного на приводном валу шнека, а фильтрующий элемент выполнен в виде струн, шнек установлен на приводном валу посредством коаксиально расположенных на нем винтовых пружин, одни концы которых закреплены соответственно на приводном валу, а другие – на цилиндрической обечайке шнека, и привод с приспособлением сообщения шнеку принудительных колебаний, отличающееся тем, что приспособление сообщения шнеку принудительных колебаний выполнено в виде упорной пластины, установленной на торцовой поверхности опорного элемента цилиндрической обечайки шнека под углом к ней, и ролика, закрепленного на раме подшипниковой опоры с возможностью взаимодействия с упорной пластиной.
2. Устройство по п.1, отличающееся тем, что упорная пластина выполнена с возможностью установочного изменения угла по отношению к торцовой поверхности опорного элемента цилиндрической обечайки шнека, а ролик выполнен с возможностью установочного перемещения вдоль оси шнека.
РИСУНКИ
MM4A – Досрочное прекращение действия патента СССР или патента Российской Федерации на изобретение из-за неуплаты в установленный срок пошлины за поддержание патента в силе
Дата прекращения действия патента: 18.11.2007
Извещение опубликовано: 27.07.2009 БИ: 21/2009
|
|