|
|
(21), (22) Заявка: 2005135685/15, 17.11.2005
(24) Дата начала отсчета срока действия патента:
17.11.2005
(46) Опубликовано: 27.04.2007
(56) Список документов, цитированных в отчете о поиске:
RU 29861 U1, 10.06.2003. RU 2217218 С2, 27.11.2003. AT 365474 В, 25.01.1982. JP 59032915 А, 22.02.1984.
Адрес для переписки:
390025, г.Рязань, ул. Щорса, 38/11, ГНУ ВНИМС, патентное бюро
|
(72) Автор(ы):
Буробин Вячеслав Николаевич (RU), Синяков Александр Григорьевич (RU)
(73) Патентообладатель(и):
Государственное научное учреждение Всероссийский научно-исследовательский институт механизации агрохимического и материально-технического обеспечения сельского хозяйства (RU)
|
(54) УСТРОЙСТВО ДЛЯ ОЧИСТКИ ВОЗДУХА
(57) Реферат:
Изобретение относится к воздухоочистительным устройствам, в частности к устройствам для очистки от пылевидных частиц транспортирующего воздуха пневмотранспортных установок. Устройство содержит корпус с бункером, патрубки для входа загрязненного и выхода очищенного воздуха, фильтрующий элемент и механизм его регенерации, который размещен на фильтрующем элементе и выполнен в виде шнека. Фильтрующий элемент выполнен в виде параллельно натянутых струн. Шнек установлен на приводном валу посредством коаксиально расположенных на нем винтовых пружин. Каждая пружина закреплена одним концом на валу, а другим – на цилиндрической обечайке шнека. Шнек снабжен приспособлением возвратно-поступательного перемещения, выполненным в виде ступенчатого кулачка и ролика с регулируемым упором. Упор установлен на раме подшипниковой опоры с возможностью периодического взаимодействия ролика с кулачком, который закреплен на опорном элементе шнека. Технический результат: улучшение эксплуатационно-технологических характеристик устройства. 6 ил.
Изобретение относится к воздухоочистительным устройствам, в частности к устройствам для очистки от пылевидных частиц транспортирующего воздуха пневмотранспортирующих установок.
Известны фильтрующие элементы, выполненные в виде проволоки, намотанной на каркас, который изготовлен в виде полого цилиндра (авт. свид. СССР №455739, кл. B01D 25/10, 1972).
Недостатком такого устройства является постепенное забивание пылевидными частицами рабочей поверхности фильтрующего элемента в процессе работы, а очистка возможна после прекращения работы.
Известно также устройство для очистки воздуха, включающее корпус с бункером, фильтрующий элемент, установленный в корпусе и соединенный с фильтрующим элементом механизм его регенерации (патент ФРГ №1607722, кл. B01D 46/44, 1974).
Недостатком этого устройства является неравномерность очистки фильтровального элемента от осевшей на его поверхности пыли, так как механизм регенерации не обеспечивает равномерного импульса встряхивания по всей фильтрующей поверхности и, кроме того, ударная нагрузка способствует к быстрому выходу из строя элементов конструкции.
Известно устройство для очистки воздуха, включающее корпус с бункером, фильтрующий элемент, установленный в корпусе и соединенный с фильтрующим элементом механизм его регенерации, при этом механизм регенерации размещен на фильтрующем элементе и выполнен в виде закрепленного на приводном валу шнека, а фильтрующий элемент выполнен в виде струн (авт. свид. СССР №741914, кл. B01D 46/42, 1976).
Однако в таком устройстве при симметричности прогиба струн фильтрующего элемента относительно продольной оси шнека, структура движения воздушного потока носит стационарный характер, что не является оптимально возможным условием для качественной очистки от пылевидных частиц воздуха при пневмотранспортировании.
Наиболее близким к изобретению по технической сущности и достигаемому результату является устройство для очистки воздуха, включающее корпус с бункером, фильтрующий элемент, установленный в корпусе, и соединенный с фильтрующим элементом механизм его регенерации, при этом механизм регенерации размещен на фильтрующем элементе и выполнен в виде закрепленного на приводном валу шнека, а фильтрующий элемент выполнен в виде струн, шнек установлен на приводном валу посредством коаксиально расположенных на нем винтовых пружин, одни концы которых закреплены соответственно на приводном валу, а другие – на цилиндрической обечайке шнека, и привод с приспособлением сообщения шнеку принудительных колебаний (Полезная модель RU №29861, кл. B01D 46/42, 2002).
Наличие упругой связи шнека с приводным валом обеспечивает вибрационно-активное колебательное движение шнека и силовое поле воздействия его спиральных витков на поверхность фильтрующего элемента и, следовательно, достаточно удовлетворительную очистку воздуха от пылевидных частиц материала при пневмотранспортировании.
Однако в данном схемно-конструктивном решении устройства интенсивность фазовых колебаний шнека относительно невелика, при этом механизм осевого перемещения шнека не позволяет устанавливать требуемую среднюю гарантированную амплитуду колебаний, оптимальную для данного вида транспортируемого материала.
Задача, на решение которой направлено изобретение, – повышение эксплуатационно-технологических характеристик устройства для очистки воздуха путем обеспечения гарантированных колебаний шнека и регулировки их установочных параметров.
Поставленная задача достигается тем, что в устройстве для очистки воздуха, включающем корпус с бункером, фильтрующий элемент, установленный в корпусе, и соединенный с фильтрующим элементом механизм его регенерации, при этом механизм регенерации размещен на фильтрующем элементе и выполнен в виде закрепленного на приводном валу шнека, а фильтрующий элемент выполнен в виде струн, шнек установлен на приводном валу посредством коаксиально расположенных на нем винтовых пружин, одни концы которых закреплены соответственно на приводном валу, а другие – на цилиндрической обечайке шнека, и привод с приспособлением сообщения шнеку принудительных колебаний, согласно изобретению приспособление сообщения шнеку принудительных колебаний выполнено в виде ступенчатого кулачка и регулируемого упора, причем последний установлен на раме подшипниковой опоры с возможностью периодического взаимодействия с кулачком, который закреплен на торце опорного элемента цилиндрической обечайке шнека.
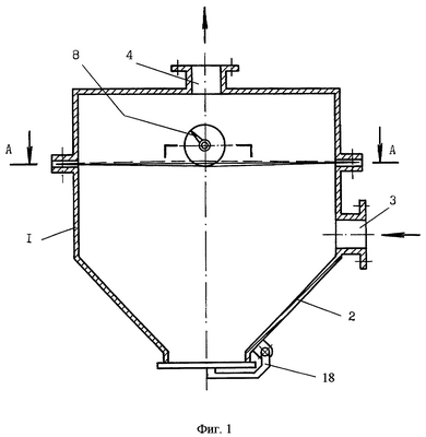
На фиг.1 изображено предлагаемое устройство, общий вид; на фиг.2 дан разрез А-А на фиг.1; на фиг.3 – сечение Б-Б на фиг.2; на фиг.4 – вид В на фиг.2 (схема последовательности кинематического взаимодействия ступенчатого кулачка с упором – а, б, в, г); на фиг.5 – то же (конструктивное исполнение кинематической пары кулачок – упор); на фиг.6 – вид Г на фиг.5.
Устройство состоит из корпуса 1 с бункером 2, патрубков 3 и 4 соответственно входа загрязненного и выхода очищенного воздуха, фильтрующего элемента 5, перекрывающего сечение корпуса между входным и выходным патрубками. Фильтрующий элемент выполнен в виде параллельно натянутых струн на каркас 6, который закреплен в стенках корпуса. На фильтрующем элементе в опорных подшипниковых узлах установлен механизм регенерации, выполненный в виде приводного вала 7 с размещенным на нем шнеком 8. Причем вал со шнеком установлен на фильтрующем элементе так, что наружный диаметр шнека продавливает струны на некоторую величину вниз.
Шнек 8 установлен на приводном валу 7 с возможностью углового и осевого перемещений относительно вала 7 посредством коаксиально расположенных на нем разнонаправленных цилиндрических винтовых пружин 9 растяжения – сжатия, внутренние концы которых закреплены на опорных втулках 10, установленных на валу 7 посредством скользящего соединения «шпонка-паз» с возможностью перемещения вдоль него. Внешние концы пружин 9 жестко укреплены посредством присоединительных элементов 11 на цилиндрической обечайке шнека 8, свободно охватывающей приводной вал 7.
На опорном элементе 12 цилиндрической обечайки шнека 8 укреплен (фиг.4 и 5) ступенчатый кулачок 13, рабочая поверхность 14 которого имеет участки подъема и резкого обрыва. При вращении шнека кулачок 13 периодически находится в кинематическом взаимодействии с роликом 15 винтового упора 16, расположенного в резьбовой опоре 17, укрепленной на раме подшипниковой опоры устройства.
В бункере установлено разгрузочное устройство 18, выполненное, например, в виде обратного клапана.
Устройство для очистки воздуха работает следующим образом.
В рабочем режиме очистки воздуха вращение вала 7 с установленным на нем шнеком 8 осуществляется от шестерни 19 привода. При одном обороте вращающегося вала каждая из натянутых струн один раз отжимается вниз от плоскости общего ряда при набегании соответствующей линии винтовой поверхности шнека 8. Толщина и шаг винтовой поверхности шнека 8 определяют количество отжатых струн, а частота вращения соответственно определяет их частоту колебаний. Таким образом, фильтрующий элемент 5 приобретает волнообразное движение.
Ступенчатый кулачок 13, вращаясь вместе со шнеком 8, своей наклонной рабочей поверхностью 14 входит в контакт с роликом 15 неподвижного винтового упора 16. При этом первоначальный зазор S между роликом 15 (фиг.4а) и торцом опорного элемента 12 шнека начинает увеличиваться и достигает своего максимального значения (С+S, фиг.4в) в момент, предшествующий сходу (соскоку) кулачка 13 с ролика 15. Это происходит вследствие того, что ролик 15 неподвижного упора 16, перекатываясь по наклонному участку 14 кулачка 13, отжимает его вместе со шнеком 8, свободно перемещающимся вдоль приводного вала 7 (в направлении стрелки К) влево (фиг.4б, в). При этом левая пружина 9 испытывает деформацию сжатия, а правая – растяжения. Одновременно обе пружины 9 закручиваются (на участке контакта кинематической пары кулачок 13 – упор 16) на угол (фиг.3) при непрерывном вращении шнека 8.
Это фазовое закручивание обусловлено возникновением в зоне силового контакта ролика 15 с поверхностью 14 кулачка 13 силы нормального давления N (фиг.5), которая геометрически интерпретируется в осевую Р и тангенциальную Т силовые составляющие. Осевая составляющая Р, деформируя пружины 9 (сжимая) вдоль вала 7, одновременно перемещает шнек 8 в том же направлении (стрелка К, фиг.4б, в), а тангенциальная силовая составляющая Т способствует закручиванию обеих пружин 9 на вышеупомянутый угол .
При сходе (соскоке) вращающегося кулачка 13 с ролика 15 неподвижного упора 16 (фиг.4в, г) происходит освобождение возбужденных (деформированных в осевом и фазовом направлениях) пружин 9 от силовых воздействий Т и Р.
Возбужденные (деформированные) упругие элементы 9, свободные от указанных силовых воздействий, начинают резко, высокочастотно колебаться в осевом (с амплитудой ± , фиг.4г) и фазовом (с амплитудой ± ) направлениях, приводя в соответствующие резкие и высокочастотные колебательные движения шнека 8 относительно вала 7. Таким образом, непрерывно вращаясь вместе с приводным валом 7, шнек 8 совершает осевые ± и фазовые (амплитуды угловые ± , а также дуговые – линейные ±е, фиг.4г) колебания. При этом автоколебательный процесс шнека является незатухающим, так как за каждый полный оборот принудительное возбуждение пружин повторяется по указанной схеме.
Сложные пространственные траектории колебательных движений шнека, пульсирующие силовые воздействия и геометрические условия контактирования его винтовой поверхности с фильтрующим элементом, в свою очередь, формируют широкий спектр колебаний струн, изгибные волны которых характеризуются большими вариациями амплитуд и частот этих колебаний, быстрыми их изменениями. Загрязненный воздух, подаваемый во входной патрубок 3, проходит через фильтрующий элемент 5, очищается вследствие неоднократного изменения направления воздушного потока. При циклично повторяющемся процессе движения шнека многократное изменение формы и фронта волны фильтрующей поверхности за короткий промежуток времени создают дополнительные пульсирующие скорости воздушного потока и давления воздуха, что способствует более эффективному и качественному выполнению операции очистки запыленного воздуха. Очищенный воздух из корпуса выходит через выходной патрубок 4. Осаждающиеся в бункере 2 частицы могут выгружаться любым известным способом, периодически, по мере накопления, при открывании обратного клапана 18.
Вибрационно-колебательный процесс движения шнека носит самопроизвольный (без наличия каких-либо специальных энергетических приводов) характер с регулируемыми первоначальными амплитудами ( и ) колебаний. Регулировка осуществляется поджатием или ослаблением пружин 9 и установкой винтового упора 16 по отношению к кулачку 13 (изменением первоначального зазора S между роликом 15 и торцом опорного элемента 12 шнека). В зависимости от скорости вращения и диаметра шнека можно устанавливать на опорном элементе 12 шнека диаметрально противоположно, например, два ступенчатых кулачка 13 для обеспечения гарантированных средних амплитуд колебаний.
Резкие (особенно фазовые) колебания шнека, в свою очередь, обеспечивают соответствующую высокую активную подвижность его спиральных витков в зоне контакта с фильтрующей поверхностью, и следовательно, и хорошую самоочистку струн от сильно адгезированных с ними частиц материала.
Предлагаемое техническое решение просто в конструктивном исполнении и при использовании улучшает эксплуатационно-технологические характеристики устройства для очистки воздуха.
Формула изобретения
Устройство для очистки воздуха, включающее корпус с бункером, фильтрующий элемент, установленный в корпусе и соединенный с фильтрующим элементом механизм его регенерации, при этом механизм регенерации размещен на фильтрующем элементе и выполнен в виде закрепленного на приводном валу шнека, а фильтрующий элемент выполнен в виде струн, шнек установлен на приводном валу посредством коаксиально расположенных на нем винтовых пружин, одни концы которых закреплены соответственно на приводном валу, а другие – на цилиндрической обечайке шнека, и привод с приспособлением сообщения шнеку принудительных колебаний, отличающееся тем, что приспособление сообщения шнеку принудительных колебаний выполнено в виде ступенчатого кулачка и регулируемого упора, причем последний установлен на раме подшипниковой опоры с возможностью периодического взаимодействия с кулачком, который закреплен на торце опорного элемента цилиндрической обечайки шнека.
РИСУНКИ
MM4A – Досрочное прекращение действия патента СССР или патента Российской Федерации на изобретение из-за неуплаты в установленный срок пошлины за поддержание патента в силе
Дата прекращения действия патента: 18.11.2007
Извещение опубликовано: 27.07.2009 БИ: 21/2009
|
|