|
|
(21), (22) Заявка: 2005105094/15, 24.02.2005
(24) Дата начала отсчета срока действия патента:
24.02.2005
(43) Дата публикации заявки: 10.08.2006
(46) Опубликовано: 27.04.2007
(56) Список документов, цитированных в отчете о поиске:
US 3870638 А, 11.03.1975. SU 461733 А, 28.02.1975. RU 2161061 C1, 27.12.2000. RU 2184595 C1, 10.07.2002. RU 2188057 С2, 27.08.2002. RU 2184594 С2, 10.07.2002. SU 1517998 A, 30.06.1987.
Адрес для переписки:
190013, Санкт-Петербург, Московский пр., 26, ГОУ ВПО “СПбГТИ (ТУ)”, ОНТИ и ОИС
|
(72) Автор(ы):
Абиев Руфат Шовкет оглы (RU)
(73) Патентообладатель(и):
Государственное образовательное учреждение высшего профессионального образования “Санкт-Петербургский государственный технологический институт (технический университет)” (RU)
|
(54) АППАРАТ ПУЛЬСАЦИОННЫЙ ДЛЯ ОБРАБОТКИ СУСПЕНЗИЙ И СПОСОБ ЕГО ЭКСПЛУАТАЦИИ
(57) Реферат:
Изобретение относится к аппаратам для обработки суспензий, например фильтрации, микрофильтрации, промывки, экстракции, сорбции, ионного обмена, каталитических реакций. Изобретение может быть использовано в химической, пищевой, фармацевтической и других отраслях промышленности. Аппарат состоит из цилиндрического корпуса, патрубков для подачи суспензии, отвода фильтрата, отвода сгущенной суспензии и для подвода пульсаций. Фильтрующая перегородка, представляющая собой пористую полупроницаемую мембрану, разделяет корпус на камеру сгущения и камеру фильтрата. Трубопровод соединяет камеру фильтрата с пульсационной камерой. Патрубки подачи суспензии, отвода фильтрата и сгущенной суспензии оборудованы управляемыми клапанами. Аппарат снабжен датчиками и системой управления. Способ эксплуатации аппарата включает стадии фильтрования и регенерации. На стадии фильтрования клапан на патрубке отвода сгущенной суспензии закрыт, а клапаны на патрубках подачи суспензии и отвода фильтрата открыты. На стадии регенерации фильтра клапан на патрубке отвода сгущенной суспензии открыт, а клапаны на патрубках подачи суспензии и отвода фильтрата закрыты. Технический результат – повышение надежности и эффективности аппарата, снижение энергетических затрат. 2 н.п. ф-лы, 2 ил.
Изобретение относится к аппаратам для обработки суспензий, а именно к оборудованию для проведения процесса непрерывной фильтрации, в том числе микрофильтрации, и других процессов, совмещенных с фильтрацией, например промывки, экстракции, сорбции, ионного обмена, каталитических реакций и т.д., и может быть использовано в химической, пищевой, фармацевтической и других отраслях промышленности.
Известен массообменный аппарат-фильтр (патент РФ №2161061, МПК7 В 01 D 35/20, В 01 J 8/40), состоящий из цилиндрического корпуса, патрубков для подвода пульсаций и отвода жидкой фазы, трубопровода для подачи суспензии, фильтрующей перегородки и расположенного над ней отбойника в виде диска. Способ эксплуатации известного аппарата заключается в том, что разделяемую суспензию подают непрерывно или импульсно, а в пространство под фильтрующей перегородкой с некоторой периодичностью подают импульс давления с целью регенерации фильтрующей перегородки и перемещения слоя частиц в верхнюю часть аппарата.
К недостаткам известного устройства следует отнести следующие. Во-первых, в слое частиц между фильтрующей перегородкой и отбойником образуется застойная зона, так что при движении всего слоя вверх в указанной зоне частицы остаются неподвижными; это приводит к снижению надежности работы устройства. Во-вторых, питающий патрубок выводит суспензию практически точечно, в центре фильтрующей перегородки. Из уравнения неразрывности (Емцев Б.Т. Техническая гидромеханика. – М.: Машиностроение, 1987. – с.37) следует, что при радиальном движении (случай точечного источника) скорость потока w (м/с) обратно пропорциональна радиусу r (м) во второй степени
w(r)Q/r2,
где Q – объемный расход жидкости, м3/с.
В результате в известном аппарате эффективно работает лишь небольшая центральная зона фильтрующей перегородки, а на периферии из-за низкой скорости фильтрование практически не происходит. Это приводит к нерациональному использованию фильтрующей поверхности. В-третьих, в известном аппарате не предусмотрено использование потенциальной энергии потока суспензии, вводимого в аппарат под давлением, т.е. вводимая энергия используется нерационально.
Наиболее близким к заявляемому является пульсационный аппарат для обработки суспензий (патент US 3870638 А, 11.03.1975, МПК7 В 01 D 29/38), включающий цилиндрический корпус, патрубки для подвода пульсаций, подачи суспензии, отвода фильтрата, сгущенной суспензии, фильтрующую перегородку, разделяющую корпус на камеру сгущения и камеру фильтрата, к камере фильтрата подключен трубопровод с пульсационной камерой, а со стороны сгущенной суспензии установлена дополнительная пульсационная камера, предназначенная для регенерации фильтра. Аппарат позволяет осуществлять непрерывную очистку внутренней и внешней стороны фильтрующего элемента. Способ эксплуатации известного аппарата заключается в использовании одной из пульсационных камер для создания пульсаций фильтрата, а другой (дополнительной) – для регенерации фильтра.
Это достигается за счет промывки поверхности фильтра внешними струями, которые формируются в дополнительной пульсационной камере, что существенно усложняет конструкцию аппарата. Кроме того, в известном аппарате не используются его собственные свойства как колебательной системы, что приводит, во-первых, к нерациональному использованию энергии, во-вторых, к недостаточно высокой эффективности регенерации фильтра и снижает его надежность.
Задача предлагаемого изобретения заключается в повышении надежности и эффективности аппарата, а также в снижении энергетических затрат.
Поставленная задача решается тем, что в аппарате пульсационном для обработки суспензий, включающем цилиндрический корпус, патрубки для подвода пульсаций, подачи суспензии, отвода фильтрата и сгущенной суспензии, фильтрующую перегородку, разделяющую корпус на камеру сгущения и камеру фильтрата, к которой подключен трубопровод с пульсационной камерой, патрубки подачи суспензии, отвода фильтрата и сгущенной суспензии оборудованы управляемыми клапанами, причем аппарат снабжен датчиками и системой управления, с возможностью управления клапаном на патрубке отвода фильтрата по сигналам, поступающим в систему управления от датчиков давления и уровня жидкости в пульсационной камере, а также с возможностью управления клапанами на патрубках подачи суспензии, отвода сгущенной суспензии и отвода фильтрата по сигналам, поступающим в систему управления от датчиков уровня осадка и перепада давления между камерой сгущения и камерой фильтрата.
Поставленная задача решается также тем, что в способе эксплуатации аппарата пульсационного для обработки суспензий, включающем стадии фильтрования и регенерации, на стадии фильтрования клапан на патрубке отвода сгущенной суспензии закрыт, клапаны на патрубках подачи суспензии и отвода фильтрата открыты, а на стадии регенерации фильтра клапан на патрубке отвода сгущенной суспензии открыт, клапаны на патрубках подачи суспензии и отвода фильтрата закрыты.
Заявляемое техническое решение является новым, обладает изобретательским уровнем и промышленно применимо.
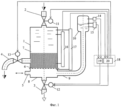
На фиг.1 представлена схема аппарата пульсационного для обработки суспензий, на фиг.2 – временные диаграммы открывания управляемых клапанов: I – стадия фильтрования, II – стадия регенерации. Диаграмма на фиг.2а относится к клапанам 11 и 12 (клапан 12 открыт частично), а диаграмма на фиг.2б относится к клапану 13.
Аппарат пульсационный для обработки суспензий (фиг.1) состоит из цилиндрического корпуса 1, патрубка 2 для подачи суспензии, патрубка 3 для отвода фильтрата, патрубка 4 для отвода сгущенной суспензии, патрубка 5 для подвода пульсаций. Фильтрующая перегородка 6 разделяет корпус 1 на камеру сгущения 7 и камеру фильтрата 8. При проведении процесса микрофильтрации фильтрующая перегородка 6 представляет собой пористую полупроницаемую мембрану. Трубопровод 9 соединяет камеру фильтрата 8 с пульсационной камерой 10. Патрубки подачи суспензии 2, отвода фильтрата 3 и сгущенной суспензии 4 оборудованы управляемыми клапанами 11, 12 и 13 соответственно.
Аппарат пульсационный для обработки суспензий также оборудован датчиками 14-17 и системой управления 18, состоящей из двух подсистем – блока 19 управления положением клапана 12 и блока 20 управления положением клапанов 11-13. На обеих стадиях (фильтрования и регенерации) клапан 11 на патрубке подачи суспензии и клапан 13 на патрубке отвода сгущенной суспензии управляются по сигналам, поступающим на блок управления 20 системы 18 от датчика 16 уровня осадка и от датчика 17 перепада давления между камерой сгущения и камерой фильтрата. Клапан 12 на патрубке отвода фильтрата 3 на стадии фильтрования управляется по сигналам, поступающим на блок управления 19 системы 18 от датчика давления 14 и датчика уровня жидкости 15 в пульсационной камере. На стадии регенерации клапан 12 управляется по сигналам, поступающим на блок управления 20 системы 18 от датчиков 16 и 17.
Предлагаемое устройство работает следующим образом. Первая стадия – стадия фильтрования (I на фиг.2). При закрытом клапане 13, частично открытом клапане 12 и полностью открытом клапане 11 через патрубок 2 в аппарат подают суспензию. С течением времени на фильтрующей перегородке 6 накапливается слой осадка, а в камеру фильтрата 8 через фильтрующую перегородку 6 непрерывно поступает фильтрат. Одна часть фильтрата отводится из аппарата через патрубок 3 и клапан 12, а другая часть поступает через трубопровод 9 в пульсационную камеру 10, постепенно сжимая находящийся там газ (воздух). Таким образом, давление в пульсационной камере 10 постепенно возрастает, а сжимающийся газ накапливает потенциальную энергию. Пульсации давления, подводимые к системе через патрубок 5 от генератора пульсаций (на фиг.1 условно не показан), способствуют периодическому разрыхлению осадка, образующегося на фильтрующей перегородке 6, и разрушению связей между частицами осадка. Благодаря этому улучшаются условия фильтрования жидкости через слой осадка и увеличивается продолжительность работы аппарата до регенерации, т.е. удаления накопившегося осадка. Одновременно с процессом фильтрования (или микрофильтрования) в аппарате могут протекать реакционные и массообменные процессы: промывка частиц твердой фазы, экстракция, сорбция, ионный обмен, каталитические реакции (если частицы представляют собой катализатор) и т.п.
Вторая стадия – стадия регенерации (II на фиг.2). По мере накопления осадка его гидравлическое сопротивление достигает предельного значения либо осадок заполняет практически весь объем камеры сгущения 7. В этот момент клапаны 11 и 12 закрываются, после чего клапан 13 резко открывается; подвод пульсаций через патрубок 5 при этом может быть прекращен. Под действием разности давлений между давлением в пульсационной камере 10 и атмосферным давлением на выходе из патрубка 4 жидкость из пульсационной камеры 10 и трубопровода 9 движется снизу вверх через фильтрующую перегородку 6, импульсно (в режиме гидравлического удара) проникая через слой осадка и разрушая связи между частицами в нем. Таким образом, накопленная сжатым газом потенциальная энергия преобразуется в кинетическую энергию движения жидкости и способствует разрушению плотной структуры осадка. При этом происходит некоторое разбавление слоя частиц осадка порцией жидкости, поступившей из-под фильтрующей перегородки 6, и образование сгущенной суспензии, которая под давлением выбрасывается через клапан 13 и патрубок 4 в сборник сгущенной суспензии (на фиг.1 условно не показан). Так реализуется регенерация фильтрующей перегородки 6 и аппарата в целом. После этого клапан 13 закрывается, и весь цикл работы аппарата повторяется.
Особенностью предлагаемого аппарата является автоматическое управление процессом открывания клапанов 11-13 по сигналам от датчиков 14-17 и системой управления 18. Датчики 15 и 16 двухуровневые, т.е. имеют нижний и верхний порог срабатывания. На первой стадии: клапан 12 частично открыт и его положение регулируется датчиком давления 14 и датчиком уровня 15, сигналы от которых поступают на блок управления 19, а затем – на клапан 12; клапан 11 полностью открыт, а клапан 13 полностью закрыт, их положения управляются датчиками 16 и 17 и блоком управления 20. На второй стадии сигналы от датчиков 16 и 17 поступают на блок 20, который закрывает клапаны 11 и 12 и открывает клапан 13.
Пример конкретного выполнения. В аппарат пульсационный для обработки суспензий (диаметр аппарата 40 мм, диаметр патрубков 2-5 составлял 5 мм), схема которого показана на фиг.1, подавали водную суспензию частиц со средним размером 60 мкм и плотностью 2700 кг/м3. Пульсации давления к аппарату подводились через патрубок 5. Под действием пульсаций давления, подводимых через патрубок 5, происходило разрушение связей между частицами в слое осадка, и его гидравлическое сопротивление на некоторое время снижалось. По мере накопления осадка скорость фильтрования постепенно сокращалась, и перепад давления между камерой сгущения 7 и камерой фильтрата 8 возрастал, а давление в пульсационной камере 10 увеличивалось. После закрывания клапанов 11, 12 и последующего открывания клапана 13 происходило импульсное псевдоожижение накопившегося на фильтрующей перегородке 6 слоя осадка. Образовывалась сгущенная суспензия (пульпа) частиц осадка, разбавленных порцией жидкости, поступившей из трубопровода 9 и пульсационной камеры 10. Образовавшаяся пульпа под действием избыточного давления в камере сгущения 7 выбрасывалась через открытый клапан 13 и патрубок 4 в сборник.
Испытания подобного аппарата, не оборудованного трубопроводом 9 и пульсационной камерой 10, а также системой пульсации, подключаемой к патрубку 5, показали, что в нем быстрее возрастает сопротивление слоя осадка, что приводит к резкому сокращению расхода фильтрата.
В предлагаемом аппарате отсутствует отбойник, имеющийся в прототипе, что позволяет избавиться от нежелательного образования застойной зоны между фильтрующей перегородкой и отбойником; это способствует повышению надежности аппарата. Суспензия подается через патрубок 2 в верхнюю часть аппарата в осевом направлении, вдали от фильтрующей перегородки 6, и частицы достаточно равномерно распределяются по сечению аппарата, т.е. фильтрующая перегородка 6 используется более эффективно, чем в прототипе. Кроме того, в предлагаемом изобретении потенциальная энергия потока суспензии частично накапливается газом в пульсационной камере 10 и на стадии регенерации преобразуется в кинетическую энергию жидкости, что позволяет снизить затраты энергии.
Таким образом, предлагаемое изобретение позволяет повысить надежность и эффективность аппарата, а также снизить энергетические затраты.
Формула изобретения
1. Аппарат пульсационный для обработки суспензий, включающий цилиндрический корпус, патрубки для подвода пульсаций, подачи суспензии, отвода фильтрата и сгущенной суспензии, фильтрующую перегородку, разделяющую корпус на камеру сгущения и камеру фильтрата, к которой подключен трубопровод с пульсационной камерой, отличающийся тем, что патрубки подачи суспензии, отвода фильтрата и сгущенной суспензии оборудованы управляемыми клапанами, причем аппарат снабжен датчиками и системой управления, с возможностью управления клапаном на патрубке отвода фильтрата по сигналам, поступающим в систему управления от датчиков давления и уровня жидкости в пульсационной камере, а также с возможностью управления клапанами на патрубках подачи суспензии, отвода сгущенной суспензии и отвода фильтрата по сигналам, поступающим в систему управления от датчиков уровня осадка и перепада давления между камерой сгущения и камерой фильтрата.
2. Способ эксплуатации аппарата по п.1, включающий стадии фильтрования и регенерации, отличающийся тем, что на стадии фильтрования клапан на патрубке отвода сгущенной суспензии закрыт, клапаны на патрубках подачи суспензии и отвода фильтрата открыты, а на стадии регенерации фильтра клапан на патрубке отвода сгущенной суспензии открыт, клапаны на патрубках подачи суспензии и отвода фильтрата закрыты.
РИСУНКИ
|
|