|
|
(21), (22) Заявка: 2004129031/15, 04.10.2004
(24) Дата начала отсчета срока действия патента:
04.10.2004
(43) Дата публикации заявки: 27.03.2006
(46) Опубликовано: 27.04.2007
(56) Список документов, цитированных в отчете о поиске:
SU 1376295 A1, 27.07.1996. SU 1733032 A1, 15.05.1992. SU 1130358 A, 23.12.1984. GB 906611 A, 26.09.1962. US 3192131 A, 29.06.1965. US 3197387 A, 27.07.1965.
Адрес для переписки:
620012, г.Екатеринбург, ул. Краснознаменная, 4А, ЗАО НПП “Машпром”
|
(72) Автор(ы):
Жаров Анатолий Федорович (RU), Зусман Михаил Владимирович (RU), Курбатов Павел Рудольфович (RU), Никулин Валерий Александрович (RU), Пустынных Евгений Васильевич (RU), Подберезный Валентин Лазаревич (RU), Смоляницкий Борис Исаакович (RU), Скорняков Владимир Ильич (RU), Трофимов Леон Игнатьевич (RU), Фомин Эдуард Сергеевич (RU), Черноскутов Валентин Степанович (RU)
(73) Патентообладатель(и):
Закрытое акционерное общество “Научно-производственное предприятие “Машпром” (ЗАО НПП “Машпром”) (RU), Открытое акционерное общество “Сибирско-Уральская Алюминиевая компания” (ОАО “СУАЛ”) (RU), Открытое акционерное общество “Уральский научно-исследовательский и проектный институт алюминиевой промышленности” (ОАО “Уралалюминий”) (RU)
|
(54) СПОСОБ САМОИСПАРЕНИЯ ТЕХНОЛОГИЧЕСКОГО РАСТВОРА И УСТРОЙСТВО ДЛЯ ЕГО ОСУЩЕСТВЛЕНИЯ
(57) Реферат:
Изобретения относятся к аппаратам, используемым в алюминиевой промышленности, и могут быть применимы в других отраслях техники, где осуществляется испарение перегретых растворов или суспензий для их концентрирования или получения пара. Способ самоиспарения технологического раствора включает подачу перегретого раствора, формирование в канале горизонтальной цилиндрической камеры самоиспарения прокипающего потока со всплывающими пузырьками пара, отвод из камеры самоиспарения прокипевшего охлажденного раствора и образовавшегося пара. От отводимого прокипевшего охлажденного раствора отделяют часть в виде циркулирующего раствора, затем смешивают перегретый раствор и циркулирующий раствор с последующей подачей образованного смешанного потока в камеру самоиспарения. Формируют поток с выполнением неравенства: (S·h·L)/G h/VП при предварительно заданных значениях S, h, L, G, VП, где S – ширина потока, м; h – глубина одного потока, м; L – протяженность потока, м; G – заданный расход перегретого раствора, м3/с; VП – скорость всплывания пузырьков пара, м/с. Перед формированием потока подаваемый смешанный раствор в камере самоиспарения распределяют по ширине канала. Устройство содержит горизонтальную цилиндрическую камеру самоиспарения с крышками в торцевых частях, по меньшей мере, один канал для потока прокипающего раствора, средство отвода прокипевшего потока, выполненное с возможностью разделения прокипевшего раствора на циркулирующий и отводимый растворы, и средство ввода перегретого раствора. Камера самоиспарения оснащена коллектором для приема смеси растворов, выполненным с возможностью перелива смеси растворов, по меньшей мере, в один канал. Устройство содержит также средство для подачи смеси циркулирующего и перегретого растворов, причем выход средства подачи смеси растворов сообщается с коллектором для приема смеси растворов, вход – со средством ввода перегретого раствора и средством отвода циркулирующего перегретого раствора. Каждый канал свыше одного установлен между нижней частью камеры и коллектором с возможностью прохода пара, образующегося при самоиспарении потока в установленном ниже канале. Технический результат заключается в уменьшении потерь технологического раствора, в предотвращении загрязнения образующегося пара и увеличении его количества, а также в создании камеры самоиспарения с оптимальными размерами. 2 н. и 8 з.п. ф-лы, 5 ил., 1 табл.
Изобретения относятся к аппаратам, используемым в алюминиевой промышленности, и могут быть применимы в других отраслях техники, где осуществляется испарение перегретых растворов или суспензий для их концентрирования или получения пара.
Известен способ самоиспарения технологического раствора, реализуемый с помощью устройства (SU 1376295 А1, кл. 6 В01D 3/6, опубл. 27.07.1996.), включающий подачу перегретого раствора (жидкости), формирование потока кипящего раствора в камере самоиспарения при давлении меньше равновесного с образованием всплывающих пузырьков пара. Поток формируют в виде ступенчатого течения потока, используя отбойник и переливной порог с дальнейшим отводом из камеры самоиспарения прокипевшего охлажденного раствора и образованного пара (прототип).
Авторы используют термин «равновесное давление», т.к. широко известно, что кипение самоиспаряющегося (или прокипающего) раствора в аппарате происходит при поступлении раствора, имеющего давление больше равновесного; в результате перепада давлений и соответствующих температур происходит вскипание раствора, сопровождаемое снижением температуры раствора, и, следовательно, прокипевшего раствора на выходе из аппарата.
Однако при реализации известного способа происходят потери прокипающего раствора с потоком отводимого раствора и загрязнение конденсата, образующегося при конденсации пара. Причиной возникновения указанных нежелательных явлений является бурное вскипание у переливного порога потока перегретого раствора, при котором образуется множество мелких капель и брызг раствора, выбрасываемых вверх в паровую зону аппарата. Эти капли уносит поток образующегося пара, обусловливая вышеуказанные недостатки.
Одновременно поток кипящего раствора в камере самоиспарения, переливаясь через переливной порог, погружается в массу отводимого прокипевшего раствора. Погружение кипящего раствора, падающего с порога, неизбежно сопровождается захватом пара в отводимый из камеры самоиспарения прокипевший охлажденный раствор и распределением пузырьков пара преимущественно в нижней части этого потока. В результате отводимый поток раствора уносит с собой существенную часть пара.
Задача, на решение которой направлен заявляемый способ, заключается:
– в уменьшении потерь технологического раствора;
– в предотвращении загрязнения образующегося пара и увеличении его количества;
– в разработке камеры самоиспарения с оптимальными размерами.
Поставленная задача в отношении способа решается тем, что в способе самоиспарения технологического раствора, включающем подачу перегретого раствора; при давлении меньше равновесного формирование в канале горизонтальной цилиндрической камеры самоиспарения прокипающего потока со всплывающими пузырьками пара, отвод из камеры самоиспарения прокипевшего охлажденного раствора и образовавшегося пара, согласно изобретению от отводимого прокипевшего охлажденного раствора отделяют часть в виде циркулирующего раствора, затем смешивают перегретый раствор и циркулирующий раствор с последующей подачей образованного смешанного потока в камеру самоиспарения, причем формируют поток с выполнением неравенства:

при предварительно заданных значениях S, h, L, G, VП,
где S – ширина потока, м;
h – глубина одного потока, м;
L – протяженность потока, м;
G – заданный расход перегретого раствора, м3/с;
VП – скорость всплывания пузырьков пара, м/с;
при этом предварительно перед формированием прокипающего потока подаваемый смешанный раствор в камере самоиспарения распределяют по ширине канала.
Целесообразно распределять поток прокипающего раствора равномерно по ширине канала.
Авторы предлагают устройство, наилучшим образом реализующее способ, предварительно ссылаясь на аналоги.
Известен самоиспаритель (Мальц Н.С. Автоклавное выщелачивание бокситов. М., Металлургия, 1980 г., с.42-43), включающий цилиндрическую камеру самоиспарения с вертикальным корпусом с крышками в торцевых частях в виде верхнего и нижнего эллиптического днищ; средство вывода прокипевшей пульпы в виде разгрузочной трубы, установленной в нижней крышке камеры, а также средство подачи перегретого раствора (перегретой бокситовой пульпы).
К причинам, препятствующим достижению указанного ниже технического результата, относятся: малая степень прокипания раствора, вынос большого количества пара с уходящим раствором, а с другой стороны, загрязнение пара. Это объясняется следующим.
Вскипание в камере самоиспарения имеет «взрывной» характер вследствие большого перепада температур входящего перегретого раствора и равновесной. Кроме того, самоиспарение раствора в подобных аппаратах происходит в кипящем объеме с поверхности зеркала, имеющей небольшую площадь относительно объема кипящего раствора. Входящий перегретый раствор находится в камере малое время и, падая вниз, почти мгновенно вместе с значительным количеством пара выходит из аппарата.
В качестве ближайшего аналога, выбранного в качестве прототипа, найден аппарат мгновенного вскипания (SU 1376295 А1, кл. 6 В01D 3/6, опубл. 27.07.1996), включающий горизонтальную цилиндрическую камеру самоиспарения (испарения) с крышками в торцевых частях, с патрубком отвода пара (неконденсирующихся газов), патрубками ввода перегретого раствора и отвода охлажденного раствора, в терминологии известного описания названные патрубками входа и выхода испаряемой жидкости. Поток прокипающего раствора в камере самоиспарения течет по каналу, представляющему собой нижнюю часть цилиндрической обечайки камеры. В камере установлен отбойник и перегородка.
Устройство в его неизменном виде не приводит к достижению указанного ниже результата по следующим причинам:
Во-первых, у переливного порога происходит бурное вскипание перегретого раствора, выходящего из-под отбойника, при этом образуется множество мелких брызг, выбрасываемых в паровое пространство устройства. Эти капли уносит поток образующегося при кипении пара, что является причиной потерь раствора и загрязнения конденсата, образующегося при охлаждении этого пара.
Во-вторых, поток кипящего раствора в камере самоиспарения, переливаясь через переливной порог, погружается в массу отводимого прокипевшего раствора. При этом погружение кипящего раствора, падающего с порога, неизбежно сопровождается распределением пузырьков пара преимущественно в нижнюю часть потока раствора и захватом пара в отводимый из камеры самоиспарения прокипевший охлажденный раствор.
Задача, на решение которой направлено заявляемое устройство, заключается:
– в уменьшении потерь технологического раствора;
– в предотвращении загрязнения образующегося пара и увеличении его количества;
– в создании камеры самоиспарения с оптимальными размерами.
Поставленная задача в отношении устройства решается тем, что устройство для самоиспарения технологического раствора, включающее горизонтальную цилиндрическую камеру самоиспарения с крышками в торцевых частях, с патрубком отвода пара; с выполненным в виде нижней части камеры самоиспарения каналом для потока прокипающего раствора, выходящего из камеры самоиспарения через средство отвода прокипевшего раствора; и средство ввода перегретого раствора, в котором согласно изобретению средство отвода прокипевшего раствора выполнено с возможностью разделения прокипевшего раствора на циркулирующий раствор и отводимый раствор, устройство снабжено средством подачи смеси циркулирующего и перегретого растворов, имеющего вход и выход, а камера самоиспарения снабжена коллектором для приема смеси растворов, причем канал содержится в камере в количестве, по меньшей мере, одного, и каждый канал свыше одного установлен между нижней частью камеры и коллектором с возможностью прохода пара, образующегося при самоиспарении потока в установленном ниже канале; коллектор выполнен с возможностью перелива смеси растворов, по меньшей мере, в один канал; выход средства подачи смеси растворов сообщается с коллектором для приема смеси растворов, вход – со средством ввода перегретого раствора и средством отвода перегретого раствора.
Наилучшие варианты использования заявляемого устройства для самоиспарения технологического раствора возможны при следующих конструктивных особенностях.
Предпочтительно, чтобы коллектор для приема был выполнен в виде трубы с отверстиями по ее длине.
Возможно коллектор устанавливать с возможностью перелива смеси растворов в направлении крышки торцевой части корпуса.
Целесообразно, чтобы коллектор был установлен с возможностью растекания смеси раствора по крышке торцевой части корпуса.
Предпочтительным вариантом устройства является выполнение средства для подачи смеси растворов в виде струйного насоса.
Возможно средство для отвода прокипевшего охлажденного раствора выполнять в виде двух патрубков.
Целесообразно также, чтобы каждый канал свыше одного установлен с зазорами относительно цилиндрической обечайки корпуса.
Возможно также каждый канал свыше одного устанавливать с зазорами относительно крышек в торцевых частях.
Заявляемый способ самоиспарения технологического раствора объединен с заявляемым устройством для его осуществления в группу, поскольку оба изобретения решают одну и ту же техническую задачу.
Технический результат предложенного способа выражается в том, что отделение части прокипевшего охлажденного раствора в виде циркулирующего раствора предваряет операцию смешивания упомянутого раствора и подаваемого перегретого раствора. Смешивание перегретого раствора с частью отведенного охлажденного раствора из камеры самоиспарения (далее – камеры) дает возможность уменьшить температуру поступающего в камеру раствора и соответственно разность температур поступившего смешанного раствора и равновесной температуры кипения его в камере. Уменьшение разности температур обусловливает уменьшение интенсивности вскипания поступающего в камеру перегретого раствора и, как следствие, происходит уменьшение количества образующихся мелких капель, уносимых образующимся в результате самоиспарения паром. Таким образом, смешивание части охлажденного раствора и перегретого раствора влияет на снижение потерь самоиспаряющегося раствора.
Возможность формирования установившегося безвихревого потока при выполнении математической зависимости (1) реализована за счет выявления связи между временем, при котором обеспечивается быстрый вывод из потока пузырьков образующегося при самоиспарении пара и временем прокипания раствора.
Так, в установившемся безвихревом прокипающем потоке пузырьки, всплывая вверх, выходят из потока по кратчайшему пути. При этом время выхода пузырьков определено только глубиной потока h и скоростью их всплывания VП, находящихся в зависимости:

Для обеспечения выхода всех пузырьков время пребывания каждого элементарного объема раствора в емкости должно быть равно времени всплытия пузырьков или превосходить его. Время пребывания раствора в камере или, иными словами, необходимое время прокипания (или самоиспарения) раствора равно:

где S – ширина потока, м; h – высота поперечного сечения (глубина) потока, м; L – протяженность потока, м; G – расход перегретого раствора, м3/с.
Из вышеприведенных рассуждений следует, что при предварительно заданных значениях входящих параметров заявляемая зависимость:

позволяет в конкретных условиях определить необходимые и достаточные оптимальные параметры процесса прокипания: необходимое время прокипания раствора при определенной скорости его течения в камере самоиспарения.
Предпосылкой организации прокипающего потока с предварительно заданными значениями S, h, L (соответственно ширина, глубина и длина потока) является распределение поступающего в камеру смешанного раствора по ширине канала.
По предварительно заданным значениям S, h, L при конструировании камеры для с горизонтальным цилиндрическим корпусом определяют ее рациональные размеры. Так, если есть ограничения по ширине камеры и ширина потока S мала, то применяют более высокие скорости движения раствора и по заявляемому соотношению находят необходимую при этом протяженность потока и соответствующую длину камеры самоиспарения. Иными словами, для сохранения необходимого времени прокипания и для сохранения величины комплекса в неизменном виде G варьируют величины S и L.
Заявляемый способ предусматривает формирование потока в канале камеры как вдоль горизонтальной камеры, так и поперек камеры при ее рациональных размерах.
Технический результат применения заявляемого устройства выражается особенностью выполнения средства для отвода прокипевшего раствора и определяется необходимостью отделения от прокипевшего раствора его части, представленной в виде циркулирующего раствора, необходимого для охлаждения первоначального перегретого раствора.
Наиболее рационально и технологично выполнять средство отвода прокипевшего раствора в виде двух патрубков: один для циркулирующего раствора, другой – для отводимого.
Для охлаждения раствора, подаваемого в камеру самоиспарения (далее – камера), средство ввода перегретого раствора и средство отвода прокипевшего раствора сообщаются с входом средства подачи смеси растворов. Вход средства подачи сообщается с технологическим пространством камеры (в нашем случае с введенным в камеру коллектором), таким образом, при поступлении раствор имеет температуру ниже исходного перегретого раствора, и процесс вскипания на входе в технологическое пространство камеры происходит менее бурно. Следствием вышеупомянутого эффекта является уменьшение количества образующихся мелких капель, загрязняющих поток пара при кипении технологического раствора.
Выполнение средства для подачи смеси растворов в виде струйного насоса объясняется его широким применением в технике.
При числе каналов, превышающих один, выполненный в виде нижней части камеры, становится возможным увеличить фактическую ширину потока, которая становится равной сумме значений ширины потоков, самоиспаряющихся в каждом канале. Такое увеличение ширины потока позволяет уменьшить глубину потока и тем самым уменьшить время всплытия паровых пузырьков. Последний из упомянутых факторов обусловливает уменьшение необходимой длины камеры самоиспарения и влияет на выбор оптимальных размеров камеры в целом.
Отвод пара, образующегося в каждом канале свыше одного, возможен благодаря особенности их установки. Наиболее приемлемым и технологичным вариантом является образование зазоров между установленным каналом свыше одного и цилиндрической обечайкой камеры.
Подача смеси растворов осуществляется в коллектор камеры. Особенностью конструктивного выполнения коллектора является возможность перелива подаваемой смеси растворов, по меньшей мере, в один канал – нижнюю часть камеры. Так, переливаясь из коллектора, подаваемая охлажденная смесь растворов более плавно стекает и поток, образованный вследствие перепада давлений, течет по каналу.
При наличии каналов свыше одного смесь растворов стекает через зазоры относительно крышек в торцевых частях камеры.
Целесообразность установки коллектора с возможностью перелива подаваемой смеси растворов в направлении крышки торцевой части камеры объясняется соответствием длины движения прокипающего раствора и длины канала (каналов).
Выполнение коллектора в виде трубы с отверстиями по ее длине целесообразно с точки зрения равномерного распределения переливающегося вскипающего раствора по ширине камеры.
Кроме того, установив коллектор так, чтобы переливающийся раствор, попадая на крышку, растекался по ее поверхности, обеспечивается наиболее полноценно эффект равномерного по скорости и глубине потока, по меньшей мере, в одном канале в виде нижней части камеры.
Установив канал свыше одного с зазорами относительно цилиндрической обечайки камеры, становится возможным отводить пар, образуемый в канале, соответствующем нижней части камеры.
Проведенный заявителем анализ уровня техники, включающий поиск по патентным и научно-техническим источникам информации и выявление источников, содержащих сведения об аналогах заявленной группы изобретений как для объекта-способа, так и для объекта-устройства, позволил установить, что не обнаружено аналогов, характеризующихся признаками, тождественными всем существенным признакам способа и устройства. Выбор одного и того же прототипа позволил выявить совокупность существенных признаков и уровня техники. Заявитель считает, что каждый их объектов заявленной группы изобретений соответствует критериям охраноспособности: «новизна» и «существенные отличия».
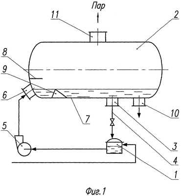
Пример осуществления способа приведен для процесса выщелачивания технологического раствора, а именно бокситовой пульпы, и иллюстрируется схематическим изображением устройства, приведенным на фиг.1.
Перегретый раствор бокситовой пульпы подают в смеситель в виде емкости 1. Одновременно из горизонтальной цилиндрической камеры самоиспарения 2 отводят через патрубки 3 часть прокипевшей охлажденной бокситовой пульпы в виде циркулирующего раствора и по трубопроводу 4 его подают в емкость 1. Полученный смешанный раствор, имеющий температуру ниже исходного перегретого раствора, из емкости 1 нагнетают с помощью насоса 5 в камеру самоиспарения 2 через патрубок 6, установленный в крышке торцевой части корпуса. Подаваемый смешанный раствор в камере самоиспарения 2 равномерно распределяют по ширине канала 7 в виде нижней части камеры самоиспарения 2. Равномерное распределение потока осуществляется с помощью отбойной перегородки 8 и порога 9, последние установлены в камере самоиспарения 2. Смешанный раствор заполняет пространство между отбойной перегородкой 8 и порогом 9, начинает вскипать в указанном пространстве и, переливаясь через порог 9, вследствие разности давлений и температур равномерно распределенный по ширине канала 7 поток бокситовой пульпы перетекает к отводящему патрубку 10 камеры самоиспарения 2. Выделяющийся из прокипающего раствора бокситовой пульпы пар отводится через патрубок 11.
Формирование потока бокситовой пульпы осуществляют, выполняя условие:

при предварительно заданных значениях S, h, L, G, VП.
В таблице 1 приведены значения входящих в неравенство величин при значениях VП скорости выхода пузырьков пара, установленной экспериментально. Так, VП находится в интервале от 0,10 до 0,25 м/с.
| Таблица 1 |
| NN |
S, м |
L, м |
G, м3/c |
Н, м |
VП, м/с |
| 1 |
0,5 |
1,0 |
0,1 |
0,05 |
0,2 |
| 2 |
0,4 |
1,25 |
0,1 |
0,05 |
0,2 |
| 3 |
0,6 |
0,83 |
0,1 |
0,05 |
0,2 |
| 4 |
0,8 |
0,63 |
0,1 |
0,05 |
0,2 |
| 5 |
1,0 |
0,5 |
0,1 |
0,05 |
0,2 |
| 6 |
0,5 |
2,0 |
0,1 |
0,05 |
0,2 |
| 7 |
1,0 |
1,0 |
0,1 |
0,05 |
0,2 |
| 8 |
0,5 |
2,0 |
0,1 |
0,10 |
0,1 |
| 9 |
1,0 |
1,0 |
0,1 |
0,10 |
0,1 |
Как следует из таблицы 1, заявляемое неравенство (1) выполняется.
При этом расчет значений S, h, L позволяет выбрать рациональные размеры камеры самоиспарения.
Пример конкретного выполнения устройства для самоиспарения технологического раствора поясняется с помощью приложенных чертежей:
На фиг.2 приведено схематическое изображение устройства при продольном разрезе камеры самоиспарения;
фиг.3 – разрез А-А на фиг.2;
фиг.4 – альтернативный вид конструкции устройства, представленного на фиг.2;
фиг.5 – разрез Б-Б на фиг.4.
Заявляемое устройство состоит (см. фиг.2) из горизонтальной цилиндрической камеры самоиспарения 12 (далее – камера) с каналом 13 в виде нижней части камеры 12; камера закрыта по торцам крышками 14. Кроме того, устройство содержит средство ввода перегретого раствора в виде трубопровода 15, средство для отвода прокипевшего раствора в виде двух патрубков 16, 17, из которых: патрубок 16 – для отвода прокипевшего раствора, патрубок 17 – для отвода циркулирующего раствора. Средство подачи смеси циркулирующего раствора и перегретого раствора в виде струйного насоса 18, имеющего вход в виде рабочего сопла 19 и всасывающего патрубка 20 и выход в виде нагнетательного патрубка 21. Камера самоиспарения 12 снабжена коллектором для приема смеси растворов в виде трубы 22, установленной вдоль крышки 14 камеры 12 (иными словами, поперек продольной оси камеры 12). По всей длине трубы 22 в ее нижней части выполнены сливные отверстия 23 (см. фиг.3). Нагнетательный патрубок 21 струйного насоса 18 сообщается с трубой 22, а рабочее сопло 19 – с трубопроводом 15 подачи перегретого раствора, всасывающий патрубок 20 – с патрубком 17 циркулирующего раствора. Устройство содержит патрубок отвода пара 24.
На фиг.4 изображен альтернативный вариант устройства, содержащий два канала 13 и 25; канал 25 установлен по высоте камеры 12 между первым каналом 13 в виде нижней части камеры 12 и трубой 22.
На фиг.5 показан вид в плане устройства с каналом 25. Зазоры 26 и 27 образованы каналом 25 с цилиндрической обечайкой камеры 12 и крышками 14 в торцевых частях соответственно.
Устройство работает следующим образом.
Перегретый раствор технологического раствора (бокситовой пульпы) из трубопровода 15 поступает в рабочее сопло 19 струйного насоса 18 и с большой скоростью вытекает из него через нагнетательный патрубок 21. За счет энергии этого потока через патрубок 17 отвода циркулирующего раствора и всасывающий патрубок 20 в насос 18 подсасывается циркулирующий раствор бокситовой пульпы в виде части прокипевшего раствора. Циркулирующий раствор имеет более низкую температуру, чем подаваемый перегретый раствор бокситовой пульпы; так, циркулирующий раствор снижает температуру перегретого раствора, выходящего из рабочего сопла 19. Иными словами, охлажденная смесь поступает в трубу 22 и через отверстия 23 перетекает в канал 13, предварительно попадая на крышку 14. При этом в канале 13 образуется установившийся безвихревой поток, перетекающий к патрубкам 16, 17. Часть раствора в виде циркулирующей бокситовой пульпы отводится через патрубок 17 к всасывающему патрубку 20 насоса 18. Основной поток отводится из камеры 12 через патрубок 16. Пузырьки пара, образовавшегося в потоке самоиспаряющегося раствора, всплывают вверх и, достигая поверхности, выделяются в паровое пространство камеры 12. Образующийся пар в процессе самоиспарения бокситовой пульпы отводится из камеры через патрубок 24.
При наличии в камере самоиспарения 12 второго канала 25 (см. фиг.4 и 5) прокипающий раствор из трубы 22 стекает через зазоры 27 в канал 13 в виде нижней части цилиндрической камеры; образуемый пар из канала 13 проходит через зазоры 26 и отводится из камеры 12 через патрубок 24.
Формула изобретения
1. Способ самоиспарения технологического раствора, включающий подачу перегретого раствора, при давлении меньше равновесного формирование в канале горизонтальной цилиндрической камеры самоиспарения прокипающего потока со всплывающими пузырьками пара, отвод из камеры самоиспарения прокипевшего охлажденного раствора и образовавшегося пара, отличающийся тем, что от отводимого прокипевшего охлажденного раствора отделяют часть в виде циркулирующего раствора, затем смешивают перегретый раствор и циркулирующий раствор с последующей подачей образованного смешанного потока в камеру самоиспарения, причем формируют прокипающий поток с выполнением неравенства

при предварительно заданных значениях S, h, L, G, VП,
где S – общая ширина, по меньшей мере, одного потока, м;
h – глубина, по меньшей мере, одного потока, м;
L – протяженность, по меньшей мере, одного потока, м;
G – заданный расход перегретого раствора, м3/с;
VП – скорость всплывания пузырьков пара, м/с,
при этом предварительно, перед формированием прокипающего потока, подаваемый смешанный раствор в камере самоиспарения распределяют по ширине канала.
2. Способ по п.1, отличающийся тем, что распределяют прокипающий раствор равномерно по ширине канала.
3. Устройство для самоиспарения технологического раствора, включающее горизонтальную цилиндрическую камеру самоиспарения с крышками в торцевых частях, с патрубком отвода пара, с выполненным в виде нижней части камеры самоиспарения каналом для потока кипящего раствора, выходящего из камеры самоиспарения через средство отвода прокипевшего раствора, и средство ввода перегретого раствора, отличающееся тем, что средство отвода прокипевшего раствора выполнено с возможностью разделения прокипевшего раствора на циркулирующий раствор и отводимый раствор, устройство снабжено средством подачи смеси циркулирующего и перегретого растворов, имеющим вход и выход, а камера самоиспарения снабжена коллектором приема смеси растворов, причем канал содержится в камере самоиспарения в количестве, по меньшей мере, одного, и каждый канал свыше одного установлен между нижней частью камеры самоиспарения и коллектором с возможностью прохода пара, образующегося при самоиспарении потока в установленном ниже канале; коллектор выполнен с возможностью перелива смеси растворов, по меньшей мере, в один канал; выход средства подачи смеси растворов сообщается с коллектором для приема смеси растворов, вход – со средством ввода перегретого раствора и средством отвода перегретого раствора.
4. Устройство по п.3, отличающееся тем, что коллектор для приема выполнен в виде трубы с отверстиями по ее длине.
5. Устройство по п.3, отличающееся тем, что коллектор установлен с возможностью перелива смеси растворов в направлении крышки торцевой части корпуса.
6. Устройство по п.3, отличающееся тем, что коллектор установлен с возможностью растекания смеси раствора по крышке в торцевой части корпуса.
7. Устройство по п.3, отличающееся тем, что средство для подачи смеси растворов выполнено в виде струйного насоса.
8. Устройство по п.3, отличающееся тем, что средство отвода прокипевшего раствора выполнено в виде двух патрубков.
9. Устройство по п.3, отличающееся тем, что каждый канал свыше одного установлен с зазором относительно цилиндрической обечайки камеры.
10. Устройство по п.3, отличающееся тем, что каждый канал свыше одного установлен с зазором относительно крышек в торцевых частях.
РИСУНКИ
|
|