|
|
(21), (22) Заявка: 2005124791/12, 03.08.2005
(24) Дата начала отсчета срока действия патента:
03.08.2005
(46) Опубликовано: 27.04.2007
(56) Список документов, цитированных в отчете о поиске:
БУБЫРЬ Н.Ф. и др. Пожарная автоматика. – М.: Стройиздат, 1984, с.186. US 2415794 А, 11.02.1947. US 2429267 А, 21.10.1947. US 4231524 А, 04.11.1980. DE 2542240 A, 20.11.1980. FR 2485399 A1, 31.12.1981.
Адрес для переписки:
659316, Алтайский край, г. Бийск, ул. Лесная, 10, ЗАО “ПО “Спецавтоматика”
|
(72) Автор(ы):
Вязников Виталий Геннадьевич (RU), Косых Иван Николаевич (RU), Клепиков Валерий Владимирович (RU), Лукьянов Виктор Алексеевич (RU), Михайлов Владимир Константинович (RU), Чудаев Александр Михайлович (RU)
(73) Патентообладатель(и):
ЗАО “ПО “Спецавтоматика” (RU)
|
(54) ОРОСИТЕЛЬ
(57) Реферат:
Предложен ороситель, содержащий полый цилиндрический корпус с входным тангенциальным патрубком, размещенный в корпусе сердечник, и закрепленную на корпусе снизу насадку, имеющую центральное и боковые выходные отверстия и конусный отражатель, причем угол, образованный внутренней поверхностью отражателя и осью бокового выходного отверстия, составляет 10-20°, а сердечник на торце, контактирующем с насадкой, имеет круглую центральную выемку с отходящими от нее радиальными каналами, образующую камеру диспергирования. Конструкция дает возможность реализовать два взаимодействующих и взаимодополняющих способа распыления воды и получить два факела распыла, благодаря чему улучшается равномерность орошения, увеличиваются скорость распыленной воды и защищаемая площадь при любом рабочем давлении подачи воды в дренчерной установке. 2 ил.
Изобретение относится к противопожарной технике, а именно к оросителям, предназначенным для получения распыленного потока воды в дренчерных установках пожаротушения, и может быть использовано для тушения или локализации пожара в производственных и административных зданиях и помещениях.
Известны оросители тонкораспыленной воды розеточного исполнения (п. РФ №895460, 1025434, 1025435, 1618425, 18105842023457, 2203706). В известных конструкциях розеточного типа реализован ударный способ образования распыленной воды с формированием одного факела распыленной воды. Эти конструкции розеточного типа имеют общие недостатки, а именно:
– неравномерное распределение в факеле огнетушащей жидкости тонкораспыленной фракции, а значит, различная огнетушащая способность в пределах защищаемой площади;
– малая защищаемая площадь.
Также известны эвольвентные оросители типов ОЭ-50, ОЭ-25 (см. Бубырь Н.Ф. и др. «Пожарная автоматика», Москва, Стройиздат, 1984 г.). В известных конструкциях эвольвентного типа реализован центробежный способ образования распыленной воды. Общими недостатками конструкций эвольвентного типа являются:
– средний диаметр капель распыленной воды превышает 150 мкм;
– большое отклонение факела огнетушащей жидкости за пределы защищаемой площади и, как следствие, значительные различия значений равномерности орошения, средней интенсивности по секторам защищаемой площади.
Наиболее близкого аналога из уровня техники выявить не удалось.
Задачей изобретения является создание дренчерного оросителя, позволяющего обеспечить
– улучшение коэффициента равномерности и увеличение скорости распыленной воды;
– увеличение защищаемой площади.
Технический результат: конструктивные особенности дают возможность реализовать два взаимодействующих и взаимодополняющих способа распыления воды, благодаря чему улучшается равномерность орошения, увеличиваются скорость распыленной воды и защищаемая площадь при любом рабочем давлении подачи воды в дренчерной установке.
Поставленная задача решается тем, что создан ороситель, содержащий полый цилиндрический корпус с входным тангенциальным патрубком, размещенный в корпусе сердечник, и закрепленную на корпусе снизу насадку, имеющую центральное и боковые выходные отверстия и конусный отражатель, причем угол, образованный внутренней поверхностью отражателя и осью бокового отверстия, составляет 10-20°, а сердечник на торце, контактирующем с насадкой, имеет круглую центральную выемку, образующую камеру диспергирования с отходящими от нее радиальными каналами.
В предлагаемом техническом решении используется ударный способ образования распыленной воды в сочетании с центробежным. За счет применения насадки увеличена защищаемая площадь оросителя. Отражатель и ряд расположенных под ним выходных отверстий обеспечивают исключение отклонения оси факела распыляемой жидкости от центральной оси оросителя, а угол между внутренней поверхностью отражателя и осью бокового отверстия и оптимальное расстояние от точки удара боковой струи в отражатель до его конца обеспечивают максимальную скорость при минимальном среднем диаметре капель водяного факела, равномерное распределение распыленной воды при изменении давления в системе в пределах рабочего давления. За счет перечисленных признаков достигается улучшение характеристик предлагаемого оросителя по сравнению с известными.
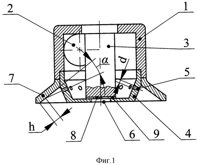
Более подробно изобретение описывается с помощью фиг.1 и 2, на которых представлен не ограничивающий изобретение пример преимущественного исполнения оросителя:
– фиг.1 – вид оросителя в разрезе сбоку;
– фиг.2 – вид оросителя в разрезе сверху.
Ороситель содержит корпус 1 с входным тангенциальным патрубком 2 и размещенным в нем сердечником 3. На корпусе снизу закреплена, например, резьбовым соединением насадка 4 в виде усеченного конуса, имеющая боковые выходные отверстия 5 с диаметром d, центральное выходное отверстие 6 и конусный отражатель 7, причем угол , образованный внутренней поверхностью отражателя 7 и осью бокового выходного отверстия 5, составляет 10-20°, преимущественно 14°. Боковые выходные отверстия 5 выполнены преимущественно перпендикулярно к образующим наружной конической поверхности насадки 4, а длина отверстий в 1,5-2 раза больше их диаметра.
Верхняя часть сердечника 3 фиксируется известным способом в корпусе 1 оросителя, а его нижняя часть, упирающаяся в насадку 4, имеет центральную выемку 8 и отходящие от нее радиальные каналы 9. Таким образом, в месте контакта сердечника 3 с насадкой 4 образуется камера диспергирования. Длина радиальных каналов 9 предпочтительно должна быть в 4-5 раз больше их ширины.
Диаметр d бокового выходного отверстия 5 рассчитывается известными методами. Расстояние h от точки удара струи из бокового выходного отверстия 5 в отражатель 7 до его конца определяется соотношением , где d – диаметр бокового выходного отверстия, K – коэффициент в пределах 1-4.
Предлагаемый ороситель формирует два факела распыленной воды: внешний и внутренний. Тангенциальный входной патрубок способствует тому, что поток воды, входя в корпус оросителя, закручивается по спирали и приобретает центробежное ускорение, что позволяет обеспечить необходимое распределение давлений по объему оросителя. Таким образом, перед боковыми выходными отверстиями в насадке создается несколько большее гидродавление, чем перед радиальными каналами сердечника – это необходимо для придания струям воды, формируемыми боковыми отверстиями максимально возможной скорости. Струи воды, выйдя из боковых отверстий, попадают в отражатель, на срезе внутренней поверхности которого и образуется внешний факел распыленной воды. Так как отражатель расположен над струями воды, формируемыми боковыми отверстиями, то, независимо от величины гидродавления (в пределах рабочего) в системе перед оросителем, распыленная вода внешнего факела будет находиться в пределах защищаемой площади. От величины гидродавления будет зависеть лишь средний диаметр капель распыленной воды. При величинах гидродавления от 0,8 МПа и выше средний диаметр капель распыленной воды будет не более 150 мкм.
Параметры внешнего факела распыленной воды определяет угол , образованный внутренней поверхностью отражателя и осью бокового отверстия насадки, который составляет 10-20°, и расстояние h отражателя, определяемое соотношением , где d – диаметр бокового отверстия в насадке, K – коэффициент в пределах 1-4. Другие параметры конструкции, такие как толщина стенки корпуса, диаметр d бокового выходного отверстия, угол насадки, рассчитываются известными методами.
Внутренний факел распыленной воды образуется в камере диспергирования. Поток воды входит в корпус оросителя, закручивается по спирали, и часть ее устремляется в радиальные каналы сердечника. Радиальные каналы сердечника попарно направлены друг на друга, поэтому сформированные ими струи воды сталкиваются в камере диспергирования, где и образуют внутренний факел распыленной воды, выходящий наружу через центральное отверстие. Параметры внутреннего факела распыленной воды определяются диаметром центрального отверстия, диаметром сердечника, толщиной стенки насадки, а также площадью сечения каналов и их длиной и рассчитываются известными методами.
Ороситель работает следующим образом.
При подаче жидкости, подлежащей распылению, ее поток через тангенциальный патрубок 2 поступает внутрь корпуса 1 и, закручиваясь вокруг сердечника 3, выходит наружу через боковые отверстия 5 насадки 4, попадая на конусный отражатель 7, и через центральное выходное отверстие 6, проходя предварительно через радиальные каналы 9 и центральную выемку 8, образующие в совокупности камеру диспергирования.
Таким образом, предлагаемый ороситель формирует два факела распыленной воды (внутренний и внешний) и реализует ударный способ образования распыленной воды в сочетании с центробежным. Струи воды, падающие под определенным углом к внутренней поверхности отражателя, расположенного над боковыми выходными отверстиями насадки, образуют внешний водяной факел. Внутренний водяной факел, выходящий через центральное выходное отверстие насадки, формируется в камере диспергирования, которая образована в месте соприкосновения с сердечником корпуса.
Экспериментальные исследования показали, что средний размер капель предлагаемого оросителя меньше, чем размер капель, генерируемых известными оросителями, равномерность и интенсивность орошения соответствуют нормативным требованиям, исключены значительные отклонения факела распыляемой жидкости от центральной оси оросителя, увеличена защищаемая площадь оросителя. Основным преимуществом предлагаемого оросителя является то, что перечисленные параметры орошения стабильны в пределах защищаемой площади и не зависят от изменении давления в системе водоснабжения в пределах рабочего давления.
Формула изобретения
Ороситель, содержащий полый цилиндрический корпус с входным тангенциальным патрубком, размещенный в корпусе сердечник, и закрепленную на корпусе снизу насадку, имеющую центральное и боковые выходные отверстия и конусный отражатель, причем угол, образованный внутренней поверхностью отражателя и осью бокового выходного отверстия составляет 10-20°, а сердечник на торце, контактирующем с насадкой, имеет круглую центральную выемку с отходящими от нее радиальными каналами, образующую камеру диспергирования.
РИСУНКИ
|
|