|
(21), (22) Заявка: 2005124563/12, 02.08.2005
(24) Дата начала отсчета срока действия патента:
02.08.2005
(46) Опубликовано: 27.04.2007
(56) Список документов, цитированных в отчете о поиске:
RU 24639 U1, 20.08.2002. RU 2131379 C1, 10.06.1999. SU 1444585 A, 15.12.1988. RU 2107554 C1, 27.03.1998. RU 2132752 C1, 10.07.1999. SU 1708430 A1, 30.01.1992. SU 1763035 A1, 23.09.1992. DE 19822607 A, 26.11.1988.
Адрес для переписки:
121467, Москва, а/я 58, А.Р. Мельяну
|
(72) Автор(ы):
Душкин Андрей Леонидович (RU), Карпышев Александр Владимирович (RU)
(73) Патентообладатель(и):
Душкин Андрей Леонидович (RU), Карпышев Александр Владимирович (RU)
|
(54) УСТРОЙСТВО ПОЖАРОТУШЕНИЯ
(57) Реферат:
Изобретение относится к пожарно-техническому оборудованию, а более конкретно к средствам пожаротушения, принцип действия которых основан на генерации потока огнетушащего вещества в виде двухфазного газокапельного потока. Устройство пожаротушения содержит, по меньшей мере, одну емкость для хранения огнетушащей жидкости, по меньшей мере, один баллон со сжатым газом, регулятор давления газа, систему соединительных шлангов и приспособление для создания направленного газокапельного потока. В состав приспособления входит корпус, управляемые клапаны подачи жидкости и газа, камера смешения жидкости и газа, выполненная в форме цилиндрического канала, и газодинамическое сопло. В камере смешения установлена цилиндрическая втулка, размещенная в корпусе с образованием кольцевой полости для подачи жидкости, с тангенциальным вводом жидкости. Внутренняя поверхность втулки образует цилиндрический канал камеры смешения. Во втулке образованы щелевые эжектирующие отверстия для подачи жидкости, ориентированные перпендикулярно оси симметрии цилиндрического канала камеры смешения. Ширина щелевых эжектирующих отверстий, выполненных во втулке, составляет не более 0,07D, где D – внутренний диаметр втулки. Протяженность части поверхности втулки со щелевыми эжектирующими отверстиями вдоль оси симметрии цилиндрического канала выбирается из условия D L0 2D. Суммарная площадь Sотв проходного сечения щелевых эжектирующих отверстий составляет не менее 0,01SB от площади внутренней поверхности втулки. Щелевые эжектирующие отверстия преимущественно выполняются равноудаленными друг от друга вдоль оси симметрии цилиндрического канала. Достигаемый технический результат заключается в сокращении непроизводительного расхода огнетушащей жидкости и повышении пространственной однородности и стабильности генерируемого мелкодисперсного газокапельного потока. 6 з.п. ф-лы, 2 ил.
Изобретение относится к пожарно-техническому оборудованию, а более конкретно к средствам пожаротушения, принцип действия которых основан на генерации потока огнетушащего вещества в виде двухфазного газокапельного потока.
В настоящее время известны устройства пожаротушения, принцип действия которых основан на генерации газокапельных потоков.
Так, например, известно устройство пожаротушения, служащее для создания туманообразных завес (патент RU 2083247, МПК А 62 С 31/02, опубл. 10.07.1997). Устройство содержит сопло Лаваля, сужающаяся часть которого сообщена с магистралью подачи воздуха. Камера смешения представляет собой тороидальную вихревую камеру, расположенную между расширяющейся и сужающейся частями сопла. В стенке вихревой камеры выполнены эжектирующие отверстия, через которые производится подача жидкости в поток воздуха из дополнительной камеры, соединенной с системой подачи жидкости под избыточным давлением.
Известно также устройство для генерации газокапельных потоков, используемое в качестве средства пожаротушения (патент RU 2107554, МПК В 05 В 7/00, опубл. 27.03.1998). В состав известного устройства входит камера смешения жидкости и газа, в которой производится предварительное диспергирование жидкости в потоке газа. Устройство содержит также протяженное профилированное газодинамическое сопло, с помощью которого осуществляется формирование и ускорение мелкодисперсного газокапельного потока. Известное изобретение позволяет существенно увеличить дальность подачи газокапельного потока.
Для оперативного тушения очагов возгорания преимущественно применяются ранцевые установки пожаротушения. В состав таких установок входит емкость с огнетушащей жидкостью, баллон со сжатым газом (воздухом) и ствол с механизмом управления подачей жидкости и газа (патент RU 2121390, МПК А 62 С 31/02, опубл. 10.11.1998). Формирование газокапельных потоков осуществляется в стволе устройства. С помощью клапанного механизма производится раздельная подача жидкости и газа в камеру смешения устройства.
Камера смешения жидкости и газа сообщена с входом в профилированное газодинамическое сопло. Длина профилированного канала сопла выбирается в зависимости от диаметра минимального сечения сопла. Компактное размещение узлов системы подачи жидкости и газа на заплечном ранце обеспечивает удобство пользования средством пожаротушения. При этом дальность подачи газокапельного потока составляет не менее 12 м.
Из патента RU 2132752 (МПК В 05 В 7/04, опубл. 10.07.1999) известно устройство для создания газокапельной струи. Данное устройство представляет собой ранцевую установку пожаротушения, в состав которой входит емкость с огнетушащей жидкостью, баллон со сжатым газом, регулятор давления газа (редуктор) и система гибких шлангов для подачи жидкости и газа. Составной частью устройства является также ствол, содержащий клапанный механизм, камеру смешения жидкости и газа и газодинамическое сопло. Камера смешения жидкости и газа представляет собой цилиндрический канал, вдоль продольной оси симметрии которого подается поток газа.
Для однородного распределения капель жидкости в газовом потоке в стенке канала выполнены отверстия, равномерно расположенные вдоль стенки канала. При подаче жидкости под избыточным давлением через систему эжектирующих отверстий производится диспергирование потока жидкости в потоке газа на отдельные капли размером до 50 мкм.
Недостатком как данного устройства, так и других описанных выше устройств-аналогов является образование пленочного течения жидкости вдоль поверхности газодинамического сопла вследствие неэффективного выбора размеров эжектирующих отверстий и их расположения вдоль стенок камеры смешения. В результате этого часть потока огнетушащей жидкости непроизводительно расходуется.
Наиболее близким аналогом к патентуемому изобретению является устройство для пожаротушения, раскрытое в свидетельстве на полезную модель RU 24639 (МПК А 62 С 13/00, опубл. 20.08.2002). Устройство содержит, по меньшей мере, одну емкость для хранения огнетушащей жидкости, по меньшей мере, один баллон со сжатым газом, редуктор, соединительные шланги, камеру смешения и газодинамическое сопло. Камера смешения образована цилиндрическим каналом с эжектирующими отверстиями для подачи жидкости. Эжектирующие отверстия могут иметь круглое либо щелевое проходное сечение. Размер каждого эжектирующего отверстия вдоль направления истечения газокапельного потока не превышает 2 мм, а расстояние между близлежащими эжектирующими отверстиями вдоль направления истечения потока составляет не менее 4 мм.
При включении устройства сжатый воздух под давлением подается в полость наддува емкости с огнетушащей жидкостью и к управляемому клапану камеры смешения. Вытесняемая из емкости огнетушащая жидкость поступает к управляемому клапану подачи жидкости в камеру смешения. В камере смешения сначала создается поток газа, в который затем через эжектирующие отверстия подаются отдельные струйки жидкости. В результате взаимодействия жидкости и газа в камере смешения происходит диспергирование жидкости. Сформированный газокапельный поток разгоняется в профилированном сопле и направляется оператором на очаг возгорания. При выключении устройства в импульсном или непрерывном режиме происходит предварительное отключение подачи огнетушащей жидкости в камеру смешения перед предварительным отключением подачи в нее газа.
При использовании данного устройства сокращается непроизводительный расход огнетушащего вещества и повышается стабильность генерации газокапельных потоков с дальностью подачи огнетушащего вещества не менее 12 м.
Однако, как было установлено в ходе проведенных испытаний, происходит пленочное течение жидкости вдоль боковой поверхности камеры смешения. Вследствие этого максимум объемной плотности капель смещается к стенке, то есть газокапельный поток приобретает кольцевую структуру. При этом в кольцевом потоке жидкости формируются своеобразные жидкостные «пробки», в результате чего увеличивается средний размер капель и происходят периодические колебания угла раскрытия струи. Указанные выше процессы приводят в целом к снижению эффективности ускорения газокапельного потока и увеличению потерь кинетической энергии потока на трение.
Кроме того, на выходе из камеры смешения, перед соплом, в результате взаимодействия струек жидкости, истекающих из эжектирующих отверстий, с осевым потоком воздуха формируется пульсирующее дисперсное кольцевое течение жидкости в форме пленочного течения вдоль стенок камеры смешения. Пульсации возникают в результате того, что струйки жидкости, направленные к продольной оси камеры смешения, образуют крупные фрагменты жидкости. В результате перемещения и перемешивания фрагментов жидкости происходит «затенение» сечения проточного канала и возникновение колебательных процессов при распределении капель по сечению канала.
Таким образом, при использовании устройства-прототипа не реализуется требуемая степень пространственной однородности диспергированного потока жидкости из-за образования пленочного течения жидкости вдоль камеры смешения.
Задачей патентуемого изобретения является создание устройства пожаротушения, позволяющего существенно снизить пленкообразование на стенках камеры смешения и за счет этого повысить равномерность распределения капель жидкости по сечению канала профилированного сопла.
Достигаемый технический результат заключается в сокращении непроизводительного расхода огнетушащей жидкости и повышении пространственной однородности и стабильности генерируемого мелкодисперсного газокапельного потока.
Указанный технический результат обеспечивается за счет использования устройства для пожаротушения, содержащего, по меньшей мере, одну емкость для хранения огнетушащей жидкости, по меньшей мере, один баллон со сжатым газом, регулятор давления газа, систему соединительных шлангов и приспособление для создания направленного газокапельного потока. В состав приспособления входят корпус, управляемые клапаны подачи жидкости и газа, камера смешения жидкости и газа в форме цилиндрического канала и газодинамическое сопло. При этом в стенке камеры смешения образованы щелевые эжектирующие отверстия для подачи жидкости, ориентированные перпендикулярно оси симметрии цилиндрического канала камеры смешения.
Согласно настоящему изобретению в камере смешения установлена цилиндрическая втулка, размещенная в корпусе с образованием кольцевой полости для подачи жидкости. Внутренняя поверхность втулки образует цилиндрический канал камеры смешения. Щелевые эжектирующие отверстия выполнены непосредственно во втулке. Ширина щелевых эжектирующих отверстий составляет не более 0,07D, где D – внутренний диаметр втулки. Протяженность L0 части поверхности втулки со щелевыми эжектирующими отверстиями вдоль оси симметрии цилиндрического канала выбирается из условия: D L0 2D. Суммарная площадь Sотв проходных сечений щелевых эжектирующих отверстий составляет не менее 0,01SB, где SB – площадь внутренней поверхности втулки.
Совокупность перечисленных выше существенных признаков изобретения обеспечивает достижение технического результата за счет исключения образования устойчивого пленочного течения жидкости на стенках камеры смешения и повышения эффективности диспергирования потока жидкости на мелкие капли в полости камеры смешения. Решение данной технической задачи позволяет повысить пространственную однородность и стабильность генерируемого мелкодисперсного газокапельного потока. Вместе с тем возможность технической реализации изобретения связана с использованием отдельной детали – втулки, в которой выполняются щелевые эжектирующие отверстия, имеющие достаточно малые размеры. В частности, ширина каждого щелевого эжектирующего отверстия не должна превышать величину 0,07D. Данное условие определяет максимальный размер капель жидкости в камере смешения и влияет на устойчивость пленкообразования на стенках камеры смешения.
Использование отдельной детали (втулки), образующей цилиндрический канал камеры смешения, обусловлено техническими возможностями реализации существенных условий изобретения, определяющих заданное расположение щелевых отверстий в канале камеры смешения и выбор размеров отверстий. Так, например, при внутреннем диаметре втулки (диаметре канала камеры) D=20 мм ширина щелевых отверстий не должна превышать 1,4 мм. При выполнении условий, ограничивающих размер втулки (D L0 2D), количество щелевых отверстий должно быть достаточно большим, чтобы обеспечивалось другое условие: Sотв 0,01SB, определяющее требуемую плотность расположения щелевых эжектирующих отверстий на внутренней поверхности втулки.
Реализация перечисленных существенных условий изобретения при использовании специальной детали (втулки), в которой с заданной степенью точности могут быть выполнены щелевые отверстия, позволяет генерировать газокапельные потоки с равномерным распределением капель жидкости по поперечному сечению потока без образования устойчивого пленочного течения жидкости по стенкам канала камеры смешения. Следует также отметить, что повышение пространственной однородности и стабильности генерируемого мелкодисперсного газокапельного потока достигается при сохранении прочностных характеристик устройства в целом, несмотря на высокую плотность щелевых отверстий, образованных в стенке камеры смешения.
Перечисленные существенные признаки изобретения обеспечивают генерацию мелкодисперсного газокапельного потока с равномерным пространственным распределением капель жидкости при отсутствии крупных жидкостных включений и неоднородностей по размерам капель.
С целью регулируемого эжектирования заданного объема жидкости по отношению к расходу газа через цилиндрический канал камеры смешения, суммарная площадь проходных сечений щелевых эжектирующих отверстий выбирается из условия
0,02SB Sотв 0,08SB.
Для повышения равномерности распределения капель жидкости в камере смешения щелевые эжектирующие отверстия равноудалены друг от друга вдоль оси симметрии цилиндрического канала.
Дополнительное повышение пространственной однородности генерируемого газокапельного потока и оптимизация среднего размера капель (не более 100 мкм) достигается посредством определенного расположения щелевых отверстий. Расстояние l между отверстиями одного ряда, сформированного вдоль оси симметрии цилиндрического канала, выбирается в диапазоне: l=(4÷10)b
Оптимальная длина втулки L определяется из диапазона L=(1,5÷3)D. При данных размерах втулки струйки жидкости, создаваемые в щелевых эжектирующих отверстиях, могут последовательно, вдоль направления течения потока, проникать в приосевую область воздушного потока, протекающего через цилиндрический канал камеры смешения.
Целесообразно также, чтобы плотность распределения щелевых отверстий на единицу площади части поверхности втулки со щелевыми отверстиями выбиралась из диапазона: 2÷6 отверстий на см2. В этом случае обеспечивается максимальная равномерность распределения капель в цилиндрическом канале камеры смешения.
Расстояние от торцов втулки до ближайшего кольцевого ряда щелевых эжектирующих отверстий преимущественно не превышает 0,5L. При данном соотношении размеров участков втулки снижается вероятность образования пленочного течения жидкости на участке внутренней поверхности втулки, на котором отсутствуют щелевые эжектирующие отверстия.
Далее изобретение поясняется примерами конкретного выполнения устройства со ссылками на поясняющие чертежи, на которых изображено следующее:
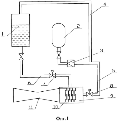
– на фиг.1 – принципиальная схема устройства пожаротушения с продольным разрезом камеры смешения жидкости и газа;
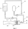
– на фиг.2 изображен местный разрез камеры смешения жидкости и газа в области расположения втулки (масштаб 2:1).
Устройство пожаротушения (см. фиг.1) содержит емкость 1, заполненную огнетушащей жидкостью, баллон 2 со сжатым газом, газовый редуктор 3 (регулятор давления), соединительные шланги 4, 5 и 6, клапаны 7 и 8 подачи жидкости и газа соответственно. В состав устройства входит приспособление для создания направленного газокапельного потока, включающее камеру 9 смешения жидкости и газа со щелевыми эжектирующими отверстиями 10, выполненными в стенке камеры, и газодинамическое сопло 11.
Камера смешения, в которой осуществляется диспергирование жидкости в потоке газа, представляет собой цилиндрическую втулку 12, герметично установленную в корпусе 13 (см. фиг.2). Между стенкой корпуса 13 и внешней поверхностью втулки 12 образована кольцевая полость для подачи жидкости, выполненная с вводом 14 жидкости. Внутренняя поверхность втулки 12 образует цилиндрический канал камеры смешения.
Кольцевая полость для подачи жидкости состоит из полости 15 большего диаметра и полости 16 меньшего диаметра. Полости 15 и 16 соединены друг с другом через конический переходный канал 17. Входное сечение канала 17 совпадает с сечением полости 15, а выходное – с сечением полости 16. Геометрические размеры полостей 15 и 16 для создания оптимальных гидродинамических условий движения потока жидкости выбраны из следующих условий:
– диаметр полости 15 превышает диаметр полости 16 в 1,1÷1,7 раз;
– длина полости 16 меньшего диаметра выбрана из диапазона (0,3÷0,5)L, где L – длина втулки 12;
– диаметр полости 15 большего диаметра составляет (1,7÷2,0)Dн, где Dн – наружный диаметр втулки 12.
Втулка 12 герметично устанавливается в корпусе 13 с помощью узла крепления 18, обеспечивающего центровку втулки 12 и ее поджатие к торцевой части входного участка 19 газодинамического сопла.
Во втулке 12 выполнены щелевые эжектирующие отверстия 10 для подачи жидкости в полость втулки, ориентированные перпендикулярно оси симметрии цилиндрического канала камеры смешения. Количество эжектирующих отверстий составляет 24. Плотность распределения щелевых эжектирующих отверстий на единицу площади части внутренней поверхности втулки со щелевыми эжектирующими отверстиями составляет 4 отв/мм2.
Ширина b эжектирующих отверстий 11 составляет 0,5 мм и выбирается из условия: b 1 мм согласно соотношению b 0,07D при величине D=14 мм. Указанное соотношение ограничивает средний размер капель диспергируемой жидкости в зависимости от размера проходного сечения канала камеры. При выполнении данного условия обеспечивается высокая эффективность диспергирования жидкости и исключается устойчивое пленочное течение жидкости по стенкам камеры.
Щелевые эжектирующие отверстия равноудалены друг от друга на расстояние l=4 мм в направлении истечения газокапельного потока. Расстояние l предпочтительно выбирается из условия: l=(4÷8)b. Плотность распределения щелевых эжектирующих отверстий составляет 4 отверстия на см2 площади части поверхности втулки 12 со щелевыми отверстиями 10.
Протяженность L0 части поверхности втулки 12 со щелевыми эжектирующими отверстиями 10 в рассматриваемом примере реализации изобретения равна 15 мм, что составляет примерно 50% от общей длины L втулки 12.
Суммарная площадь Sотв проходного сечения щелевых отверстий равна 96 мм2, что составляет 0,02SB (SB=4700 мм2).
Общая длина L втулки 12 равна 32 мм, а внутренний диаметр D втулки составляет 14 мм. При указанных условиях соблюдается условие L=2,3D. Максимальное расстояние от торцов втулки 12 до ближайшего кольцевого ряда щелевых эжектирующих отверстий 10 равно 10 мм, т.е. не превышает 0,5L.
Работа описанного выше устройства пожаротушения осуществляется следующим образом.
После заправки емкости 1 огнетушащей жидкостью (водой) и зарядки баллона 2 сжатым газом (воздухом) до давления 30,0 МПа открывают запорно-пусковые вентили, и газ поступает из баллона 2 через газовый редуктор и шланг 4 в полость наддува емкости 1. В качестве огнетушащей жидкости в рассматриваемом примере используется вода, а в качестве рабочего газа – воздух. Возможно также использование воды с пенообразующими добавками.
Давление воздуха за газовым редуктором 3 в режиме расхода газа составляет 0,75÷0,8 МПа. По шлангу 5 сжатый воздух с выхода из редуктора 3 поступает к управляемому клапану 8 подачи газа в камеру 9 смешения жидкости и газа. Вода, вытесняемая сжатым газом из емкости 1, поступает по шлангу 6 к управляемому клапану 7 подачи жидкости в камеру 9 смешения жидкости и газа.
При включении устройства сначала открывается управляемый клапан 8 подачи газа, а затем с задержкой (t0,3 с) – клапан 7 подачи жидкости. В результате указанной последовательности открытия клапанов 7 и 8 в камеру 9 предварительно поступает поток газа, в который через щелевые эжектирующие отверстия 10 поступают струйки воды.
Сжатый воздух из баллона 2 через шланг 5 и управляемый клапан 8 подачи газа поступает в цилиндрический канал камеры смешения жидкости и газа, образованный внутренней поверхностью втулки 12. Поток жидкости подается в камеру смешения через ввод 14. Сначала жидкость поступает в полость 13 большего диаметра, в которой происходит формирование потока. Сформированный в полости 13 поток поступает далее через плавно сужающийся в направлении течения жидкости конический канал в полость 16 меньшего диаметра.
При течении жидкости через сужающийся конический канал происходит увеличение скорости потока жидкости. В результате жидкость поступает в камеру смешения через щелевые эжектирующие отверстия 10 с достаточно большой скоростью в виде тонких равномерно распределенных в пространстве струек. При этом вектор скорости струек жидкости на выходе из щелевых эжектирующих отверстий 10 направлен перпендикулярно оси симметрии цилиндрического канала и соответственно вектору скорости потока газа.
В результате взаимодействия струек воды с потоком газа происходит диспергирование жидкости на мелкие капли со средним размером 50÷100 мкм. За счет расчетного выбора размера и расположения щелевых эжектирующих отверстий интенсифицируется процесс диспергирования жидкости в потоке газа и обеспечивается равномерное пространственное распределение капель жидкости в цилиндрическом канале камеры смешения. Вследствие этого снижается вероятность образования достаточно крупных капель жидкости и формирования устойчивого пленочного течения вдоль стенок камеры смешения.
Сформированный в камере смешения 9 мелкодисперсный газокапельный поток разгоняется в профилированном канале газодинамического сопла 10. Требуемая скорость газокапельной струи, при которой обеспечивается необходимая дальность подачи газокапельной струи, достигается подбором соответствующего уровня давления газа на входе в газодинамическое сопло 10 и/или изменением длины профилированного канала сопла.
Генерируемый пространственно однородный мелкодисперсный газокапельный поток направляется оператором на очаг возгорания. Эффективное тушение очага осуществляется за счет высокой скорости и равномерности распределения мелких капель жидкости в непосредственной близости от пламени. Высокоскоростной мелкодисперсный газокапельный поток проникает в очаг возгорания и вследствие этого осуществляется эффективный теплоотвод как от пламени, так и от нагретых поверхностей в зоне горения.
Посредством изменения положения газодинамического сопла 10 в вертикальной и горизонтальной плоскости оператор может управлять газокапельным потоком и осуществлять тушение очагов возгорания на больших площадях, в открытом пространстве и замкнутых помещениях, на расстояниях до 12 м. При использовании для тушения очагов возгорания воды с пенообразователем на поверхности очага образуется тонкая пленка пенообразующего вещества, ограничивающая поступление кислорода из окружающего пространства в зону горения.
При выключении устройства производится предварительное отключение подачи огнетушащей жидкости в камеру 9 перед отключением подачи в нее газа. Такая последовательность действий осуществляется за счет первоначального закрытия клапана 7 подачи жидкости, а затем с задержкой (t0,3 c) – закрытия клапана 8 подачи газа.
Патентуемое изобретение позволяет создать наиболее оптимальные гидродинамические условия для равномерного распределения капель жидкости в камере смешения. Данные условия обеспечивают повышение пространственной однородности генерируемого газокапельного потока и снижение непроизводительного расхода огнетушащей жидкости.
В результате проведенных экспериментов было установлено, что скорость капель жидкости при подлете к очагу пожара составляла не менее 5 м/с при интенсивности подачи жидкости 0,4 л/с. Скорость газокапельной струи на выходе из сопла 10 составляла около 80 м/с.
При запасе огнетушащей жидкости 12 л с помощью ранцевой установки пожаротушения, выполненной согласно патентуемому изобретению, осуществлялось тушение очагов возгорания, состоящих из твердых материалов, площадью более 60 м2 и очагов возгорания легковоспламеняющихся жидкостей площадью более 7 м2.
Изобретение может найти применение в средствах пожаротушения различного назначения. Например, для создания туманообразных завес или пламегасящих газокапельных потоков.
Формула изобретения
1. Устройство пожаротушения, содержащее, по меньшей мере, одну емкость для хранения огнетушащей жидкости, по меньшей мере, один баллон со сжатым газом, регулятор давления газа, систему соединительных шлангов и приспособление для создания направленного газокапельного потока, в состав которого входят корпус, управляемые клапаны подачи жидкости и газа, камера смешения жидкости и газа, выполненная в форме цилиндрического канала, и газодинамическое сопло, при этом в стенке камеры смешения образованы щелевые эжектирующие отверстия для подачи жидкости, ориентированные перпендикулярно оси симметрии цилиндрического канала камеры смешения, отличающееся тем, что в камере смешения установлена цилиндрическая втулка, размещенная в корпусе с образованием кольцевой полости для подачи жидкости, внутренняя поверхность втулки образует цилиндрический канал камеры смешения, щелевые эжектирующие отверстия выполнены во втулке, причем ширина щелевых эжектирующих отверстий составляет не более 0,07D, где D – внутренний диаметр втулки, протяженность L0 части поверхности втулки со щелевыми эжектирующими отверстиями вдоль оси симметрии цилиндрического канала выбирается из условия: D L0 2D, суммарная площадь Sотв проходных сечений щелевых эжектирующих отверстий составляет не менее 0,01SB, где SB – площадь внутренней поверхности втулки.
2. Устройство по п.1, отличающееся тем, что суммарная площадь проходного сечения щелевых эжектирующих отверстий выбирается из условия
0,02SB Sотв 0,08SB.
3. Устройство по п.1, отличающееся тем, что щелевые эжектирующие отверстия равноудалены друг от друга вдоль оси симметрии цилиндрического канала.
4. Устройство по п.1, отличающееся тем, что расстояние l между щелевыми эжектирующими отверстиями одного ряда, сформированного вдоль оси симметрии цилиндрического канала, выбрано из диапазона l=(4÷10)b, где b – ширина щелевого эжектирующего отверстия.
5. Устройство по п.1, отличающееся тем, что длина втулки L выбрана из диапазона L=(1,5÷3)D.
6. Устройство по п.1, отличающееся тем, что плотность распределения щелевых эжектирующих отверстий на единицу площади части поверхности втулки со щелевыми эжектирующими отверстиями составляет 2-6 отверстий на см.2
7. Устройство по п.1, отличающееся тем, что расстояние от торцов втулки до ближайшего кольцевого ряда щелевых эжектирующих отверстий составляет не более 0,5L.
РИСУНКИ
|