|
|
(21), (22) Заявка: 2005125681/14, 05.08.2005
(24) Дата начала отсчета срока действия патента:
05.08.2005
(46) Опубликовано: 27.04.2007
(56) Список документов, цитированных в отчете о поиске:
RU 2170112 С1, 10.07.2001. RU 2152901 C1, 10.07.2001. RU 2241501 C1, 10.12.2004. JP 2004296221 А, 21.10.2004. CN 1513562 A, 21.07.2004.
Адрес для переписки:
420107, г.Казань, ул. Эсперанто, 50, кв.2, ОИР РТ
|
(72) Автор(ы):
Бызов Юрий Иванович (RU), Самолдин Анатолий Иванович (RU), Суворов Владимир Николаевич (RU)
(73) Патентообладатель(и):
Общество с ограниченной ответственностью “Малое инновационное предприятие-РИН” (ООО “МИП-РИН”) (RU)
|
(54) УСТРОЙСТВО И СПОСОБ ПОЛУЧЕНИЯ КЛАСТЕРОВ ВЫСОКОЭНЕРГЕТИЧЕСКИХ АЭРОИОНОВ КИСЛОРОДА
(57) Реферат:
Изобретение относится к медицинской технике. Устройство для получения кластеров высокоэнергетических аэроионов кислорода содержит источник высоковольтного отрицательного напряжения и двухступенчатый ионизирующий элемент. Ионизирующий элемент состоит из первичного игольчатого электрода низкоэнергетической ступени, установленного внутри объемного электрода высокоэнергетической ступени, выполненного в виде воздухопроницаемой ионизационной камеры. Камера образована со стороны входа воздуха экраном с системой воздухопропускающих отверстий и размещенной на его поверхности решеткой пассивных токопроводных игольчатых электродов, направленных по оси излучения потока аэроионов, и выходной металлической решеткой, выполненной в виде трехмерной сотовой структуры с глубиной ячеек, равной или большей их линейных размеров. Экран объемного электрода высокоэнергетической ступени выполнен из воздухопроцаемой металлической сетки, закреплен по периметру в ионизационной камере с помощью электроизоляционных пластин и подключен к источнику высоковольтного напряжения. На его наружной стороне установлена система расположенных в один или несколько рядов дополнительных первичных игольчатых электродов. Острия электродов помещены в трубчатые изоляторы и через отверстия в экране введены внутрь ионизационной камеры. Токопроводные электроды пассивной решетки выполнены клиновидной формы и образуют локальные ячейки, центры которых координатно-сопряжены с излучающими остриями расположенных на экране первичных игольчатых электродов низкоэнергетической ступени. Решетка пассивных электродов установлена с помощью изолирующих стоек в полости ионизационной камеры равноудаленно от экрана и выходной металлической решетки и соединена через высокоомный резистор с наружной стороной выходной решетки. Для получения кластеров высокоэнергетических аэроионов кислорода формируют плазму из свободных электронов в полости ионизационной камеры с помощью игольчатого электрода. Создают в ней линейно-однородное электростатическое поле с помощью экрана с установленной на нем решеткой пассивных токопроводящих электродов, направленных по оси излучения аэроионов. В полости ионизационной камеры повышают плотность энергии электростатического поля пропорционально числу первичных игольчатых электродов на единице площади экрана. Одновременно выравнивают краевые неоднородности электростатического поля за счет установки локальных ячеек клиновидных пассивных электродов. Электроды располагают координатно-сопряженно с излучающими остриями первичных игольчатых электродов. Изобретение позволяет повысить уровень профилактического и оздоровительного эффекта. 2 н. и 2 з.п. ф-лы, 6 ил.
Изобретение относится к медицинской технике и может быть использовано для поляризационной ионизации кислорода воздуха, для профилактики и лечения болезней в бытовых, производственных и санаторно-больничных условиях, а также в спортивной медицине.
Известен (см. А.Л.Чижевский. «Руководство по применению ионизированного воздуха». ГОСПЛАНИЗДАТ, М., 1959 г., стр.51.) способ получения гидрокислородных кластеров аэроионов, в котором в ионизационную камеру подают газообразный кислород и пары воды через решетку форсунок, соединенную с источником высоковольтного отрицательного напряжения. Этим способом получают кластеры аэроионов кислорода в виде микрокапель воды, на поверхности которых помещаются по тысяче и более аэроионов кислорода.
Недостатком этого способа является то, что в составе гидрокислородного кластера находятся преимущественно низкоэнергетические аэроионы вида O2 1-, а высокоэнергетические аэроионы вида О2 2- практически отсутствуют.
Наиболее близким к предлагаемому изобретению, относящемуся к устройству для получения кластеров высокоэнергетических аэроионов кислорода, является устройство, описанное в патенте РФ №2170112, МПК7 А 61 1/44, за 2000 г. Это известное устройство содержит источник высоковольтного отрицательного напряжения и двухступенчатый ионизирующий элемент, состоящий из подключенного к источнику высоковольтного напряжения первичного игольчатого электрода низкоэнергетической ступени, установленного внутри объемного электрода высокоэнергетической ступени, выполненного в виде воздухопроницаемой ионизационной камеры. Камера образована со стороны входа диэлектрическим экраном с системой воздухопропускающих отверстий, а со стороны выхода металлической решеткой, выполненной в виде трехмерной сотовой структуры с глубиной ячеек, равной или большей их линейных размеров. На экране размещена решетка пассивных игольчатых электродов, направленных по оси излучения аэроионов. Первичный игольчатый электрод излучает свободные электроны, которые заполняют полость ионизационной камеры электронной плазмой. Диэлектрический экран и решетка пассивных электродов создают в полости камеры линейно-однородную структуру электростатического поля, в котором происходит поляризация аэроионов и нейтральных молекул кислорода. Это обеспечивает формирование поляризованных кластеров высокоэнергетических аэроионов кислорода вида (2O2 2-+4О2 0
Недостатком этого устройства является низкая стабильность процесса кластерообразования, а также малые размеры образующихся кластеров высокоэнергетического кислорода вида (2O2 2-+4O2 0)·n по причине недостаточной плотности энергии электростатического поля, а также вследствие сильного влияния краевых эффектов электростатического экрана. В зонах краевых неоднородностей электростатического поля по периметру диэлектрического экрана не только отсутствуют условия для образования поляризованных кластеров, но при повышенных напряжениях высоковольтного источника возникает эффект шнурования электронной плазмы в виде локального прорыва селективных свойств выходной решетки потоком свободных электронов. Это ведет к эффекту полной утечки электронной плазмы из полости ионизационной камеры и, вследствие падения ее концентрации ниже необходимого уровня, полностью прекращает процесс формирования кластеров высокоэнергетических аэроионов кислорода в ионизационной камере.
В этом же патенте описан поляризационный способ получения кластеров высокоэнергетических аэроионов кислорода (далее кластеров), который заключается, во-первых, в создании в полости ионизационной камеры плазмы из свободных электронов с помощью первичного игольчатого электрода, подключенного к источнику высоковольтного напряжения, а во-вторых, в создании во внутренней полости ионизационной камеры линейного однородного электростатического поля, которое формируется с помощью диэлектрического экрана с установленной на нем решеткой пассивных игольчатых электродов, направленных по оси излучения аэроионов. Созданное в полости ионизационной камеры линейно-однородное электростатическое поле, направленное от входа камеры к ее выходной решетке, поляризует низкоэнергетические аэроионы кислорода воздуха, «накачивает» их и свободные электроны кинетической энергией и производит их повторную ударную высокоэнергетическую ионизацию, то есть переход аэроионов O2 1- в аэроионы O2 2-.
При этом между поляризованными аэроионами и поляризованными нейтральными молекулами кислорода воздуха возникают диполь-дипольные Кулоновские и Ван-дер-Ваальсовы силы притяжения, которые объединяют ионизированные и нейтральные молекулы кислорода в упорядоченные кластеры вида (2O2 2-+4O2 0)·n. Под действием энергии электростатического поля кластеры, а также свободные электроны двигаются к выходной трехмерной решетке, трехмерная структура которой производит селективное разделение: – многозвенные инерционные кластеры вида (2O2 2-+4O2 0)·n двигаются по прямой траектории и проходят в наружное пространство, а легкие свободные электроны искривляют траекторию в направлении «фарадеевского нуля», оседают на выходной решетке. Полученный решеткой заряд создает электростатический барьер, удерживающий плазму свободных электронов в полости ионизационной камеры. Поляризованные кластеры заряженных и нейтральных молекул кислорода вида (2O2 2-+4O2 0)·n имеют нулевой суммарный заряд, поэтому при измерениях на выходе ионизатора на расстоянии до 0,5 метра наблюдается «нулевая зона», в которой аспирационные счетчики аэроионов не регистрируют их наличия. Далее наблюдается «зона мерцаний», в которой вследствие распада кластеров показания счетчика хаотически флюктуируют в пределах от 0 до 30 тыс. ионов/см3. На расстоянии 1 метра и более, где кластеры полностью распались на одиночные молекулы, счетчик регистрирует обычную, характерную для ионизаторов эффлювиального типа, концентрацию легких отрицательных низкоэнергетических аэроионов.
Недостатком этого поляризационного способа получения кластеров высокоэнергетических аэроионов кислорода являются малые размеры (n 100) и, соответственно, малое время жизни образующихся кластеров высокоэнергетического кислорода, поэтому лечебная «нулевая зона» имеет малые размеры, вследствие чего лечебно-оздоровительный эффект не достигает возможного максимума. Малые размеры кластеров обусловлены недостаточной плотностью энергии электростатического поля, которая ограничена эффектом шнурования и низкой способностью к накоплению заряда пассивным диэлектрическим экраном.
Предлагаемые изобретения направлены на достижение технического результата, заключающегося в увеличении размеров кластеров до n 1000…10000, чем достигается увеличение времени жизни кластеров (повышение дальности «нулевой зоны») и, соответственно, повышение уровня профилактического и лечебно-оздоровительного эффекта.
Для достижения указанного технического результата в предлагаемом устройстве, содержащем источник высоковольтного отрицательного напряжения и двухступенчатый ионизирующий элемент, состоящий из первичного игольчатого электрода низкоэнергетической ступени, установленного внутри объемного электрода высокоэнергетической ступени, выполненного в виде воздухопроницаемой ионизационной камеры, образованной со стороны входа электростатическим экраном, выполненным из диэлектрика с системой воздухопропускающих отверстий и размещенной на нем решеткой пассивных игольчатых электродов, направленных по оси излучения аэроионов, и выходной металлической решеткой, выполненной в виде трехмерной сотовой структуры с глубиной ячеек, равной или большей их линейных размеров, упомянутый электростатический экран (далее экран) выполнен из токопроводной воздухопроницаемой сетки, закреплен по периметру ионизационной камеры с помощью электроизоляционных пластин и подключен к источнику высоковольтного напряжения, а на его наружной поверхности расположены дополнительные первичные игольчатые электроды, установленные в один или несколько рядов и помещенные в трубчатые изоляторы, при этом острия электродов через отверстия в экране введены внутрь ионизационной камеры, а пассивные электроды выполнены клиновидной формы и расположены в виде локальных ячеек, центры которых координатно сопряжены с излучающими остриями первичных игольчатых электродов низкоэнергетической ступени, при этом локальные ячейки клиновидных пассивных электродов объединены в решетку, установленную в полости ионизационной камеры равноудаленно от экрана и выходной трехмерной решетки и закрепленную на экране с помощью изолирующих стоек. Кроме того, длина первичных игольчатых электродов не менее чем в 2 раза превышает расстояние между центрами ячеек решетки пассивных электродов, а со стороны входа воздуха в ионизационную камеру перед экраном установлен ограничитель скорости ионного потока, выполненный в виде сменной пластмассовой решетки с вертикально расположенными стержнями, между которыми зигзагообразно уложен фильтрующий материал.
Экран, выполненный из металлической сетки и соединенный с источником высоковольтного напряжения, создает основное, направленное к выходной решетке электростатическое поле, которое вследствие малых габаритов ионизационной камеры имеет неоднородный, веерообразный характер. Расположенные на обратной стороне экрана первичные игольчатые излучатели благодаря их повышенной длине, устраняющей взаимозависимость их работы при малых межэлектродных расстояниях, излучают равномерные потоки электронов, что позволяет повысить интенсивность общего, суммарного аэроионного потока без увеличения габаритов ионизационной камеры. Расположенная в центре ионизационной камеры решетка пассивных клиновидной формы электродов формирует внутри каждой локальной координатно-сопряженной ячейки дополнительное электростатическое поле, компенсирующее по принципу суперпозиции краевые неоднородности основного, создаваемого экраном электростатического поля. Это обеспечивает высокую стабильность ориентации поляризованных молекул кислорода в процессе их движения внутри локальной ячейки от острий первичных излучателей к селективной выходной решетке ионизационной камеры. Благодаря размещению линейной части первичных игольчатых излучателей, на внешней стороне экрана, длина пролетного расстояния от острий первичных излучателей до выходной решетки, на протяжении которого происходит набор энергии молекулами кислорода и последующее диполь-дипольное формирование кластеров, достигает 90% осевого размера ионизационной камеры. Для исключения электростатического взаимовлияния близко расположенных в один или несколько рядов первичных игольчатых электродов их линейная электрическая длина не менее чем в два раза превышает расстояния между остриями электродов.
Для увеличения размеров кластеров путем увеличения времени процесса их формирования со стороны входа в ионизационную камеру перед экраном установлен ограничитель скорости ионного воздушного потока, выполненный в виде пластмассовой рамки с вертикально расположенными перегородками, между которыми зигзагообразно уложен сменный фильтрующий материал.
Вследствие этого, значение множителя n в кластере вида (2O2 2-+4O2 0)·n повышается до n 1000, а с учетом оптимизации скорости ионного ветра фильтрующим материалом до n 10000. Такие размеры кластеров позволяют достичь существенно более высокой профилактической и лечебно-оздоровительной эффективности кластеров в сочетании с долговременной стабильностью и устойчивостью работы малогабаритного поляризационного устройства.
Для получения названного технического результата в предлагаемом способе получения кластеров высокоэнергетических аэроионов кислорода, включающем формирование в полости ионизационной камеры плазмы из свободных электронов с помощью игольчатого электрода и создания в ней линейно-однородного электростатического поля с помощью экрана с установленной на нем решеткой пассивных токопроводных электродов, направленных по оси излучения аэроионов, в полости ионизационной камеры, повышают плотность энергии электростатического поля пропорционально числу первичных игольчатых электродов на единице площади экрана и одновременно выравнивают краевые неоднородности электростатического поля за счет установки локальных ячеек клиновидных пассивных электродов, которые располагают координатно-сопряженно с излучающими остриями первичных игольчатых электродов.
Экран, соединенный с источником высоковольтного напряжения, совместно с системой первичных игольчатых электродов создают в полости камеры электростатическое поле с повышенной на порядок или более плотностью энергии, а локальные ячейки клиновидных пассивных электродов создают линейную структуру локальных электростатических полей с повышенной однородностью, чем в совокупности обеспечивают формирование кластеров высокоэнергетических аэроионов кислорода вида (2O2 2-+4O2 0)·n с повышенными до n 1000 10000 размерами.
Предлагаемые изобретения иллюстрируются чертежами, на которых изображены:
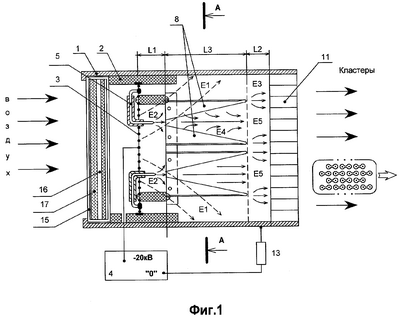
на фиг.1 представлен общий вид устройства для осуществления предложенного способа (вертикальный разрез);
на фиг.2 – разрез А-А по фиг.1;
на фиг.3 – общий вид устройства, вид сверху;
на фиг.4 приведена упрощенная схема формирования поляризованного кластера высокоэнергетических аэроионов кислорода;
на фиг.5 показана горизонтальная диаграмма распространения кластеров и аэроионов после распада кластеров;
на фиг.6 приведены сравнительные результаты измерений количества аэроионов в зависимости от расстояния между счетчиком и источником аэроионов:
а) обычный эффлювиальный ионизатор,
б) поляризационный ионизатор по патенту №2170112,
в) устройство по заявляемому изобретению.
Предлагаемое устройство для получения поляризованных кластеров высокоэнергетических аэроионов кислорода (см. фиг.1) содержит ионизационную камеру 1, внутри которой посредством пластинчатых изоляторов 2, закрепленных по периметру ионизационной камеры 1, установлен экран 3, соединенный с источником высоковольтного отрицательного напряжения 4. На внешней стороне экрана 3 установлены один или несколько рядов первичных игольчатых излучателей 5, помещенных в трубчатые изоляторы 6, острия 10 которых через отверстия в экране 3 посредством трубчатых изоляторов 6 проходят внутрь рабочей полости ионизационной камеры 1. Длина первичных игольчатых электродов 5 превышает не менее чем в 2 раза расстояние между центрами ячеек 9. Кроме того, внутри изоляционной камеры 1 посредством изолирующих стоек 12 равноудаленно от экрана 3 и выходной решетки 11 установлена решетка 7 пассивных электродов 8, которые образуют локальные, например, квадратные ячейки 9 координатно-сопряженные с остриями 10 первичных игольчатых излучателей 5. На выходе камеры 1 установлена токопроводная решетка 11, выполненная в виде трехмерной сотовой структуры с глубиной ячеек, равной или большей их линейных размеров, которая заграждает выход в наружное пространство для свободных электронов и пропускает кластеры аэроионов вида (2O2 2-+4O2 0)·n. При этом выходная решетка 11 посредством резистора 13 соединена с выводом нулевого потенциала высоковольтного источника отрицательного напряжения 4, а решетка 7 пассивных электродов 8 посредством высокоомного резистора 14 подключена к наружной стороне выходной решетки 11. Со стороны входа воздуха в ионизационную камеру 1 перед экраном 3 установлен ограничитель скорости ионного потока, выполненный в виде сменной пластмассовой решетки 15 с вертикально расположенными стержнями 16, между которыми зигзагообразно уложен фильтрующий материал 17 (сменный). Ионизационная камера 1 выполнена из токопроводного материала, который обеспечивает эффект «клетки Фарадея», то есть наличие нулевого потенциала на внутренней поверхности камеры и выходной решетки 11. Камера помещается в защитный пластмассовый корпус (не показан), обеспечивающий электростатическую изоляцию камеры от соприкосновений с внешними предметами. Острия первичных игольчатых излучателей 10 выполнены из неокисляющихся графитовых стержней и помещены в трубчатый хлорвиниловый изолятор 6, исключающий контактирование острий первичных электродов с экраном 3. Клиновидные электроды 8 выполнены из токопроводного листового металла, на поверхность которого нанесено защитное покрытие, например «химический никель», которое защищает электроды от окисления активным кислородом. Размеры и форма клиновидных электродов 8, а также расстояние между ними (см.фиг.1, 2, 3) могут быть рассчитаны по формулам электростатики или подбираются опытным путем с учетом конкретных конструктивных размеров ионизационной камеры 1. В частном случае (см. фиг.2), размеры квадрата локальной ячейки 9 клиновидных пассивных электродов 8 а=b, составляют 20 мм, а угол «клиновидности» острия составляет приблизительно 20°. Расстояния L1 и L2 выбираются из условия отсутствия электрического пробоя промежутков между решеткой 7 пассивных электродов 8, экраном 3 и входной решеткой 11. При выбранном UВВИ=20 кВ, L1 L2 10 мм. Размер L3, то есть длина пути диполь-дипольного формирования кластеров аэроионов, выбирается максимальным по габаритным конструктивным параметрам ионизационной камеры 1. В частном случае примера реализации размер L3 составляет 30 мм. Высоковольтный источник отрицательного напряжения 4 может быть выполнен по патенту РФ №2014851 МКИ5 А61N 1/44, 1994 г.
Устройство для получения поляризованных кластеров высокоэнергетических аэроионов кислорода работает следующим образом. При подаче высоковольтного отрицательного напряжения на экран 3 во внутреннем пространстве ионизационной камеры 1 вблизи экрана 3 возникает электростатическое поле E1. При этом из острий 10 первичных игольчатых электродов 6, установленных на экране 3, истекает поток свободных электронов е–, которые равномерно заполняют внутренний объем ионизационной камеры 1. Под действием электростатического поля экрана 3, электроны двигаются в сторону выходной решетки 11, внутренняя сторона которой имеет фарадеевский нулевой потенциал, и создают на ней вторичный потенциал, определяемый резистором утечки 14. При этом часть электронов е– оседает на решетке 7 пассивных электродов 8 и создает дополнительное, специальной формы электростатическое поле, корректирующее по принципу суперпозиции поля Е1 и Е2. Наличие решетки 7, содержащей токопроводные клиновидные электроды 8, видоизменяет структуру силовых линий поля Е1, показанных на фиг.1 пунктиром, и формирует внутри локальных ячеек 9 «автономные» поля Е4, при этом суммарное, достигающее выходной решетки 11 поле Е5 имеет однородную осевую линейную направленность. При работе первичных игольчатых электродов 5 в зоне острий 10 (см. фиг.1) образуются первичные, квантово-различные по энергетическим уровням аэроионы кислорода, а именно (O2 1- (10÷20%), O2 2- (1÷3%), и псевдоаэроионы O2 (1-) (89÷77%). Последние имеют пониженную на 0,8 эВ энергию, определяемую сродством к электрону, при этом межъядерное расстояние не увеличено, а уменьшено на 1…2%, и поэтому они легко отдают энергетически слабо связанные с молекулой свободные электроны выходной решетке 11 (см. патент РФ №2170112). В результате на выходной решетке 11 накапливается отрицательный электростатический заряд, который вследствие кулоновского отталкивания заграждает прохождение псевдоаэроионов во внешнее пространство. В «пролетном пространстве» по длине клиновидных электродов 8 идут процессы набора кинетической энергии свободными электронами е–, а также поляризации аэроионов O2 1-, О2 2- и нейтральных молекул O2 0. В результате этого при соударениях свободных электронов с поляризованными нейтральными молекулами происходит образование дополнительных ионов O2 1- (Еи=12 эВ). Поляризация таких ионов создает условия для накопления ими кинетической энергии и квантового перехода в высокоэнергетическое состояние О2 2- (Еи=23,8 эВ). Одновременно, в процессе кулоновского диполь-дипольного взаимопритяжения поляризованных молекул, а также под влиянием сил Ван-дер-Ваальсового притяжения происходит избирательное сложение молекул кислорода в кластеры вида (2О2 2-+4О2 0)·n. При этом величина коэффициента n, то есть количество ассоциированных молекул в кластере, пропорциональна не только пролетному времени и линейным размерам клиновидных электродов 8, но также зависит от взаимного расположения острий первичных электродов относительно входа в локальную ячейку пассивных электродов. На фиг.4 показано, как радиальное поле E2 на входе локальной ячейки 9 способствует увеличению размера кластера. Величина коэффициента n зависит от времени пролета кластером линейного расстояния L3, которое определяется скоростью «ионного ветра». Введенный в устройство для получения кластеров ограничитель скорости уменьшает скорость ионного потока, что позволяет существенно повысить размер кластера (коэффициент n) и, соответственно, достигаемый профилактический и лечебно-оздоровительный эффект.
Изготовлены промышленные образцы предлагаемого устройства и проведены стендовые испытания, результаты которых представлены на фиг.5 и фиг.6.
На фиг.5 представлена пространственная диаграмма распространения и распада кластеров высокоэнергетических аэроионов кислорода (на фиг.5 обозначено КАИ). В непосредственной близости от выходной решетки устройства на расстоянии 1…1,5 метра наблюдается «нулевая зона» I, в которой субъективно ощущается наличие послегрозового свежего воздуха, при этом аспирационные счетчики аэроионов, например типа «Сапфир-3к», дают нулевые показания, то есть не регистрируют наличия аэроионов, так как кластеры высокоэнергетических аэроионов кислорода электрически нейтральны. В зоне II наблюдается область «мерцаний», в которой показания счетчика аэроионов хаотически флюктуируют в пределах от 0,0 до 10…50 тыс./см3. Это объясняется спонтанностью процессов распада кластеров под воздействием Броуновских тепловых соударений. В зоне III наблюдается стабильное наличие «обычных» отрицательных аэроионов (на фиг.5 обозначено АИ) в количестве 10…1 тыс./см3.
На фиг.6 приведены сравнительные результаты измерений количества «обычных» аэроионов в зависимости от расстояния между счетчиком и источником аэроионов.
У обычного эффлювиального ионизатора (фиг.6а) наблюдается непрерывный экспоненциальный спад количества аэроионов от максимального 500 тыс. АИ/см3 при непосредственной близости счетчика и источника аэроионов до минимального значения на удалении до 3 метров.
У поляризационного высокоэнергетического аэроионизатора по патенту №2170112 (фиг.6б) на расстояниях между счетчиком и источником аэроионов до 0,5 метра наблюдается зона А1 нулевых показаний счетчика («нулевая зона»). Далее, на расстоянии 0,5 метра показания счетчика скачкообразно возрастают до максимального значения, в примере реализации до 10 тыс. АИ/см3. При этом показания счетчика флюктуируют, наблюдается «зона мерцаний» (В1), в которой показания счетчика хаотически меняются от нулевых значений до промежуточных и максимальных. Далее, на расстоянии более 0,7 метра регистрируется обычный, характерный для «Люстры Чижевского» стабильный во времени экспоненциальный спад количества аэроионов. Плотность потока энергии электростатического поля для поляризационного аэроионизатора определяется как отношение мощности, расходуемой источником высоковольтного напряжения к площади апертуры выходной трехмерной решетки устройства или, что равнозначно, к площади электростатического экрана. Величина напряжения высоковольтного источника выбирается с учетом конструктивных ограничений по электрическому пробою элементов ионизационной камеры. Величина ионизационного тока ограничивается появлением генерации озона, переходом от темного коронного разряда к лавинному, при котором возникает генерация окислов азота. В конструкции прототипа напряжение (V) составляет 20 киловольт, а ток наполнения ионизационной камеры электронной плазмой (J) составляет 5 микроампер. При площади апертуры (S), равной 0,25×0,15, плотность потока энергии электростатического поля (Р)составляет 2,6 Вт/м2.
Предлагаемое устройство и способ получения поляризованных высокоэнергетических кластеров высокоэнергетических аэроионов кислорода, выполненное по заявляемому способу, имеет (фиг.6в) существенно увеличенную «нулевую зону» (А2) и «зону мерцаний» (В2). Плотность потока энергии электростатического поля в данном устройстве при V=20 кВ, J=5×10-6 А×16 изл., S=0,2×0,1 составляет Р=V×J/S=80 Вт/м2, что достигается за счет параллельной работы одновременно 16 шт. первичных электродов 6.
Наличие «нулевой зоны» не зависит от разновидности применяемого аспирационного счетчика и объясняется особенностями поляризованного кластера, который в стадии диполь-дипольного взаимопритяжения молекул имеет внутренне сбалансированный нулевой заряд.
Таким образом, с введением дополнительных первичных электродов, расположенных в один или несколько рядов с наружной стороны экрана, с размещенными на нем первичными электродами, создающими повышенную плотность энергии электростатического поля, с одновременным введением локальных координатно-сопряженных ячеек пассивных электродов, выполненных в клиновидной, компенсирующей краевые неоднородности электростатического поля форме, достигается повышенная интенсивность и независимость процессов формирования поляризованных кластеров высокоэнергетических аэроионов кислорода от краевых эффектов ионизационной камеры. Это обеспечивает работоспособность устройства и способа получения поляризованных кластеров высокоэнергетических аэроионов кислорода, объединяющих в кластеры повышенное на несколько порядков количество молекул кислорода.
Предлагаемая конструкция устройства для получения поляризованных кластеров высокоэнергетических аэроионов кислорода предусматривает преимущественно индивидуальное его применение и позволяет обеспечить работоспособность устройства при малых и больших габаритных размерах его разнообразных модификаций. Это подтверждает работоспособность предлагаемого способа. Индивидуальные устройства для получения кластеров могут быть легко установлены и использованы в непосредственной близости от места пребывания человека в жилых помещениях, в рабочих кабинетах и офисах, в условиях больниц и санаторных лечебно-оздоровительных комплексов, а также для нормализации аэроионного состава воздуха в помещениях с искусственным климатом. Устройства для получения кластеров могут быть использованы как средство для эффективной профилактики и лечения болезней обмена веществ, а также для общего укрепления здоровья в детском и зрелом возрасте, в спортивной и геронтологической практике, а также для снижения утомляемости в условиях производственного, в частности компьютерного, рабочего места, в условиях долговременного пребывания в замкнутых объемах, например, космических станций, подводных лодок, салонов автомобилей и др.
Формула изобретения
1. Устройство для получения кластеров высокоэнергетических аэроионов кислорода, содержащее источник высоковольтного отрицательного напряжения и двухступенчатый ионизирующий элемент, состоящий из первичного игольчатого электрода низкоэнергетической ступени, установленного внутри объемного электрода высокоэнергетической ступени, выполненного в виде воздухопроницаемой ионизационной камеры, образованной со стороны входа воздуха экраном с системой воздухопропускающих отверстий и размещенной на его поверхности решеткой пассивных токопроводных игольчатых электродов, направленных по оси излучения потока аэроионов, и выходной металлической решеткой, выполненной в виде трехмерной сотовой структуры с глубиной ячеек равной или большей их линейных размеров, отличающееся тем, что экран объемного электрода высокоэнергетической ступени выполнен из металлической сетки, закреплен по периметру в ионизационной камере с помощью электроизоляционных пластин и подключен к источнику высоковольтного напряжения, а на его наружной стороне установлена система расположенных в один или несколько рядов дополнительных первичных игольчатых электродов, при этом острия электродов помещены в трубчатые изоляторы и через отверстия в экране введены внутрь ионизационной камеры, а токопроводные электроды пассивной решетки выполнены клиновидной формы и образуют локальные ячейки, центры которых координатно-сопряжены с излучающими остриями расположенных на экране первичных игольчатых электродов низкоэнергетической ступени, при этом решетка пассивных электродов установлена с помощью изолирующих стоек в полости ионизационной камеры равноудаленно от экрана и выходной металлической решетки и соединена через высокоомный резистор с наружной стороной выходной решетки.
2. Устройство по п.1, отличающееся тем, что длина первичных игольчатых электродов не менее чем в 2 раза превышает расстояние между их остриями, сопряженными с центрами локальных ячеек решетки пассивного электрода.
3. Устройство по п.1, отличающееся тем, что со стороны входа воздуха в ионизационную камеру перед экраном установлен ограничитель скорости потока аэроионов, выполненный в виде сменной пластмассовой решетки с вертикально расположенными стержнями, между которыми зигзагообразно уложен фильтрующий материал.
4. Способ получения кластеров высокоэнергетических аэроионов кислорода, включающий формирование плазмы из свободных электронов в полости ионизационной камеры с помощью игольчатого электрода и создания в ней линейно-однородного электростатического поля с помощью экрана с установленной на нем решеткой пассивных токопроводящих электродов, направленных по оси излучения потока аэроионов, отличающийся тем, что в полости ионизационной камеры повышают плотность энергии электростатического поля пропорционально числу первичных игольчатых электродов на единице площади экрана и одновременно выравнивают краевые неоднородности электростатического поля за счет установки локальных ячеек клиновидных пассивных электродов, которые располагают координатно-сопряженно с излучающими остриями первичных игольчатых электродов.
РИСУНКИ
|
|