|
(21), (22) Заявка: 2005102480/14, 04.08.2003
(24) Дата начала отсчета срока действия патента:
04.08.2003
(30) Конвенционный приоритет:
05.08.2002 JP PCT/JP02/07972
(43) Дата публикации заявки: 10.08.2005
(46) Опубликовано: 27.04.2007
(56) Список документов, цитированных в отчете о поиске:
US 3861397 А, 21.01.1975. SU 1673137 A1, 11.02.1988. SU 593439 A, 07.10.1980. JP 49-108538 A, 16.10.1974.
(85) Дата перевода заявки PCT на национальную фазу:
31.01.2005
(86) Заявка PCT:
JP 03/009886 (04.08.2003)
(87) Публикация PCT:
WO 2004/012811 (12.02.2004)
Адрес для переписки:
125009, Москва, а/я 184, ППФ “ЮС”, пат.пов. С.М.Кочемазову
|
(72) Автор(ы):
СУНАГАВА Кенжи (JP), СУГИМАЧИ Масару (JP), ИНАГАКИ Масаши (JP)
(73) Патентообладатель(и):
ЯПОНИЯ, ПРЕДСТАВЛЕННАЯ ПРЕЗИДЕНТОМ НАЦИОНАЛЬНОГО СОСУДИСТОГО ЦЕНТРА (JP), ФУДЖИКИН ИНКОРПОРЕЙТЕД (JP)
|
(54) СВЕРХМИНИАТЮРНЫЙ ИНТЕГРИРОВАННЫЙ ЭЛЕКТРОКАРДИОСТИМУЛЯТОР И СИСТЕМА РАСПРЕДЕЛЕННОЙ ЭЛЕКТРОКАРДИОСТИМУЛЯЦИИ
(57) Реферат:
Изобретение относится к медицине. Сверхминиатюрный интегрированный электрокардиостимулятор содержит блок управления для выдачи сигнала управления, средство стимуляции сердца для стимуляции сердечной ткани в ответ на сигнал управления, средство извлечения кардиографической информации для извлечения кардиографической информации и передачи ее в блок управления, и источник питания для подачи мощности возбуждения. Блок управления выдает сигнал управления на основании кардиографической информации. Блок питания является биологическим топливным элементом, использует биологические топлива и кислород крови и/или жидкостей тела и является биологическим топливным элементом. Биологический топливный элемент содержит анод и катод, оксидаза биологического топлива и вещество-медиатор иммобилизованы на катоде. Кровь и/или жидкость тела используются в качестве электролитического раствора. Биологический топливный элемент прикрепляется к концу катетера и имплантируется в сердце, и катетер удаляется. Приведено выполнение систем распределенной электрокардиостимуляции. Изобретения обеспечивают повышение надежности используемых электрокардиостимуляторов и расширение области их применения в различных системах электростимуляции. 9 н.п. ф-лы, 10 ил.
Область техники
Настоящее изобретение относится к сверхминиатюрному интегрированному электрокардиостимулятору и системе распределенной электрокардиостимуляции. Целями изобретения является создание сверхминиатюрного интегрированного электрокардностимулятора и системы распределенной электрокардиостимуляции, которая позволяет осуществлять электрокардиостимуляцию сердца без использования традиционных проводников, которые соединяют электроды и главный блок электрокардиостимулятора, а также возможность имплантации путем манипулирования только катетером без разреза грудной клетки во избежание излишнего воздействия на пациента.
Уровень техники
Электрокардиостимулятор является устройством, которое управляет сердечным ритмом путем подачи на сердце электрических импульсов и предназначено для применения у пациентов с симптомами брадиаритмии.
Обычный электрокардиостимулятор состоит из главного блока (генератора), проводников и электродов, которые передают стимулирующий импульс на мышцу. Главный блок электрокардиостимулятора и электроды соединены проводниками. Однако обычный электрокардиостимулятор имеет следующие недостатки.
Так как главный блок электрокардиостимулятора и электроды соединены проводниками, наблюдались случаи разрыва проводников. Разрыв проводника приводит к недостаточной электрокардиостнмуляции. Кроме того, также наблюдались случаи закупорки вен проводниками.
Более того, на ранней стадии после имплантации электрокардиостимулятора изменение положения электродов может привести к недостаточной электрокардиостимуляции. При сдвиге электродов приходится проводить вторую операцию, что приводит к дополнительной нагрузке на пациента.
Кроме того, в случае дефекта в герметизирующей конструкции на стыке между главным блоком электрокардиостимулятора и проводниками может возникать неправильное движение электрокардиостимулятора. Также наблюдались случаи недостаточной электробезопасности.
В не прошедшей экспертизу японской патентной заявке, содержащейся в публикации Heisei №5-245215, описан электрокардиостимулятор, который подает сигналы для электрокардиостимуляции от своего главного блока на стимулирующие электроды путем беспроводной передачи, этим устраняя необходимость в проводниках между главным блоком электрокардиостимулятора и электродами.
Однако даже для электрокардиостимулятора этого типа хирургической имплантации электрокардиостимулятора избежать нельзя, и наблюдались случаи, когда на месте имплантации электрокардиостимулятора возникало омертвление кожи.
Также, в случае вышеуказанного электрокардиостимулятора, несмотря на беспроводную связь между его главным блоком и электродами, отсутствует связь между электродами. Синхронизацию нескольких используемых электродов осуществляет главный блок электрокардиостимулятора.
Настоящее изобретение было создано для устранения вышеуказанных недостатков и создания сверхминиатюрного интегрированного электрокардиостимулятора и системы распределенной электрокардиостимуляции со следующими признаками: функция генерации электрических стимулирующих импульсов главным блоком электрокардиостимулятора придана электродам, что позволяет осуществлять электрокардиостимуляцию сердца без использования традиционных проводников, соединяющих электроды с главным блоком электрокардиостимулятора, и в результате объединения блока управления главного блока электрокардиостимулятора с электродами устранена необходимость имплантировать главный блок электрокардиостимулятора и избежать дополнительной нагрузки на пациента.
Краткое описание изобретения
Изобретение, описанное в пункте 1 формулы относится к сверхминиатюрному интегрированному электрокардиостимулятору, который не требует разреза грудной клетки и имплантируется в сердце путем прикрепления к концу катетера и извлечения катетера после имплантации.
Главный блок содержит блок управления, который выдает сигналы управления, средство стимуляции сердца, которое реагирует на упомянутый сигнал управления и электрически стимулирует сердечную ткань, средство детектирования электрокардиографической информации, которое детектирует электрокардиографическую информацию и передает ее в упомянутый блок управления, и блок питания, который подает мощность возбуждения.
Упомянутый блок управления выдает сигналы управления, основываясь на электрокардиографической информации.
Упомянутый блок питания является биологическим топливным элементом, который извлекает электроны, являющиеся результатом окислительных реакций биологических топлив, причем упомянутый биологический топливный элемент содержит анодный электрод и катодный электрод, и упомянутый анодный электрод покрыт иммобилизованными окислительными ферментами для биологических топлив и веществ-медиаторов и отличается тем, что кровь и/или жидкости тела используются в качестве раствора электролита и используются биологические топлива и кислород крови и/или жидкостей тела.
Изобретение, описанное в пункте 2 формулы, относится к сверхминиатюрному интегрированному электрокардиостимулятору, который не требует разреза грудной клетки и имплантируется в сердце путем прикрепления к концу катетера и извлечения катетера после имплантации.
Он содержит блок управления, который выдает сигналы управления, средство стимуляции сердца, которое реагирует на упомянутый сигнал управления и электрически стимулирует сердечную ткань, средство детектирования электрокардиографической информации, которое детектирует электрокардиографическую информацию и передает ее в упомянутый блок управления, передающее средство, которое модулирует электрокардиографическую информацию и сигналы управления, направляемые от него, и блок питания, который подает мощность возбуждения.
Упомянутый блок управления выдает сигналы управления, основываясь на электрокардиографической информации.
Упомянутый блок питания является биологическим топливным элементом, который извлекает электроны, являющиеся результатом окислительных реакций биологических топлив, причем упомянутый биологический топливный элемент содержит анодный электрод и катодный электрод, и упомянутый анодный электрод покрыт иммобилизованными окислительными ферментами для биологических топлив и веществ-медиаторов и отличается тем, что кровь и/или жидкости тела используются в качестве раствора электролита и используются биологические топлива и кислород крови и/или жидкостей тела.
Изобретение, описанное в пункте 3 формулы, относится к сверхминиатюрному интегрированному электрокардиостимулятору, который не требует разреза грудной клетки и имплантируется в сердце путем прикрепления к концу катетера и извлечения катетера после имплантации.
Он содержит блок управления, который выдает сигналы управления, средство стимуляции сердца, которое реагирует на упомянутый сигнал управления и электрически стимулирует сердечную ткань, средство детектирования электрокардиографической информации, которое детектирует электрокардиографическую информацию и передает ее в упомянутый блок управления, приемное средство, которое принимает и демодулирует информацию, направленную извне, и блок питания, который подает мощность возбуждения. Электрокардиостимулятор имеет такую конструкцию, что информация, направленная извне, подается в упомянутый блок управления.
Упомянутый блок управления выдает сигналы управления, основываясь на информации, направленной извне, и/или электрокардиографической информации.
Упомянутый блок питания является биологическим топливным элементом, который извлекает электроны, являющиеся результатом окислительных реакций биологических топлив, причем упомянутый биологический топливный элемент содержит анодный электрод и катодный электрод, и упомянутый анодный электрод покрыт иммобилизованными окислительными ферментами для биологических топлив и веществ-медиаторов и отличается тем, что кровь и/или жидкости тела используются в качестве раствора электролита и используются биологические топлива и кислород крови и/или жидкостей тела.
Изобретение, описанное в пункте 4 формулы, относится к сверхминиатюрному интегрированному электрокардиостимулятору, который не требует разреза грудной клетки и имплантируется в сердце путем прикрепления к концу катетера и извлечения катетера после имплантации.
Он содержит блок управления, который выдает сигналы управления, средство стимуляции сердца, которое реагирует на упомянутый сигнал управления и электрически стимулирует сердечную ткань, средство детектирования электрокардиографической информации, которое детектирует электрокардиографическую информацию и передает ее в упомянутый блок управления, передающее средство, которое модулирует электрокардиографическую информацию и сигналы управления, направляемые от него, приемное средство, которое принимает и демодулирует информацию, направленную извне, и блок питания, который подает мощность возбуждения. Электрокардиостимулятор имеет такую конструкцию, что информация, направленная извне, подается в упомянутый блок управления.
Упомянутый блок управления выдает сигналы управления, основываясь на информации, направленной извне, и/или электрокардиографической информации.
Упомянутый блок питания является биологическим топливным элементом, который извлекает электроны, являющиеся результатом окислительных реакций биологических топлив, причем упомянутый биологический топливный элемент содержит анодный электрод и катодный электрод, и упомянутый анодный электрод покрыт иммобилизованными окислительными ферментами для биологических топлив и веществ-медиаторов и отличается тем, что кровь и/или жидкости тела используются в качестве раствора электролита и используются биологические топлива и кислород крови и/или жидкостей тела.
Изобретение, описанное в пункте 5 формулы, относится к системе электрокардиостимуляции, содержащей сверхминиатюрный интегрированный электрокардиостимулятор, помещенный в миокард предсердия.
Упомянутый сверхминиатюрный интегрированный электрокардиостимулятор оснащен блоком управления, который выдает сигналы управления, блоком питания, который подает мощность возбуждения, средством стимуляции сердца, которое реагирует на упомянутый сигнал управления и электрически стимулирует миокард предсердия, и средством детектирования электрокардиографической информации, которое детектирует электрокардиографическую информацию, включающую по меньшей мере информацию о внутрисердечном зубце Р.
Упомянутый блок питания является биологическим топливным элементом, который извлекает электроны, являющиеся результатом окислительных реакций биологических топлив, причем упомянутый биологический топливный элемент содержит анодный электрод и катодный электрод, и упомянутый анодный электрод покрыт иммобилизованными окислительными ферментами для биологических топлив и веществ-медиаторов и отличается тем, что кровь и/или жидкости тела используются в качестве раствора электролита и используются биологические топлива и кислород крови и/или жидкостей тела.
Упомянутый блок управления оснащен средством определения синхронизации стимуляции, которое определяет синхронизацию стимуляции для генерирования сигналов управления, и средством изменения синхронизации стимуляции, которое изменяет синхронизацию стимуляции для генерации сигналов управления. Он отличается способностью изменять синхронизацию стимуляции для генерации сигнала управления в том случае, если в течение заданного интервала времени будет детектирована информация о внутрисердечном зубце Р.
Изобретение, описанное в пункте 6 формулы, относится к системе распределенной электрокардиостимуляции, содержащей устройство детектирования электрокардиографической информации, помещенное в миокард предсердия, и сверхминиатюрный интегрированный электрокардиостимулятор, помещенный в миокард желудочка.
Упомянутое устройство детектирования электрокардиографической информации оснащено средством детектирования электрокардиографической информации, которое детектирует электрографическую информацию, включающую по меньшей мере информацию о внутрисердечном зубце Р, передающим средством, которое модулирует детектируемую электрокардиографическую информацию и посылает такую информацию в упомянутый сверхминиатюрный интегрированный электрокардиостимулятор, и блоком питания, который подает ток возбуждения.
Упомянутый блок питания является биологическим топливным элементом, который извлекает электроны, являющиеся результатом окислительных реакций биологических топлив, причем упомянутый биологический топливный элемент содержит анодный электрод и катодный электрод, и упомянутый анодный электрод покрыт иммобилизованными окислительными ферментами для биологических топлив и веществ-медиаторов и отличается тем, что кровь и/или жидкости тела используются в качестве раствора электролита и используются биологические топлива и кислород крови и/или жидкостей тела.
Упомянутый сверхминиатюрный интегрированный электрокардиостимулятор оснащен приемным средством, которое принимает и демодулирует электрокардиографическую информацию, направляемую от упомянутого устройства детектирования электрографической информации, блоком управления, который выдает сигнал управления, блоком питания, который подает мощность возбуждения, и средством стимуляции сердца, которое реагирует на упомянутый сигнал управления и электрически стимулирует миокард желудочка.
Упомянутый блок питания является биологическим топливным элементом, который извлекает электроны, являющиеся результатом окислительных реакций биологических топлив, причем упомянутый биологический топливный элемент содержит анодный электрод и катодный электрод, и упомянутый анодный электрод покрыт иммобилизованными окислительными ферментами для биологических топлив и веществ-медиаторов и отличается тем, что кровь и/или жидкости тела используются в качестве раствора электролита и используются биологические топлива и кислород крови и/или жидкостей тела.
Упомянутый блок управления оснащен средством определения синхронизации стимуляции, которое определяет синхронизацию стимуляции для генерирования сигналов управления, и средством изменения синхронизации стимуляции, которое изменяет синхронизацию стимуляции для генерации сигналов управления.
Он отличается механизмом генерации сигналов управления в том случае, когда информация о внутрисердечном комплексе QRS не детектируется в течение заданного интервала времени, и подавления сигналов управления в том случае, когда информация о внутрисердечном комплексе QRS детектируется в течение заданного интервала времени после детектирования информации о внутрисердечном зубце Р.
Изобретение, описанное в пункте 7 формулы, относится к системе распределенной электрокардиостимуляции, содержащей первый сверхминиатюрный интегрированный электрокардиостимулятор, помещенный в миокард предсердия, и второй сверхминиатюрный интегрированный электрокардиостимулятор, помещенный в миокард желудочка.
Упомянутый первый сверхминиатюрный интегрированный электрокардиостимулятор оснащен блоком управления, который выдает сигнал управления, блоком питания, который подает мощность возбуждения, средством стимуляции сердца, которое реагирует на упомянутый сигнал управления и электрически стимулирует миокард предсердия, средством детектирования электрокардиографической информации, которое детектирует электрокардиографическую информацию, включающую по меньшей мере информацию о внутрисердечном зубце Р, передающим средством, которое модулирует электрокардиографическую информацию и направляет такую информацию в упомянутый второй сверхминиатюрный интегрированный электрокардиостимулятор, и приемным средством, которое принимает и демодулирует электрокардиографическую информацию, направленную от второго сверхминиатюрного интегрированного электрокардиостимулятора.
Упомянутый блок питания является биологическим топливным элементом, который извлекает электроны, являющиеся результатом окислительных реакций биологических топлив, причем упомянутый биологический топливный элемент содержит анодный электрод и катодный электрод, и упомянутый анодный электрод покрыт иммобилизованными окислительными ферментами для биологических топлив и веществ-медиаторов и отличается тем, что кровь и/или жидкости тела используются в качестве раствора электролита и используются биологические топлива и кислород крови и/или жидкостей тела.
Электрокардиографическая информация, направленная от упомянутого второго сверхминиатюрного интегрированного электрокардиостимулятора, вводится в упомянутый блок управления, и упомянутый блок управления оснащен средством определения синхронизации стимуляции, которое определяет синхронизацию стимуляции для генерирования сигналов управления, и средством изменения синхронизации стимуляции, которое изменяет синхронизацию стимуляции для генерации сигналов управления.
Упомянутый второй сверхминиатюрный интегрированный электрокардиостимулятор оснащен блоком управления, который выдает сигналы управления, блоком питания, который подает мощность возбуждения, средством стимуляции сердца, которое реагирует на упомянутый сигнал управления и электрически стимулирует миокард желудочка, средством детектирования электрокардиографической информации, которое детектирует электрокардиографическую информацию, включающую по меньшей мере информацию о внутрисердечном комплексе QRS, передающим средством, которое модулирует электрокардиографическую информацию и направляет такую информацию в упомянутый первый сверхминиатюрный интегрированный электрокардиостимулятор, и приемным средством, которое принимает и демодулирует электрокардиографическую информацию, направленную упомянутым первым сверхминиатюрным интегрированным электрокардиостимулятором.
Упомянутый блок питания является биологическим топливным элементом, который извлекает электроны, являющиеся результатом окислительных реакций биологических топлив, причем упомянутый биологический топливный элемент содержит анодный электрод и катодный электрод, и упомянутый анодный электрод покрыт иммобилизованными окислительными ферментами для биологических топлив и веществ-медиаторов и отличается тем, что кровь и/или жидкости тела используются в качестве раствора электролита и используются биологические топлива и кислород крови и/или жидкостей тела.
Электрокардиографическая информация, направленная от упомянутого первого сверхминиатюрного интегрированного электрокардиостимулятора, вводится в упомянутый блок управления, и упомянутый блок управления оснащен средством определения синхронизации стимуляции, которое определяет синхронизацию стимуляции для генерирования сигналов управления, и средством изменения синхронизации стимуляции, которое изменяет синхронизацию стимуляции для генерации сигналов управления.
Блок управления упомянутого первого сверхминиатюрного интегрированного электрокардиостимулятора генерирует сигнал управления в том случае, если в течение заданного интервала времени информация о внутрисердечном зубце Р не детектируется, и подавляет генерацию сигналов управления в том случае, если информация о внутрисердечном зубце Р детектируется в течение заданного интервала времени.
Блок управления упомянутого второго сверхминиатюрного интегрированного электрокардиостимулятора генерирует сигналы управления в том случае, когда информация о внутрисердечном комплексе QRS не детектируется в течение заданного интервала времени после детектирования информации о внутрисердечном зубце Р, и подавляет генерацию сигналов управления в том случае, если информация о внутрисердечном комплексе QRS детектируется в течение заданного интервала времени после детектирования внутрисердечной информации о зубце Р.
Система также отличается следующим механизмом: в том случае, если упомянутый второй сверхминиатюрный интегрированный электрокардиостимулятор детектирует информацию о внутрисердечном комплексе QRS из-за самопроизвольного сокращения желудочка, блок управления упомянутого первого сверхминиатюрного интегрированного электрокардиостимулятора подавляет детектирование информации о внутрисердечном зубце Р в течение заданного интервала времени.
Изобретение, описанное в пункте 8 формулы, является системой распределенной электрокардиостимуляции, содержащей устройство детектирования электрокардиографической информации, помещенное в миокард предсердия, и некоторое множество сверхминиатюрных интегрированных электрокардиостимуляторов, помещенных в миокард желудочка.
Упомянутое устройство детектирования электрокардиографической информации оснащено средством детектирования электрокардиографической информации, которое детектирует электрографическую информацию, включающую по меньшей мере информацию о внутрисердечном зубце Р, передающим средством, которое модулирует детектируемую электрокардиографическую информацию и посылает такую информацию в упомянутые сверхминиатюрные интегрированные электрокардиостимуляторы, и блоком питания, который подает мощность возбуждения.
Упомянутый блок питания является биологическим топливным элементом, который извлекает электроны, являющиеся результатом окислительных реакций биологических топлив, причем упомянутый биологический топливный элемент содержит анодный электрод и катодный электрод, и упомянутый анодный электрод покрыт иммобилизованными окислительными ферментами для биологических топлив и веществ-медиаторов и отличается тем, что кровь и/или жидкости тела используются в качестве раствора электролита и используются биологические топлива и кислород крови и/или жидкостей тела.
Упомянутые сверхминиатюрные интегрированные электрокардиостимуляторы оснащены блоком управления, который выдает сигналы управления, блоком питания, который подает мощность возбуждения, средством стимуляции сердца, которое реагирует на упомянутые сигналы управления и электрически стимулирует миокард желудочка, средством детектирования электрокардиографической информации, которое детектирует электрокардиографическую информацию, включающую по меньшей мере информацию о внутрисердечном комплексе QRS, передающим средством, которое модулирует электрокардиографическую информацию и направляет такую информацию в другие сверхминиатюрные интегрированные электрокардиостимуляторы, и приемным средством, которое принимает и демодулирует электрокардиографическую информацию, направленную от других сверхминиатюрных интегрированных электрокардиостимуляторов.
Упомянутый блок питания является биологическим топливным элементом, который извлекает электроны, являющиеся результатом окислительных реакций биологических топлив, причем упомянутый биологический топливный элемент содержит анодный электрод и катодный электрод, и упомянутый анодный электрод покрыт иммобилизованными окислительными ферментами для биологических топлив и веществ-медиаторов и отличается тем, что кровь и/или жидкости тела используются в качестве раствора электролита и используются биологические топлива и кислород крови и/или жидкостей тела.
Электрокардиографическая информация, направленная от других сверхминиатюрных интегрированных электрокардиостимуляторов, вводится в упомянутый блок управления, и упомянутый блок управления оснащен средством определения синхронизации стимуляции, которое определяет синхронизацию стимуляции для генерирования сигналов управления, и средством изменения синхронизации стимуляции, которое изменяет синхронизацию стимуляции для генерации сигналов управления.
Система отличается следующим механизмом: в том случае, если отдельные сверхминиатюрные интегрированные электрокардиостимуляторы не детектируют информацию о внутрисердечном комплексе QRS в соответственные заданные интервалы времени после детектирования информации о внутрисердечном зубце Р, блоки управления сверхминиатюрных интегрированных электрокардиостимуляторов генерируют сигналы управления, тогда как в случае детектирования информации о комплексе QRS в течение заданных интервалов времени после детектирования информации о зубце Р блоки управления генерируют сигналы управления синхронно с самым ранним синхронизирующим сигналом, при котором была впервые детектирована информация о внутрисердечном комплексе QRS.
Изобретение, описанное в пункте 9 формулы, является системой распределенной электрокардиостимуляции, содержащей первый сверхминиатюрный интегрированный электрокардиостимулятор, помещенный в миокард предсердия, и некоторое множество вторых сверхминиатюрных интегрированных электрокардиостимуляторов, помещенных в миокард желудочка.
Упомянутый первый сверхминиатюрный интегрированный электрокардиостимулятор оснащен блоком управления, который выдает сигнал управления, блоком питания, который подает мощность возбуждения, средством стимуляции сердца, которое реагирует на упомянутый сигнал управления и электрически стимулирует миокард предсердия, средством детектирования электрокардиографической информации, которое детектирует электрокардиографическую информацию, включающую по меньшей мере информацию о внутрисердечном зубце Р, передающим средством, которое модулирует электрокардиографическую информацию и направляет такую информацию в несколько вторых сверхминиатюрных интегрированных электрокардиостимуляторов, и приемным средством, которое принимает и демодулирует электрокардиографическую информацию, направленную упомянутыми вторыми сверхминиатюрными интегрированными электрокардиостимуляторами.
Упомянутый блок питания является биологическим топливным элементом, который извлекает электроны, являющиеся результатом окислительных реакций биологических топлив, причем упомянутый биологический топливный элемент содержит анодный электрод и катодный электрод, и упомянутый анодный электрод покрыт иммобилизованными окислительными ферментами для биологических топлив и веществ-медиаторов и отличается тем, что кровь и/или жидкости тела используются в качестве раствора электролита и используются биологические топлива и кислород крови и/или жидкостей тела.
Электрокардиографическая информация, направленная от упомянутых вторых сверхминиатюрных интегрированных электрокардиостимуляторов, вводится в упомянутый блок управления, и упомянутый блок управления оснащен средством определения синхронизации стимуляции, которое определяет синхронизацию стимуляции для генерирования сигналов управления, и средством изменения синхронизации стимуляции, которое изменяет синхронизацию стимуляции для генерации сигналов управления.
Упомянутые вторые сверхминиатюрные интегрированные электрокардиостимуляторы оснащены блоком управления, который выдает сигналы управления, блоком питания, который подает ток возбуждения, средством стимуляции сердца, которое реагирует на упомянутые сигналы управления и электрически стимулирует миокард желудочка, средством детектирования электрокардиографической информации, которое детектирует электрокардиографическую информацию, включающую по меньшей мере информацию о внутрисердечных комплексах QRS, передающим средством, которое модулирует электрокардиографическую информацию и направляет такую информацию в упомянутые первый и вторые сверхминиатюрные интегрированные электрокардиостимуляторы, и приемным средством, которое принимает и демодулирует электрокардиографическую информацию, направленную от упомянутых первого и вторых сверхминиатюрных интегрированных электрокардиостимуляторов.
Упомянутый блок питания является биологическим топливным элементом, который извлекает электроны, являющиеся результатом окислительных реакций биологических топлив, причем упомянутый биологический топливный элемент содержит анодный электрод и катодный электрод, и упомянутый анодный электрод покрыт иммобилизованными окислительными ферментами для биологических топлив и веществ-медиаторов и отличается тем, что кровь и/или жидкости тела используются в качестве раствора электролита и используются биологические топлива и кислород крови и/или жидкостей тела.
Электрокардиографическая информация, направленная от упомянутых первого и вторых сверхминиатюрных интегрированных электрокардиостимуляторов, вводится в упомянутый блок управления, и упомянутый блок управления оснащен средством определения синхронизации стимуляции, которое определяет синхронизацию стимуляции для генерирования сигналов управления, и средством изменения синхронизации стимуляции, которое изменяет синхронизацию стимуляции для генерации сигналов управления.
Блок управления упомянутого первого сверхминиатюрного интегрированного электрокардиостимулятора генерирует сигнал управления в том случае, если в течение заданного интервала времени информация о внутрисердечном зубце Р не детектируется, и подавляет генерацию сигналов управления в том случае, если информация о внутрисердечном зубце Р детектируется в течение заданного интервала времени.
Блок управления упомянутых вторых сверхминиатюрных интегрированных электрокардиостимуляторов генерирует сигналы управления в том случае, когда информация о внутрисердечном комплексе QRS не детектируется отдельными сверхминиатюрными интегрированными электрокардиостимуляторами в течение соответственных заданных интервалов времени после детектирования информации о внутрисердечном зубце Р, тогда как в случае детектирования информации о комплексе QRS в течение заданных интервалов времени после детектирования информации о зубце Р блоки управления генерируют сигналы управления синхронно с самым ранним синхронизирующим сигналом, при котором была впервые детектирована информация о внутрисердечном комплексе QRS.
Система также отличается следующим механизмом: в том случае, если один из упомянутых вторых сверхминиатюрных интегрированных электрокардиостимуляторов детектирует информацию о внутрисердечном комплексе QRS из-за непроизвольного сокращения желудочка, блок управления упомянутого первого сверхминиатюрного интегрированного электрокардиостимулятора подавляет детектирование информации о внутрисердечном зубце Р в течение заданного интервала времени.
Краткое описание чертежей
Фиг.1 является упрощенной блок-схемой сверхминиатюрного интегрированного электрокардиостимулятора в соответствии с первым вариантом осуществления изобретения.
Фиг.2 является упрощенной блок-схемой сверхминиатюрного интегрированного электрокардиостимулятора в соответствии с первым вариантом осуществления изобретения.
Фиг.3 является упрощенной блок-схемой сверхминиатюрного интегрированного электрокардиостимулятора в соответствии с вторым вариантом осуществления изобретения.
Фиг.4 является упрощенной блок-схемой сверхминиатюрного интегрированного электрокардиостимулятора в соответствии с третьим вариантом осуществления изобретения.
Фиг.5 является упрощенной блок-схемой сверхминиатюрного интегрированного электрокардиостимулятора в соответствии с четвертым вариантом осуществления изобретения.
Фиг.6 является схемой, на которой показано первое применение сверхминиатюрного интегрированного электрокардиостимулятора в соответствии с настоящим изобретением (первая система распределенной электрокардиостимуляции).
Фиг.7 является схемой, на которой показано второе применение сверхминиатюрного интегрированного электрокардиостимулятора в соответствии с настоящим изобретением (вторая система распределенной электрокардиостимуляции).
Фиг.8 является блок-схемой, на которой показаны основные элементы устройства детектирования электрокардиографической информации.
Фиг.9 является схемой, на которой показано третье применение сверхминиатюрного интегрированного электрокардиостимулятора в соответствии с настоящим изобретением (третья система распределенной электрокардиостимуляции).
Фиг.10 является схемой, на которой показано четвертое применение сверхминиатюрного интегрированного электрокардиостимулятора в соответствии с настоящим изобретением (четвертая система распределенной электрокардиостимуляции).
Предпочтительный вариант осуществления изобретения
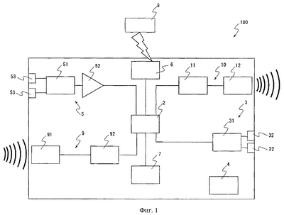
Настоящее изобретение будет описано ниже со ссылками на фигуры чертежей. Фиг.1 является упрощенной блок-схемой сверхминиатюрного интегрированного электрокардиостимулятора (100) в соответствии с первым вариантом осуществления изобретения.
Сверхминиатюрный интегрированный электрокардиостимулятор (100) в соответствии с первым вариантом осуществления настоящего изобретения состоит из блока (2) управления, который выдает сигналы управления, средства (3) стимуляции сердца, которое реагирует на сигналы управления и электрически стимулирует сердечную ткань, средства (5) детектирования электрокардиографической информации, которое детектирует электрокардиографическую информацию и передает ее в блок управления (2), передающего средства (10), которое модулирует сигналы управления, выдаваемые блоком (2) управления и/или электрокардиографическую информацию, детектируемую средством (5) детектирования электрокардиографической информации, которая направляется от него, приемное средство (9), которое принимает и демодулирует информацию, направленную извне, и блок питания (4), который подает ток возбуждения.
Средство (3) стимуляции сердца реагирует на сигнал управления от блока (2) управления и электрически стимулирует сердечную ткань. Средство (3) стимуляции сердца, показанное на схеме, способно стимулировать сердечную ткань и состоит из стимулирующего блока (31), который реагирует на сигналы управления от блока (2) управления и выдает стимулирующие импульсы для стимуляции сердечной ткани, и двух электродов (32) стимуляции сердца, которые стимулируют сердечную ткань в ответ на выходные импульсы.
Средство (5) детектирования электрокардиографической информации способно детектировать электрокардиографическую информацию в месте расположения сверхминиатюрного интегрированного электрокардиостимулятора. Детектируемая электрокардиографическая информация выводится на блок (2) управления. Электрокардиографическая информация, детектируемая средством (5) детектирования электрографической информации включает информацию о зубце Р, информацию о комплексе QRS, информацию о зубце Т или время Q – Т, время А – Н, время Н – V (где А – предсердный потенциал, Н – потенциал предсердно-желудочкового пучка и V – желудочковый потенциал).
Средство (5) детектирования электрокардиографической информации, показанное на схеме, состоит из двух электродов (53) регистрации электрокардиографической информации, которые детектируют электрокардиографическую информацию в месте размещения, блока (51) усилителя мощности, который усиливает электрокардиограмму, и блока (52) аналого-цифрового преобразования, который преобразует детектируемую электрокардиографическую информацию в цифровые сигналы, причем средство (5) имеет такую конструкцию, что преобразованная электрокардиографическая информация выводится на блок (2) управления.
Передающее средство (10) состоит из модулирующего блока (11), который получает и модулирует сигналы управления, выдаваемые блоком (2) управления, и/или электрокардиографическую информацию, и передающего блока (12), который посылает модулированные сигналы управления по несущим, посредством которых модулированные сигналы управления направляются на внешние средства (такие как другие сверхминиатюрные интегрированные электрокардиостимуляторы, не показанные на схеме).
Таким образом, путем передачи сигналов управления и электрокардиографической информации по несущим на внешние средства, такие как другие электрокардиостимуляторы, можно, например, синхронно активировать два или больше электрокардиостимуляторов. Более того, так как несущие используются для передачи, нет необходимости в проводниках, и данный способ избегает дополнительной нагрузки на пациента.
Приемное средство (9) состоит из приемного блока (91), который принимает информацию, передаваемую от внешних средств по несущим, и демодулирующего блока (92), который демодулирует принятую информацию, причем средство (9) имеет такую конструкцию, что демодулированная информация вводится в блок (2) управления. На основании этой информации и/или электрокардиографической информации блок (2) управления генерирует сигналы управления, которые выводятся на средство (3) стимуляции сердца.
Информация, передаваемая от внешних средств, включает электрокардиографическую информацию и сигналы управления, посылаемые от других электрокардиостимуляторов и сигналов управления.
Путем установки приемного средства (9), которое принимает информацию от, например, других электрокардиостимуляторов, можно синхронно активировать другие электрокардиостимуляторы. Более того, так как нет необходимости в проводниках, этот способ избегает дополнительной нагрузки на пациента.
В качестве режимов связи между электрокардиостимуляторами, которые осуществляются передающим средством (10) и приемным средством (9), можно использовать, например, связь с расширенным спектром, использующую радиоволны или ультразвуковые волны, и связь в сверхширокой полосе частот. Ограничений для режима связи не существует; может использоваться любой способ, который обеспечивает надежную связь между электрокардиостимуляторами.
Блок (4) питания рассчитан на подачу питания, необходимого для возбуждения сверхминиатюрного интегрированного электрокардиостимулятора. В качестве блока (4) питания, в общем, можно использовать литиевый элемент питания или топливные элементы. Однако в традиционных электрокардиостимуляторах блок питания, который подает электрический ток, является самым крупным компонентом. Для миниатюризации электрокардиостимулятора необходимо миниатюризировать блок питания. Для сверхминиатюрного интегрированного электрокардиостимулятора (100) в соответствии с нашим изобретением желательно использовать биологический топливный элемент в качестве блока (4) питания.
В том случае, если в качестве блока питания используется биологический топливный элемент, такие биологические топлива, как глюкоза и кислород, которые необходимы для возбуждения биологического топливного элемента, постоянно доступны в теле пациента. Объем блока (4) питания зависит только от размера электродов, делая возможной миниатюризацию объема блока (4) питания. Более того, метаболиты и промежуточные продукты обмена сахаров (например, глюкозы), такие как вода, диоксид углерода и глюконолактон, безопасны для тела человека и быстро выводятся из области, примыкающей к электродам, током крови. Биологический топливный элемент, который использует ферменты в качестве катализатора, может работать в умеренных условиях, таких как нейтральный рН и комнатная температура.
Примером биологического топливного элемента, используемого в настоящем изобретении, является хорошо известный и широко применяемый биологический топливный элемент, который извлекает электроны из реакций окисления биологических топлив. Другими словами, этот биологический топливный элемент использует сахара, такие как глюкоза, поставляемые телом человека, а также кислород, который также поставляется телом человека как и топлива, и использует ферменты в качестве биологического катализатора.
Пример состава предпочтительного биологического топливного элемента (40) для настоящего изобретения будет пояснен со ссылками на схему. На Фиг.2 приведена схема, показывающая упрощенную структуру биологического топливного элемента (40), используемого в качестве блока питания в сверхминиатюрном интегрированном электрокардиостимуляторе (100) в соответствии с первым вариантом осуществления.
Биологический топливный элемент (40) состоит из анода (41) и катода (42). Данный биологический топливный элемент использует кровь или жидкость тела в качестве электролита, а также использует сахара и кислород, содержащиеся в крови и жидкостях тела в качестве биологических топлив. Поэтому анодный электрод (41а) и катодный электрод (42а) расположены так, чтобы находиться в контакте с кровью или жидкостью тела. Показанные на Фиг.2 анодный электрод (41а) и катодный электрод (42а) рассчитаны на контакт с кровью, и электрод (32), стимулирующий сердце, и электрод (53) регистрации электрокардиографической информации находятся в контакте с тканью миокарда.
Анод (41) состоит из анодного электрода (41а) и неподвижного слоя (41b), покрывающего поверхность анодного электрода (41а).
В качестве анодного электрода (41а) используется золотой электрод и т.д.
Окислительные ферменты биологических топлив и вещества-медиаторы, необходимые для окисления биологических топлив, иммобилизованы на поверхности анодного электрода (41а).
В качестве биологических топлив используются углеводы. Примерами углеводов являются моносахариды, такие как глюкоза и фруктоза, дисахариды, такие как манит и сахароза, и пентозы, такие как ксилоза и арабиноза. Предпочтительно в качестве топлива используется глюкоза, которая легко поступает из тела пациента.
Для окислительных ферментов биологических топлив не существует конкретных ограничений, поскольку именно ферменты окисляют биологические топлива. Некоторыми примерами являются ферменты, называемые оксидазами и гидрогеназами. В случае использования глюкозы в качестве биологического топлива могут использоваться, например, оксидаза глюкозы и дегидрогеназа глюкозы; предпочтительно используется дегидрогеназа глюкозы.
Что касается веществ-медиаторов, то конкретных ограничении не существует, поскольку они могут переносить электроны, высвобождающиеся из биологического топлива, к анодному электроду (41а). Например, могут использоваться так называемые коферменты, такие как флавинадениндинуклеотид-фосфат, ферменты, такие как лакказа, хинины, такие как пирролохинолинхинин, и осмиевый комплекс, а также их сочетания.
Окислительные ферменты для биологических топлива и вещества-медиаторы иммобилизованы на поверхности анодного электрода (41а), образуя неподвижный слой (41b). По способу иммобилизации ограничений не существует, и может использоваться любой известный способ иммобилизации ферментов на поверхности электрода. Например, в качестве подложки может использоваться электрод в форме золотого диска, и аминоэтантиол адсорбируется на поверхности золотого электрода, образуя мономолекулярную пленку, после чего происходит модификация аминогрупп. После этого, согласно данному способу, необходимо смешать окислительный фермент для биологического топлива, вещество-медиатор и альбумин в мензурке. После этого добавляется глутаровый альдегид для того, чтобы позволить вышеуказанным ферментам и веществам-медиаторам образовать поперечные связи с глутаровым альдегидом, после чего смесь наносится на поверхность электрода в форме золотого диска.
Для обеспечения эффективной реакции на аноде неподвижный слой (41b) предпочтительно должен быть выполнен так, чтобы анодный электрод (41а) не вступал в контакт с кислородом, присутствующим в теле пациента.
Катод (42) состоит из катодного электрода (42а).
Примером катодного электрода (42а) является платиновый электрод. Для усиления реакции восстановления кислорода на катодном электроде (42а) требуется катализатор, и сама платина может действовать в качестве такового.
Для обеспечения эффективной реакции на катоде желательно сформировать на поверхности катодного электрода покрытие (42b), которое будет предотвращать проникновение иных, чем кислород, веществ, которые реагируют с катодным электродом (42а) и в то же время позволяет проходить ионам кислорода и водорода.
Биологический топливный элемент (40) не имеет емкости, заполненной раствором электролита, вместо этого катодный электрод (41а) и анодный электрод (42а) находятся в контакте с кровью или жидкостью тела пациента. В этом случае кровь и жидкость тела действуют в качестве раствора электролита. Биологическое топливо и кислород постоянно поставляются током крови в раствор электролита, и в то же время продукты обмена веществ растворяются в крови и удаляются током крови. Подача биологического топлива и кислорода, а также удаление продуктов обмена поддерживаются на постоянном уровне посредством механизма гомеостаза.
Далее будет обсуждено действие биологического топливного элемента (40).
Биологическое топливо растворяется в крови и жидкости тела и подается к поверхности анода (41). Биологическое топливо, поставляемое к поверхности анода (41), окисляется в результате действия окислительного фермента биологического топлива, иммобилизованного в неподвижном слое (41b), давая диоксид углерода, ион водорода и промежуточные метаболиты, а также электроны. Диоксид углерода, ион водорода и промежуточные метаболиты растворяются в крови или жидкости тела для выведения из организма. Электроны переносятся к анодному электроду (41а) через вещества-медиаторы.
Поверхность катода (42) снабжается ионами кислорода и водорода, растворенными в крови и жидкости тела, и эти ионы реагируют в присутствии электронов, передаваемых от анодного электрода (41а) к катодному электроду (42а), образуя воду. Эта реакция генерирует электрический ток, который используется в качестве источника мощности возбуждения.
Основываясь на программе, уже сохраненной в памяти (7), а также на электрокардиографической информации, выдаваемой средством (5) детектирования электрокардиографической информации, и информации, передаваемой извне, блок (2) управления генерирует сигналы управления и посылает эти сигналы в средство (3) стимуляции сердца.
Например, блок (2) управления оснащен средством определения синхронизации стимуляции, которое определяет синхронизацию стимуляции для генерирования сигналов управления. Обычно этот блок программируется на генерацию сигналов управления при синхронизации стимуляции на заданной частоте. Он также программируется на изменение синхронизации стимуляции при выполнении определенных условий, например, в том случае, если информация о внутрисердечном зубце Р детектируется в течение заданного интервала времени.
Кроме того, настоящее изобретение может быть оснащено средством (6) связи. Средство (6) связи сообщается с внешним программатором (8), установленным как внешнее устройство для сверхминиатюрного интегрированного электрокардиостимулятора, и используется для изменения программы электрокардиостимуляции, хранящейся в памяти (7). Благодаря этому средству даже после имплантации пациенту сверхминиатюрного интегрированного электрокардиостимулятора можно изменять программу электрокардиостимуляции для каждого сверхминиатюрного интегрированною электрокардиостимулятора. Также путем осуществления связи в расширенном спектре или путем придания имени каждому электрокардиостимулятору можно изменять программу электрокардиостимуляции для каждою сверхминиатюрного интегрированного электрокардиостимулятора.
Далее будет объяснен сверхминиатюрный интегрированный электрокардиостимулятор в соответствии с вторым вариантом осуществления (110) настоящего изобретения. Разница между сверхминиатюрным интегрированным электрокардиостимулятором в соответствии с вторым вариантом осуществления (110) и вышеупомянутым сверхминиатюрным интегрированным электрокардиостимулятором в соответствии с первым вариантом осуществления (100) заключается в том, что первый не имеет передающего средства (10) или приемного средства (9).
Сверхминиатюрный интегрированный электрокардиостимулятор в соответствии с вторым вариантом осуществления (110) может использоваться в тех случаях, когда нет необходимости синхронизировать движения с другими электрокардиостимуляторами.
Основываясь на программе управления, уже сохраненной в памяти (7) и на электрокардиографической информации, выдаваемой средством (5) детектирования электрокардиографической информации, блок (2) управления генерирует сигналы управления и передает эти сигналы на средство (3) стимуляции сердца.
Другие компоненты такие же, как и для вышеупомянутого сверхминиатюрного интегрированного электрокардиостимулятора в соответствии с первым вариантом осуществления (100), поэтому объяснения опускаются. На Фиг.3 теми же номерами обозначены компоненты, идентичные таковым у сверхминиатюрного интегрированного электрокардиостимулятора в соответствии с первым вариантом осуществления (100), который показан на Фиг.1.
Далее будет объяснен сверхминиатюрный интегрированный электрокардиостимулятор в соответствии с третьим вариантом осуществления (120) настоящего изобретения. Фиг.4 представляет собой упрощенную блок-схему сверхминиатюрного интегрированного электрокардиостимулятора в соответствии с третьим вариантом осуществления (120). Разница между сверхминиатюрным интегрированным электрокардиостимулятором в соответствии с третьим вариантом осуществления (120) настоящего изобретения и вышеупомянутым сверхминиатюрным интегрированным электрокардиостимулятором в соответствии с первым вариантом осуществления заключается в том, что первый не имеет приемного средства (9).
Путем посылки сигналов управления к внешним устройствам (таким как другие электрокардиостимуляторы) по несущей сверхминиатюрный интегрированный электрокардиостимулятор в соответствии с третьим вариантом осуществления (120) способен синхронизироваться и работать вместе, например, с одним или несколькими другими электрокардиостимуляторами.
Основываясь на программе управления, уже сохраненной в памяти (7) и на электрокардиографической информации, выдаваемой средством (5) детектирования электрокардиографической информации, блок (2) управления генерирует сигналы управления и передает эти сигналы на средство (3) стимуляции сердца.
Другие компоненты такие же, как и для вышеупомянутого сверхминиатюрного интегрированного электрокардиостимулятора в соответствии с первым вариантом осуществления, поэтому объяснения опускаются. На Фиг.4 теми же номерами обозначены компоненты, идентичные таковым у сверхминиатюрного интегрированного электрокардиостимулятора в соответствии с первым и вторым вариантами осуществления, показанными на Фиг.1 и Фиг.3.
Далее будет объяснен сверхминиатюрный интегрированный электрокардиостимулятор в соответствии с четвертым вариантом осуществления (130) настоящего изобретения. Разница между сверхминиатюрным интегрированным электрокардиостимулятором в соответствии с четвертым вариантом осуществления (130) настоящего изобретения и вышеупомянутым сверхминиатюрным интегрированным электрокардиостимулятором в соответствии с первым вариантом осуществления заключается в том, что первый не имеет передающего средства (10) для посылки сигналов управления и/или электрокардиографической информации на внешние устройства.
Посредством приемного средства (9), которое принимает информацию извне, например от других электрокардиостимуляторов, сверхминиатюрный интегрированный электрокардиостимулятор в соответствии с четвертым вариантом осуществления (120) способен синхронизироваться и работать вместе, например, с одним или несколькими другими электрокардиостимуляторами.
Основываясь на программе управления, уже сохраненной в памяти (7), а также на электрокардиографической информации, выдаваемой средством (5) детектирования электрокардиографической информации, блок (2) управления генерирует сигналы управления и передает эти сигналы на средство (3) стимуляции сердца.
Другие компоненты такие же, как и для вышеупомянутого сверхминиатюрного интегрированного электрокардиостимулятора в соответствии с первым вариантом осуществления, поэтому объяснения опускаются. На Фиг.5 теми же номерами обозначены компоненты, идентичные таковым у сверхминиатюрного интегрированного электрокардиостимулятора в соответствии с первым – третьим вариантами осуществления, показанными на Фиг.1, Фиг.3 и Фиг.4.
В вышеупомянутых сверхминиатюрных интегрированных электрокардиостимуляторах в соответствии с первым – четвертым вариантами осуществления электроды (53) регистрации электрокардиографической информации и электрод (32) стимуляции сердца показаны как отдельные компоненты. В действительности, электрод (53) регистрации электрокардиографической информации и электрод (32) стимуляции сердца могут быть объединены.
Более того, приемный блок (91) и передающий блок (12) показаны как отдельные компоненты; однако приемный блок (91) и передающий блок (12) также могут быть объединены.
Кроме того, в случае установки пациенту датчика, который измеряет температуру тела и кровяное давление, и вывода биологической информации, полученной от этих датчиков, в блок (2) управления вышеупомянутых сверхминиатюрных интегрированных электрокардиостимуляторов в соответствии с первым – четвертым вариантами осуществления блок (2) управления способен генерировать сигналы управления, основываясь на этих биологических данных.
Помимо этого, для сверхминиатюрных интегрированных электрокардиостимуляторов в соответствии с первым – четвертым вариантами осуществления настоящего изобретения не существует конкретных ограничений по способу имплантации электрокардиостимулятора в сердце, и могут применяться обычные способы катетеризации. Например, имплантация может быть осуществлена путем прикрепления сверхминиатюрного интегрированного электрокардиостимулятора в соответствии с настоящим изобретением к концу катетера и помещения его в определенное положение в сердце и последующего удаления только катетера после фиксации электрокардиостимулятора в эндокарде. В этих сверхминиатюрных интегрированных электрокардиостимуляторах в соответствии с настоящим изобретением главный корпус генератора и электроды объединены в одно целое, этим устраняя необходимость в проводниках. Поэтому сверхминиатюрные интегрированные электрокардиостимуляторы в соответствии с настоящим изобретением могут иметь диаметр всего 2-3 мм и поэтому не нужно делать широкий разрез в грудной клетке для имплантации главного корпуса генератора.
Далее, со ссылками на схемы будет описана система электрокардиостимуляции в соответствии с настоящим изобретением, использующая вышеупомянутые сверхминиатюрные интегрированные электрокардиостимуляторы в соответствии с первым – четвертым вариантами осуществления настоящего изобретения.
На Фиг.6 схематически показана система электрокардиостимуляции в соответствии с первым вариантом осуществления настоящего изобретения. Один сверхминиатюрный интегрированный электрокардиостимулятор в соответствии с настоящим изобретением (111) имплантирован в эндокард предсердия пациента. На Фиг.6, а также на Фиг.7 – Фиг.10, которые будут описаны ниже, Н обозначает сердце.
Система электрокардиостимуляции в соответствии с первым вариантом осуществления предпочтительно применяется в случаях, когда предсердие утратило способность поддерживать ритм сердца, хотя электрическая активность в предсердии и электрическая активность в желудочке остаются синхронными. Например, такая система может применяться у пациентов с синдромом слабости синусового узла, у которых ухудшена только функция синусового узла, тогда как внутрипредсердная проводимость и предсердно-желудочковая проводимость сохраняются.
Сверхминиатюрный интегрированный электрокардиостимулятор в соответствии с настоящим изобретением (111), имплантированный в предсердие, оснащен блоком управления, который выдает сигналы управления, средством стимуляции сердца, которое реагирует на сигналы управления и электрически стимулирует мышцу предсердия, и средством детектирования электрокардиографической информации, которое детектирует электрокардиографическую информацию, включая по меньшей мере информацию о внутрисердечном зубце Р. Он имеет такую конструкцию, что детектируемая электрокардиографическая информация выводится в блок управления. Другими словами, хотя предпочтительно используется вышеупомянутый сверхминиатюрный интегрированный электрокардиостимулятор в соответствии с вторым вариантом осуществления настоящего изобретения, сверхминиатюрный интегрированный электрокардиостимулятор в соответствии с первым, третьим и четвертым вариантами осуществления также может использоваться, если он имеет вышеупомянутую конструкцию.
Также вышеупомянутый блок управления оснащен средством определения синхронизации стимуляции, которое определяет синхронизацию стимуляции для генерирования сигналов управления, и средством изменения синхронизации стимуляции, которое изменяет синхронизацию стимуляции для генерации сигналов управления.
Один пример работы системы электрокардиостимуляции в соответствии с первым вариантом осуществления настоящего изобретения будет описан ниже. Путем использования средства определения синхронизации стимуляции сигналы управления генерируются согласно заданной синхронизации стимуляции, и эндокард предсердия стимулируется электрически. Это приводит к возбуждению и сжатию миокарда предсердия, и в то же время этот стимулирующий сигнал проводится в предсердно-желудочковый узел по пути внутрипредсердной проводимости. Затем из предсердно-желудочкового узла стимулирующий сигнал проводится в предсердно-желудочковый пучок, левую и правую ветви пуска, волокно Пуркинье и в конечном итоге выходит из миокарда желудочка, что приводит к нормальному сердцебиению.
Даже в вышеупомянутом случае синдрома слабости синусового узла может происходить самопроизвольное биение сердца. В том случае, если средство детектирования электрокардиографической информации детектирует информацию о самопроизвольном внутрисердечном зубце Р в течение заданного интервала времени от предыдущего биения сердца, эта информация о самопроизвольном внутрисердечном зубце Р выводится в блок управления, тогда как синхронизация стимуляции для генерации сигналов управления изменяется средством изменения синхронизации стимуляции блока управления, и электрокардиостимуляции предсердия подавляется. В том случае, если информация о самопроизвольном внутрисердечном зубце Р не детектируется в течение заданного интервала времени после детектирования предыдущей информации о внутрисердечном зубце Р, миокард предсердия будет стимулироваться электрически согласно заданной синхронизации стимуляции.
Путем размещения вышеупомянутого сверхминиатюрного интегрированного электрокардиостимулятора в соответствии с настоящим изобретением в эндокарде желудочка пациента можно стимулировать миокард желудочка. Путем применения данного электрокардиостимулятора у пациентов с нормальной функцией синусного узла и ухудшенной только предсердно-желудочковой проводимостью можно поддерживать клинически требуемое минимальное количество сокращений желудочка и при отсутствии синхронности между предсердием и желудочком.
Далее, со ссылками на схемы будет описана система распределенной электрокардиостимуляции в соответствии с вторым вариантом осуществления настоящего изобретения.
На Фиг.7 схематически показана система распределенной электрокардиостимуляции в соответствии с вторым вариантом осуществления настоящего изобретения. На схеме показано одно устройство (200) детектирования электрокардиографической информации в эндокарде предсердия и один сверхминиатюрный интегрированный электрокардиостимулятор в соответствии с настоящим изобретением (131) в эндокарде желудочка. Фиг.8 представляет блок-схему, которая показывает структуру устройства (200) детектирования электрокардиографической информации.
Система распределенной электрокардиостимуляции в соответствии с вторым вариантом осуществления настоящего изобретения может применяться у пациентов с нормальной функцией синусного узла и ухудшено только предсердно-желудочковой проводимостью. Более подробно, устройство (200) детектирования электрокардиографической информации, помещенное в эндокард предсердия, детектирует электрокардиографическую информацию, включая по меньшей мере информацию о самопроизвольном внутрисердечном зубце Р. Детектируемая электрокардиографическая информация, включающая информацию о самопроизвольном внутрисердечном зубце Р, передается в сверхминиатюрный интегрированный электрокардиостимулятор (131) в соответствии с настоящим изобретением, помещенный в эндокард желудочка. После получения электрокардиографической информации о самопроизвольном внутрисердечном зубце Р от устройства (200) детектирования электрокардиографической информации и после заданной задержки (предсердно-желудочковое запаздывание, эквивалентное интервалу PQ на электрокардиограмме) сверхминиатюрный интегрированный электрокардиостимулятор (131) в соответствии с настоящим изобретением проводит электрокардиостимуляцию желудочка путем электрокардиостимуляции миокарда желудочка средством стимуляции сердца.
Даже у пациентов с ухудшенной предсердно-желудочковой проводимостью может произойти самопроизвольное сокращение желудочка. У этих пациентов, если сокращение желудочка происходит (в случае детектирования информации о самопроизвольном внутрисердечном комплексе QRS) в течение заданного интервала времени (предсердно-желудочковое запаздывание), после детектирования информации о самопроизвольном внутрисердечном зубце Р синхронизации стимуляции изменяется и электрокардиостимуляция желудочка не проводится.
На Фиг.8 схематически показано устройство (200) детектирования электрокардиографической информации, помещенное в эндокарде предсердия. Устройство (200) детектирования электрокардиографической информации состоит из средства (5) детектирования электрокардиографической информации, которое детектирует электрокардиографическую информацию, включающую по меньшей мере информацию о внутрисердечном зубце Р, и выводит электрокардиографические данные передающего средства (10), которое посылает электрокардиографическую информацию, и блока (2) управления.
В устройстве (200) детектирования электрокардиографической информации, которое показано на схеме, средство (5) детектирования электрокардиографической информации состоит из двух электродов (53) регистрации электрокардиографической информации, которые детектируют электрокардиографическую информацию, блока (51) усилителя мощности, который усиливает электрокардиографическую информацию, и блока (52) аналого-цифрового преобразования, который преобразует электрографическую информацию в цифровую информацию.
Более того, в устройстве (200) детектирования электрокардиографической информации, показанном на схеме, передающее средство (10) состоит из модулирующего блока (11), который вводит и модулирует электрокардиографическую информацию, выводимую из блока (2) управления, и передающего блока (12), который посылает модулированную электрокардиографическую информацию на определенной несущей. Модулированная электрокардиографическая информация посылается в сверхминиатюрный интегрированный электрокардиостимулятор (121), размещенный в эндокарде желудочка.
Сверхминиатюрный интегрированный электрокардиостимулятор (131) в соответствии с настоящим изобретением состоит из блока управления, который выдает сигналы управления, средством стимуляции сердца, которое реагирует на упомянутый сигнал управления и электрически стимулирует миокард желудочка, средством детектирования электрокардиографической информации, которое детектирует электрокардиографическую информацию, включающую по меньшей мере информацию о внутрисердечном комплексе QRS, и приемным средством, которое принимает и демодулирует электрокардиографическую информацию, направленную устройством (200) детектирования электрокардиографической информации, размещенном в предсердии. Он имеет такую конструкцию, что электрокардиографическая информация, детектируемая средством детектирования электрокардиографической информации, и электрокардиографическая информация, направленная от любого другого устройства, вводятся в блок управления. Поэтому в системе распределенной электрокардиостимуляции в соответствии с вторым вариантом осуществления предпочтительно используются вышеупомянутые сверхминиатюрные интегрированные электрокардиостимуляторы в соответствии с четвертым вариантом осуществления в качестве электрокардиостимуляторов, помещаемых в эндокард желудочка, но также могут без проблем использоваться сверхминиатюрные интегрированные кардиостимуляторы в соответствии с первым вариантом осуществления.
Кроме того, вышеупомянутый блок управления оснащен средством определения синхронизации стимуляции, которое определяет синхронизацию стимуляции для генерирования сигналов управления, и средством изменения синхронизации стимуляции, которое изменяет синхронизацию стимуляции для генерации сигналов управления.
Один пример работы системы распределенной электрокардиостимуляции в соответствии с вторым вариантом осуществления настоящего изобретения будет приведен ниже. Обычно желудочек стимулируется путем генерации сигналов управления с синхронизацией стимуляции, определяемой средством определения синхронизации стимуляции (стимуляция после заданного интервала времени (предсердно-желудочковое запаздывание) от момента детектирования информации о внутрисердечном зубце Р).
В том случае, если информация о самопроизвольном внутрисердечном комплексе QRS детектируется в течение заданного интервала времени (предсердно-желудочковое запаздывание) после детектирования информации о внутрисердечном зубце Р, синхронизация стимуляции для генерации сигналов управления изменяется средством изменения синхронизации стимуляции, и сигналы управления не генерируются.
Сверхминиатюрный интегрированный электрокардиостимулятор (131) предпочтительно имеет такую конструкцию, что желудочек стимулируется с регулярными интервалами в том случае, если информация о внутрисердечном зубце Р не посылается устройством (200) детектирования электрокардиографической информации в течение заданного интервала времени после детектирования информации о внутрисердечном комплексе QRS (из-за самопроизвольного сокращения желудочка или в результате стимуляции электрокардиостимулятором). Эта конструкция будет гарантировать безопасность в случае остановки синусного узла или синоаурикулярной блокады сердца.
Далее, со ссылками на схему будет описана система распределенной электрокардиостимуляции в соответствии с третьим вариантом осуществления настоящего изобретения. На Фиг.9 схематически показана система распределенной электрокардиостимуляции в соответствии с третьим вариантом осуществления настоящего изобретения. На схеме показан один сверхминиатюрный интегрированный электрокардиостимулятор (101), помещенный в эндокард предсердия, и второй сверхминиатюрный интегрированный электрокардиостимулятор (102), помещенный в эндокард желудочка.
Система распределенной электрокардиостимуляции в соответствии с третьим вариантом осуществления настоящего изобретения может применяться у пациентов с нарушением функции синусного узла наряду с ухудшенной предсердно-желудочковой проводимостью. Другими словами, этот электрокардиостимулятор показан пациентам с синдромом слабости синусового узла с проявлениями остановки синусной функции и предсердно-желудочковой блокады.
Один пример работы системы распределенной электрокардностимуляции в соответствии с третьим вариантом осуществления настоящего изобретения будет приведен ниже. Первый сверхминиатюрный интегрированный электрокардиостимулятор (101), помещенный в эндокард предсердия, выдает сигналы управления и стимулирует предсердие средством стимуляции сердца. Этот сигнал управления (и/или электрокардиографическая информация о предсердии) модулируется в несущую и передается во второй сверхминиатюрный интегрированный электрокардиостимулятор (102), помещенный в эндокард желудочка. После приема сигналов управления (и/или электрокардиографической информации о предсердии) от первого сверхминиатюрного интегрированного электрокардиостимулятора (101) второй сверхминиатюрный интегрированный электрокардиостимулятор (102) выдает сигналы управления с заданной задержкой (предсердно-желудочковое запаздывание, эквивалентное интервалу PQ на электрокардиограмме) после стимуляции предсердия первым сверхминиатюрным интегрированным электрокардиостимулятором (102) и электрически стимулирует миокард желудочка для проведения стимуляции желудочка. Кроме того, этот сигнал управления (и/или электрокардиографическая информация о желудочке) модулируется в несущую и передается в первый сверхминиатюрный интегрированный электрокардиостимулятор (101). Первый сверхминиатюрный интегрированный электрокардиостимулятор (101) подавляет детектирование внутрисердечного зубца Р в течение заданного интервала времени после получения сигнала управления (и/или электрографической информации о желудочке) от второго сверхминиатюрного интегрированного электрокардиостимулятора (102). После этого первый сверхминиатюрный интегрированный электрокардиостимулятор (131) выдает сигналы управления при синхронизации стимуляции согласно заданной частоте и стимулирует предсердие.
Путем повторения вышеизложенного можно стимулировать сердце, имитируя естественное физиологическое состояние.
Даже пациенты с синдромом слабости синусового узла с проявлениями остановки синусной функции и предсердно-желудочковой блокады могут испытывать самопроизвольное сокращение желудочка или предсердия. В этом случае, то есть, если информация о самопроизвольном внутрисердечном зубце Р детектируется в течение заданного интервала времени с момента предыдущего биения сердца, стимуляция предсердия подавляется. Более того, в том случае, если информация о самопроизвольном внутрисердечном комплексе QRS детектируется в течение заданного интервала времени (предсердно-желудочковое запаздывание) после детектирования информации с внутрисердечном зубце Р (самопроизвольном или из-за первого сверхминиатюрного интегрированного электрокардиостимулятора), стимуляция желудочка подавляется.
Первый сверхминиатюрный интегрированный электрокардиостимулятор (101), помещенный в эндокард предсердия, оснащен блоком управления, который выдает сигналы управления, средством стимуляции сердца, которое реагирует на сигнал управления и электрически стимулирует миокард предсердия, средством детектирования электрокардиографической информации, которое детектирует электрокардиографическую информацию, включающую по меньшей мере информацию о внутрисердечном зубце Р, передающим средством, которое модулирует сигнал управления или электрокардиографическую информацию и посылает эту информацию во второй сверхминиатюрный интегрированный электрокардиостимулятор (102), помещенный в желудочек, и приемным средством, которое принимает и демодулирует сигнал управления или электрокардиографическую информацию, направляемые вторым сверхминиатюрным интегрированным электрокардиостимулятором (102), помещенным в желудочек. Электрокардиостимулятор имеет такую конструкцию, что сигнал управления и электрокардиографическая информация, посылаемые вторым сверхминиатюрным интегрированным электрокардиостимулятором (102), вводятся в блок управления. Поэтому в системе распределенной электрокардиостимуляции в соответствии с третьим вариантом осуществления (101) предпочтительно используется вышеупомянутый сверхминиатюрный интегрированный электрокардиостимулятор в соответствии с первым вариантом осуществления в качестве первого сверхминиатюрного интегрированного электрокардиостимулятора (101).
Второй сверхминиатюрный интегрированный электрокардиостимулятор (102) оснащен блоком управления, который выдает сигналы управления, средством стимуляции сердца, которое реагирует на сигнал управления и электрически стимулирует миокард желудочка средством детектирования электрокардиографической информации, которое детектирует электрокардиографическую информацию, включающую по меньшей мере информацию о внутрисердечном комплексе QRS, передающим средством, которое модулирует сигнал управления или электрокардиографическую информацию и посылает эту информацию в первый сверхминиатюрный интегрированный электрокардиостимулятор (101), и приемным средством, которое принимает и демодулирует сигнал управления или электрокардиографическую информацию, направляемые первым сверхминиатюрным интегрированным электрокардиостимулятором (101), помещенным в предсердие. Электрокардиостимулятор имеет такую конструкцию, что сигнал управления и электрокардиографическая информация, посылаемые первым сверхминиатюрным интегрированным электрокардиостимулятором (101), вводятся в блок управления. Поэтому в системе распределенной электрокардиостимуляции в соответствии с третьим вариантом осуществления предпочтительно используется вышеупомянутый сверхминиатюрный интегрированный электрокардиостимулятор в соответствии с первым вариантом осуществления в качестве второго сверхминиатюрного интегрированного электрокардиостимулятора (102).
В первом сверхминиатюрном интегрированном электрокардиостимуляторе (101) блок управления оснащен средством определения синхронизации стимуляции, которое определяет синхронизацию стимуляции для генерации сигналов управления, и средством изменения синхронизации стимуляции, которое изменяет синхронизацию стимуляции для генерации сигналов управления.
Обычно средство определения синхронизации стимуляции определяет синхронизацию стимуляции для генерации сигнала управления и затем генерирует сигналы управления для проведения электрокардиостимуляции предсердия.
Будет объяснен один пример работы первого сверхминиатюрного интегрированного электрокардиостимулятора (101). В том случае, если средство детектирования электрокардиографической информации детектирует самопроизвольный внутрисердечный зубец Р в течение заданного интервала времени с момента предыдущего биения сердца, синхронизация стимуляции для генерации сигналов управления изменяется, сигнал управления не генерируется и электрокардиостимуляция предсердия не проводится. В том случае, если средство детектирования электрокардиографической информации не детектирует информацию о самопроизвольном внутрисердечном зубце Р в течение заданного интервала времени с момента последнего биения сердца, генерируется сигнал управления и проводится электрокардиостимуляция предсердия.
Более того, в блоке управления, если генерируется сигнал управления или детектируется информация о самопроизвольном внутрисердечном зубце Р, эта информация посылается передающим блоком во второй сверхминиатюрный интегрированный электрокардиостимулятор (102).
Во втором сверхминиатюрном интегрированном электрокардиостимуляторе (102) блок управления оснащен средством определения синхронизации стимуляции, которое определяет синхронизацию стимуляции для генерации сигналов управления, и средством изменения синхронизации стимуляции, которое изменяет синхронизацию стимуляции для генерации сигналов управления.
Будет объяснен один пример работы второго сверхминиатюрного интегрированного электрокардиостимулятора (102). Обычно сигнал управления генерируется в момент времени, определенный средством определения синхронизации (сигнал управления генерируется с заданным интервалом времени (предсердно-желудочковое запаздывание) после посылки сигнала управления или информации о внутрисердечном зубце Р первым сверхминиатюрным интегрированным электрокардиостимулятором (101).
В том случае, если информация о самопроизвольном внутрисердечном комплексе QRS детектируется в течение заданного интервала времени (предсердно-желудочковое запаздывание), синхронизация стимуляции для генерации сигналов управления изменяется средством изменения синхронизации стимуляции, и электрокардиостимуляция предсердия не проводится.
Более того, в блоке управления, в том случае, если генерируется сигнал управления или детектируется информация о самопроизвольном внутрисердечном зубце Р, эта информация направляется передающим блоком в первый сверхминиатюрный интегрированный электрокардиостимулятор (101). Первый сверхминиатюрный интегрированный электрокардиостимулятор (101) подавляет детектирование информации о внутрисердечном зубце Р в течение заданного интервала времени после получения сигнала управления (или электрокардиографической информации о желудочке) от второго сверхминиатюрного интегрированного электрокардиостимулятора (102). Эта конструкция существенно важна для предотвращения осложнения в виде так называемой тахикардии от электрокардиостимулятора, вызываемой следующим механизмом: когда внутрисердечный комплекс QRS из-за самопроизвольного сокращения желудочка проводится ретроградно предсердию, вышеупомянутый первый сверхминиатюрный интегрированный электрокардиостимулятор детектирует информацию о внутрисердечном зубце Р, на основании чего второй сверхминиатюрный интегрированный электрокардиостимулятор электрически стимулирует желудочек, приводя к повторной электрической стимуляции желудочка.
Далее, со ссылками на схему будет описана система распределенной электрокардиостимуляции в соответствии с четвертым вариантом осуществления настоящего изобретения. На Фиг.10 схематически показана система распределенной электрокардиостимуляции в соответствии с четвертым вариантом осуществления настоящего изобретения. На схеме показано устройство (200) детектирования электрокардиографической информации, помещенное в эндокард предсердия и несколько (например, четыре на Фиг.10) сверхминиатюрных интегрированных электрокардиостимуляторов (102), помещенных в эндокард желудочка.
Система распределенной электрокардиостимуляции в соответствии с четвертым вариантом осуществления настоящего изобретения может применяться у пациентов с нарушением синхронизации сокращения миокарда желудочка, что приводит к пониженной сократимости желудочка, или у пациентов с опасностью летальной аритмии.
Один пример работы системы распределенной электрокардиостимуляции в соответствии с четвертым вариантом осуществления настоящего изобретения будет описан ниже. Устройство (200) детектирования электрокардиографической информации, помещенное в эндокард предсердия, детектирует электрокардиографическую информацию, включающую по меньшей мере информацию о внутрисердечном зубце Р. Детектируемая электрокардиографическая информация посылается устройством (200) в некоторое множество сверхминиатюрных интегрированных электрокардиостимуляторов (102), помещенных в эндокарде желудочка. После посылки электрокардиографической информации устройством (200) детектирования электрокардиографической информации, эти сверхминиатюрные интегрированные электрокардиостимуляторы (102) генерируют сигналы управления для стимуляции миокарда желудочка и стимулируют желудочек с задержкой после сокращения предсердия во временных интервалах, которые будут меняться в зависимости от отдельных сверхминиатюрных интегрированных электрокардиостимуляторов (102). Другими словами, после посылки электрокардиографической информации устройством (200) детектирования электрокардиографической информации эти сверхминиатюрные интегрированные электрокардиостимуляторы (102) стимулируют желудочек после определенных интервалов времени, зависящих от мест размещения сверхминиатюрных интегрированных электрокардиостимуляторов (102) в желудочке.
В случае самопроизвольного сокращения желудочка, то есть в случае, когда информация о самопроизвольном внутрисердечном комплексе QRS детектируется в течение заданного интервала времени (предсердно-желудочковое запаздывание) после детектирования информации о внутрисердечном зубце Р, стимуляция желудочка подавляется. Однако даже в случае детектирования информации о самопроизвольном внутрисердечном комплексе QRS, если самопроизвольное биение не детектируется в течение заданных интервалов времени на других сверхминиатюрных интегрированных электрокардиостимуляторах (102), помещенных в эндокард желудочка, стимуляция желудочка в местах их размещения подавляться не будет. Для того, чтобы это реализовать, информация о самопроизвольном внутрисердечном комплексе QRS, зарегистрированная любым электрокардиостимулятором (102) в любом месте желудочка, передается в другие электрокардиостимуляторы (102). Каждый электрокардиостимулятор (102) принимает сигналы от любого другого электрокардиостимулятора (102).
Сверхминиатюрный интегрированный электрокардиостимулятор (102), помещенный в эндокард желудочка, оснащен блоком управления, который выдает сигналы управления, средством стимуляции сердца, которое реагирует на сигнал управления и электрически стимулирует миокард желудочка, средством детектирования электрокардиографической информации, которое детектирует электрокардиографическую информацию, включающую по меньшей мере информацию о внутрисердечном комплексе QRS, передающим средством, которое модулирует сигнал управления или электрокардиографическую информацию и посылает эту информацию другим сверхминиатюрным интегрированным электрокардиостимуляторам, помещенным в желудочек, и приемным средством, которое принимает и демодулирует сигнал управления или электрокардиографическую информацию, направляемые устройством (200) детектирования электрокардиографической информации, помещенным в предсердие, и другими сверхминиатюрными интегрированными электрокардиостимуляторами, помещенными в желудочек. Поэтому в системе распределенной электрокардиостимуляции в соответствии с четвертым вариантом осуществления предпочтительно используются вышеупомянутые сверхминиатюрные интегрированные электрокардиостимуляторы (100) в соответствии с первым вариантом осуществления в качестве сверхминиатюрных интегрированных электрокардиостимуляторов (102).
Кроме того, места размещения сверхминиатюрных интегрированных электрокардиостимуляторов и их количество будут определяться исходя из симптомов пациента.
В сверхминиатюрных интегрированных электрокардиостимуляторах (102) блок управления оснащен средством определения синхронизации стимуляции, которое определяет синхронизацию стимуляции для генерации сигналов управления, и средством изменения синхронизации стимуляции, которое изменяет синхронизацию стимуляции для генерации сигналов управления.
Будет объяснен один пример работы сверхминиатюрного интегрированного электрокардиостимулятора. Сигнал управления генерируется в момент времени, определенный средством определения синхронизации стимуляции (сигнал управления генерируется с заданным интервалом времени (предсердно-желудочковое запаздывание) после посылки информации о самопроизвольном внутрисердечном зубце Р устройством (200) детектирования электрокардиографической информации), и проводится электрокардиостимуляции желудочка.
Синхронизация стимуляции для каждого сверхминиатюрного интегрированного кардиостимулятора разная и зависит от места его размещения в эндокарде желудочка. Например, каждый сверхминиатюрный интегрированный кардиостимулятор (102) активируется с временной задержкой, зависящей от момента стимуляции этого места при нормальной желудочковой экстрасистоле. Но вышеупомянутая комбинация не ограничивается, поскольку является комбинацией, которая максимально улучшает сократимость сердца.
Этот вид синхронизированного сокращения сердца также снижает электрическую нестабильность желудочка и используется для предотвращения аритмии у пациентов с опасностью летальной аритмии, а также для предотвращения аритмии, вызываемой электрокардиостимулятором.
Информация о внутрисердечном комплексе QRS, детектированная сверхминиатюрным электрокардиостимулятором (102), передается другим сверхминиатюрным интегрированным электрокардиостимуляторам передающим средством. В случае, если определенный электрокардиостимулятор желудочка детектирует самопроизвольный внутрисердечный комплекс QRS в течение заданного периода времени, но это самопроизвольное биение не детектируется другими электрокардиостимуляторами желудочка в течение заданных периодов времени, вышеизложенная конструкция обеспечивает электрокардиостимуляцию желудочка и в местах их размещения.
В вышеописанной системе распределенной электрокардиостимуляции в соответствии с четвертым вариантом осуществления можно поместить сверхминиатюрный интегрированный электрокардиостимулятор (101) вместо устройства (200) детектирования электрокардиографической информации в эндокард предсердия, как в вышеописанной системе распределенной электрокардиостимуляции в соответствии с третьим вариантом осуществления. Как сказано выше, в системе распределенной электрокардиостимуляции в соответствии с третьим вариантом осуществления сверхминиатюрный интегрированный электрокардиостимулятор, помещенный в эндокард предсердия, оснащен средством определения синхронизации стимуляции и средством изменения синхронизации стимуляции и поэтому может использоваться у пациентов с пониженной сократимостью желудочка, сопровождающейся остановкой синусного узла и предсердно-желудочковой блокадой, а также у пациентов с опасностью летальной аритмии, сопровождающейся остановкой синусного узла и предсердно-желудочковой блокадой.
В системе распределенной электрокардиостимуляции в соответствии с данным пересмотренным вариантом изобретения в качестве конструкции сверхминиатюрного интегрированного электрокардиостимулятора, помещаемого в эндокард предсердия, может быть принята конструкция сверхминиатюрного интегрированного электрокардиостимулятора (101), помещаемого в эндокард предсердия, вышеописанной системы распределенной электрокардиостимуляции в соответствии с третьим вариантом осуществления. Кроме того, в системе распределенной электрокардиостимуляции в соответствии с данным пересмотренным вариантом изобретения в качестве конструкции сверхминиатюрного интегрированного электрокардиостимулятора, помещаемого в эндокард предсердия, может быть принята конструкция сверхминиатюрного интегрированного электрокардиостимулятора (102), помещаемого в эндокард желудочка, вышеописанной системы распределенной электрокардиостимуляции в соответствии с четвертым вариантом осуществления.
Как подробно сказано выше, сверхминиатюрный интегрированный электрокардиостимулятор, описанный в пункте 4 формулы, способен передавать сигнал управления или электрокардиографическую информацию другим сверхминиатюрным интегрированным электрокардиостимуляторам и в то же время принимать сигнал управления или электрокардиографическую информацию от других сверхминиатюрных интегрированных электрокардиостимуляторов; таким образом он способен осуществлять стимуляцию сердца синхронно с другими сверхминиатюрными интегрированными электрокардиостимуляторами.
Сверхминиатюрный интегрированный электрокардиостимулятор, описанный в пункте 1 формулы, не требует проводников для соединения главного блока электрокардиостимулятора с электродами стимуляции; таким образом он способен осуществлять стимуляцию сердца без дополнительной нагрузки на пациента.
Сверхминиатюрный интегрированный электрокардиостимулятор, описанный в пункте 2 формулы, способен передавать сигнал управления или электрокардиографическую информацию другим сверхминиатюрным интегрированным электрокардиостимуляторам; таким образом он способен осуществлять стимуляцию сердца синхронно с другими сверхминиатюрными интегрированными электрокардиостимуляторами.
Сверхминиатюрный интегрированный электрокардиостимулятор, описанный в пункте 3 формулы, способен принимать сигнал управления или электрокардиографическую информацию от других сверхминиатюрных интегрированных электрокардиостимуляторов; таким образом он способен осуществлять стимуляцию сердца синхронно с другими сверхминиатюрными интегрированными электрокардиостимуляторами.
Система распределенной электрокардиостимуляции, описанная в пункте 5 формулы, может использоваться для электрокардиостимуляции пациентов, предсердие которых утратило способность поддерживать сердечный ритм, хотя электрическая активность в предсердии и электрическая активность в желудочке остаются синхронизированными.
Система распределенной электрокардиостимуляцин, описанная в пункте 6 формулы, может использоваться для пациентов с нормальной функцией синусного узла, но с ухудшенной предсердно-желудочковой проводимостью.
Система распределенной электрокардиостимуляции, описанная в пункте 7 формулы, может использоваться для пациентов с нарушением функционирования синусного узла и с ухудшенной предсердно-желудочковой проводимостью.
Система распределенной электрокардиостимуляции, описанная в пункте 8 формулы, может использоваться для пациентов с утраченной синхронностью сокращения различных частей желудочка и с пониженной сократимостью желудочка или для пациентов с аритмией.
Система распределенной электрокардиостимуляции, описанная в пункте 9 формулы, может использоваться для пациентов с пониженной сократимостью желудочка, сопровождающейся остановкой синусного узла и предсердно-желудочковой блокадой, а также для пациентов с опасностью летальной аритмии, сопровождающейся остановкой синусного узла и предсердно-желудочковой блокадой.
Промышленная применимость
Можно осуществить сверхминиатюрный интегрированный электрокардиостимулятор и систему распределенной электрокардиостимуляции, которые позволяют осуществлять электрокардиостимуляцию сердца без использования традиционных проводников, которые соединяют электроды с главным блоком электрокардиостимулятора и позволяют осуществить имплантацию в сердце путем манипулирования только катетером без разреза грудной клетки для того, чтобы снизить нагрузку на пациента.
Формула изобретения
1. Сверхминиатюрный интегрированный электрокардиостимулятор, который не требует разреза грудной клетки и может быть имплантирован в сердце путем прикрепления к концу катетера и извлечения катетера после имплантации, содержащий
блок управления, который выдает сигналы управления,
средство стимуляции сердца, которое реагирует на упомянутый сигнал управления электрически стимулирует сердечную ткань,
средство детектирования электрокардиографической информации, которое детектирует электрокардиографическую информацию и выводит ее в упомянутый блок управления,
блок питания, который подает мощность возбуждения, отличающийся тем, что упомянутый блок управления выдает сигнал управления на основании электрокардиографической информации, причем упомянутый блок питания является биологическим топливным элементом, который использует биологические топлива и кислород крови и/или жидкостей тела и состоит из анодного электрода и катодного электрода, которые используют кровь или жидкость тела в качестве электролита, причем упомянутый анодный электрод покрыт иммобилизованными окислительными ферментами для биологических топлив и веществ-медиаторов.
2. Сверхминиатюрный интегрированный электрокардиостимулятор, который не требует разреза грудной клетки и может быть имплантирован в сердце путем прикрепления к концу катетера и извлечения катетера после имплантации, содержащий
блок управления, который выдает сигналы управления,
средство стимуляции сердца, которое реагирует на упомянутый сигнал управления электрически стимулирует сердечную ткань,
средство детектирования электрокардиографической информации, которое детектирует электрокардиографическую информацию и выводит ее в упомянутый блок управления,
передающее средство, которое модулирует электрокардиографическую информацию и сигнал управления на внешние устройства,
блок питания, который подает мощность возбуждения, отличающийся тем, что упомянутый блок управления выдает сигналы управления на основании электрокардиографической информации, причем упомянутый блок питания является биологическим топливным элементом, который использует биологические топлива и кислород крови и/или жидкостей тела и состоит из анодного электрода и катодного электрода, которые используют кровь или жидкость тела в качестве электролита, причем упомянутый анодный электрод покрыт иммобилизованными окислительными ферментами для биологических топлив и веществ-медиаторов.
3. Сверхминиатюрный интегрированный электрокардиостимулятор, который не требует разреза грудной клетки и может быть имплантирован в сердце путем прикрепления к концу катетера и извлечения катетера после имплантации, содержащий
блок управления, который выдает сигналы управления,
средство стимуляции сердца, которое реагирует на упомянутый сигнал управления электрически стимулирует сердечную ткань,
средство детектирования электрокардиографической информации, которое детектирует электрокардиографическую информацию и выводит ее в упомянутый блок управления,
приемное средство, которое демодулирует информацию, передаваемую извне,
блок питания, который подает мощность возбуждения и имеющий такую конструкцию, что информация, направленная извне, вводится в упомянутый блок управления, отличающийся тем, что упомянутый блок управления выдает сигналы управления на основании информации, направленной извне и/или электрокардиографической информации, а упомянутый блок питания является биологическим топливным элементом, который использует биологические топлива и кислород крови и/или жидкостей тела и состоит из анодного электрода и катодного электрода, которые используют кровь или жидкость тела в качестве электролита, причем упомянутый анодный электрод покрыт иммобилизованными окислительными ферментами для биологических топлив и веществ-медиаторов.
4. Сверхминиатюрный интегрированный электрокардиостимулятор, который не требует разреза грудной клетки и может быть имплантирован в сердце путем прикрепления к концу катетера и извлечения катетера после имплантации, содержащий
блок управления, который выдает сигналы управления,
средство стимуляции сердца, которое реагирует на упомянутый сигнал управления электрически стимулирует сердечную ткань,
средство детектирования электрокардиографической информации, которое детектирует электрокардиографическую информацию и выводит ее в упомянутый блок управления,
передающее средство, которое модулирует электрокардиографическую информацию и сигнал управления на внешние устройства,
приемное средство, которое демодулирует информацию, направленную извне,
блок питания, который подает мощность возбуждения и имеющий такую конструкцию, что информация, направленная извне, вводится в упомянутый блок управления, отличающийся тем, что упомянутый блок управления выдает сигналы управления на основании информации, направленной извне и/или электрокардиографической информации, а упомянутый блок питания является биологическим топливным элементом, который использует биологические топлива и кислород крови и/или жидкостей тела и состоит из анодного электрода и катодного электрода, которые используют кровь или жидкость тела в качестве электролита, причем упомянутый анодный электрод покрыт иммобилизованными окислительными ферментами для биологических топлив и веществ-медиаторов.
5. Система электрокардиостимуляции, содержащая сверхминиатюрный интегрированный электрокардиостимулятор, помещенный в миокард предсердия, отличающаяся тем, что упомянутый сверхминиатюрный интегрированный электрокардиостимулятор содержит
блок управления, который выдает сигнал управления,
блок питания, который подает мощность возбуждения,
средство стимуляции сердца, которое реагирует на упомянутые сигналы управления электрически стимулирует миокард предсердия,
средство детектирования электрокардиографической информации, которое детектирует электрокардиографическую информацию, включающую по меньшей мере информацию о внутрисердечном зубце Р, причем упомянутый блок питания является биологическим топливным элементом, который использует биологические топлива и кислород крови и/или жидкостей тела и состоит из анодного электрода и катодного электрода, которые используют кровь или жидкость тела в качестве электролита, причем упомянутый анодный электрод покрыт иммобилизованными окислительными ферментами для биологических топлив и веществ-медиаторов.
6. Система распределенной электрокардиостимуляции, содержащая устройство детектирования электрокардиографической информации, помещенное в миокард предсердия, и сверхминиатюрный интегрированный электрокардиостимулятор, помещенный в миокард желудочка, отличающаяся тем, что упомянутое устройство детектирования электрокардиографической информации содержит
средство детектирования электрокардиографической информации, которое детектирует электрокардиографическую информацию, включающую по меньшей мере информацию о внутрисердечном зубце Р,
передающее средство, которое модулирует детектируемую электрокардиографическую информацию и направляет информацию в упомянутый сверхминиатюрный интегрированный электрокардиостимулятор,
блок питания, который подает мощность возбуждения, причем упомянутый блок питания является биологическим топливным элементом, который использует биологические топлива и кислород крови и/или жидкостей тела и состоит из анодного электрода и катодного электрода, которые используют кровь или жидкость тела в качестве электролита, причем упомянутый анодный электрод покрыт иммобилизованными окислительными ферментами для биологических топлив и веществ-медиаторов,
упомянутый сверхминиатюрный интегрированный электрокардиостимулятор содержит:
приемное средство, которое принимает и демодулирует электрокардиографическую информацию, направленную упомянутым устройством детектирования электрокардиографической информации,
блок управления, который выдает сигнал управления,
блок питания, который подает ток возбуждения,
средство стимуляции сердца, которое реагирует на упомянутый сигнал управления и электрически стимулирует миокард желудочка, причем упомянутый блок питания является биологическим топливным элементом, который использует биологические топлива и кислород крови и/или жидкостей тела и состоит из анодного электрода и катодного электрода, которые используют кровь или жидкость тела в качестве электролита, причем упомянутый анодный электрод покрыт иммобилизованными окислительными ферментами для биологических топлив и веществ-медиаторов, при этом упомянутый блок управления содержит:
средство определения синхронизации стимуляции, которое определяет синхронизацию стимуляции для генерации сигналов управления,
средство изменения синхронизации стимуляции, которое изменяет синхронизацию стимуляции для генерации сигналов управления в том случае, если информация о внутрисердечном зубце Р детектируется в течение заданного периода времени.
7. Система распределенной электростимуляции, содержащая первый сверхминиатюрный интегрированный электрокардиостимулятор, помещенный в миокард предсердия, и второй сверхминиатюрный интегрированный электрокардиостимулятор, помещенный в миокард желудочка, отличающийся тем, что упомянутый первый сверхминиатюрный интегрированный электрокардиостимулятор содержит
блок управления, который выдает сигнал управления,
блок питания, который подает мощность возбуждения,
средство стимуляции сердца, которое реагирует на упомянутый сигнал управления и электрически стимулирует миокард предсердия,
средство детектирования электрокардиографической информации, которое детектирует электрокардиографическую информацию, включающую по меньшей мере информацию о внутрисердечном зубце Р,
передающее средство, которое модулирует электрокардиографическую информацию и направляет эту информацию упомянутому второму сверхминиатюрному интегрированному электрокардиостимулятору,
приемное средство, которое принимает и демодулирует электрокардиографическую информацию, направленную упомянутым вторым сверхминиатюрным интегрированным электрокардиостимулятором, при этом упомянутый блок питания является биологическим топливным элементом, который использует биологические топлива и кислород крови и/или жидкостей тела и состоит из анодного электрода и катодного электрода, которые используют кровь или жидкость тела в качестве электролита, причем упомянутый анодный электрод покрыт иммобилизованными окислительными ферментами для биологических топлив и веществ-медиаторов,
причем электрокардиографическая информация, направленная упомянутым вторым сверхминиатюрным электрокардиостимулятором, вводится в упомянутый блок управления, и упомянутый блок управления имеет средство определения синхронизации стимуляции, которое определяет синхронизацию стимуляции для генерации сигналов управления, и средство изменения синхронизации стимуляции, которое изменяет синхронизацию стимуляции для генерации сигналов управления,
упомянутый второй сверхминиатюрный интегрированный электрокардиостимулятор содержит:
блок управления, который выдает сигнал управления,
блок питания, который подает ток возбуждения,
средство стимуляции сердца, которое реагирует на упомянутый сигнал управления и электрически стимулирует миокард предсердия,
средство детектирования электрокардиографической информации, которое детектирует электрокардиографическую информацию, включающую по меньшей мере информацию о внутрисердечном комплексе QRS,
передающее средство, которое модулирует электрокардиографическую информацию и направляет эту информацию упомянутому первому сверхминиатюрному интегрированному электрокардиостимулятору,
приемное средство, которое принимает и демодулирует электрокардиографическую информацию, направленную упомянутым первым сверхминиатюрным интегрированным электрокардиостимулятором, при этом упомянутый блок питания является биологическим топливным элементом, который использует биологические топлива и кислород крови и/или жидкостей тела и состоит из анодного электрода и катодного электрода, которые используют кровь или жидкость тела в качестве электролита, причем упомянутый анодный электрод покрыт иммобилизованными окислительными ферментами для биологических топлив и веществ-медиаторов,
причем электрокардиографическая информация, направленная упомянутым первым сверхминиатюрным интегрированным электрокардиостимулятором, вводится в упомянутый блок управления; и упомянутый блок управления оснащен средством определения синхронизации стимуляции, которое определяет синхронизацию стимуляции для генерации сигналов управления, и средством изменения синхронизации стимуляции, которое изменяет синхронизацию стимуляции для генерации сигналов управления,
блок управления упомянутого первого сверхминиатюрного интегрированного электрокардиостимулятора генерирует сигнал управления, если информация о внутрисердечном зубце Р не детектируется в течение заданного периода времени, и подавляет генерацию сигнала управления, если информация о внутрисердечном зубце Р детектируется в течение заданного периода времени,
блок управления упомянутого второго сверхминиатюрного интегрированного электрокардиостимулятора генерирует сигналы управления, если информация о внутрисердечном комплекс QRS не детектируется в течение заданного периода времени после детектирования информации о внутрисердечном зубце Р, и подавляет генерацию сигналов управления, если информацию о внутрисердечном комплексе QRS детектируется в течение заданного периода времени после детектирования информации о внутрисердечном зубце Р,
если упомянутый второй сверхминиатюрный интегрированный электрокардиостимулятор детектирует информацию о внутрисердечном комплексе QRS из-за самопроизвольного сокращения желудочка, то блок управления упомянутого первого сверхминиатюрного интегрирования электрокардиостимулятора подавляет детектирование информации о внутрисердечном зубце Р в течение заданного периода времени.
8. Система распределенной электрокардиостимуляции, содержащая устройство детектирования электрокардиографической информации, помещенное в миокард предсердия, и несколько сверхминиатюрных интегрированных электрокардиостимуляторов, помещенных в миокард желудочка, отличающийся тем, что упомянутое устройство детектирования электрокардиографической информации содержит
средство детектирования электрокардиографической информации, которое детектирует электрокардиографическую информацию, включающую по меньшей мере информацию о внутрисердечном зубце Р,
передающее средство, которое модулирует электрокардиографическую информацию и направляет ее в упомянутые сверхминиатюрные интегрированные электрокардиостимуляторы,
блок питания, который подает ток возбуждения, при этом упомянутый блок питания является биологическим топливным элементом, который использует биологические топлива и кислород крови и/или жидкостей тела и состоит из анодного электрода и катодного электрода, которые используют кровь или жидкость тела в качестве электролита, причем упомянутый анодный электрод покрыт иммобилизованными окислительными ферментами для биологических топлив и веществ-медиаторов
упомянутый сверхминиатюрный интегрированный электрокардиостимулятор содержит:
блок управления, который выдает сигнал управления,
блок питания, который подает ток возбуждения,
средство стимуляции сердца, которое реагирует на упомянутые сигналы управления и электрически стимулирует миокард желудочка,
средство детектирования электрокардиографической информации, которое детектирует электрокардиографическую информацию, включающую по меньшей мере информацию о внутрисердечном комплексе QRS,
передающее средство, которое модулирует электрокардиографическую информацию и направляет ее другим сверхминиатюрным интегрированным электрокардиостимуляторам,
приемное средство, которое принимает и демодулирует электрокардиографическую информацию, направленную другими сверхминиатюрными интегрированными электрокардиостимуляторами, причем упомянутый блок питания является биологическим топливным элементом, который использует биологические топлива и кислород крови и/или жидкостей тела и состоит из анодного электрода и катодного электрода, которые используют кровь или жидкость тела в качестве электролита, причем упомянутый анодный электрод покрыт иммобилизованными окислительными ферментами для биологических топлив и веществ-медиаторов,
причем электрокардиографическая информация, направленная другими сверхминиатюрными интегрированными электрокардиостимуляторами вводится в упомянутый блок управления; и упомянутый блок управления оснащен средством определения синхронизации стимуляции, которое определяет синхронизацию стимуляции для генерации сигналов управления, и средством изменения синхронизации стимуляции, которое изменяет синхронизацию стимуляции для генерации сигналов управления,
если упомянутые отдельные сверхминиатюрные интегрированные электрокардиостимуляторы не детектирует информацию о внутрисердечном комплексе QRS в течение соответственных заданных периодов времени после детектирования информации о внутрисердечном зубце Р, то блоки управления упомянутых сверхминиатюрных интегрированных электрокардиостимуляторов генерируют сигналы управления; тогда как, если информация о внутрисердечном комплексе QRS детектируется в течение заданных периодов времени после детектирования информации о внутрисердечном зубце Р, то блоки управления генерируют сигналы управления синхронно с самым ранним моментом, в который первый раз детектируется информация о внутрисердечном комплексе QRS.
9. Система распределенной электрокардиостимуляции, содержащая первый сверхминиатюрный интегрированный электрокардиостимулятор, помещенный в миокард предсердия, и несколько вторых сверхминиатюрных интегрированных электрокардиостимуляторов, помещенный в миокард желудочка, отличающийся тем, что упомянутый первый сверхминиатюрный интегрированный электрокардиостимулятор содержит
блок управления, который выдает сигналы управления,
блок питания, который подает мощность возбуждения,
средство стимуляции сердца, которое реагирует на упомянутые сигналы управления и электрически стимулирует миокард предсердия,
средство детектирования электрокардиографической информации, которое детектирует электрокардиографическую информацию, включающую по меньшей мере информацию о внутрисердечном зубце Р,
передающее средство, которое модулирует электрокардиографическую информацию и направляет эту информацию упомянутым вторым сверхминиатюрным интегрированным электрокардиостимуляторам,
приемное средство, которое принимает и демодулирует электрокардиографическую информацию, направленную упомянутыми вторыми сверхминиатюрными интегрированными электрокардиостимуляторами, причем упомянутый блок питания является биологическим топливным элементом, который использует биологические топлива и кислород крови и/или жидкостей тела и состоит из анодного электрода и катодного электрода, которые используют кровь или жидкость тела в качестве электролита, причем упомянутый анодный электрод покрыт иммобилизованными окислительными ферментами для биологических топлив и веществ-медиаторов, причем электрокардиографическая информация, направленная упомянутыми вторыми сверхминиатюрными интегрированными электрокардиостимуляторами, вводится в упомянутый блок управления; и упомянутый блок управления оснащен средством определения синхронизации стимуляции, которое определяет синхронизацию стимуляции для генерации сигналов управления, и средством изменения синхронизации стимуляции, которое изменяет синхронизацию стимуляции для генерации сигналов управления,
упомянутые вторые сверхминиатюрные интегрированные электрокардиостимуляторы содержат
блок управления, который выдает сигналы управления,
блок питания, который подает ток возбуждения,
средство стимуляции сердца, которое реагирует на упомянутый сигнал управления и электрически стимулирует миокард желудочка,
средство детектирования электрокардиографической информации, которое детектирует электрокардиографическую информацию, включающую по меньшей мере информацию о внутрисердечном комплексе QRS,
передающее средство, которое модулирует электрокардиографическую информацию и направляет ее упомянутым первому и вторым сверхминиатюрным интегрированным электрокардиостимуляторам,
приемное средство, которое принимает и демодулирует электрокардиографическую информацию, направленную упомянутыми первым и вторыми сверхминиатюрными интегрированными электрокардиостимуляторами; причем электрокардиографическая информация, направленная упомянутыми первым и другими вторыми сверхминиатюрными интегрированными электрокардиостимуляторами, вводится в упомянутый блок управления; и упомянутый блок управления оснащен средством определения синхронизации стимуляции, которое определяет синхронизацию стимуляции для генерации сигналов управления, и средством изменения синхронизации стимуляции, которое изменяет синхронизацию стимуляции для генерации сигналов управления,
блок управления упомянутого первого сверхминиатюрного интегрированного электрокардиостимулятора генерирует сигнал управления, если информация о внутрисердечном зубце Р не детектируется в течение заданного периода времени, и подавляет генерацию сигнала управления, если информация о внутрисердечном зубце Р детектируется в течение заданного периода времени,
блоки управления упомянутых нескольких вторых сверхминиатюрных интегрированных электрокардиостимуляторов генерируют сигналы управления, если информация о внутрисердечном комплекс QRS не детектируется отдельными сверхминиатюрными электрокардиостимуляторами в течение соответственных заданных периодов времени после детектирования информации о внутрисердечном зубце Р, тогда как, если информация о внутрисердечном комплексе QRS детектируется в течение заданных периодов времени после детектирования информации о внутрисердечном зубце Р, то блоки управления генерируют сигналы управления синхронно с самым ранним моментом, в который детектируется информация о внутрисердечном комплексе QRS,
причем если один из упомянутых вторых сверхминиатюрных интегрированных электрокардиостимуляторов детектирует информацию о внутрисердечном комплексе QRS из-за самопроизвольного сокращения желудочка, то блок управления упомянутого первого сверхминиатюрного интегрированного электрокардиостимулятора подавляет детектирование информации о внутрисердечном зубце Р в течение заданного периода времени.
РИСУНКИ
|