|
|
(21), (22) Заявка: 2005123914/14, 27.07.2005
(24) Дата начала отсчета срока действия патента:
27.07.2005
(46) Опубликовано: 27.04.2007
(56) Список документов, цитированных в отчете о поиске:
Шприц “Le Veen”, проспект фирмы BOSTON SCIENTIFIC CORPORATION. Printed in U.S.A., 1993. RU 2089225 C1, 10.09.1997. ЕР 228162 А2, 08.07.1987. DE 3443167 А1, 05.06.1986. US 5137514 А, 11.08.1992. US 6916308 В2, 12.07.2005. US 4723938 А, 09.02.1998. US 4940459 А, 10.07.1990. US 6783515 В1, 31.08.2004. US 5336183 А, 09.08.1994. US 5306248 А, 26.04.1994. US 5213115 А, 25.05.1993.
Адрес для переписки:
197198, Санкт-Петербург, Зоологический пер., 1/3, кв.36, Я.П. Кулику
|
(72) Автор(ы):
Кулик Ярослав Петрович (RU)
(73) Патентообладатель(и):
Кулик Ярослав Петрович (RU)
|
(54) ПНЕВМАТИЧЕСКОЕ УСТРОЙСТВО ДЛЯ ИЗГНАНИЯ ПОД ДАВЛЕНИЕМ ЖИДКОСТИ ИЗ ШПРИЦА
(57) Реферат:
Изобретение относится к медицинской технике и предназначено для лапароскопических инструментов. Устройство для изгнания под давлением жидкости из шприца включает шприц с поршнем и штуцером, баллон со сжатым газом CO2, имеющий свинцовую пробку, выполненную с возможностью прокола, держатель баллона с манометром и иглой с каналом, установленной в центре его дна, цилиндр, выполненный с возможностью соединения с держателем, и трехходовой кран, выполненный с возможностью соединения со штуцером. Шприц благодаря прокладке выполнен с возможностью герметичной установки в цилиндр. Держатель имеет крышку с установленным в ней винтом, на проксимальном конце которого установлена ручка, а на дистальном – толкатель, выполненный с возможностью насаживания баллона на иглу при вращении ручки. Технический результат – изгнание под давлением жидкости из шприца. 2 з.п. ф-лы, 1 ил.
Изобретение относится к медицинской технике и предназначено для лапароскопических инструментов.
Известен шприц “LE Veen” для баллонной ангиопластики (проспект прилагается), где под давлением 20 атмосфер вводят жидкость в баллон для расширения коронарных и других артерий с точной дозировкой объема жидкости и контролируемым давлением. Для целей лапароскопической хирургии такой шприц не пригоден, главное – мешает работе хирурга магистраль высокого давления и высокое давление в магистрали опасно соединять с троакаром, так как дистальный конец его с центральным каналом входит в брюшную полость. Магистраль высокого давления ограничивает вращательно-поступательные движения троакаром, на котором сосредоточено внимание хирурга.
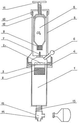
На чертеже изображено «Пневматическое устройство для изгнания под давлением жидкости из шприца» (Пневмалук).
Сущность изобретения: Пневматическое устройство содержит шприц 1, поршень 2, прокладку 3, которую надевают на шприц, шприц заполняют жидкостью, например 0,25% раствором новокаина, и добавляют нетоксичный краситель, например метиленовую синьку, срезают толкатель поршня на уровне проксимального отдела шприца 2а, шприц устанавливают в цилиндр 4 и соединяют герметично на резьбе с держателем баллона 5, который соединяют с манометром 6, и в центре его дна устанавливают иглу с каналом 7, в держатель баллона 5 вставляют баллон 8 со сжатым газом СО2, баллон имеет свинцовую пробку 9, держатель баллона 5 завинчивают крышкой 10, в центре крышки устанавливают винт с резьбой, на его проксимальном конце устанавливают ручку 11, на дистальном конце толкатель 12, штуцер 13 шприца соединяют герметично с гнездом 14 трехходового крана 15, кран гнезда 14 закрывают.
Работа устройства. В шприц 1 набирают 50 мл раствора, например 0,25% новокаина, добавляют в раствор нетоксичный краситель, например метиленовую синьку, отрезают толкатель поршня 2 на уровне проксимального отдела шприца, на шприц 1 надевают прокладку 3, шприц 1 с жидкостью устанавливают в цилиндр 4 и соединяют герметично на резьбе с держателем баллона 5, в котором устанавливают манометр 6 и иглу с каналом 7, в держатель баллона 5 вставляют баллон 8 со сжатым газом СО2 и завинчивают крышкой 10, штуцер шприца 13 соединяют с гнездом 14 трехходового крана 15 и закрывают кран гнезда 14. Вращают ручку 11 и толкателем 12 насаживают баллон 8 на иглу с каналом 7, игла прокалывает свинцовую пробку 9 и газ СО2 под давлением поступает в замкнутую полость и давит на поршень, это давление регистрируют манометром 6. Если открыть кран гнезда 14, окрашенная жидкость под давлением начнет поступать в канал соответствующего подключенного специального инструмента.
Формула изобретения
1. Устройство для изгнания под давлением жидкости из шприца, включающее манометр и шприц с поршнем и штуцером, отличающееся тем, что оно содержит баллон со сжатым газом CO2, имеющий свинцовую пробку, выполненную с возможностью прокола, держатель баллона с манометром и иглой с каналом, установленной в центре его дна, цилиндр, выполненный с возможностью соединения с держателем, и трехходовой кран, выполненный с возможностью соединения со штуцером, при этом шприц, благодаря прокладке выполнен с возможностью герметичной установки в цилиндр, а держатель имеет крышку с установленным в ней винтом, на проксимальном конце которого установлена ручка, а на дистальном – толкатель, выполненный с возможностью насаживания баллона на иглу при вращении ручки.
2. Устройство по п.1, отличающееся тем, что выполнено с возможностью регулировки давления газа путем заряда устройства баллоном с различным давлением газа и различной емкостью.
3. Устройство по п.1, отличающееся тем, что выполнено с возможностью регулировки времени введения жидкости в мягкие ткани путем изменения емкости шприца.
РИСУНКИ
MM4A – Досрочное прекращение действия патента СССР или патента Российской Федерации на изобретение из-за неуплаты в установленный срок пошлины за поддержание патента в силе
Дата прекращения действия патента: 28.07.2008
Извещение опубликовано: 10.07.2010 БИ: 19/2010
|
|