|
|
(21), (22) Заявка: 2005123658/14, 25.07.2005
(24) Дата начала отсчета срока действия патента:
25.07.2005
(46) Опубликовано: 27.04.2007
(56) Список документов, цитированных в отчете о поиске:
WO 03/015468 A1, 05.06.2003. RU 2004117209 A1, 10.03.2005. DE 10159424 A1, 03.07.2003. DE 10143590 A1, 20.03.2003. WO 00/12149 A1, 09.03.2000. ЕР 0391511 A1, 10.10.1990. GASPERONI С et al. External ultrasound used in conjunction with superficial subdermal liposuction: a safe and effective technique. Aes the tic Plast Surg, 2000, Jul.-Aug; 24(4): 253-8.
Адрес для переписки:
644007, г.Омск, ул. 5-я Северная, 102, В.В. Педдер
|
(72) Автор(ы):
Педдер Валерий Викторович (RU), Тенькова Олеся Сергеевна (RU), Иващенко Николай Николаевич (RU), Косенок Виктор Константинович (RU), Рот Геннадий Захарович (RU), Сургутскова Ирина Витальевна (RU), Педдер Александр Валерьевич (RU), Шкуро Юрий Васильевич (RU), Трубкина Анна Владимировна (RU), Юрах Алексей Юрьевич (RU), Першин Андрей Васильевич (RU)
(73) Патентообладатель(и):
Педдер Валерий Викторович (RU)
|
(54) СПОСОБ ЛИПОСАКЦИИ И УСТРОЙСТВО ДЛЯ ЕГО ОСУЩЕСТВЛЕНИЯ
(57) Реферат:
Изобретение относится к медицине, а именно к пластической хирургии. Слой кожи над областью липосакции насыщают озон/NO-содержащим веществом. Затем осуществляют тоннельное или приповерхностное диспергирование и эмульгирование гидропрепарированной жировой ткани. После вакуумной эвакуации диспергата и эмульсии жировой ткани, ушивания разрезов и наложения фиксирующей эластичной повязки, пропитанной, например, озон/NO-содержащим раствором, в суперпозиции относительно области липосакции, осуществляют первоначально отграниченную поверхностную дистанционную пневмоимпульсную обработку области липосакции озон/NO-содержащей газовой смесью, а затем поверхностную контактную низкочастотную ультразвуковую обработку области липосакции. Устройство снабжено генератором озон/NO-содержащей газовой смеси, воздушным компрессором высокого давления, емкостью с озонированным лекарственным раствором пневмогидравлическим узлом. Кроме того устройство содержит пневмогидравлические диспергирующие канюли и ограничитель, акустический узел с развитым излучающим торцом. Изобретение обеспечивает снижение травматичности липосакции. 2 н. и 2 з.п. ф-лы, 13 ил., 1 табл.
Изобретение относится к медицине, а именно к пластической хирургии и связанному с ней направлению эстетической (косметической) хирургии, а также к косметологии, и касается способов и устройств для коррекции формы тела путем липосакции.
Поиск красоты – часть природы человека. Красивые и с физически привлекательной внешностью люди имеют большие возможности своей успешности и самореализации в различных сферах деятельности современного мира. Устранение и маскировка физических дефектов или недостатков пациентов, реализуемые возможностями современной пластической хирургии и, прежде всего, эстетической хирургии, резко повышают уровень самооценки, психоэмоционального состояния и качества их жизни.
Липосакция, направленная на удаление локализованного и избыточного подкожного жира практически из любой части тела, относится к числу косметических операций, позволяющих, в пределах возможного, улучшить формы тела, а следовательно, и внешний вид человека.
Существуют способы поверхностной и массивной тоннельной липосакции с соответствующими устройствами для их осуществления (Y.Illons; P.Fournier; G.Hetter; C.Gasperoni, M.Salgarello и др.) [1], в большинстве своем связанные с “влажной” технологией вакуумной аспирации избыточного подкожного жира как в субдермальном, так и в глубоком слоях жировой ткани. В основном, они заключаются в гидропрепарировании (инфильтрации) жировой ткани в выбранной области липосакции путем введения раствора анестетика с сосудосуживающим веществом (например, раствор хлорида натрия с гиалуронидазой, раствор лидокаина с адреналином и пр.), выполнении одного или двух кожных разрезов длиной 10-15 мм, введении и возвратно-поступательном перемещении канюли (с перфорированной рабочей частью на конце) в области липосакции, эмульгировании жировых клеток с последующей вакуумной аспирацией электроотсасывателем диспергата жировой ткани в приемник жировой ткани, ушивании разрезов и наложении фиксирующей эластичной повязки.
Однако известные способы липосакции трудоемки, не обеспечивают качественного гидропрепарирования тканей в жировом слое, облегчающего протекание процесссов локальной липодистрофии и, соответственно, удаление эмульгированного жира, что, как правило, сопровождается кровоточивостью тканей, требующей восполнения кровопотери. Использование устройств для осуществления известных способов липосакции затрудняет лечение пациентов с мелкобугристым рельефом кожи, обусловленным дистрофическими процессами в поверхностном слое жировой ткани, а также при использовании их в глубоких слоях жировой ткани. Известные способы и устройства для их осуществления не обеспечивают оксигенации послеоперационной области липосакции, улучшающей в ней микроциркуляцию, нормализацию метаболизма адипоцитов и пр., приводящих к минимизации сроков восстановления тканей с улучшением структуры кожи и рельефа прооперированного участка тела при исключении послеоперационных осложнений. Они не могут быть использованы при различных возможных вариантах коррекции формы и рельефа тела с применением липосакции, ограничивая функциональные возможности эстетической хирургии.
Наиболее близким по технической сущности и достигаемому эффекту является способ липосакции, использующий физический фактор, а именно энергию ультразвука, и относящийся к гидродинамическим методам диспергации биотканей, а также устройство для его осуществления [2].
Этот способ реализует “влажную” тоннельную липосакцию, включающую в себя гидропрепарирование жировой ткани в выбранной области липосакции анестетиком с сосудосуживающим веществом, выполнение кожных разрезов, введение и возвратно-поступательное перемещение в области липосакции рабочей части диспергирующей канюли при воздействии на жировую ткань физическим фактором, приводящим к диспергированию и эмульгированию жировых клеток с последующей вакуумной аспирацией диспергата жировой ткани, ушивание разрезов и наложение фиксирующей эластичной повязки.
Однако данный способ ультразвуковой липосакции, реализуемый соответствующим устройством для его осуществления, является травматичным и вызывает кровоточивость тканей, требующую восполнения кровопотери, так как известно [1, 3, 4], что даже при освоенных методах липосакции количество крови в эксфузате составляет в среднем около 25%. В случае ультразвуковой липосакции – это является следствием возникновения термомеханической деструкции, могущей вызвать контактный ожог жировой ткани и термомеханическое повреждение кровеносных сосудов и нервов в области липосакции колеблющимся с ультразвуковой частотой рабочим окончанием волновода-инструмента и образующей волноводного тракта, контактирующей с тканями на всем его протяжении. Указанное вызывает опасность попадания в разрушенное кровеносное русло эмульгированного жира и часто сопровождается болезненным состоянием в период регенерации тканей, сроки которой затягиваются. В то же время, не обеспечиваются качественное гидропрепарирование жирового слоя и достижение выраженных липодистрофии и диспергации жировой ткани из-за ограниченных условий массообмена в зоне контакта “рабочее окончание волновода-инструмента – жировая ткань”, затрудняющих реализацию кавитационного режима диспергирования и эмульгирования жировых клеток и свободное удаление образованного жирового диспергата (эмульсии) из зоны липосакции. Кроме того, малое “живое” сечение полого волновода-инструмента, где в зоне рабочей части максимальная амплитуда ультразвуковых колебаний достигает 100-150 мкм, не может обеспечить длительного времени его использования при выполнении всего активного цикла ультразвуковой липосакции длительностью от десятков минут до нескольких часов. При этом неконтролируемый отлом и потеря рабочей части волновода-инструмента во время липосакции в толще диспергируемой жировой ткани могут вызвать дополнительную травматизацию тканей и сосудистой системы области липосакции и осложнения при дальнейшем осуществлении операции. Использование при липосакции волновода-инструмента и дополнительной канюли, реализующих раздельно диспергирование и эмульгирование жировых клеток с последующей их вакуумной аспирацией, указывает на недостаточную эффективность известного технического решения, ограничивающего возможности эстетических операций с применением ультразвуковой липосакции. При этом известный способ ультразвуковой липосакции и устройство для его осуществления не обеспечивают принудительную оксигенацию области липосакции в интра- и послеоперационный период, улучшающей косметический результат вследствие интенсификации микроциркуляции, нормализации метаболизма адипоцитов и пр., приводящих к минимизации сроков восстановления тканей с улучшением структуры кожи и рельефа прооперированного участка тела при исключении послеоперационных осложнений. Они не могут быть использованы при различных возможных вариантах коррекции формы и рельефа тела, а также для улучшения структуры кожи, ограничивая возможности эстетических операций с применением липосакции.
Проведенный анализ показывает, что при использовании известных способов липосакции и устройств для их осуществления невозможно достичь снижения травматичности липосакции при одновременном расширении ее функциональных возможностей и улучшении косметических результатов.
Задачей изобретения является снижение травматичности липосакции, а также расширение ее функциональных возможностей при улучшении косметических результатов.
В части способа поставленная задача достигается за счет того, что в способе липосакции, заключающемся в гидропрепарировании жировой ткани в выбранной области липосакции анестетиком с сосудосуживающим веществом, выполнении кожных разрезов, введении и возвратно-поступательном перемещении в области липосакции рабочей части диспергирующей канюли при воздействии на жировую ткань физическим фактором, приводящим к диспергированию и эмульгированию жировых клеток с последующей вакуумной аспирацией диспергата жировой ткани, ушивании разрезов и наложении фиксирующей эластичной повязки, первоначально проводят насыщение озон/NO-содержащим веществом поверхностного слоя кожи над областью липосакции путем ее поверхностной контактной низкочастотной ультразвуковой обработки через промежуточную прокладку, пропитанную озон/NO-содержащим раствором, затем тоннельное или поверхностное диспергирование и эмульгирование гидропрепарированной жировой ткани осуществляют импульсными струями озон/NO-содержащей газовой смеси и озон/NO-содержащего газожидкостного потока, последовательно подаваемых пневмогидравлической диспергирующей канюлей в зону липосакции, а после образования диспергата и эмульсии жировой ткани в области липосакции осуществляют их вакуумную аспирацию через эту же пневмогидравлическую диспергирующую канюлю, после вакуумной аспирации диспергата и эмульсии жировой ткани и ушивания разрезов на кожу, над областью липосакции, укладывают прокладку, пропитанную озон/NO-содержащим раствором, после чего вблизи области проведенной озон/NO-гидроимпульсной липосакции, наряду с ручным формированием рельефа тела в области липосакции, первоначально проводят его формирование с применением отграниченной поверхностной пневмоимпульсной обработки импульсными струями озон/NO-содержащей газовой смеси, а затем с применением поверхностной контактной низкочастотной ультразвуковой обработки через промежуточную прокладку, пропитанную озон/NO-содержащим раствором.
В части устройства поставленная задача достигается за счет того, что устройство для липосакции, содержащее инфильтрационный шприц для гидропрепарирования жировой ткани раствором анестетика с сосудосуживающим веществом, ультразвуковой генератор, акустический узел с волноводом-инструментом, патрубок для вакуумной аспирации диспергата жировой ткани, электроотсасыватель, снабжено генератором озон/NO-содержащей газовой смеси, воздушным компрессором высокого давления или баллоном со сжатым газовым компонентом, например воздухом, имеющим регулятор давления и расхода, пневмогидравлическим узлом, включающим в себя рабочую камеру-рессивер, прерыватель воздушного потока и подающий патрубок, связанный с емкостью с озонированным лекарственным раствором, пневмогидравлическими диспергирующими канюлями для осуществления гидроимпульсной тоннельной дезинтеграции и эмульгирования гидропрепарированной жировой ткани и для осуществления гидроимпульсной поверхностной дезинтеграции и эмульгирования гидропрепарированной жировой ткани, рабочие окончания которых имеют соответственно дистальное и тангенциальное сопловое отверстие, а позади него дренажные отверстия с углом наклона в сторону истечения струи озон/NO-содержащей газовой смеси или озон/NO-содержащей газожидкостной струи, при этом к пневмогидравлическому узлу присоединены через резьбовое соединение пневмогидравлическая диспергирующая канюля, а через подающий патрубок – емкость с озонированным лекарственным раствором и регулятором его подачи в пневмогидравлический узел, а пневмогидравлическая диспергирующая канюля через отводящий штуцер присоединена к электроотсасывателю диспергата жировой ткани и снабжена ограничительной втулкой.
Кроме того, устройство для липосакции снабжено отграничителем, состоящим из основания в виде отграничивающего полого опорного элемента, выполненного из упругодеформируемого эластичного материала, сопряженного с конусообразным несущим корпусом, оканчивающегося цилиндрическим патрубком, включающим ступенчатую направляющую втулку с центральным отверстием, позволяющим проведение через него в полость отграничителя рабочего окончания пневмогидравлической диспергирующей канюли.
Кроме того, устройство для липосакции снабжено акустическим узлом с развитым излучающим торцом для поверхностной контактной ультразвуковой обработки кожного покрова над областью липосакции, при этом акустический узел включает кольцевые пьезокерамические элементы и волновод-инструмент в виде стягивающего болта и отражающей накладки, и снабжен сквозным капиллярным отверстием в стягивающем болте, сообщающимся с одной стороны с полостью для лекарственного раствора, а с другой – с излучающим торцом болта, представляющим собой прерывистую концентрическую волнообразную поверхность в виде лабиринта.
Анализ известных литературных и патентных источников показал, что на дату подачи заявки на изобретение не известны способы и устройства для липосакции с указанными выше отличительными признаками.
Сущность изобретения, позволяющая повысить эффективность липосакции путем снижения ее травматичности и расширения функциональных возможностей при улучшении косметических результатов, основана на комплексном использовании импульсных гидродинамических струй с высокой кинетической энергией и экзогенных высокоактивных озон/NO- и озонид/NO-содержащих газовых и газожидкостных компонентов, подводимых к жировой ткани в области липосакции, обеспечиваемых предлагаемой конструкцией устройства для реализации озон/NO-гидроимпульсной липосакции.
При этом в предлагаемом способе липосакции, обеспечивающем одновременную профилактику послеоперационных осложнений воспалительного характера, вызываемых инфекцией, представленной анаэробной и ассоциативной микрофлорой, использованы такие патогенетически обоснованные физические и физико-химические факторы как озон (О3) и его производные, оксид азота (NO), являющиеся азеотропными по отношению к организму, т.е. ведущими себя как чистые и биологически совместимые с организмом вещества, гидроимпульсное воздействие газовыми и газожидкостными струями, а также контактным низкочастотным ультразвуком на жировую ткань, представляющую собой композитную соединительную ткань в виде жировых клеток (липоцитов), объединенных в группы-дольки, отделенных друг от друга и поддерживаемых перегородками из соединительнотканной стромы, через которую в жировую ткань проходят кровеносные сосуды и капилляры, нервы [5].
Каждый из перечисленных воздействующих факторов реализует значимые для успешного решения задачи изобретения свойства и показатели.
1). Озон (О3) является одним из компонентов экзогенного озон/NO-содержащего вещества, получаемого из генерируемого аппаратом для газовой озонотерапии “ОЗОТРОН” (далее – аппарат “ОЗОТРОН”, разработан и производится серийно в НПП “Метромед”, г.Омск) экзогенного озон/NO-содержащего газового компонента.
О3-аллотропная форма кислорода, с одной стороны является донором атомарного (О) и, прежде всего, молекулярного (O2) кислорода, который вместе с аргинином является субстратом для синтеза NO под действием NO-синтазы. При этом синтез NO в тканях напрямую зависит от концентрации О2 (Г.С.Кротовский, 1998). С другой стороны, специфические свойства озона и его производных (С.Риллинг, Р.Вибан, 1985; С.П.Перетягин, 1992; В.В.Педдер и др. 1993-2004; В.А.Максимов, 1998 и др.) позволяют снизить опасность известных осложнений послеоперационного периода после липосакции за счет:
– интенсификации процессов диспергирования липоцитов (при воздействии озона и его производных на липоциты), экстракции жира из них и эмульгирования жира в озонированной дисперсионной среде за счет реакции озона с двойными и тройными связями ненасыщенных жирных кислот (в основном, триглицеридами). Это изменяет их свойства и приводит к распаду липидных цепей. Гидрофобные липиды превращаются в менее стойкие гидрофильные – наступает липодистрофия, облегчающая деструкцию и эмульгирование жировой ткани;
– выраженного местного и общего бактерицидного, фунгицидного и вирулицидного эффектов;
– стимулирования общего детоксикационного, иммунокоррегирующего, оксигенирующего, антигипоксического и анальгетического эффектов;
– активации кислородзависимых процессов в организме, нормализации ПОЛ, кислотно-основного состояния и потенциала антиоксидантной системы, приводящих к увеличению деформируемости эритроцитов и усилению кислородтранспортной функции крови;
– нормализации реологических свойств крови и лимфы, вазодилатации и нормализации микроциркуляторных нарушений в крово- и лимфосистемах, улучшения сосудистой трофики и тканевого обмена;
– положительного влияния на продукцию биологически активных веществ и метаболизм биологических субстратов: углеводов, белков, липидов и пр.
2). Оксид азота (NO) является одним из компонентов экзогенного озон/NO-содержащего вещества, получаемого из генерируемого аппаратом “ОЗОТРОН” озон/NO-содержащего газового компонента. NO-эндотелиальный релаксирующий фактор является эндогенной сигнальной молекулой кардиоваскулярной системы организма (R.Furchgott, J.Zawadzki, 1980; R.Furchgott, L.Ignarro, F.Murad, 1998 и др.). Эта свободнорадикальная молекула обладает высокой химической активностью и нестабильностью (Г.С.Кротовский, 1998). NO – один из основных эндотелиальных факторов дилатации, препятствующий тоническому сокращению сосудов нейронального, эндокринного или локального происхождения. Дополнительное экзогенное введение в область липосакции NO позволит активировать бактерицидные свойства макрофагов, что крайне важно для профилактики послеоперационных осложнений воспалительного генеза после липосакции, стимулировать клетки нервной ткани и мозг, защитить сердце, а также нормализовать кровяное давление.
3). Гидроимпульсное воздействие на жировую ткань реализует гидродинамическую (конвективную) технологию тоннельной или поверхностной (субдермальной) дезинтеграции и эмульгирования липоцитов предварительно гидропрепарированной жировой ткани в области липосакции (глубоком или субдермальном слоях жировой ткани) путем применения регулируемых по давлению, расходу и частоте воздействий на жировую ткань газовых и газожидкостных струй с высокой кинетической энергией. Гидроимпульсное воздействие в струйном режиме на жировую ткань, представляющую собой композитную соединительную ткань с большим разбросом биомеханических характеристик, образующих ее элементов: липоцитов, соединительнотканной стромы (ретикулиновые и коллагеновые волокна), кровеносных сосудов и капилляров, нервов), способствует высокоэффективной дезинтеграции и эмульгированию, прежде всего, липоцитов в дольках как элемента с наименьшими прочностными характеристиками основной ткани и ее минимальными межмолекулярными силами адгезии и сцепления с другими элементами жировой ткани. В отношении других элементов жировой ткани (соединительнотканной стромы, кровеносных сосудов и капилляров, нервов), имеющих более высокие биомеханические характеристики, включая упругоэластические свойства, чем у липоцитов, гидроимпульсное воздействие в струйном режиме оказывается “щадящим” и не вызывает их выраженную травматизацию и разрушение, прежде всего кровеносных сосудов и нервов, а следовательно, и проявление опасных послеоперационных осложнений, присущих известным способам липосакции.
Кроме того, гидроимпульсное воздействие на жировую ткань газовыми и газожидкостными струями с высокой кинетической энергией позволяет удалять жировую ткань не только в глубоком, но и в субдермальном слоях, успешно решая, наряду с проблемами удаления “ловушечного” жира, проблемы лечения пациентов с мелкобугристым рельефом кожи, обусловленным липодистрофическими процессами, происходящими в наиболее поверхностном слое жировой ткани. В последнем случае, поверхностное гидроимпульсное воздействие, осуществляемое путем удаления жира непосредственно из подкожного пространства, стимулирует формирование субдермальных рубцов, способствующих улучшению сократимости кожи, обеспечивающей “подтягивающий” эффект, что является важным при сниженной эластичности кожи и наличии растяжений, бугров, впадин и морщин на поверхности.
На завершающем этапе осуществления липосакции и в послеоперационный период, вблизи области проведенной озон/NO-гидроимпульсной липосакции, возможно осуществлять отграниченную поверхностную пневмоимпульсную обработку (пневмоимпульсный массаж) области липосакции озон/NO-содержащей газовой смесью (при выраженной поверхностной неровности формы и рельефа тела как в области липосакции, так и в ближайших к ней зонах) для первичной коррекции рельефа тела путем перемещения жировой ткани и коррекции, образованных после липосакции морщин за счет сил, реализуемых пневмоимпульсным массажем, а также стимулируемого лимфодренажа.
4). Поверхностная контактная низкочастотная ультразвуковая обработка области липосакции реализует контактное озвучивание поверхности кожи над областью липосакции низкочастотным ультразвуком как непосредственно, так и через пропитанную озон/NO-содержащими веществами промежуточную капиллярно-пористую прокладку с обеспечением при этом:
– на подготовительном этапе осуществления липосакции интенсифицирование диффузионного взаимодействия липоцитов гидропрепарированной жировой ткани с озонированной дисперсионой средой (например, озон/NO-содержащим инфузионным раствором Кляйна), позволяющего создание лучших условий для дезинтеграции и эмульгирования липоцитов при последующем гидроимпульсном воздействии на них газовыми и газожидкостными струями;
– насыщения поверхностного слоя кожи над областью липосакции озон/NO-содержащими веществами, обеспечивающими оксигенацию тканей, улучшение структуры кожи и повышение ее эластичности, в том числе при мелкобугристом ее рельефе, обусловленном дистрофическими процессами в поверхностном слое жировой ткани;
– на завершающем этапе осуществления липосакции и в послеоперационный период лучшей коррекции (“липоскульптура”, “липоваяние”) поверхностной неровности формы и рельефа тела как в области липосакции, так и в ближайших к ней зонах для формирования оптимального законченного рельефа тела за счет стимулируемого контактным ультразвуком направленного пространственного перемещения и равномерного перераспределения и коалесценции интактных объемов жировой ткани, а также коррекции состояния, образованных после липосакции морщин за счет стимулируемых озон/NO-содержащими веществами и виброультразвуковым массажем контактного ультразвука: импрегнации озон/NO-содержащих веществ в кожу, оксигенации и сокращения кожи с улучшением ее структуры, коалесценции жировой ткани, а также интенсификации крово- и лимфообращения, лимфодренажа в области липосакции и пр.
Осуществление в области липосакции поверхностной пневмоимпульсной обработки (пневмоимпульсный массаж) и поверхностей контактной ультразвуковой обработки (виброультразвуковой массаж) в сочетании с озон/NO-содержащими веществами способствует внутриклеточной и межклеточной активности с активированием комплекса биохимических реакционных цепочек при распаде жиров [6].
Сущность изобретения поясняется чертежами, где изображены:
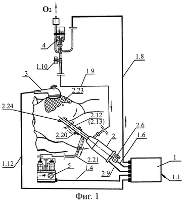
на Фиг.1 – общая схема осуществления липосакции с применением устройства для ее реализации;
на Фиг.2 – схематичное изображение основных функциональных элементов устройства для осуществления липосакции;
на Фиг.3 – сечение рабочего окончания пневмогидравлической диспергирующей канюли с дистально расположенным сопловым отверстием для осуществления гидроимпульсной тоннельной дезинтеграции и эмульгирования липоцитов предварительно гидропрепарированной жировой ткани (зона I на Фиг.2);
на Фиг.4 – сечение рабочего окончания пневмогидравлической диспергирующей канюли с тангенциально расположенным сопловым отверстием для осуществления гидроимпульсной поверхностной (субдермальной) дезинтеграции и эмульгирования липоцитов предварительно гидропрепарированной жировой ткани (зона I на Фиг.2);
на Фиг.5 – сечение пневмогидравлического узла с пневмогидравлической диспергирующей канюлей (сечение А-А на Фиг.2);
на Фиг.6 – акустический узел с развитым излучающим торцом для осуществления поверхностной контактной низкочастотной ультразвуковой обработки области липосакции (вид Б на Фиг.2);
на Фиг.7 – сечение акустического узла с развитым излучающим торцом (сечение В-В на Фиг.6);
на Фиг.8 – схематичное изображение начального этапа реализации технологии тоннельной липосакции (дезинтеграция и эмульгирование липоцитов в глубоком слое гидропрепарированной жировой ткани области липосакции);
на Фиг.9 – схематичное изображение конечного этапа реализации технологии тоннельной липосакции;
на Фиг.10 – схематичное изображение начального этапа реализации технологии поверхностной липосакции (дезинтеграция и эмульгирование липоцитов в субдермальном поверхностном слое гидропрепарированной жировой ткани области липосакции);
на Фиг.11 – схематичное изображение конечного этапа реализации технологии поверхностной липосакции;
На Фиг.12 – схематичное изображение реализации поверхностной пневмоимпульсной обработки (пневмоимпульсный массаж) области липосакции импульсными газожидкостными струями, состоящими из газожидкостной смеси озон/NO-содержащего и озонид/NO-содержащего 5-10% водного раствора масляной эмульсии типа “масло в воде”;
на Фиг.13 – схематичное изображение реализации поверхностной контактной низкочастотной ультразвуковой обработки (виброультразвуковой массаж) области липосакции через промежуточный раствор смеси озон/NO-содержащего и озонид/NO-содержащего 5-10% водного раствора масляной эмульсии типа “масло в воде”.
При осуществлении способа липосакции используют озон/NO-содержащие или озонид/NO-содержащие газовые и газожидкостные компоненты в виде:
– импульсных струй, состоящих из озон/NO-содержащей газовой смеси (озон/NO-воздушная газовая смесь при концентрации озона не менее 3-5 мг/л), получаемой с помощью аппарата “ОЗОТРОН” (используют при реализации этапов тоннельной или поверхностной (субдермальной липосакции), а также этапа поверхностной пневмоимпульсной обработки (пневмоимпульсный массаж) области липосакции);
– импульсных газожидкостных струй, состоящих из озон/NO-содержащей газожидкостной смеси при концентрации озона не менее 1-1,5 мг/л, получаемой путем барботирования физиологического раствора озон/NO-содержащей газовой смесью при концентрации озона не менее 3-5 мг/л, получаемой с помощью аппарата “ОЗОТРОН” (используют при реализации этапов тоннельной или поверхностной (субдермальной) липосакции);
– импульсных газожидкостных струй, состоящих из газожидкостной смеси озон/NO-содержащего и озонид/NO-содержащего 5-10% водного раствора масляной эмульсии типа “масло в воде” (смесь рафинированного растительного масла с физиологическим раствором) с пероксидным числом не менее 100 ммоль Оактив. на 1 кг масла, получаемого путем барботирования указанной жидкой смеси озон/NO-содержащей газовой смесью при концентрации озона не менее 3-5 мг/л, получаемой с помощью аппарата “ОЗОТРОН” (используют при реализации этапов тоннельной или поверхностной (субдермальной) липосакции;
– раствор озон/NO-содержащего вещества в виде смеси озон/NO-содержащего и озонид/NO-содержащего 5-10% водного раствора масляной эмульсии типа “масло в воде” (смесь рафинированного растительного масла с физиологическим раствором) с пероксидным числом не менее 100 ммоль Оактив. на 1 кг масла, получаемого путем барботирования указанной жидкой смеси озон/NO-содержащей газовой смесью при концентрации озона не менее 3-5 мг/л, получаемой с помощью аппарата “ОЗОТРОН” (используют на этапе реализации поверхностной контактной низкочастотной ультразвуковой обработки (виброультразвуковой массаж) области липосакции).
Устройство для липосакции, представляющее собой аппаратный комплекс “ГИДРОТОН” содержит следующие основные блоки и элементы (Фиг.1-Фиг.13): приборный блок 1, пневмогидравлический узел 2, акустический узел с развитым излучающим торцом (АКУ) 3, емкость с озон/NO-содержащим раствором или смеси с озон/NO-содержащего и озонид/NO-содержащего лекарственного раствор 4, электроотсасыватель 5, отграничитель 6 с дезактиватором избыточного озона 6.1.
Приборный блок 1 (Фиг.1 и Фиг.2) содержит несущий корпус 1.1 с размещенными в нем источником питания (ИП) 1.2, блоком управления (БУ) 1.3, соединенным посредством кабеля 1.4 с электроотсасывателем 5, пневмокомпрессором (ПК) 1.5 (воздушный компрессор высокого давления, Р – от 0 до 50 кгс/см2 или баллон со сжатым газовым компонентом, Р – 150 кгс/см2, например воздухом). Пневмокомпрессор (ПК) 1.5 имеет регулятор давления и расхода (на схеме не показан) и соединен посредством пневмопровода 1.6 с пневмогидравлическим узлом (ПГУ) 2, генератором озон/NO-содержащей газовой смеси 1.7 (например, аппарат “ОЗОТРОН”), соединенным посредством пневмопровода 1.8 с емкостью 4, заполненной озон/NO- или озонид/NO-содержащим лекарственным раствором, которая, в свою очередь, соединена с пневмогидравлическим узлом (ПГУ) 2 посредством гидропровода 1.9 с регулятором расхода лекарственного раствора 1.10, ультразвуковым генератором (УЗГ) 1.11, соединенным посредством кабеля 1.12 с акустическим узлом (АКУ) 3 с развитым излучающим торцом 3.1, представляющим собой прерывистую концентрическую волнообразную поверхность в виде лабиринта. Указанная геометрия развитого излучающего торца 3.1 позволяет обеспечить равномерное растекание и распределение, подаваемого под действием ультразвука через сквозное капиллярное отверстие 3.2, промежуточного раствора озон/NO-содержащего вещества, вводимого в поверхностный слой кожи над областью липосакции при контактном ее озвучивании. Это способствует интенсификации импрегнации раствора вглубь кожи, а также исключению перегрева и термической деструкции поверхности кожи, контактирующей с излучателем. Акустический узел (АКУ) 3 включает в себя несущий корпус 3.3, кольцевые пьезокерамические элементы 3.4, отражающую накладку 3.5, волновод-инструмент 3.6 в виде стягивающего болта, снабженного сквозным капиллярным отверстием 3.2, сообщающимся с одной стороны с полостью емкости 3.7 для лекарственного раствора, а с другой – с развитым излучающим торцом 3.1.
Пневмогидравлический узел (ПГУ) 2 (Фиг.2-Фиг.5) содержит несущий корпус 2.1 с крышкой 2.2, камеру-рессивер 2.3 в виде сильфона, жестко связанную через опорный фланец 2.4 с несущим корпусом 2.1. При этом на одном из штуцеров 2.5 камеры-рессивера 2.3 установлен регулятор расхода воздушного потока 2.6, подаваемого от пневмокомпрессора (ПК) 1.5 посредством пневмопровода 1.6, а на другом штуцере 2.7 закреплен электроклапан (ЭК) 2.8 (открывает или прерывает подачу воздушного потока от пневмокомпрессора (ПК) 1.5), соединенный посредством кабеля 2.9 и управляющего ключа (К-ЭК) 2.10 с блоком управления (БУ) 1.3. На выходном конце электроклапана (ЭК) 2.8 через резьбовое соединение присоединен двухконусный инжектор 2.11, который связан с пневмогидравлической диспергирующей канюлей 2.12 (для осуществления гидроимпульсной тоннельной дезинтеграции и эмульгирования гидропрепарированной жировой ткани) или 2.13 (для осуществления гидроимпульсной поверхностной (субдермальной) дезинтеграции и эмульгирования гидропрепарированной жировой ткани) посредством их фланцев 2.14, закрепляемых в несущем корпусе 2.1. При этом двухконусный инжектор 2.11 снабжен всасывающим штуцером 2.15, который посредством гидропровода 1.9 присоединен к емкости 4, заполненной озон/NO- или озонид/NO-содержащим лекарственным раствором. Кроме того, пневмогидравлические диспергирующие канюли 2.12 и 2.13, с одной стороны, снабжены конусообразным и скругленным на конце рабочим окончанием (для снижения опасности травмирования сосудов и нервов при липосакции), которое имеет сопловое отверстие 2.16 (дистальное) и 2.17 (тангенциальное) соответственно, а позади соплового отверстия – дренажные отверстия 2.18 с углом наклона, обращенным в сторону истечения струи озон/NO-содержащей газовой смеси или озон/NO-содержащей газожидкостной струи, а с другой стороны – отводящим штуцером 2.19, посредством гидропровода 2.20, соединенным с электроотсасывателем (ЭО) 5, обеспечивающим вакуумную аспирацию из области липосакции диспергата жировой ткани. Кроме того, для исключения неконтролируемого перемещения пненмогидравлической диспергирующей канюли 2.12 или 2.13 вглубь области липосакции в процессе дезинтеграции и эмульгирования жировой ткани на ней установлена ограничительная втулка 2.21.
Предлагаемый способ липосакции осуществляют с применением предложенного устройства, поэтапно, следующим образом (Фиг.1 и Фиг.8-Фиг.13). Перед проведением предлагаемого способа липосакции проводят подготовительный цикл, заключающийся в осуществлении предварительного этапа общепринятых диагностических и лечебных мероприятий, направленных на подготовку пациента к проведению основного этапа липосакции – улучшению формы тела путем удаления локализованного жира. Также, перед проведением липосакции, готовят озон/NO-содержащий раствор на основе физиологического раствора, заполняющего емкость 4, путем барботирования через него озон/NO-содержащей газовой смеси, генерируемой аппаратом “ОЗОТРОН” 1.7, а также смеси озон/NO-содержащего раствора и озонид/NO-содержащего 5-10% водного раствора масляной эмульсии типа “масло в воде” (смесь рафинированного растительного масла с физиологическим раствором, заполняющим емкость 4), путем барботирования указанной смеси озон/NO-содержащей газовой смесью, генерируемой аппаратом “ОЗОТРОН” 1.7.
После подготовительных процедур пациента погружают в легкий сон введением снотворного. Используют анестезию – местную, спинно-мозговую или общую, в зависимости от размера, объема и расположения удаляемого липосакцией участка жировой ткани. Операционное поле стерилизуют и закрывают салфетками, кроме ранее намеченного участка области липосакции. Затем осуществляют общепринятое гидропрепарирование жировой ткани в выбранной области липосакции путем введения раствора анестетика с сосудосуживающим веществом (например, инфузионный раствор Кляйна или озон/NO-содержащим инфузионным раствором Кляйна).
В целях насыщения, на подготовительном этапе, поверхностного слоя кожи над областью липосакции озон/NO-содержащим веществом и создания лучших условий дезинтеграции и эмульгирования липоцитов при последующем гидроимпульсном воздействии на них газовыми и газожидкостными струями путем интенсифицирования диффузионного взаимодействия липоцитов гидроперпарированной жировой ткани с ранее введенной в область липосакции дисперсионной средой осуществляют поверхностную контактную низкочастотную ультразвуковую обработку (виброультразвуковой массаж) области липосакции.
Включают приборный блок 1 аппаратного комплекса “ГИДРОТОН”. Через источник питания (ИП) 1.2 и блок управления (БУ) 1.3, одновременно включают (с поддержанием режима “ожидания”): пневмокомпрессор (ПК) 1.5, управляющий ключ (К-ЭК) 2.10 электроклапана (ЭК) 2.8, расположенного в пневмогидравлическом узле (ПГУ) 2, электроотсасыватель 5, аппарат “ОЗОТРОН” 1.7 и ультразвуковой генератор (УЗГ) 1.11, соединенный с акустическим узлом (АКУ) 3.
После этого заправляют емкость 3.7 акустического узла (АКУ) 3 раствором озон/NO-содержащего вещества и озонид/NO-содержащего 5-10% водного раствора масляной эмульсии типа “масло в воде”. На поверхность кожи, в области намеченной липосакции, укладывают промежуточную капиллярно-пористую (2-4 слойная марлевая салфетка) прокладку (далее – прокладка) 2.22, предварительно пропитанную вышеприведенным раствором озон/NO-содержащего вещества. Акустический узел (АКУ) 3 прикладывают излучающим торцом 3.1 к прокладке 2.22. Включают ультразвуковой генератор (УЗГ) 1.11, соединенный с акустическим узлом (АКУ) 3, и осуществляют контактное озвучивание всей поверхности кожи над областью липосакции низкочастотным ультразвуком путем кругового или линейного перемещения акустического узла (АКУ) 3 по поверхности прокладки 2.22. При этом через сквозное капиллярное отверстие 3.2, сообщающееся с емкостью 3.7 и излучающим торцом 3.1, прокладка 2.22 и далее – поверхность кожи над областью липосакции, дополнительно, в процессе озвучивания, насыщаются раствором озон/NO-содержащего вещества. По окончании этапа поверхностной контактной ультразвуковой обработки (виброультразвуковой массаж) области липосакции ультразвуковой генератор (УЗГ) 1.11 выключают, а акустический узел (АКУ) 3 и отработанную прокладку 2.22 убирают. После этого выполняют намеченные ранее кожные разрезы, через которые в дальнейшем удаляют избыточный жир. Далее включают в работу пневмокомпрессор (ПК) 1.5, управляющий ключ (К-ЭК) 2.10 электроклапана (ЭК) 2.8, расположенного в пневмогидравлическом узле (ПГУ) 2, электроотсасыватель 5 и аппарат “ОЗОТРОН” 1.7. Регулятором расхода 2.6 пневмогидравлического узла (ПГУ) 2 устанавливают необходимый уровень расхода потока сжатого газового компонента (воздух или озон/NO-содержащая газовая смесь), подаваемого в камеру-рессивер 2.3, сопряженную с электроклапаном (ЭК) 2.8, сообщающимся посредством пневмопровода 1.6 с пневмокомпрессором (ПК) 1.5.
Через один из небольших кожных разрезов в зону начального участка 2.23, удаляемого липосакцией объема жировой ткани 2.24, вводят пневмогидравлическую диспергирующую канюлю 2.12 или 2.13, присоединенную с одной стороны к электроотсасывателю 5, а с другой стороны к пневмогидравлическому узлу (ПГУ) 2, вид которой выбирают в зависимости от объема и расположения намеченной области липосакции, а также типа спланированной липосакции – тоннельной (Фиг.8, Фиг.9) или поверхностной (субдермальной) (Фиг.10, Фиг.11). Пневмокомпрессор (ПК) 1.5 обеспечивает необходимую подачу исходного сжатого газового компонента через пневмопровод 1.6, регулятор расхода 2.6 пневмогидравлического узла (ПГУ) 2 в камеру-рессивер 2.3, редуцирующую (с увеличением) энергию подаваемого газового компонента. При этом управляющий ключ (К-ЭК) 2.10 обеспечивает последовательное периодическое закрытие и открытие электроклапана (ЭК) 2.8, осуществляющего соответственно последовательные прерывание пропуска или пропуск в двухконусный инжектор 2.11 и далее в пневмогидравлическую диспергирующую канюлю 2.12 или 2.13 потока сжатого газового компонента, приобретающего при этом импульсный характер. Импульсный поток сжатого газового компонента, проходя далее, через сопловое отверстие 2.16 или 2.17 трансформируется и, усиливаясь, приобретает свойства импульсной газовой струи с высокой кинетической энергией (возможно применение других типов устройств, формирующих импульсный характер потока сжатого газового компонента). Аппаратный комплекс “ГИДРОТОН” также позволяет смешение потока сжатого газового компонента с озон/NO-содержащей газовой смесью, подаваемой в двухконусный инжектор 2.11, через всасывающий штуцер 2.15, непосредственно от аппарата “ОЗОТРОН” 1.7.
Для усиления эффекта дезинтеграции объема жировой ткани 2.24 через всасывающий штуцер 2.15 от гидропровода 1.9 из емкости 4, через регулятор расхода 1.10, в двухконусный инжектор 2.11 подают озон/NO-содержащий раствор (на основе физиологического раствора) или смесь озон/NO-содержащего раствора и озонид/NO-содержащего 5-10% водного раствора масляной эмульсии типа “масло в воде”, который, смешиваясь с протекающим по инжектору 2.11 импульсным потоком сжатого газового компонента, образует, при истечении из соплового отверстия 2.16 или 2.17, озон/NO-содержащую или озон/NO- и озонид/NO-содержащую гидроимпульсную струю в газожидкостной фазе, обладающую еще более высокой кинетической энергией.
Далее (Фиг.8, Фиг.9 и Фиг.10, Фиг.11), осуществляя ограничиваемые установленной ограничительной втулкой 2.21 возвратно-поступательные и угловые перемещения пневмогидравлической диспергирующей канюлей 2.12 или 2.13 относительно начального участка 2.23 их ввода, производят последовательно или по отдельности в намеченной области липосакции тоннельную или поверхностную озон/NO-гидроимпульсную дезинтеграцию и эмульгирование липоцитов соответственно в объеме глубокого слоя или в объеме субдермального поверхностного слоя гидропрепарированной жировой ткани. При этом в перерывах между гидроимпульсным воздействием на гидропрепарированную жировую ткань импульсными газожидкостными струями (озон/NO-содержащими или смесь озон/NO-содержащих и озонид/NO-содержащих струй) осуществляют последовательную вакуумную аспирацию диспергата жировой ткани в приемник электроотсасывателя 5, осуществляемой через дренажные отверстия 2.18, а также сопловые отверстия 2.16 и 2.17 пневмогидравлических диспергирующих канюль 2.12 и 2.13.
По окончании процесса озон/NO-гидроимпульсной дезинтеграции и эмульгирования липоцитов в намеченной области липосакции и вакуумной аспирации из нее диспергата и эмульсии жировой ткани, посредством блока управления (БУ) 1.3 отключают электроотсасыватель 5, аппарат “ОЗОТРОН” 1.7, пневмокомпрессор (ПК) 1.5, управляющий ключ (К-ЭК) 2.10 электроклапана (ЭК) 2.8 и соответственно пневмогидравлический узел (ПГУ) 2 аппаратного комплекса “ГИДРОТОН”. Производят ушивание разрезов и наложение на кожу, над областью липосакции, прокладки 2.22, пропитанной одним из приведенных выше озон/NO-содержащих растворов. После этого вблизи области проведенной липосакции, наряду с ручным формированием рельефа тела, производят его формирование с применением отграниченной поверхностной пневмоимпульсной обработки (пневмоимпульсный массаж) области липосакции импульсными струями озон/NO-содержащей газовой смеси (Фиг.12). Для этого первоначально на прокладку 2.22 устанавливают отграничитель 6, через центральное отверстие которого проводят рабочее окончание пневмогидравлической диспергирующей канюли 2.12. Затем включают аппаратный комплекс “ГИДРОТОН” и посредством пневмогидравлического узла (ПГУ) 2 и пневмогидравлической диспергирующей канюли 2.12, генерирующих импульсный характер сжатого газового компонента в виде озон/NO-содержащей газовой смеси с высокой кинетической энергией, воздействуют на прокладку 2.22, а через нее на всю поверхность кожи, последовательно перемещая отграничитель 6 над всей областью липосакции и прилежащими к ней участками поверхности кожи, имеющими выраженную поверхностную неровность. При этом обеспечивается первичная коррекция, измененного липосакцией (после удаления необходимого объема жира) рельефа тела путем перемещения интактной жировой ткани и уменьшения объема несплошностей в области липосакции и морщин на кожной поверхности, образованных после липосакции, за счет сил, реализуемых пневмоимпульсным массажем, а также стимулируемого лимфодренажа. Далее отграниченную поверхностную пневмоимпульсную обработку прекращают отключением пневмогидравлического узла (ПГУ) 2 и пневмогидравлической диспергирующей канюли 2.12, а также отведением их и отграничителя 6 от области липосакции.
После этого (Фиг.6, Фиг.7 и Фиг.13) осуществляют конечный этап, заключающийся в проведении поверхностной контактной низкочастотной ультразвуковой обработки (виброультразвуковой массаж) поверхности кожи над областью липосакции. Благодаря своим свойствам улучшать микроциркуляцию, увеличивать способность эритроцитов переносить кислород тканям, а также фибролитическому свойству, озон/NO-содержащее вещество способствует в послеоперационный период, рассасыванию части соединительнотканных структур, окружающих адипоциты, что приводит к нормализации метаболизма оставшихся жировых клеток в области липосакции. На поверхность кожи над областью липосакции укладывают прокладку 2.22, предварительно пропитанную раствором в виде смеси озон/NO-содержащего и озонид/NO-содержащего 5-10% водного раствора масляной эмульсии типа “масло в воде” и устанавливают акустический узел (АКУ) 3 с присоединенной к нему емкостью 3.7 с вышеуказанным раствором. Включают ультразвуковой генератор (УЗГ) 1.11, соединенный с акустическим узлом (АКУ) 3, и осуществляют контактное озвучивание всей поверхности кожи над областью липосакции низкочастотным ультразвуком путем кругового или линейного перемещения акустического узла (АКУ) 3 по поверхности прокладки 2.22. По окончании поверхностной контактной ультразвуковой обработки (виброультразвуковой массаж) поверхности кожи в области липосакции, обеспечивающей дополнительный поверхностный массаж кожи и массообмен в области липосакции, приводящие к сокращению в ней объема полости в интактной жировой ткани, ее коалисценции с приданием области липосакции новой формы и пр., ультразвуковой генератор (УЗГ) 1.11 выключают, а акустический узел (АКУ) 3 и отработанную прокладку 2.22 убирают.
После окончания многоэтапного технологического цикла озон/NO-гидроимпульсной липосакции аппаратный комплекс “ГИДРОТОН” отключают. Ранее ушитые разрезы покрывают хирургическим пластырем, а на область липосакции накладывают тугую эластичную повязку или пояс. Дальнейшее ведение пациента осуществляют по общепринятой методике.
Оценка применимости и эффективности предлагаемого технического решения “Способ липосакции и устройство для его осуществления” в сравнении с прототипом, реализуемым ультразвуковым аппаратом “Sonoca-Lipo” производства фирмы “Soring Medizintechnik GmbH”, проведена на базе отделения пластической хирургии Клинического центра “ООО Клиника Иващенко” (г.Омск) с использованием идентичных биоптатов тканей свиней (наиболее близких по строению к тканям человека) в виде участков кожи с подкожной жировой клетчаткой, взятых из области брюшной полости, не более чем через 2 часа после забоя.
Одна группа биоптатов (5 образцов) размером 100×100 мм и толщиной жирового слоя не менее 15 мм забиралась для сравнительного исследования эффективности поверхностной липосакции прототипа и озон/NO-гидроимпульсной дезинтеграции и эмульгирования липоцитов в объеме субдермального поверхностного слоя предварительно гидропрепарированной жировой ткани (обьем диспергируемого и аспирируемого жира, в среднем, 1000 см3). Другая группа биоптатов (5 образцов) размером 100×100 мм и толщиной жирового слоя не менее 40 мм забиралась для сравнительного исследования эффективности тоннельной липосакции прототипа и озон/NO-гидроимпульсной дезинтеграции и эмульгирования липоцитов в объеме глубокого слоя предварительно гидропрепарированной жировой ткани (объем диспергируемого и аспирируемого жира, в среднем, 3000 см3).
Биоптаты помещали в односторонне открытые и прозрачные полимерные футляры с пазами для осуществления поверхностной контактной низкочастотной ультразвуковой обработки, а также отграниченной поверхностной пневмоимпульсной обработки биоптата со стороны кожи и фиксировали в них биоптаты. На одну часть подготовленных к сравнительному анализу биоптаатов воздействовали технологическими приемами, реализующими процесс ультразвуковой липосакции с применением ультразвукового аппарата “Sonoca-Lipo” (прототип). На другую часть подготовленных к сравнительному анализу биоптатов воздействовали технологическими приемами, реализующими процесс озон/NO-гидроимпульсной липосакции с применением аппаратного комплекса “ГИДРОТОН”, согласно приведенным в описании изобретения этапов гидроимпульсного воздействия на жировую ткань в области липосакции, последовательно осуществляя:
– предварительное гидропрепарирование жировой ткани в глубоком или субдермальном слоях жировой ткани биоптата путем применения озон/NO-содержащего инфузионного раствора Кляйна;
– поверхностную контактную низкочастотную ультразвуковую обработку (виброультразвуковой массаж) кожи биоптата над областью липосакции через прокладку, пропитанную озон/NO-содержащим веществом;
– гидродинамическую (конвективную) технологию тоннельной или поверхностной (субдермальной) дезинтеграции и эмульгирования липоцитов гидропрепарированной жировой ткани в области липосакции (глубоком или субдермальном слоях жировой ткани) с применением соответствующих пневмогидравлических диспергирующих канюль, обеспечивающих гидроимпульсное воздействие на жировую ткань газовыми (озон/NO-содержащая газовая смесь) и газожидкостными струями (озон/NO-содержащий или озонид/NO-содержащий водные растворы) с высокой кинетической энергией, а также вакуумную аспирацию образованного диспергата и эмульсии жира;
– отграниченную поверхностную пневмоимпульсную обработку кожи (пневмоимпульсный массаж) над областью моделируемой липосакции озон/NO-содержащей газовой смесью (для корректировки образованной, на предыдущем этапе, поверхностной неровности рельефа кожи биоптата после проведения удаления “избыточной” жировой ткани) с применением промежуточной прокладки, отграничителя и пневмогидравлической диспергирующей канюли;
– поверхностную контактную низкочастотную ультразвуковую обработку кожи (виброультразвуковой массаж) над областью моделируемой липосакции через промежуточную прокладку, пропитанную озон/NO-содержащим или озонид/NO-содержащим водными растворами с применением акустического узла.
Результаты сравнительного анализа эффективности технических решений – предлагаемого и прототипа приведены в Таблице 1.
| Таблица 1. |
| № п/п |
Показатели эффективности и их значение в баллах: 1 балл – минимальное, 2 балла – значимое, 3 балла – максимальное |
Методы липосакции |
| Способ озон/NO-гидроимпульсной липосакции и устройство для его осуществления |
Прототип (способ ультразвуковой липосакции и устройство для его осуществления) |
| 1 |
Снижение травматичности: |
|
|
| |
– механодеструкция сосудов и нервов |
отсутствует (3) |
имеет место (1) |
| |
– термодеструкция сосудов и нервов |
отсутствует (3) |
имеет место (2) |
| |
– кровопотеря |
наличие в диспергате следов форменных элементов крови (3) |
наличие в диспергате крови (1) |
| 2. |
Качество разрушения жировой ткани: |
|
|
| – степень дезинтеграции жировой ткани |
высокая (3) |
недостаточная (2) |
| – степень эмульгирования липоцитов |
70-80% эмульсия (3) |
40-50% эмульсия (2) |
| 3. |
Увеличение функциональных эзможностей: |
|
|
| – пневмоимпульсный массаж |
имеет место (3) |
отсутствует (1) |
| – виброультразвуковой массаж |
имеет место (3) |
отсутствует (1) |
| 4. |
Улучшение косметических результатов: |
|
|
| – степень неоднородности рельефа кожного покрова над- и вблизи области липосакции |
малая (2) |
значительная (1) |
| – подтягивающий” эффект |
имеет место (3) |
отсутствует (1) |
Заявляемое изобретение, реализующее способ липосакции, и устройство для его осуществления в сравнении с прототипом позволяет:
– существенно снизить травматичность процесса липосакции в отношении сосудистой системы и нервной ткани, а следовательно, уменьшить опасность послеоперационных осложнений, при одновременном повышении эффективности диспергирования и эмульгирования жировой ткани;
– расширить функциональные возможности липосакции за счет осуществления пневмоимпульсного и виброультразвукового массажа в едином технологическом процессе выполнения липосакции;
– улучшить косметические результаты путем обеспечения “подтягивающего” эффекта, а также снизить степень неоднородности рельефа кожного покрова в области липосакции за счет инициирования пневмо- и гидроимпульсным воздействием озон/NO-содержащей газовой смесью и растворами озон/NO-содержащих веществ объемного перемещения тканей, сокращения объема образованной полости, а также массажа тканевых структур в области липосакции.
Заявляемый способ липосакции и устройство для его осуществления могут быть использованы в пластической хирургии и связанном с ней направлении эстетической (косметической) хирургии, а также в косметологии.
Источники, принятые во внимание
1. Белоусов А.Е. и др. Пластическая, реконструктивная и эстетическая хирургия. – СПб. Гиппократ, 1998. – С.712-724.
2. Хеден П. Энциклопедия пластической хирургии. – М.: изд. “АСТАСТРЕЛЬ”. – 2001. – С.226-234.
3. Проспект ультразвукового диссектора “Sonoca-Lipo” производства германской фирмы “Soring Medizintechnik GmbH”, 2001. – 6 с.
5. Хэм А., Кормак Д. Гистология. – М.: Мир, 1983. – Т.2. – 254 с.
6. Проспект “Концепция электротерапии фирмы “Nemectron GmBH”, 2004.
Формула изобретения
1. Способ липосакции, заключающийся в гидропрепарировании жировой ткани в выбранной области липосакции анестетиком с сосудосуживающим веществом, выполнении кожных разрезов, введении и возвратно-поступательном перемещении в области липосакции рабочей части диспергирующей канюли при воздействии на жировую ткань физическим фактором, приводящим к диспергированию и эмульгированию жировых клеток с последующей вакуумной аспирацией диспергата жировой ткани, ушивании разрезов и наложении фиксирующей эластичной повязки, отличающийся тем, что первоначально проводят насыщение озон/NO-содержащим веществом поверхностного слоя кожи над областью липосакции путем ее поверхностной контактной низкочастотной ультразвуковой обработки через промежуточную прокладку, пропитанную озон/NO-содержащим раствором, затем тоннельное или поверхностное диспергирование и эмульгирование гидропрепарированной жировой ткани осуществляют импульсными струями озон/NO-содержащей газовой смеси и озон/NO-содержащего газожидкостного потока, последовательно подаваемых пневмогидравлической диспергирующей канюлей в зону липосакции, а после образования диспергата и эмульсии жировой ткани в области липосакции, осуществляют их вакуумную аспирацию через эту же пневмогидравлическую диспергирующую канюлю, после вакуумной аспирации диспергата и эмульсии жировой ткани и ушивании разрезов, на кожу, над областью липосакции, укладывают прокладку, пропитанную озон/NO-содержащим раствором, после чего вблизи области проведенной озон/NO-гидроимпульсной липосакции, наряду с ручным формированием рельефа тела в области липосакции, первоначально проводят его формирование с применением отграниченной поверхностной пневмоимпульсной обработки импульсными струями озон/NO-содержащей газовой смеси, а затем с применением поверхностной контактной низкочастотной ультразвуковой обработки через промежуточную прокладку, пропитанную озон/NO-содержащим раствором.
2. Устройство для липосакции, содержащее инфильтрационный шприц для гидропрепарирования жировой ткани раствором анестетика с сосудосуживающим веществом, ультразвуковой генератор, акустический узел с волноводом-инструментом, патрубок для вакуумной аспирации диспергата жировой ткани, электроотсасыватель, отличающееся тем, что оно снабжено генератором озон/NO-содержащей газовой смеси, воздушным компрессором высокого давления или баллоном с сжатым газовым компонентом, например, воздухом, имеющим регулятор давления и расхода, пневмогидравлическим узлом, включающим в себя рабочую камеру-рессивер, прерыватель воздушного потока и подающий патрубок, связанный с емкостью с озонированным лекарственным раствором, пневмогидравлическими диспергирующими канюлями для осуществления гидроимпульсной тоннельной дезинтеграции и эмульгирования гидропрепарированной жировой ткани и для осуществления гидроимпульсной поверхностной дезинтеграции и эмульгирования гидропрепарированной жировой ткани, рабочие окончания которых имеют соответственно дистальное и тангенциальное сопловое отверстие, а позади него дренажные отверстия с углом наклона в сторону истечения струи озон/NO-содержащей газовой смеси или озон/NO-содержащей газожидкостной струи, при этом к пневмогидравлическому узду присоединены: через резьбовое соединение – пневмогидравлическая диспергирующая канюля, а через подающий патрубок – емкость с озонированным лекарственным раствором и регулятором его подачи в пневмогидравлический узел, а пневмогидравлическая диспергирующая канюля через отводящий штуцер присоединена к электроотсасывателю диспергата жировой ткани и снабжена ограничительной втулкой.
3. Устройство по п.2, отличающееся тем, что оно снабжено отграничителем, состоящим из основания в виде отграничивающего полого опорного элемента, выполненного из упругодеформируемого эластичного материала, сопряженного с конусообразным несущим корпусом, оканчивающегося цилиндрическим патрубком, включающим ступенчатую направляющую втулку с центральным отверстием, позволяющим проведение через него в полость отграничителя рабочего окончания пневмогидравлической диспергирующей канюли.
4. Устройство по п.2, отличающееся тем, что оно снабжено акустическим узлом с развитым излучающим торцом для поверхностной контактной низкочастотной ультразвуковой обработки кожного покрова над областью липосакции, при этом акустический узел включает кольцевые пьезокерамические элементы и волновод-инструмент в виде стягивающего болта и отражающей накладки, и снабжен сквозным капиллярным отверстием в стягивающем болте, сообщающимся с одной стороны- с полостью для лекарственного раствора, а с другой – с излучающим торцом болта, представляющим собой прерывистую концентрическую волнообразную поверхность в виде лабиринта.
РИСУНКИ
MM4A – Досрочное прекращение действия патента СССР или патента Российской Федерации на изобретение из-за неуплаты в установленный срок пошлины за поддержание патента в силе
Дата прекращения действия патента: 26.07.2007
Извещение опубликовано: 27.02.2009 БИ: 06/2009
|
|