|
|
(21), (22) Заявка: 2004102798/12, 06.08.2002
(24) Дата начала отсчета срока действия патента:
06.08.2002
(30) Конвенционный приоритет:
06.08.2001 (пп.1-9) FR 0110509
(43) Дата публикации заявки: 27.10.2004
(46) Опубликовано: 27.04.2007
(56) Список документов, цитированных в отчете о поиске:
FR 2458255 A1, 01.02.1981. SU 472238 A, 22.10.1975. SU 888924 A, 15.12.1981. US 4807446 A, 28.02.1989. US 4938034 A, 03.07.1990. US 4977754 A, 18.12.1990. FR 2725014 A1, 29.03.1996.
(85) Дата перевода заявки PCT на национальную фазу:
09.03.2004
(86) Заявка PCT:
FR 02/02814 (06.08.2002)
(87) Публикация PCT:
WO 03/013317 (20.02.2003)
Адрес для переписки:
117279, Москва, ул. Миклухо-Маклая, 55А, офис 314, ЗАО “Фирма “Центр патентных услуг”, пат.пов. Е.А.Харченко
|
(72) Автор(ы):
КАЗАЛИС Патрик (FR), МОРИЛЛОН Кристиан (FR)
(73) Патентообладатель(и):
БОННЕТ НЕВЕ (FR)
|
(54) ВЫСТАВОЧНАЯ ВИТРИНА С ОХЛАЖДЕНИЕМ, В ЧАСТНОСТИ ВЕРТИКАЛЬНАЯ ВЫСТАВОЧНАЯ ВИТРИНА С ЗАВЕСОЙ ИЗ ОХЛАЖДАЮЩЕГО ВОЗДУХА С ФАСАДА ВИТРИНЫ
(57) Реферат:
Выставочная витрина с охлаждением, в частности вертикальная выставочная витрина, которая выполнена с занавесами из охлажденного воздуха в передней части выставочной витрины, перед экспонируемыми пищевыми продуктами, содержит, по существу, одну высокую часть для выхода охлажденного воздуха и устройство, повторно забирающее воздух, которое расположено на уровне верхнего края передней стенки камеры выставочной витрины и содержит отверстия, расположенные, по существу, в горизонтальной плоскости и предназначенные для повторного забора воздуха под действием системы вентиляторов, предусмотренной в упомянутой камере. Устройство, повторно забирающее воздух, имеет дополнительно отверстия для повторного забора воздуха, расположенные в плоскости, по существу вертикальной, и отверстия для повторного горизонтального забора воздуха и отверстия для повторного вертикального забора воздуха входят в состав жалюзи. Наклонная поверхность, предназначенная для предотвращения расслаивания завесы воздуха, предусмотрена между жалюзи для горизонтального и вертикального повторного забора воздуха. Использование данного изобретения обеспечивает возможность уменьшить ширину витрины. 8 з.п. ф-лы, 6 ил.
Изобретение относится к холодильному оборудованию, в частности к вертикальной выставочной витрине с завесой из охлажденного воздуха с фасада витрины перед экспонируемыми пищевыми продуктами, которая содержит, по существу, высокую часть для выхода охлажденного воздуха и устройство, повторно забирающее воздух, которое расположено на уровне верхнего края передней стенки камеры выставочной витрины и имеет отверстия для повторного забора воздуха, расположенные, по существу, в горизонтальной плоскости, с помощью системы вентиляторов, предусмотренной в этой камере.
Известна выставочная витрина с охлаждением, в частности вертикальная выставочная витрина, которая выполнена с занавесами из охлажденного воздуха в передней части выставочной витрины, перед экспонируемыми пищевыми продуктами, содержит, по существу, одну высокую часть для выхода охлажденного воздуха и устройство, повторно забирающее воздух, содержащее отверстия, расположенные, по существу, в горизонтальной плоскости и предназначенные для повторного забора воздуха под действием системы вентиляторов, предусмотренной в упомянутой камере (Патент Fr №245825, А 47 F 3/04,1981).
Главный недостаток выставочной витрины, выполненной согласно описанному варианту, заключается в том, что горизонтальное устройство, повторно забирающее воздух, создает необходимость увеличивать ширину выставочной витрины на относительно большую величину за пределы ее полезного пространства экспонирования пищевых продуктов.
В основу настоящего изобретения положена задача создать выставочную витрину с охлаждением, в которой будет устранен вышеуказанный недостаток.
Поставленная задача решается тем, что устройство для повторного забора воздуха содержит в дополнение к отверстиям для повторного забора, которые расположены в плоскости, по существу горизонтальной, отверстия для повторного забора воздуха, расположенные в плоскости, по существу вертикальной.
Согласно варианту выполнения изобретения отверстия для повторного горизонтального забора воздуха и отверстия для повторного вертикального забора воздуха входят в состав жалюзи соответственно горизонтальных и вертикальных, и, кроме того, наклонная поверхность, предназначенная для предотвращения расслаивания завесы воздуха, предусмотрена между жалюзи для повторного горизонтального и вертикального забора воздуха.
Другие цели, варианты выполнения, детали и преимущества изобретения будут понятны из нижеследующего пояснительного описания со ссылками на схематические чертежи, приведенные только в качестве примера, поясняющего вариант выполнения изобретения, на которых:
– фигура 1 изображает общий вид выставочной витрины с охлаждением согласно изобретению;
– фигура 2 изображает схематический вид в вертикальном разрезе и перпендикулярно оси вертикальной выставочной витрины с охлаждением, выполненной согласно изобретению;
– фигура 3 изображает общий вид нижней части выставочной витрины с охлаждением согласно изобретению, выполненной согласно варианту, изображенному схематически на фигуре 1;
– фигура 4 изображает вид в увеличенном масштабе опоры жалюзи, которая обозначена на фигуре 3 позицией IV;
– фигура 5 изображает общий вид опоры жалюзи в соответствии с фигурой 4;
– фигура 6 изображает вид, аналогичный виду, представленному на фигуре 4 другого варианта выполнения опоры жалюзи согласно изобретению.
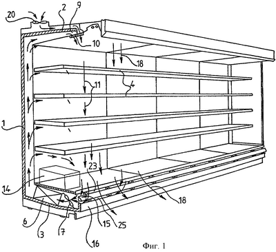
На фигуре 1, которая представляет общий вид вертикальной выставочной витрины с охлаждением, выполненной согласно изобретению, номера позиций 1-4 обозначают собственно заднюю стенку выставочной витрины, часть, образующую крышу, нижнюю часть, которая образует камеру, и большое количество вертикально наложенных друг на друга полок, каждая из этих полок предназначена для размещения охлажденных или быстрозамороженных пищевых продуктов. Полки установлены на задней части выставочной витрины. Выставочная витрина снабжена установкой для охлаждения 6, которая выполнена в виде теплообменника/испарителя и некоторое количество вентиляторов 7, которые установлены в камере согласно варианту, схематически представленному на фигурах 1 и 2.
Вентиляторы создают потоки холодного воздуха, такие, которые символично показаны стрелками на фигуре 1 и изображены более подробно на фигуре 2 согласно известным вариантам выполнения. Установлено, что холодный воздух поднимается внутри задней стенки 1 до передней части 9 крыши 2, где он выходит через отверстие 10 таким образом, что он образует завесу из холодного воздуха 11 перед выставочной витриной, перед пищевыми продуктами, которые обозначены на схеме позицией 14. На фигуре 2 изображено также, что часть воздуха отделяется от вертикально поднимающегося потока для того, чтобы она распределилась по полкам, перемещаясь над пищевыми продуктами, которые обозначены на схеме позицией 14 на фигурах 1 и 2, и дошла до вертикальной завесы 11. Внизу выставочной витрины завеса из холодного воздуха забирается посредством устройства 15, которое повторно забирает воздух на уровне верхнего края передней стенки фасада 16 камеры 3 с помощью вентиляторов 7.
Фигура 2 представляет присутствие второй завесы из воздуха, которая обозначена позицией 18 и является наружной завесой, то есть эта завеса находится перед завесой из охлажденного воздуха 11. Эта завеса состоит из воздуха окружающей атмосферы, который забирается в верхней части выставочной витрины посредством вентилятора 20 и нагнетается вниз в узкий проход, находящийся в передней части выставочной витрины. Вторичный занавес 18 не охлаждается.
На фигурах 3-6 изображено особым образом устройство 13, повторно забирающее охлажденный воздух из завесы 11. Теперь мы опишем более подробно это устройство со ссылками на эти фигуры.
Так, как изображено, в частности на фигуре 3, устройство, осуществляющее повторно забор охлажденного воздуха, содержит в основном горизонтальные жалюзи 22, то есть такие жалюзи, которые снабжены отверстиями 23, которые расположены, по существу, в горизонтальной плоскости и выполнены в виде двух рядов щелей, расположенных по оси, и вертикальные жалюзи 24, которые содержат отверстия 25, которые расположены в плоскости, по существу вертикальной, и выполнены также аналогично в виде двух рядов щелей. Так, как изображено на фигуре 2, расстояния вертикального повторного забора воздуха 22 и горизонтального повторного забора воздуха 24 создают необходимость разделить завесу из воздуха на потоки Fa и Fb.
Согласно важному варианту выполнения изобретения устройство для повторного забора охлажденного воздуха содержит между двумя жалюзи, т.е. между горизонтальными жалюзи 22 и вертикальными жалюзи 24, наклонную поверхность 27, которая располагается под углом 45° относительно горизонтальной и вертикальной плоскостей. Благодаря этой наклонной поверхности 27 оба потока Fa и Fb быстро воссоединяются за устройствами повторного забора таким образом, что обеспечивается быстрая реламинаризация.
Согласно рациональному варианту выполнения изобретения горизонтальные и вертикальные жалюзи поддерживаются большим количеством опорных деталей 28, которые равномерно распределены вдоль продольной оси выставочной витрины.
На фигуре 5 представлен перспективный вид такой опорной детали 28. Мы отмечаем, что она содержит среднюю часть 29 в виде пластины, обращенной в направлении наружу из выставочной витрины и которая располагается перпендикулярно продольной оси выставочной витрины и заднее обращенное в направлении камеры ребро 30, которое изогнуто и образует дугу и имеет форму кривой, которая хорошо видна на фигуре 4. Передний край средней части 29 содержит части, которые выступают в вертикальном и в горизонтальном направлениях 31, 32 которые образуют опорные части пластин 34 и 35 горизонтальной и вертикальной жалюзи.
Между этими двумя опорными частями 31 и 32, которые выступают вертикально вверх и горизонтально наружу, предусмотрена промежуточная часть 37 в виде траверсы, которая располагается в боковом направлении по одну и другую сторону от промежуточной части 29, в направлении по оси выставочной витрины и имеет поперечное сечение, по существу, в форме опрокинутой буквы U. Именно эта часть 37, которая служит опорой для профиля 39, передняя свободная наружная сторона которой образует наклонную предотвращающую расслоение поверхность 27, установлена между двумя повторными заборами воздуха, т.е. между горизонтальным повторным забором воздуха и вертикальным повторным забором воздуха из занавеса из охлажденного воздуха. Так, как изображено на фигуре 4, профиль 39 содержит выступающие в направлении к задней части два ребра 40, которые входят в зацепление за ветвями 41 траверсы или опорного стержня 37, в положении, когда профиль установлен между двумя горизонтальным и вертикальным устройством. Следует еще также отметить, что на уровне верхнего и нижнего продольных краев профиль 39 имеет изогнутые выступы 51, которые обеспечивают возможность устанавливать этикетки (не изображены).
Опора 28 содержит часть, образующую стойку 42, которая обеспечивает возможность крепить ее к передней стенке 16 камеры. Эта часть, образующая стойку 42, выступает вбок в одну и другую сторону относительно средней части опоры и имеет в поперечном сечении форму буквы L, длинная ветвь 43 которой примыкает и крепится к внутренней стороне передней камеры, в то время как другая ветвь 44 опирается на верхнюю сторону, по существу на горизонтальную стенку камеры. Конец ветви 44 изогнут в положение 45 таким образом, что он образует лапку для крепления опоры 28 на передней стенке камеры винтами 46, отверстия для прохождения винтов обозначены позицией 47 на фигуре 5.
На опорной детали 28, на ее конце, который расположен напротив стойки 42, мы установили горизонтальную планку 49 для опоры полок или плит 4 выставочной витрины посредством промежуточного профиля 50, который располагается по всей длине выставочной витрины и образует боковую ограничивающую стенку горизонтальной жалюзи повторного забора воздуха. Другая боковая ограничивающая стенка жалюзи образована верхним краем 51 переднего профиля 39, который предотвращает расслоение. Нижняя часть края 51 образует боковую ограничивающую поверхность вертикальных жалюзи повторного забора воздуха, которая ограничена на другой стороне второй нижней тонкой пластинкой 35. Каждая из тонких пластинок введена в щель, выполненную в опоре.
Следует отметить, что выполненная таким особенным способом форма опорных деталей 28, в частности, благодаря применению изогнутого заднего края обеспечивает возможность соединять потоки сразу за повторно забранными потоками таким образом, чтобы можно было создавать между повторным забором и вентиляторами 7 поток воздуха в форме спирали, при этом вентиляторы 7 ориентируются соответствующим образом.
Фигура 6 изображает другой вариант выполнения устройства для совмещенного забора воздуха, предназначенного для использования для выставочной витрины, на переднюю стенку камеры которой установлен фасадный дополнительный элемент 57. В этом случае опорная деталь жалюзи горизонтального и вертикального забора воздуха, которая обозначена позицией 28′, идентична детали 28, в своей части опоры, собственно говоря, жалюзи, но выполнена другим образом, в своей нижней части крепления к камере. Теперь эта часть содержит, в своей передней части, фланец в виде буквы Z, который содержит верхнюю часть 59 крепления фасадной стенки 57 надставки, за которой находится одна часть в форме L 60, соответствующая части стойки в форме L 42 опорной части 28 и который обеспечивает возможность осуществлять крепление к передней стенке камеры.
В своей части, расположенной точно над опорной частью жалюзи повторного горизонтального забора, задний край, обращенный внутрь камеры опорной детали 28′, выполнен в форме фланца 61, который располагается, по существу, вертикально и обеспечивает возможность устанавливать вертикальную пластину 62, которая располагается по всей длине выставочной витрины и устанавливает за горизонтальным и вертикальным повторными заборами воздуха трубу 64. Пластина 62 ограничивает в направлении после заборов потоки воздуха из направляющей трубы 64, которая обеспечивает воссоединение повторно забранных потоков, направляет этот вновь воссоединенный поток в направлении к заднему краю выхода 68 опорной детали, которая выполнена также, как задний край 30 опорной детали 28 для того, чтобы обеспечить установление потока воздуха в форме спирали между устройством 15, повторно забирающим воздух, и вентиляторами 7.
Из вышеприведенного описания следует, что благодаря применению данной конфигурации опорных деталей, согласно которой предусмотрена передняя наклонная сторона и задний край, выполненный особым образом, изобретение обеспечивает возможность осуществлять повторный совмещенный забор воздуха, то есть одновременно горизонтальный забор и вертикальный забор, что позволяет уменьшить ширину выставочной витрины, обеспечивая при этом прекрасную охлаждающую способность. Конечно, можно внести различные изменения в выставочную витрину, такую, которая была описана и представлена на фигурах, не выходя за рамки изобретения, таким образом, опорные детали горизонтальной и вертикальной жалюзи могут иметь любую другую соответствующую форму при условии, что они будут удовлетворять двум вышеупомянутым требованиям, то есть обеспечивать минимальный отрыв между двумя заборами и воссоединение и реламинаризацию потоков воздуха из забора сразу же после двух заборов и восстановление циркуляции потока воздуха в форме спирали между забором и вентиляторами, осуществляющими повторную циркуляцию потока воздуха в верхнюю часть выставочной витрины, который проходит через холодильную установку 6.
Следует отметить, что кроме только что описанной функции опорные детали 28 и 28′ осуществляют еще также дополнительную функцию, которая заключается в том, что они должны обеспечивать восприятие усилий полок или плит, на которых экспонируются пищевые продукты, и передачу этих усилий камере.
Формула изобретения
1. Выставочная витрина с охлаждением, в частности вертикальная выставочная витрина, которая выполнена с занавесами из охлажденного воздуха в передней части выставочной витрины, перед экспонируемыми пищевыми продуктами, содержит, по существу, одну высокую часть для выхода охлажденного воздуха и устройство, повторно забирающее воздух, которое расположено на уровне верхнего края передней стенки камеры выставочной витрины и содержит отверстия, расположенные, по существу, в горизонтальной плоскости и предназначенные для повторного забора воздуха под действием системы вентиляторов, предусмотренной в упомянутой камере, отличающаяся тем, что устройство, повторно забирающее воздух, имеет дополнительно отверстия (25) для повторного забора воздуха, расположенные в плоскости, по существу, вертикальной, и отверстия (23) для повторного горизонтального забора воздуха и отверстия (25) для повторного вертикального забора воздуха входят в состав жалюзи (22, 24) и тем, что наклонная поверхность (27), предназначенная для предотвращения расслаивания завесы воздуха, предусмотрена между жалюзи для горизонтального и вертикального повторного забора воздуха.
2. Выставочная витрина по п.1, отличающаяся тем, что она содержит большое количество опорных деталей (28, 28′) горизонтальных жалюзи (22) и вертикальных жалюзи (24), которые опираются на стенку (16) выставочной витрины и которые выполнены с такой формой, что они обеспечивают возможность вновь воссоединять потоки воздуха повторного горизонтального и вертикального заборов воздуха непосредственно за горизонтальным и вертикальным повторными заборами воздуха.
3. Выставочная витрина по п.2, отличающаяся тем, что форма заднего края (30, 68), который ориентирован в направлении к камере (3), выполнена таким образом, чтобы обеспечить формирование в виде спирали вытекающего потока воздуха, повторно взятого между устройством (15) повторного забора воздуха и вентиляторами (7) рециркуляции охлажденного воздуха в выставочной витрине.
4. Выставочная витрина с охлаждением по п.3, отличающаяся тем, что опорная деталь (28, 28′) жалюзи повторного забора воздуха (22, 24) содержит на части, обращенной в направлении наружу из выставочной витрины, вертикальный выступ (31) и горизонтальный выступ (32) для опоры горизонтальной жалюзи (22) и вертикальной жалюзи (24) и между этими двумя выступами выступающую промежуточную часть (37) для опоры профиля (39), передняя сторона которого образует наклонную поверхность (27), предназначенную для предотвращения расслаивания, и расположена между двумя повторными горизонтальным и вертикальным заборами воздуха.
5. Выставочная витрина с охлаждением по п.4, отличающаяся тем, что опорная деталь (28, 28′), содержит часть, которая образует стойку (42, 60) для крепления на передней стенке (16) выставочной витрины.
6. Выставочная витрина с охлаждением по п.3, отличающаяся тем, что для выставочной витрины, передняя стенка которой надставлена, устройство (15) для повторного забора воздуха содержит вертикальную пластину (62), которая ограничивает в направлении после заборов потоки воздуха из направляющей трубы (64), которая направляет повторно взятый воздух в направлении к заднему краю выхода (68) опорной детали.
7. Выставочная витрина с охлаждением по п.4 или 6, отличающаяся тем, что пластина (62), ограничивающая трубу (64), закреплена к фланцу, предусмотренному на заднем крае (31) опорной детали (28) под повторным горизонтальным забором воздуха.
8. Выставочная витрина с охлаждением по п.1 или 4, отличающаяся тем, что передняя наклонная поверхность (27) профиля (39) выполнена таким образом, чтобы на нее можно было установить этикетки.
9. Выставочная витрина с охлаждением по п.2, отличающаяся тем, что опорные детали (28, 28′) образуют устройства, которые воспринимают и передают камере (3) усилия плит полок (4), предназначенных для экспонирования пищевых продуктов.
РИСУНКИ
MM4A – Досрочное прекращение действия патента СССР или патента Российской Федерации на изобретение из-за неуплаты в установленный срок пошлины за поддержание патента в силе
Дата прекращения действия патента: 07.08.2009
Извещение опубликовано: 20.08.2010 БИ: 23/2010
|
|