|
|
(21), (22) Заявка: 2004116062/12, 22.10.2002
(24) Дата начала отсчета срока действия патента:
22.10.2002
(30) Конвенционный приоритет:
24.10.2001 US 10/012,238
(43) Дата публикации заявки: 10.06.2005
(46) Опубликовано: 27.04.2007
(56) Список документов, цитированных в отчете о поиске:
US 5944025 А, 31.08.1999. US 5076292 А, 31.12.1991. US 5203355 А, 20.04.1993. SU 1837814 A3, 30.08.1993.
(85) Дата перевода заявки PCT на национальную фазу:
24.05.2004
(86) Заявка PCT:
GB 02/04766 (22.10.2002)
(87) Публикация PCT:
WO 03/034847 (01.05.2003)
Адрес для переписки:
101000, Москва, М.Златоустинский пер., 10, кв.15, “ЕВРОМАРКПАТ”, пат.пов. И.А.Веселицкой, рег. № 11
|
(72) Автор(ы):
АБУЛИМЕН Майкл Э. (US), ТАКЕР Брайан Э. (US), АДИГА Кайяни С. (US)
(73) Патентообладатель(и):
БРИТИШ АМЕРИКЭН ТОБЭККО (ИНВЕСТМЕНТС) ЛИМИТЕД (GB)
|
(54) ИСКУССТВЕННОЕ КУРИТЕЛЬНОЕ ИЗДЕЛИЕ (ВАРИАНТЫ) И ЕГО ТЕПЛОВЫДЕЛЯЮЩИЙ ЭЛЕМЕНТ
(57) Реферат:
В заявке описано искусственное курительное изделие, в котором из создающего аромат материала, в частности обычной сигареты, при нагреве тепловыделяющим элементом с тепловыделяющей жидкостью в виде пара или аэрозоля выделяются создающие аромат или другие компоненты. Предлагаемое в изобретении искусственное курительное изделие имеет цилиндрическую оболочку, в которую с одного конца вставляется тепловыделяющий элемент многоразового использования, а с другого – создающий аромат материал, в частности сигарета. Между сигаретой и тепловыделяющим элементом остается свободное пространство, достаточное для того, чтобы сигарета не могла загореться, а образующиеся при сгорании тепловыделяющей жидкости горячие газы могли нагревать табак или другой аналогичный компонент сигареты и испарять содержащиеся в нем создающие аромат соединения. Технический результат – создание искусственного курительного изделия с использованием тепловыделяющего элемента, тепло которого необходимо для испарения создающих определенный аромат веществ, содержащихся в курительном изделии. 3 н. и 35 з.п. ф-лы, 2 ил.
Изобретение относится к искусственному курительному изделию с тепловыделяющим элементом, выполненным физически отдельно от выделяющего аэрозоль материала, и, в частности, к тепловыделяющему элементу искусственного курительного изделия.
Наиболее распространенными изделиями для курения являются сигареты, сигары и курительные трубки, в которых используются различные формы табака в качестве среды, при сгорании которой во время курения образуется аэрозоль, содержащий пары ароматических веществ определенного запаха. В последние годы появилась необходимость в курительных изделиях, в которых образующий аэрозоль материал, в том числе и табак, нагревают до температуры, достаточной для испарения образующих аэрозоль содержащихся в табаке или в трубочном материале ароматических веществ, но не достаточной для сгорания табака.
В настоящее время известно много курительных изделий такого типа, внешне похожих на обычные курительные изделия, а также других изделий, разработанных в качестве альтернативы обычным курительным изделиям. Такие изделия являются по существу искусственными курительными изделиями, которые схожи с обычными сигаретами, но в которых не происходит сгорания табачных продуктов. Многие из подобных курительных изделий содержат внутренний образующий аэрозоль материал, который нагревают внутренним тепловыделяющим элементом. Нагревание образующего аэрозоль материала сопровождается образованием обладающего определенным ароматом аэрозоля, который во время курения вдыхает курильщик. В качестве внутреннего тепловыделяющего элемента в таких искусственных курительных изделиях используют либо содержащие углерод тепловыделяющие элементы, либо электрохимические источники тепла, которые выделяют тепло при воздействии на них воды. Используемые в таких искусственных курительных изделиях тепловыделяющие элементы являются по существу элементами однократного использования. Сгораемые тепловыделяющие элементы на основе углерода не гаснут и продолжают автоматически гореть до полного сгорания содержащихся в них воспламеняющихся материалов. Кроме того, сгораемый тепловыделяющий элемент сложно погасить, и поэтому для перерыва в курении приходится использовать воду или другие средства гашения. Похожая проблема возникает и при использовании для выделения тепла электрохимических источников, протекающая в которых химическая реакция заканчивается только после полной потери химической активности всех участвующих в ней реагентов. Известны также и другие искусственные курительные изделия, в которых для приведения образующего аэрозоль вещества в активное состояние используют электрический нагревательный элемент. Электрические нагревательные элементы, которые в принципе можно выключать в промежутках между затяжками, работают от достаточно громоздкой батарейки, использование которой связано с определенными неудобствами и требует от курильщика дополнительных усилий.
В качестве примера выданных ранее патентов, которые относятся к курительным изделиям, во время курения которых образуется аэрозоль, можно назвать патенты GB 1033674 и GB 1083761 (на имя Battelle Memorial Institute). В настоящее время известны и другие курительные изделия, курение которых не сопровождается выделением заметных количеств продуктов неполного сгорания курительного материала и доставляет курильщику удовольствие, схожее с удовольствием от курения сигарет, не за счет сгорания табака или других аналогичных материалов, а за счет нагрева образующего аэрозоль материала, и, в частности курительное изделие, описанное в выданном на имя Lawson и др. патенте US 5065776, в котором предлагается тепловыделяющий элемент, выделяемое которым тепло передается выполненному физически отдельно от него образующему аэрозоль материалу, и курительное изделие, описанное в патенте US 5144962, в котором предлагается негорючее курительное изделие с трубкой, заполненной табаком, с которым в тепловом контакте находится нагреваемый электрическим током термистор с соответствующим температурным коэффициентом сопротивления, который выделяет тепло, под действием которого содержащийся в табаке образующий аэрозоль материал нагревается до температуры испарения.
Однако несмотря на все предложения подобного типа в настоящее время по-прежнему сохраняется необходимость в создании очень схожего с обычной сигаретой курительного изделия, курение которого в отличие от обычной сигареты не связано со сгоранием табака и которое по меньшей мере частично можно использовать повторно.
В основу настоящего изобретения была положена задача разработать тепловыделяющий элемент для искусственного курительного изделия, используемый в качестве источника тепла, необходимого для испарения создающих определенный аромат веществ, содержащихся в курительном изделии.
Другая задача настоящего изобретения состояла в разработке тепловыделяющего элемента для искусственного курительного изделия, которое можно было бы использовать повторно.
Задача настоящего изобретения состояла также в разработке искусственного курительного изделия, которое по своему внешнему виду по существу было бы похоже на обычную сигарету.
Еще одна задача настоящего изобретения заключалась в разработке искусственного курительного изделия, которое содержит повторно используемый тепловыделяющий элемент, применяемый вместе с обычной сигаретой.
В настоящем изобретении предлагается предназначенный для использования с курительным изделием тепловыделяющий элемент, содержащий закрытый корпус с отверстием на конце, расположенный в корпусе патрон с тепловыделяющей жидкостью (жидким топливом), фитиль, который сообщается с патроном и смачивается находящейся в нем тепловыделяющей жидкостью, и расположенный рядом с фитилем элемент накала, нагревающийся докрасна при сгорании тепловыделяющей жидкости, которой пропитан фитиль.
Тепловыделяющую жидкость (жидкое топливо) предпочтительно выбирать из группы, включающей этанол и низкомолекулярные жидкие нефтепродукты.
Для изготовления элемента накала предпочтительно использовать медь, бронзу, платину или сплавы этих либо других металлов. Элемент накала предпочтительно выполнять в виде нити накала, намотанной по спирали или иным образом расположенной вокруг фитиля. В другом варианте элемент накала можно выполнить в виде камеры, заполненной шариками или волокнами из каталитического материала. Такой каталитический материал предпочтительно выбирать из группы, включающей медь, бронзу, покрытую платиной керамику или материал на основе керамики с соответствующим покрытием.
Фитиль предпочтительно изготавливать из негорючих волокон или из одной или нескольких стекляных капиллярных трубок.
Патрон с тепловыделяющей жидкостью предпочтительно заполнять пористым материалом. Пористый материал предпочтительно выбирать из группы, включающей ацетат целлюлозы, полиэтилен низкой плотности, этилвинилацетат, углеродное волокно, хлопковый или иной тканый материал. Фитиль может быть изготовлен из пористого материала, которым заполнен патрон.
Фитиль предпочтительно помещать в трубку, которая входит в отверстие корпуса, в котором расположен патрон, пропитанный тепловыделяющей жидкостью. Такую трубку предпочтительно изготавливать из керамического материала.
В настоящем изобретении предлагается также искусственное курительное изделие, содержащее цилиндрическую оболочку, расположенный у обращенного в сторону рта конца оболочки создающий аромат материал и тепловыделяющий элемент, расположенный на другом конце оболочки на некотором расстоянии от создающего аромат материала.
Цилиндрическую оболочку предпочтительно изготавливать из негорючего или по меньшей мере трудновоспламеняющегося материала. К таким материалам, из которых может быть изготовлена цилиндрическая оболочка, относятся керамика, морская пенка (сепиолит), металл, бумага, картон, восстановленный табак, дерево, бамбук, стекло, фольга и их комбинации. Во избежание воспламеняемости каждый из этих материалов можно соответствующим образом обработать. Обычно для уменьшения склонности к воспламенению такие материалы подвергают, как известно, соответствующей химической обработке.
В качестве создающего аромат материала, расположенного у обращенного в сторону рта конца цилиндрической оболочки, предпочтительно использовать табачный стержень сигареты. При необходимости вместо табачного стержня сигареты в качестве создающего аромат материала можно использовать и другие материалы, например пористый патрон с образующим аэрозоль материалом или спрессованный табачный материал.
Предпочтительно в качестве тепловыделяющего элемента в предлагаемом в изобретении курительном изделии использовать предлагаемый в изобретении тепловыделяющий элемент.
В предлагаемом в изобретении искусственном курительном изделии целесообразно использовать рассеиватель тепла, расположенный между тепловыделяющим элементом и создающим аромат материалом. Такой рассеиватель тепла предпочтительно изготавливать из проволочной сетки. Рассеиватель тепла можно обработать катализатором, превращающим моноксид углерода в диоксид углерода, или другим катализатором для каталитической конверсии или удаления из образующегося во время курения аэрозоля других углеводородов, образующихся в пламени и содержащихся в тепловыделяющих элементах. Изготовить рассеиватель тепла можно из любого материала, отвечающего соответствующим требованиям.
Корпус патрона с тепловыделяющей жидкостью предпочтительно изготавливать из непроницаемого, негорючего материала, в частности из керамического материала. В качестве тепловыделяющей жидкости (жидкого топлива), которая находится в патроне, предпочтительно использовать чистую горючую жидкость, в частности содержащее углерод жидкое топливо, например спирты, такие как этанол, метанол, изопропанол или пропанол, или другие низкомолекулярные жидкие нефтепродукты, такие как пентан или гексан.
В цилиндрической оболочке предпочтительно выполнить входные отверстия для прохода воздуха, попадающего внутрь курительного изделия во время затяжки. Такие отверстия для прохода воздуха, попадающего внутрь курительного изделия во время затяжки, должны быть расположены до рассеивателя тепла или, иными словами, в том месте, где на элементе накала происходит сгорание тепловыделяющей жидкости (жидкого топлива).
Ниже настоящее изобретение более подробно рассмотрено со ссылкой на прилагаемые чертежи, на которых одни и те же компоненты предлагаемого в изобретении тепловыделяющего элемента и искусственного курительного изделия с таким тепловыделяющим элементом обозначены одними и теми же позициями и на которых показано:
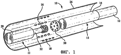
на фиг.1 – поэлементное изображение в аксонометрической проекции отдельных элементов выполненного по одному из возможных вариантов предлагаемого в изобретении искусственного курительного изделия и
на фиг.2 – продольный разрез искусственного курительного изделия, показанного на фиг.1.
Показанное на чертежах искусственное курительное изделие 10 состоит из тепловыделяющего элемента, обозначенного позицией 11, и создающего аромат материала, в частности расположенной в цилиндрической оболочке 26 обычной сигареты, обозначенной позицией 13. Сигарета 13 состоит из табачного стержня 14 и соединенного с ним фильтра 12.
Тепловыделяющий элемент 11 состоит из непроницаемого, негорючего корпуса 20 и расположенного в нем тепловыделяющего патрона 24 из пористого материала, пропитанного содержащей углерод тепловыделяющей жидкостью (жидким топливом), в данном случае этанолом. Тепловыделяющий элемент 11 имеет также вытянутый в длину фитиль 22 и элемент 16 накала. Тепловыделяющий элемент 11 вставлен внутрь одного из концов цилиндрической оболочки 26, в которой выполнено несколько отверстий 18 для прохода окружающего воздуха, которые расположены на небольшом расстоянии перед элементом 16 накала и через которые во время затяжки внутрь оболочки вместе с воздухом попадает кислород, необходимый для сгорания тепловыделяющей жидкости (жидкого топлива), которым пропитан фитиль 22. На обращенном к сигарете конце корпуса 20 тепловыделяющего элемента выполнено отверстие, в которое входит керамическая трубка 32 или втулка с расположенным внутри нее фитилем 22. Элемент 16 накала выполнен в виде спирали, изготовленной из тонкой медной проволоки или другого теплопроводящего или нагреваемого докрасна материала, например из бронзы, платины или сплава металлов. Элемент 16 накала расположен у открытого конца керамической трубки 32. Выступающий из трубки конец фитиля 22, изготовленного из негорючих волокон или из стекляных капиллярных трубок, входит на небольшое расстояние, например на 1-2 мм, внутрь элемента 16 накала, выполненного в данном случае в виде металлической нити накала. Для того чтобы закурить предлагаемое в изобретении искусственное курительное изделие, элемент 16 накала необходимо нагреть до раскаленного состояния, используя для этого обычную зажигалку, например зажигалку, работающую на бутане.
Внутри цилиндрической оболочки 26 между дальним концом создающего аромат материала 13 и элементом 16 накала расположен рассеиватель 30 тепла. Рассеиватель 30 тепла имеет отверстия, через которые горячий газ и горячий воздух, который попадает внутрь цилиндрической оболочки 26 во время затяжки через отверстия 18, проходят в испаряющийся при нагревании материал табачного стержня сигареты 13. Рассеиватель 30 тепла, кроме того, препятствует прямому воздействию пламени на сигарету 13 под действием разрежения, которое во время затяжки создается в фильтре или обращенном в сторону рта конце сигареты. Наличие в предлагаемом в изобретении курительном изделии такого рассеивателя тепла ограничивает возможность воспламенения и существенного сгорания сигареты 13.
Для того чтобы закурить предлагаемое в изобретении курительное изделие 10, необходимо сначала нагреть до раскаленного состояния металлическую нить элемента 16 накала, используя для этого расположенную снизу под отверстиями для прохода воздуха обычную зажигалку. Попадающее по негорючему фитилю 22 в место расположения металлической нити элемента накала жидкое топливо под действием пламени зажигалки начинает испаряться. Испаряющееся жидкое топливо воздействует на металлическую нить, которая продолжает оставаться в раскаленном состоянии и при погашенной зажигалке. Сгорание испаряющегося жидкого топлива обеспечивается окружающим воздухом, который во время затяжки проходит через отверстия 18 к металлической нити элемента накала. В промежутках между затяжками металлическая нить элемента 16 накала остается в раскаленном состоянии. Для того чтобы погасить курительное изделие, необходимо перекрыть, например надетой на цилиндрическую оболочку не показанной на чертежах подвижной втулкой или керамической трубкой, отверстия 18 для прохода воздуха, в отсутствие которого жидкое топливо гореть не будет. Для того чтобы погасить предлагаемое в изобретении курительное изделие, вместо такой керамической втулки или трубки можно воспользоваться специальным достаточно большим колпачком, которым можно закрыть дальний конец цилиндрической оболочки вместе с отверстиями 18 для прохода воздуха. Для того чтобы погасить тепловыделяющий элемент, можно использовать упомянутую выше подвижную втулку и сравнительно небольшой колпачок, который надевается на обращенный в сторону рта конец цилиндрической оболочки после извлечения из нее сигареты.
После курения тепловыделяющий элемент можно отсоединить от искусственного курительного изделия и использовать с другой сигаретой.
Кроме того, и саму сигарету можно извлечь из искусственного курительного изделия и при желании выкурить как обычное курительное изделие, которое прикуривается от обычного пламени.
Формула изобретения
1. Тепловыделяющий элемент, предназначенный для использования с курительным изделием и содержащий закрытый корпус с отверстием на конце, расположенный в корпусе патрон с тепловыделяющей жидкостью, фитиль, который сообщается с патроном и смачивается находящейся в нем тепловыделяющей жидкостью, и расположенный рядом с фитилем элемент накала, нагревающийся докрасна при сгорании тепловыделяющей жидкости, которой пропитан фитиль.
2. Тепловыделяющий элемент по п.1, в котором тепловыделяющая жидкость выбрана из группы, включающей этанол и низкомолекулярные жидкие нефтепродукты.
3. Тепловыделяющий элемент по п.1 или 2, в котором элемент накала изготовлен из меди, бронзы, платины или сплава металлов.
4. Тепловыделяющий элемент по п.3, в котором элемент накала выполнен в виде нити накала.
5. Тепловыделяющий элемент по п.1, в котором патрон с тепловыделяющей жидкостью заполнен пористым материалом.
6. Тепловыделяющий элемент по п.5, в котором пористый материал представляет собой ацетат целлюлозы, полиэтилен низкой плотности, этилвинилацетат, углеродное волокно, хлопковый или иной тканый материал.
7. Тепловыделяющий элемент по п.1, в котором фитиль изготовлен из негорючих волокон или стеклянных капиллярных трубок.
8. Тепловыделяющий элемент по п.1, который имеет расположенные до нити накала отверстия для прохода через них окружающего воздуха внутрь элемента.
9. Тепловыделяющий элемент по п.1, в котором элемент накала выполнен в виде камеры, заполненной шариками или волокнами из каталитического материала.
10. Тепловыделяющий элемент по п.9, в котором каталитический материал представляет собой медь, бронзу, покрытую платиной керамику или материал на основе керамики с соответствующим покрытием.
11. Тепловыделяющий элемент по 5, в котором фитиль изготовлен из пористого материала.
12. Тепловыделяющий элемент по п.1, в котором фитиль расположен внутри трубки.
13. Тепловыделяющий элемент по п.12, в котором трубка изготовлена из керамики.
14. Тепловыделяющий элемент по п.1, который расположен внутри цилиндрической оболочки.
15. Тепловыделяющий элемент по п.14, в котором цилиндрическая оболочка изготовлена из материала, который не воспламеняется под действием пламени.
16. Тепловыделяющий элемент по п.15, в котором цилиндрическая оболочка изготовлена из керамики, морской пенки (сепиолита), металла, бумаги, картона, восстановленного табака, дерева, бамбука, стекла или фольги.
17. Искусственное курительное изделие, содержащее цилиндрическую оболочку, расположенный у обращенного в сторону рта конца оболочки создающий аромат материал и расположенный на другом конце оболочки с отступом от создающего аромат материала тепловыделяющий элемент, содержащий закрытый корпус с отверстием на конце, расположенный в корпусе патрон с тепловыделяющей жидкостью, фитиль, который сообщается с патроном и смачивается находящейся в нем тепловыделяющей жидкостью, и расположенный рядом с фитилем элемент накала, нагревающийся докрасна при сгорании тепловыделяющей жидкости, которой пропитан фитиль.
18. Искусственное курительное изделие по п.17, в котором создающий аромат материал представляет собой сигарету.
19. Искусственное курительное изделие по п.17, в котором в цилиндрической оболочке перед тепловыделяющим элементом выполнены отверстия для прохода через них окружающего воздуха внутрь оболочки во время затяжки.
20. Искусственное курительное изделие по п.17, в котором создающий аромат материал представляет собой табак.
21. Искусственное курительное изделие по п.17, в котором имеется рассеиватель тепла, расположенный между тепловыделяющим элементом и создающим аромат материалом.
22. Искусственное курительное изделие по п.21, в котором рассеиватель тепла изготовлен из проволочной сетки.
23. Искусственное курительное изделие по п.17, в котором цилиндрическая оболочка изготовлена из керамики.
24. Искусственное курительное изделие по п.17, в котором тепловыделяющая жидкость выбрана из группы, включающей этанол и низкомолекулярные жидкие нефтепродукты.
25. Искусственное курительное изделие по п.17, в котором элемент накала изготовлен из меди, бронзы, платины или сплава металлов.
26. Искусственное курительное изделие по п.25, в котором элемент накала выполнен в виде нити накала.
27. Искусственное курительное изделие по п.17, в котором патрон с тепловыделяющей жидкостью заполнен пористым материалом.
28. Искусственное курительное изделие по п.27, в котором пористый материал представляет собой ацетат целлюлозы, полиэтилен низкой плотности, этилвинилацетат, углеродное волокно, хлопковый или иной тканый материал.
29. Искусственное курительное изделие по п.17, в котором фитиль изготовлен из негорючих волокон или стеклянных капиллярных трубок.
30. Искусственное курительное изделие по п.17, у которого отверстия, через которые во время затяжки внутрь оболочки проходит окружающий воздух, расположены до элемента накала.
31. Искусственное курительное изделие по п.17, в котором элемент накала выполнен в виде камеры, заполненной шариками или волокнами из каталитического материала.
32. Искусственное курительное изделие по п.31, в котором каталитический материал представляет собой медь, бронзу, покрытую платиной керамику или материал на основе керамики с соответствующим покрытием.
33. Искусственное курительное изделие по п.27, в котором фитиль изготовлен из пористого материала, которым заполнен патрон.
34. Искусственное курительное изделие по любому из пп.17-33, в котором фитиль расположен внутри трубки.
35. Искусственное курительное изделие по п.34, в котором трубка изготовлена из керамики.
36. Искусственное курительное изделие по п.17, в котором цилиндрическая оболочка изготовлена из материала, который не воспламеняется под действием пламени.
37. Искусственное курительное изделие по п.36, в котором цилиндрическая оболочка изготовлена из керамики, морской пенки (сепиолита), металла, бумаги, картона, восстановленного табака, дерева, бамбука, стекла или фольги.
38. Искусственное курительное изделие, содержащее цилиндрическую оболочку, расположенный у обращенного в сторону рта конца оболочки создающий аромат материал и тепловыделяющий элемент, расположенный на другом конце оболочки с отступом от создающего аромат материала, который представляет собой сигарету.
РИСУНКИ
|
|