|
|
(21), (22) Заявка: 2005123580/13, 25.07.2005
(24) Дата начала отсчета срока действия патента:
25.07.2005
(46) Опубликовано: 27.04.2007
(56) Список документов, цитированных в отчете о поиске:
SU 1572488 А2, 23.06.1990. SU 1271485 А1, 23.11.1986. SU 394034, 22.08.1973.
Адрес для переписки:
440014, г.Пенза, ул. Ботаническая, 30, ФГОУ ВПО “Пензенская государственная сельскохозяйственная академия”
|
(72) Автор(ы):
Боровиков Игорь Александрович (RU), Коновалов Владимир Викторович (RU), Гусев Сергей Владимирович (RU)
(73) Патентообладатель(и):
ФГОУ ВПО “Пензенская государственная сельскохозяйственная академия” (RU)
|
(54) УСТРОЙСТВО ДЛЯ ПЕРЕМЕШИВАНИЯ СУХИХ КОРМОВ И ВНЕСЕНИЯ ЖИРОВЫХ ДОБАВОК
(57) Реферат:
Изобретение относится к сельскому хозяйству, в частности к устройствам для приготовления кормов на животноводческих фермах и комплексах. Устройство для перемешивания сухих кормов и внесения добавок включает смесительную камеру, загрузочный люк, выгрузной лоток и заключенный в кожух смешивающий шнек, регулировочный вентиль, устройство для внесения жировых добавок, дозатор-метатель сухих кормов и вентилятор. Смешивающий шнек выполнен двухзаходным, его кожух разделен на верхний и нижний. Между верхним и нижним кожухами на валу смешивающего шнека радиально установлено 8-10 смесительных лопаток. В нижней части смесительной камеры на валу смешивающего шнека радиально установлено 4-6 сводоразрушающих лопастей. В верхней части смесительная камера тангенциально соединена кормопроводом с устройством для внесения жировых добавок, дозатором-метателем сухих кормов и вентилятором. Использование изобретения позволит повысить качество смешивания кормов с внесенными в них жировыми добавками. 2 ил.
Изобретение относится к машинам для приготовления кормов на животноводческих фермах и комплексах.
Известны следующие устройства для приготовления концентрированных кормов: например, а.с. СССР №1572488, МКИ A23N 17/00, В01F 7/24, БИ №23, 23.06.90, а.с. СССР №394034, МКИ А23N 17/00 А01F 29/00, БИ №34, 22.08.73, а.с. СССР №814423, МКИ В01F 7/14, БИ №11, 23.03.81, а.с. СССР №1085585, МКИ А23N 17/00, БИ №14, 15.04.84 и др.
Указанные устройства обладают рядом недостатков: сложна загрузка исходных компонентов в камеру смешивания, затруднен забор смешиваемых компонентов загрузочным шнеком, большие затраты электроэнергии, невозможно качественное смешивание при наличии кормовых комков в смеси, большие энергозатраты.
Известен агрегат для приготовления комбикормов (а.с. СССР №394034, МКИ А23N 17/00 А01F 29/00, БИ №34, 22.08.73), содержащий дробилку с вентилятором и загрузочным бункером. Вентилятор трубопроводом соединен со смесительной камерой и загрузочной воронкой. Загрузочная воронка и смесительная камера соединены между собой трубопроводом. В загрузочной воронке имеются тройник и заслонка. Внутри смесительной камеры на трубопроводе установлен переключатель потока, обеспечивающий подачу корма по трубопроводу в загрузочный бункер. В нижней части смесительной камеры расположены насадка и раструб, а в верхней – рассеиватель. Для очистки отработанного воздуха на агрегате имеется пылеотделитель.
Недостатки агрегата для приготовления комбикормов: сложность изготовления конструкции, недостаточная подача компонентов корма из нижней части камеры в верхнюю и транспортирование его в дробилку, низкое качество получаемых смесей, большие затраты энергии.
Известно устройство для перемешивания (а.с. СССР №814423, МКИ В01F 7/14, БИ №11, 23.03.81), содержащее корпус с крышкой, в котором расположены центральная скребковая мешалка и две шнековые мешалки, смещенные относительно оси корпуса аппарата. Центральная мешалка жестко соединена с кривошипом, кинематически связанным через шатуны с эксцентриками, на которых установлены мешалки. Мешалки жестко соединены зубчатыми колесами с подвижными осями планетарного механизма.
Недостатком устройства для перемешивания являются сложность и необходимость высокой точности изготовления конструкции.
Известна установка для приготовления комбикормов (а.с. СССР №1085585, МКИ А23N 17/00, БИ №14, 15.04.84), содержащая бункер-дозатор с приемной горловиной и установленным в его нижней части дозирующим шнеком, под выгрузной горловиной которого установлен шнековый транспортер-смеситель, загрузочный шнековый транспортер с приемной горловиной и выгрузным окном, а над бункером-дозатором размещен распределительный шнековый транспортер. Кроме того, установка снабжена смесителем микродобавок с трубой-дефлектором, в которой установлен вертикальный шнек, причем в нижней части смесителя микродобавок установлены загрузочная горловина и тарельчатый микродозатор, включающий подвижный диск, над которым установлены нож и цилиндр. В верхней части тарельчатого микродозатора установлена задвижка, в нижней части расположена приемная горловина, посредством которой тарельчатый микродозатор связан со шнековым транспортером-смесителем. Загрузочный шнековый транспортер вмонтирован в бункер-дозатор.
Недостатками установки для приготовления комбикормов являются низкая равномерность смешивания полученной смеси комбикормов, велика металлоемкость конструкции, узкая специализация машины, предназначенной только для смешивания комбикорма и микродобавок.
Из известных наиболее близким по технической сущности является смеситель комбикормов (а.с. СССР №1572488, МКИ A23N 17/00, В01F 7/24, БИ №23, 23.06.90), содержащий воронкообразную смесительную камеру, состоящую из цилиндрической и конической частей, внутри которой находится смешивающий шнек, заключенный в трубу. В верхней части смешивающего шнека установлена разбрасывающая лопасть. В нижней части смесительной камеры имеется загрузочная горловина, с которой соединен вертикальный шнековый загрузчик, состоящий из подающего патрубка и заключенного в него шнека. Между горловиной и патрубком, в верхней части шнекового загрузчика, установлено плоское кольцо, над которым расположена тарелка. Внизу подающего патрубка загрузчика имеется окно. Патрубок соединен с приемным бункером. Смеситель снабжен выгрузной горловиной. Вал шнека снабжен спиральной лопастью, закрепленной на участке вала между кольцом и тарелкой, на конце лопасти имеется скребок зигзагообразной формы.
Недостатками данного смесителя являются: затруднен забор смешиваемых компонентов загрузочным шнеком, возможно заклинивание материала между кольцом и тарелкой, недостаточное качество смешивания компонентов.
Заявленное изобретение направлено на устранение отмеченных выше недостатков известного устройства. От его использования может быть получен следующий результат: высокое качество смешивания кормов, возможность дополнительного внесения в смесь жировых добавок, невысокая энергоемкость, простота в изготовлении.
Указанный технический результат достигается за счет применения устройства для перемешивания сухих кормов и внесения добавок, включающего смесительную камеру, загрузочный люк, выгрузной лоток и заключенный в кожух смешивающий шнек, причем оно снабжено имеющим регулировочный вентиль устройством для внесения жировых добавок, дозатором метателем сухих кормов и вентилятором, при этом смешивающий шнек выполнен двухзаходным, его кожух разделен на верхний и нижний, между верхним и нижним кожухами на валу смешивающего шнека радиально установлены 8-10 смесительных лопаток, а в нижней части смесительной камеры на валу смешивающего шнека радиально установлены 4-6 сводоразрушающих лопастей, в верхней части смесительная камера тангенциально соединена кормопроводом с устройством для внесения жировых добавок, дозатором-метателем сухих кормов и вентилятором.
Остальные признаки заявляемого устройства частные, поскольку характеризуют лишь конкретное выполнение той или иной детали.
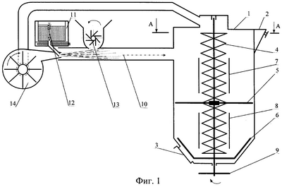
На фиг.1 схематично изображено устройство для перемешивания сухих кормов и внесения жировых добавок, продольный разрез; на фиг.2 – разрез А-А на фиг.1.
Устройство для перемешивания сухих кормов и внесения жировых добавок состоит из смесительной камеры 1, имеющей загрузочный люк 2 и выгрузной лоток 3, двухзаходного смешивающего шнека 4, заключенного в верхний 7 и нижний 8 кожухи, закрепленные в смесительной камере 1, в средней части смешивающего шнека 4 радиально установлены 8-10 смесительных лопаток 5, а в нижней части 4-6 сводоразрушающих лопастей 6. Привод смешивающего шнека 4 осуществляется от шестерни 9. Кроме того, смесительная камера 1 в верхней части тангенциально соединена кормопроводом 10 с устройством для внесения жировых добавок 11, имеющим регулировочный винт 12.
Работа устройства для перемешивания сухих кормов и внесения жировых добавок происходит следующим образом: 3/4 части исходных компонентов корма загружают в смесительную камеру 1 через загрузочный люк 2, а 1/4 часть корма поступает в смесительную камеру 1 из кормопровода 10 в виде смеси сухих кормов и жировых добавок, образуемых в результате смешивания исходных компонентов корма, подаваемых в кормопровод 10 из устройства для внесения жировых добавок 11 и дозатора-метателя сухого корма 13 путем их смешивания в воздушном потоке, создаваемом вентилятором 14. Загрузка смесительной камеры 1 производится до верхней кромки кожуха 7. При подаче крутящего момента к валу смешивающего шнека 4 с установленными на нем смесительными лопатками 5 и сводоразрушающимися лопастями 6, компоненты корма начинают перемешиваться, при этом корм, находящийся в нижней части смесительной камеры 1, при воздействии на него сводоразрушающих лопастей 6 захватывается смешивающим шнеком 4 и поднимается по нижнему кожуху 8 в среднюю часть смесительной камеры 1, где часть кормов в промежутке между кожухами выходит из области воздействия смешивающего шнека 4, дополнительно перемешивается смесительными лопатками 5 и вновь оседает в нижнюю часть смесительной камеры 1, а часть корма попадает в верхнюю часть смесительной камеры по верхнему кожуху 7, осыпается на выходе из него и вновь оседает в смесительную камеру 1, дополнительно перемешиваясь смесительными лопатками 5 и сводоразрушающими лопастями 6. За счет использования в конструкции предлагаемого устройства двухзаходного смешивающего шнека 4, смесительных лопаток 5, сводоразрушающих лопастей 6 и двух кожухов 7 и 8 производится более активное перемешивание компонентов и более интенсивная циркуляция корма по смесительной камере 1, что главным образом влияет на качество получаемой смеси. Процесс перемешивания компонентов продолжается заданный промежуток времени (время смешивания t=5…20 минут). Выгрузка готовой смеси производится при работающем устройстве через выгрузной лоток 6, что позволяет полностью очистить смесительную камеру 1. Частоту вращения шнека регулируют посредством изменения передаточного отношения привода.
Формула изобретения
Устройство для перемешивания сухих кормов и внесения добавок, включающее смесительную камеру, загрузочный люк, выгрузной лоток и заключенный в кожух смешивающий шнек, отличающееся тем, что оно снабжено имеющим регулировочный вентиль устройством для внесения жировых добавок, дозатором-метателем сухих кормов и вентилятором, при этом смешивающий шнек выполнен двухзаходным, его кожух разделен на верхний и нижний, между верхним и нижним кожухами на валу смешивающего шнека радиально установлено 8-10 смесительных лопаток, а в нижней части смесительной камеры на валу смешивающего шнека радиально установлено 4-6 сводоразрушающих лопастей, причем в верхней части смесительная камера тангенциально соединена кормопроводом с устройством для внесения жировых добавок, дозатором-метателем сухих кормов и вентилятором.
РИСУНКИ
MM4A – Досрочное прекращение действия патента СССР или патента Российской Федерации на изобретение из-за неуплаты в установленный срок пошлины за поддержание патента в силе
Дата прекращения действия патента: 26.07.2007
Извещение опубликовано: 27.02.2009 БИ: 06/2009
|
|