|
|
(21), (22) Заявка: 2002117009/11, 27.06.2002
(24) Дата начала отсчета срока действия патента:
27.06.2002
(30) Конвенционный приоритет:
27.06.2001 DE 10130647.1
(43) Дата публикации заявки: 20.01.2004
(46) Опубликовано: 27.04.2007
(56) Список документов, цитированных в отчете о поиске:
DE 19918551 A1, 26.10.2000. RU 2021670 C1, 30.10.1994. US 4203275 A, 20.05.1980. SU 998147 A1, 23.02.1983. SU 1140702 A1, 23.02.1985. SU 490418 A1, 05.11.1975. SU 495224 A1, 16.03.1976. SU 499166 A1, 12.10.1976. SU 1222220 A1, 07.04.1986. SU 943063 A1, 19.07.1982. US 3878959 A, 22.04.1975.
Адрес для переписки:
191186, Санкт-Петербург, а/я 230, “АРС-ПАТЕНТ”, пат.пов. В.М.Рыбакову, рег. № 90
|
(72) Автор(ы):
ХОЛЬТМАНН Бернд (DE), ХЕЙДЪЯНН Франц (DE)
(73) Патентообладатель(и):
КЛААС Зельбстфаренде Эрнтемашинен ГмбХ (DE)
|
(54) КОЛЕСНАЯ ОПОРА СЕЛЬСКОХОЗЯЙСТВЕННОЙ МАШИНЫ
(57) Реферат:
Изобретение относится к колесной опоре (15, 30) для сельскохозяйственной машины (1). Сельскохозяйственная машина оснащена по меньшей мере одним приемным устройством (5) для установки сельскохозяйственного рабочего аппарата, причем в обращенной к сельскохозяйственному рабочему аппарату области сельскохозяйственной машины (1) установлены одно или несколько опорных колес (15). По меньшей мере одно опорное колесо (15) установлено на опорной раме (30), которая соединена с сельскохозяйственной уборочной машиной (1, 2) и приемным устройством (4, 5), а приемное устройство (4, 5) опирается на машину (1) посредством гидроцилиндров (9) со штоками (8). Кроме того, указанное по меньшей мере одно опорное колесо (15) выполнено управляемым. Технический результат заключается в увеличении прочности конструкции, усовершенствовании колесной опоры и обеспечении хорошей управляемости. 20 з.п. ф-лы, 4 ил.
Настоящее изобретение относится к колесной опоре сельскохозяйственной машины в соответствии с ограничительной частью пунктов 1 и 10 формулы изобретения.
Уровень техники
Из патентного документа ФРГ №19918551 известна сельскохозяйственная уборочная машина такого типа, выполненная в виде полевого измельчителя и оснащенная в своей передней части промежуточной конструкцией, несущей сельскохозяйственный рабочий аппарат. Для того чтобы нагрузка от сельскохозяйственного рабочего аппарата передавалась не только исключительно на переднюю по направлению движения ось базовой машины, по меньшей мере в одном из примеров выполнения предусмотрены опорные колеса. Они создают опору по меньшей мере для части массы сельскохозяйственного рабочего аппарата при ее транспортном движении по дорогам. Прежде всего, преимущество такого решения состоит в том, что при транспортном движении передняя ось базовой машины не должна воспринимать весь вес установленного на машине рабочего аппарата. Однако установка опорных колес на промежуточной конструкции сельскохозяйственной машины требует существенного увеличения прочности промежуточной конструкции, так как при движении по неровному рельефу могут возникать усиленные ударные нагрузки, которые должны восприниматься промежуточной конструкцией. Кроме того, опорные колеса, которые в лучшем случае выполняются в виде поворотных колес пассивного следования (так называемых рояльных колес), неспособны способствовать управлению поворотом сельскохозяйственной машины, так как они совершают поворотное движение вокруг своих примерно вертикальных осей поворотной установки только под действием действующих на них реактивных усилий, а эти реактивные усилия во многом зависят от поверхности, по которой движется машина.
Сущность изобретения
Задача, на решение которой направлено настоящее изобретение, заключается в усовершенствовании колесной опоры сельскохозяйственной машины таким образом, чтобы устранить указанные недостатки известных решений уровня техники и обеспечить оптимальное распределение нагрузок и хорошую управляемость сельскохозяйственной машины.
В соответствии с изобретением решение поставленной задачи достигается за счет создания колесной опоры, оснащенной по меньшей мере одним приемным устройством для установки сельскохозяйственного рабочего аппарата, причем в обращенной к сельскохозяйственному рабочему аппарату области сельскохозяйственной машины установлены одно или несколько опорных колес. Согласно изобретению по меньшей мере одно опорное колесо установлено на опорной раме, которая соединена с сельскохозяйственной уборочной машиной и приемным устройством.
За счет того, что по меньшей мере одно опорное колесо установлено на опорной раме, которая соединена как с сельскохозяйственной уборочной машиной, так и с приемным устройством, обеспечивается силовая передача на землю нагрузки, приходящейся на это по меньшей мере одно опорное колесо, так что может устраняться необходимость в конструктивно громоздком и вследствие этого дорогостоящем упрочнении приемного устройства в области установки по меньшей мере одного опорного колеса.
В другом варианте решение поставленной задачи достигается в колесной опоре сельскохозяйственной машины, оснащенной по меньшей мере одним приемным устройством для установки сельскохозяйственного рабочего аппарата, причем в обращенной к сельскохозяйственному рабочему аппарату области сельскохозяйственной машины установлены одно или несколько опорных колес, причем согласно изобретению по меньшей мере одно опорное колесо выполнено в виде управляемого опорного колеса. Это обеспечивает улучшенную маневренность сельскохозяйственной уборочной машины при движении по криволинейной траектории, что прежде всего проявляется в улучшенном движении на поворотах малого радиуса.
В оптимальном примере выполнения изобретения опорная рама по меньшей мере одного опорного колеса образована первым несущим звеном и по меньшей мере одним другим несущим звеном, причем несущие звенья соединены с возможностью поворота с сельскохозяйственной уборочной машиной и приемным устройством, так что по меньшей мере одно опорное колесо может совершать неограниченные поворотные движения в вертикальном направлении.
Особенно выгодная в отношении передачи усилий конструкция опорной рамы достигается в том случае, когда по меньшей мере первое несущее звено проходит по существу в горизонтальном направлении, а по меньшей мере одно другое несущее звено соединяет опорное колесо с приемным устройством по существу в вертикальном направлении. За счет этого обеспечивается передача лишь невысоких моментов от реактивных усилий, которые создаются на соответствующем опорном колесе, например, при проезде над препятствием.
Особенно оптимальный пример выполнения обеспечивается, если по меньшей мере одно из несущих звеньев выполнено изменяемым по длине. За счет этого обеспечивается надежный постоянный контакт с землей по меньшей мере одного опорного колеса независимо от мгновенного положения приемного устройства.
Особенно простым конструктивным путем это изменение длины по меньшей мере одного несущего звена достигается за счет того, что несущее звено или звенья выполнены в виде подъемного цилиндра и/или телескопического звена.
В этом по меньшей мере одном несущем звене изменяемой длины может быть предусмотрен демпфирующий элемент, предназначенный для демпфирования усилий, передаваемых несущей рамой от базовой машины на землю, и тем самым снижения износа конструктивных элементов.
В оптимальном примере выполнения сельскохозяйственная уборочная машина может быть оснащена несколькими опорными колесами, причем по меньшей мере часть опорных колес или все они выполнены управляемыми, за счет чего сохраняется высокая маневренность сельскохозяйственной уборочной машины даже при большем числе опорных колес.
Особенно простая и экономичная конструкция механизма управления поворотом опорных колес достигается в том случае, когда по меньшей мере первое управляемое опорное колесо и по меньшей мере одно другое управляемое опорное колесо связаны между собой посредством соединительного механизма и с помощью общего цилиндра управления поворотом поворачиваются вокруг примерно вертикальной оси.
Для устранения риска повреждения расположенного вблизи земли механизма управления поворотом в оптимальном примере выполнения этот механизм управления поворотом проходит вдоль несущих звеньев опорных колес и в направлении движения передней ходовой оси сельскохозяйственной машины.
Очень простое конструктивное выполнение механизма управления поворотом достигается в том случае, когда соединительный механизм образован установленными на соответствующих осях поворота рычагами управления поворотом, которые посредством соединительных тяг шарнирно связаны с коленчатыми рычагами, при этом каждый коленчатый рычаг установлен на соответствующем несущем звене с возможностью поворота вокруг по существу вертикальной оси поворота, при этом коленчатые рычаги соседних управляемых опорных колес соединены между собой посредством соединительной траверсы, а по меньшей мере с одним коленчатым рычагом связан цилиндр управления поворотом соединительного механизма.
С целью дальнейшего повышения маневренности оснащенной опорными колесами уборочной машины в оптимальном примере выполнения движение управления поворотом по меньшей мере одного управляемого опорного колеса может быть связано с движением управления поворотом по меньшей мере управляемой ходовой оси сельскохозяйственной уборочной машины. Наиболее простым образом указанная связь управления поворотом обеспечивается посредством связи друг с другом цилиндров управления поворотом по меньшей мере одного опорного колеса и управляемой ходовой оси.
Для снижения до минимума требуемого объема передаваемой рабочей среды и параметров системы передачи среды с помощью известного как такового датчика угла поворота с электронным устройством управления может определяться угол поворота по меньшей мере на одном из ходовых колес управляемой ходовой оси. Этот сигнал угла поворота передается по меньшей мере на один цилиндр управления поворотом по меньшей мере одного управляемого опорного колеса, что приводит к автоматической установке управляемого опорного колеса на инвертированный угол поворота (то есть на угол равной величины, но противоположного направления).
Для того чтобы сельскохозяйственная уборочная машина могла эксплуатироваться также без опорных колес по изобретению, эти опорные колеса вместе с относящейся к ним опорной рамой могут быть выполнены съемными с возможностью демонтажа.
Для того чтобы по меньшей мере одно опорное колесо двигалось по земле даже при снятом сельскохозяйственном рабочем аппарате, между приемным устройством и сельскохозяйственной машиной может быть встроена толкающая штанга, постоянно прижимающая к земле по меньшей мере одно опорное колесо.
Еще в одном оптимальном примере выполнения по меньшей мере одно управляемое опорное колесо, содействующее движению сельскохозяйственной машины, может приводиться также активным приводом поворота.
Перечень фигур чертежей
Примеры осуществления настоящего изобретения будут подробнее описаны ниже со ссылками на прилагаемые чертежи, на которых:
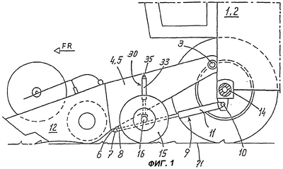
фиг.1 изображает на виде сбоку переднюю часть сельскохозяйственной машины,
фиг 2 изображает более подробно колесную опору в соответствии с изобретением,
фиг 2 изображает колесную опору в соответствии с изобретением в другом примере выполнения,
фиг.4 изображает на виде сверху сельскохозяйственную машину с колесной опорой в соответствии с изобретением.
Сведения, подтверждающие возможность осуществления изобретения
На фиг.1 представлена сельскохозяйственная машина 1, выполненная в виде зерноуборочного комбайна 2. В передней части машины имеется поперечная направлению FR движения ось 3, на которой установлено с возможностью поворота в вертикальном направлении приемное устройство 5, выполненное в виде наклонного конвейера 4, который сам по себе известен. Снизу на наклонном конвейере 4 образованы монтажные проушины 6, в которых установлена поперечная направлению FR движения ось 7 для крепления на ней с возможностью поворота передних концов поршневых штоков 8 подъемных цилиндров 9. Со стороны базовой машины подъемные цилиндры 9 присоединены к сельскохозяйственной машине 1 также с возможностью поворота вокруг поперечной направлению FR движения оси 10. При подаче давления в подъемные цилиндры 9 или отводе давления из них поршневые штоки 8 выдвигаются из цилиндров 11 подъемных цилиндров 9 или втягиваются в них, так что приемное устройство 5 совершает поворот в вертикальном направлении вокруг поперечной оси 3 на базовой машине 1. Кроме обеспечения поворотного движения приемного устройства 5 подъемные цилиндры 9 служат для опоры приемного устройства 5 на базовую машину 1.
Спереди на приемном устройстве 5 смонтирован рабочий аппарат 13, выполненный в виде режущего аппарата 12, который сам по себе известен и здесь подробно не описывается.
Для того чтобы нагрузка от приемного устройства 5 и установленного на нем сельскохозяйственного рабочего аппарата 13 не передавалась исключительно через подъемные цилиндры 9 на базовую машину 1 в области ее передней ходовой оси 14, в области между режущим аппаратом 12 и передней ходовой осью 14 зерноуборочного комбайна 2 с обеих сторон расположены опорные колеса 15. На оси 16 каждого опорного колеса 15 установлена ступица 17. На внутреннем конце ступицы 17 в области опорного колеса выполнен приемный фланец 18 с установленной в нем осью 20 поворота, которая проходит вертикально и в простейшем случае образована пальцем 19, зафиксированным в осевом направлении. В области обода 21 опорного колеса 15 вертикальная ось 20 поворота проходит также насквозь через направляющую проушину 22, которая другим своим концом жестко укреплена по меньшей мере на одном несущем звене 23 в соответствии с изобретением. В представленном примере выполнения для каждого опорного колеса предусмотрено такое несущее звено 23, при этом на каждое несущее звено 23 на конце, предназначенном для установки опорного колеса 15, образована поперечина 24 любой формы. К этой поперечине 24 приварена профильная балка 25, имеющая расширенное поперечное сечение в направлении передней ходовой оси 14 базовой машины 1. Передняя ходовая ось 14 сельскохозяйственной машины 1 спереди снабжена монтажными кронштейнами 26, в которых установлены оси 28, расположенные поперечно направлению FR движения и в простейшем случае образованные зафиксированными в осевом направлении пальцами 27. В промежутки между соседними кронштейнами 26 входят выполненные в виде проушин продолжения профильных балок 25, так что профильные балки 25 опираются на пальцы 27 с возможностью поворота в вертикальном направлении. Таким образом, по меньшей мере одно первое несущее звено 23 опорной рамы 30 в соответствии с изобретением связано с сельскохозяйственной машиной 1 с возможностью поворота в области передней ходовой оси 14.
На поперечине 24 первого несущего звена 23, на его обращенной в сторону от опорного колеса 15 стороне, выполнено монтажное гнездо для крепления переднего конца поршневого штока 32 подъемного цилиндра 33 с возможностью поворота вокруг оси 34, поперечной направлению FR движения. Другой конец подъемного цилиндра 33 также с возможностью поворота вокруг поперечной направлению FR движения оси 35 укреплен на приемном устройстве 5 сельскохозяйственной машины 1. При этом данный подъемный цилиндр 33 образует по меньшей мере одно другое несущее звено 36 опорной рамы 30 по изобретению, которое соединяет с возможностью поворота по меньшей мере одно опорное колесо 15 с приемным устройством 5 сельскохозяйственной машины 1. Таким образом, каждое из опорных колес 15 связано с сельскохозяйственной машиной 1 и с приемным устройством 5 посредством опорной рамы 30, которая состоит из первого несущего звена 23 и по меньшей мере одного другого несущего звена 36. Объем защиты изобретения охватывает пример выполнения, в котором состоящая из двух частей опорная рама 30 выполнена в виде единого узла, который смонтирован на сельскохозяйственной машине 1 с возможностью поворота вокруг одной или нескольких осей 28, проходящих поперечно направлению FR движения. Возможен также пример выполнения, в котором приемное устройство 5 опирается на сельскохозяйственную машину 1 посредством только одного подъемного цилиндра 9 или любого числа подъемных цилиндров.
Особенно выгодный в отношении распределения усилий пример выполнения достигается в том случае, когда первое несущее звено 23 по изобретению соединяет опорные колеса 15 с сельскохозяйственной машиной 1 по существу в горизонтальном направлении, а второе несущее звено 36 по изобретению соединяет опорные колеса 15 с приемным устройством по существу в вертикальном направлении. За счет того, что второе несущее звено выполнено в виде подъемного цилиндра 33, обеспечивается возможность изменения положения опорных колес 15 относительно приемного устройства 5 в вертикальном направлении, так что опорные колеса 15 могут всегда находиться в контакте с землей 71 независимо от положения приемного устройства 5. Объем защиты изобретения предусматривает пример выполнения несущего звена 36 (выполненного в виде подъемного цилиндра 33) в виде телескопического звена 37. При этом в простейшем случае между подвижными относительно друг друга элементами 38, 39 телескопического звена 37 установлена демпфирующая пружина 40 сжатия. Аналогичная демпфирующая пружина может быть также встроена в подъемный цилиндр 9.
В следующей оптимальной модификации осуществления изобретения по фиг.3 палец 19, образующий вертикальную ось 20 поворота опорных колес 15, охватывается на верхнем конце рычагом 41 управления поворотом, который установлен на вертикальном пальце 42. Несущее звено 23 данного опорного колеса 15 снабжено вертикальным пальцем 43, расположенным на конце звена вблизи передней ходовой оси 14 сельскохозяйственной машины 1. На пальце 43 установлен с возможностью поворота коленчатый рычаг 44, на котором жестко укреплены несколько пальцев 45, 46, 47. Первая соединительная тяга 48 соединяет палец 42 рычага 41 управления поворотом с пальцем 45 на коленчатом рычаге 44, при этом соединительная тяга 48 проходит сверху над балкой 25 соответствующего несущего звена 23 в направлении к передней ходовой оси 14 сельскохозяйственной машины 1. В показанном на фиг.3 примере выполнения для соседних опорных колес 15 предусмотрены зеркально расположенные рычаги 41 управления поворотом, соединительные штанги 48 и коленчатые рычаги 44, образующие для каждого колеса частичные механизмы 49, 50 управления поворотом. В области передней ходовой оси 14 оба частичных механизма 49, 50 управления поворотом соединены между собой посредством соединительной траверсы 51, которая шарнирно соединена с задними пальцами 46 коленчатых рычагов 44. К одному из коленчатых рычагов 44 с помощью одного другого пальца 47 шарнирно присоединен цилиндр 52 управления поворотом. Другой конец цилиндра 52 шарнирно укреплен с помощью вертикальной оси 53 на монтажной накладке 54 балки 25. При соответствующей подаче давления в предназначенный для управления поворотом цилиндр 52 двухстороннего действия его поршневой шток 55 выдвигается в корпус или втягивается в него, что вызывает поворот опорного колеса 15 вокруг вертикальной оси 20 в соответствующем направлении. Объем защиты изобретения включает варианты выполнения, в которых сельскохозяйственная машина 1 оснащена только одним управляемым опорным колесом или несколькими управляемыми опорными колесами 15 или же несколькими опорными колесами 15, из которых только часть колес выполнены управляемыми.
В следующей оптимальной модификации может быть предусмотрена связь между движением управления поворотом управляемой ходовой оси 57 сельскохозяйственной уборочной машины 1 с ее управляемыми ходовыми колесами 58 и движением управления поворотом опорных колес 15. В простейшем случае в примере выполнения по фиг.4 это может быть достигнуто за счет того, что на расположенном на базовой машине 1 руле 59 установлен датчик 60 угла поворота. По выходному сигналу датчика в электронном устройстве 61 управления генерируется выходной сигнал для переустановки ходового клапана 62 известной конструкции в зависимости от установки руля 59. С ходовым клапаном 62 связана система линий 63, 64 для сообщения между собой поршневых полостей 65, 66 или штыковых полостей 67, 68 цилиндров 52, 69 управления поворотом, так что ходовые колеса 58 управляемой ходовой оси 57 базовой машины 1 и опорные колеса 15 по изобретению управляются одновременно. В соответствии с выполнением соединительного механизма 48, 49, 50 управления поворотом ходовые колеса 58 управляемой ходовой оси 57 и управляемые опорные колеса 15 разворачиваются в противоположных направлениях, так что управляемые опорные колеса 15 содействуют движению управления поворотом сельскохозяйственной машины 1. Особенно эффективное содействие рулевому управлению достигается в том случае, когда угол поворота опорных колес 15 имеет инвертированную, то есть равную, но с обратным направлением, величину угла поворота ходовых колес 58 управляемой ходовой оси 57 сельскохозяйственной машины 1.
В следующем оптимальном примере выполнения по меньшей мере на одном управляемом ходовом колесе 58 управляемой ходовой оси 57 сельскохозяйственной машины 1 может быть установлен известный сам по себе датчик 70 угла поворота. Этот датчик генерирует сигнал в зависимости от угла поворота ходового колеса 58 и передает его в электронное устройство 61 управления. В устройстве 61 управления в свою очередь генерируется выходной сигнал, который по меньшей мере на одном из управляемых опорных колес непосредственно приводит к повороту по меньшей мере одного управляемого опорного колеса 15 на угол поворота.
Для того чтобы надежно обеспечить опору опорных колес 15 на землю 71 даже при снятом сельскохозяйственном рабочем аппарате 13, подъемные цилиндры 9, которые шарнирно соединены с приемным устройством 5, могут быть выполнены в виде цилиндров двухстороннего действия. При этом с помощью поршневых штоков 8, перемещающихся в корпусе 11 цилиндра 9, может быть установлена величина нагрузки, передаваемой опорными колесами 15 на землю 71. Если же подъемные цилиндры 9 приемного устройства выполнены как цилиндры одностороннего действия, между приемным устройством 5 и сельскохозяйственной машиной 1 может быть встроен силовой цилиндр 72 (фиг.2). При подаче в него давления силовой цилиндр 72 прижимает опорные колеса 15 к земле 71, так что рабочее давление в цилиндре 72 определяет величину нагрузки, воспринимаемой опорными колесами 15.
Объем защиты изобретения предусматривает также, что опорные колеса 15 могут быть выполнены с активным приводом поворота, который является известным и потому не представлен здесь подробно.
Формула изобретения
1. Колесная опора сельскохозяйственной машины, оснащенной по меньшей мере одним приемным устройством для установки сельскохозяйственного рабочего аппарата, причем в обращенной к сельскохозяйственному рабочему аппарату области сельскохозяйственной машины установлены одно или несколько опорных колес, отличающаяся тем, что по меньшей мере одно опорное колесо (15) установлено на опорной раме (30), которая соединена с сельскохозяйственной уборочной машиной (1, 2) и приемным устройством (4, 5), а приемное устройство (4, 5) опирается на машину (1) посредством гидроцилиндров (9) со штоками (8).
2. Колесная опора по п.1, отличающаяся тем, что опорная рама (30) образована первым несущим звеном (23) и по меньшей мере одним другим несущим звеном (36), причем первое несущее звено (23) соединено с сельскохозяйственной уборочной машиной (1, 2), а по меньшей мере одно другое несущее звено (36) соединено с приемным устройством (4, 5).
3. Колесная опора по п.2, отличающаяся тем, что по меньшей мере первое несущее звено (23) проходит, по существу, в горизонтальном направлении.
4. Колесная опора по п.2, отличающаяся тем, что по меньшей мере одно другое несущее звено (36) проходит, по существу, в вертикальном направлении.
5. Колесная опора по любому из пп.1-4, отличающаяся тем, что несущие звенья (23, 36) соединены с возможностью поворота с сельскохозяйственной уборочной машиной (1, 2) и приемным устройством (4, 5).
6. Колесная опора по п.5, отличающаяся тем, что по меньшей мере одно несущее звено (23, 36) выполнено изменяемым по длине.
7. Колесная опора по п.6, отличающаяся тем, что по меньшей мере одно несущее звено (36) изменяемой длины выполнено в виде подъемного цилиндра (33).
8. Колесная опора по п.6, отличающаяся тем, что по меньшей мере одно несущее звено (36) изменяемой длины выполнено в виде телескопического несущего звена (37).
9. Колесная опора по п.8, отличающаяся тем, что изменение длины телескопического несущего звена (37) и/или подъемного цилиндра (33) демпфировано посредством по меньшей мере одного демпфирующего элемента (40).
10. Колесная опора по п.1, отличающаяся тем, что по меньшей мере одно опорное колесо (15) выполнено в виде управляемого опорного колеса (15).
11. Колесная опора по п.10, отличающаяся тем, что в обращенной к сельскохозяйственному рабочему аппарату (12, 13) области сельскохозяйственной машины (1, 2) расположены несколько опорных колес (15), причем по меньшей мере часть опорных колес (15) выполнены управляемыми.
12. Колесная опора по п.11, отличающаяся тем, что по меньшей мере первое управляемое опорное колесо (15) и по меньшей мере одно другое управляемое опорное колесо (15) установлены с возможностью поворота вокруг, по существу, вертикально проходящих осей (19, 20) поворота, причем по меньшей мере первое управляемое опорное колесо (15) и по меньшей мере одно другое управляемое опорное колесо (15) связаны между собой посредством соединительного механизма (48, 49, 50) управления поворотом, а их поворот обеспечивается посредством по меньшей мере одного общего цилиндра (52) управления поворотом.
13. Колесная опора по п.12, отличающаяся тем, что соединительный механизм (48, 49, 50) управления поворотом проходит вдоль каждого несущего звена (23) управляемого колеса, при этом проходящие вдоль несущих звеньев (23) частичные механизмы управления поворотом соединены между собой посредством соединительной траверсы (51) в области передней ходовой оси (14) сельскохозяйственной машины (1, 2).
14. Колесная опора по п.12, отличающаяся тем, что частичный механизм управления поворотом образован установленным на соответствующей оси (19, 20) поворота рычагом (41) управления поворотом, который посредством по меньшей мере одной соединительной тяги (48) шарнирно связан с коленчатым рычагом (44), при этом коленчатый рычаг (44) установлен по меньшей мере на одном другом несущем звене (23) с возможностью поворота вокруг, по существу, вертикальной оси (43) поворота, коленчатые рычаги (44) соседних управляемых опорных колес (15) соединены между собой посредством соединительной траверсы (51), а по меньшей мере с одним коленчатым рычагом (44) связан цилиндр (52) управления поворотом соединительного механизма (48, 49, 50) управления поворотом.
15. Колесная опора по п.13 или 14, отличающаяся тем, что движение управления поворотом по меньшей мере одного управляемого опорного колеса (15) связано с движением управления поворотом по меньшей мере управляемой ходовой оси (57) сельскохозяйственной уборочной машины (1, 2).
16. Колесная опора по п.15, отличающаяся тем, что указанная связь управления поворотом обеспечивается посредством связи друг с другом цилиндров (52, 69) управления поворотом.
17. Колесная опора по п.16, отличающаяся тем, что определяется угол поворота по меньшей мере одного ходового колеса (58) управляемой ходовой оси (57) сельскохозяйственной уборочной машины (1, 2) и по меньшей мере на одном управляемом опорном колесе (15) автоматически устанавливается угол поворота, равный инвертированной величине этого угла поворота.
18. Колесная опора по п.17, отличающаяся тем, что по меньшей мере на одном управляемом ходовом колесе (58) управляемой ходовой оси (57) сельскохозяйственной уборочной машины (1, 2) установлен датчик (70) угла поворота колеса, который вырабатывает сигнал угла поворота колеса и передает его в электронное устройство (61) управления, а электронное устройство (61) управления генерирует сигнал угла поворота по меньшей мере для одного управляемого опорного колеса (15) и передает его на цилиндр (52) управления поворотом по меньшей мере одного управляемого опорного колеса (15), причем сигнал угла поворота вызывает подачу давления в цилиндр (52) управления поворотом или отвод давления из него.
19. Колесная опора по любому из пп.1-4, 6-14, 16-18, отличающаяся тем, что колесная опора (15, 30) выполнена съемной.
20. Колесная опора по любому из пп.1-4, 6-14, 16-18, отличающаяся тем, что между приемным устройством (4, 5) и сельскохозяйственной уборочной машиной (1, 2) встроен тяговый цилиндр (72), связывающий сельскохозяйственную уборочную машину (1, 2) с приемным устройством (4, 5).
21. Колесная опора по любому из пп.10-14, 16-18, отличающаяся тем, что по меньшей мере одно управляемое опорное колесо (15) приводится посредством активного привода поворота.
РИСУНКИ
|
|