|
|
(21), (22) Заявка: 2004102506/09, 17.06.2002
(24) Дата начала отсчета срока действия патента:
17.06.2002
(30) Конвенционный приоритет:
29.06.2001 US 09/895,375
(43) Дата публикации заявки: 27.06.2005
(46) Опубликовано: 20.04.2007
(56) Список документов, цитированных в отчете о поиске:
RU 98111501 A, 20.04.2000. US 5987326, 16.11.1999. WO 9321739, 28.10.1993. WO 9904538, 28.01.1999. НЕВДЯЕВ Л.М., Мобильная связь 3-го поколения, Москва, Связь и бизнес, 2000, с.149-150.
(85) Дата перевода заявки PCT на национальную фазу:
29.01.2004
(86) Заявка PCT:
US 02/19403 (17.06.2002)
(87) Публикация PCT:
WO 03/003593 (09.01.2003)
Адрес для переписки:
129010, Москва, ул. Б. Спасская, 25, стр.3, ООО “Юридическая фирма Городисский и Партнеры”, пат.пов. Ю.Д.Кузнецову, рег.№ 595
|
(72) Автор(ы):
ШАПОННЬЕР Этьенн (US), СОРОКИН Владислав (US)
(73) Патентообладатель(и):
КВЭЛКОММ ИНКОРПОРЕЙТЕД (US)
|
(54) СПОСОБ И УСТРОЙСТВО ДЛЯ УПРАВЛЕНИЯ УРОВНЕМ УСИЛЕНИЯ ДОПОЛНИТЕЛЬНОГО КАНАЛА В СИСТЕМЕ СВЯЗИ МДКР
(57) Реферат:
Изобретение относится к системам сотовой связи. Технический результат заключается в повышении эффективности управления усилением дополнительного канала. Раскрыты способ и устройство в системе связи множественного доступа с кодовым разделением, предназначенные для управления усилением прямого дополнительного канала с помощью определения уровня усиления прямого основного канала, связанного с прямым дополнительным каналом, предназначенным для общей подвижной станции, определения адаптивного запаса регулирования (ЗР) для прямого основного канала и определения усиления прямого дополнительного канала (Удк), на основании усиления прямого дополнительного канала и ЗР. Удк можно последовательно уменьшать для следующих кадров данных, адресованных для общей подвижной станции в прямом дополнительном канале, с помощью последовательного уменьшения ЗР до приема указателя стирания кадра дополнительного канала из общей подвижной станции. Удк можно увеличивать для следующего кадра данных, предназначенного для общей подвижной станции в прямом дополнительном канале с помощью увеличения ЗР после приема указателя стирания кадра дополнительного канала из общей подвижной станции. 3 н. и 14 з.п. ф-лы, 11 ил.
Настоящее изобретение относится, в целом, к области связи, а более конкретно к сотовой системе связи.
В системах связи множественного доступа с кодовым разделением (CDMA, МДКР) несколько пользователей в одной и той же географической области могут работать на общей несущей частоте. Сигнал от каждого пользователя кодируют в соответствии с уникальным назначенным кодом. Приемник может принимать сигналы от различных пользователей с общей несущей частотой. Несмотря на то что сигнал от одного пользователя закодирован, сигналы, переданные от всех остальных пользователей, могут рассматриваться как помеха. Приемник декодирует каждый сигнал в соответствии с назначенным кодом. Кроме того, излишняя передача пользователем может вызвать помеху для других пользователей дополнительно к вызову перегрузки системы в базовой станции. В системе МДКР управляют уровнем мощности сигналов, передаваемых различными пользователями системы, чтобы управлять уровнем помех. Уровнем мощности каждого сигнала управляют в передатчике, чтобы поддерживать подходящее качество приема на принимающем конце. Другие причины, такие как сохранение питания батарейки, для управления уровнем мощности сигналов в системе МДКР хорошо известны обычному специалисту в соответствующей области техники.
Несмотря на то что уровнем мощности передаваемого сигнала от каждого пользователя управляют, чтобы максимизировать использование имеющихся каналов, имеется потребность в увеличенной мобильности и более высоком качестве служб связи. Такие службы связи могут включать в себя беспроводную радиопередачу преобразованной в цифровую форму речи, неподвижных или подвижных изображений, текстовых сообщений и других типов данных. Канал связи между подвижной станцией и базовой станцией может представлять собой два или более соответствующих каналов связи. Один из каналов может быть основным, другой может быть дополнительным каналом. Основной канал может служить в качестве основного канала для всех трафиков между передатчиком и приемником. Дополнительный канал может служить для передачи дополнительных данных. Дополнительный канал может обеспечивать пульсирующий трафик. Уровень усиления каждого канала может основываться на качестве уровня, принятого в приемнике. Однако пульсирующий трафик дополнительного канала может создать неэффективную схему управления мощностью в системе связи. Уровень усиления может основываться на уровне усиления каждого канала связи через схему управления мощностью в системе связи.
В связи с изложенным, а также и по другим причинам существует потребность в эффективном управлении усилением дополнительного канала в системе связи.
В системе связи множественного доступа с кодовым разделением обеспечены способ и устройство для управления усилением прямого дополнительного канала с помощью определения уровня усиления взаимодействующего с ним прямого основного канала (Gfch, Уок), определения адаптивного запаса регулирования (Ма, ЗР) для прямого дополнительного канала и определения усиления прямого дополнительного канала (Gsch, Удк) на основании Уок и ЗР. Прямой дополнительный канал передают в подвижную станцию на определенном уровне Удк. Может быть определен коэффициент скорости данных на основании скорости данных прямого основного канала и скорости данных прямого дополнительного канала. Дополнительно Удк может основываться на коэффициенте скорости данных. Удк можно последовательно уменьшать для следующих кадров данных, адресованных для общей подвижной станции по прямому дополнительному каналу, с помощью последовательного уменьшения ЗР. Удк можно уменьшать для следующего кадра данных, адресованного для одной и той же общей подвижной станции по прямому дополнительному каналу, с помощью увеличения ЗР после приема указателя стирания кадра дополнительного канала из общей подвижной станции.
Признаки, задачи и преимущества настоящего изобретения станут более понятными из подробного описания, приведенного ниже, при рассмотрении совместно с чертежами, на которых одинаковые ссылочные символы соответственно указаны по всем чертежам и на которых:
фиг.1 иллюстрирует систему 100 связи, которая может работать в соответствии с различными вариантами осуществления изобретения;
фиг.2 иллюстрирует приемник системы связи, предназначенный для работы в подвижной станции и базовой станции, который может работать в соответствии с различными вариантами осуществления изобретения;
фиг.3 иллюстрирует блок-схему, предназначенную для управления уровнем мощности канала связи между подвижной станцией и базовой станцией, которые могут иметь регулируемые рабочие параметры в соответствии с различными вариантами осуществления изобретения;
фиг.4 иллюстрирует примерную структуру канала прямой линии связи;
фиг.5 иллюстрирует примерную структуру канала обратной линии связи;
фиг.6 иллюстрирует примерную структуру кадра канала управления мощностью;
фиг.7 иллюстрирует различные примерные режимы управления мощностью прямой линии связи;
фиг.8 иллюстрирует передатчик системы связи, который может работать в соответствии с различными аспектами изобретения;
фиг.9 иллюстрирует примерное состояние замирания канала и соответствующее состояние усиления канала;
фиг.10 иллюстрирует примерный уровень усиления дополнительного канала, определенный в соответствии с различными аспектами изобретения;
фиг.11 иллюстрирует блок-схему, предназначенную для определения адаптивного запаса регулирования ЗР, используемого для определения уровня усиления дополнительного канала.
Вообще говоря, предоставлены новые и усовершенствованные способ и соответствующее устройство для эффективного управления усилением дополнительного канала в системе связи МДКР. Один или более примерных вариантов осуществления, описанных в настоящем описании, приведены в контексте цифровой системы радиосвязи. Несмотря на то что использование, раскрытое в этом контексте, является преимущественным, различные варианты осуществления изобретения могут содержаться в различных средах или конфигурациях. Обычно различные системы, описанные в настоящем описании, могут быть сформированы с использованием процессоров, управляемых программным обеспечением, интегральных схем или дискретной логики. Данные, инструкции, команды, информация, сигналы, символы и элементарные посылки, которые могут упоминаться по всей заявке, преимущественно представлены с помощью напряжений, токов, электромагнитных волн, магнитных полей или частиц, оптических полей или частиц или их комбинации. Кроме того, блоки, изображенные на каждой блок-схеме, могут представлять аппаратное обеспечение или этапы способа.
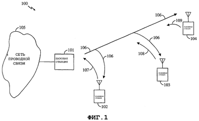
Фиг.1 иллюстрирует общую блок-схему системы 100 связи, которая может работать в соответствии с любым стандартом системы связи множественного доступа с кодовым разделением (МДКР), в то же время содержит различные аспекты изобретения. В целом система 100 связи включает в себя базовую станцию 101, которая обеспечивает линии связи между рядом подвижных станций, таких как подвижные станции 102-104, и между подвижными станциями 102-104 и сетью 105 проводной связи. Базовая станция 101 может включать в себя ряд компонентов, таких как контроллер подвижной станции, контроллер базовой станции и радиочастотный приемопередатчик. Для простоты такие компоненты не изображены. Базовая станция 101 также может взаимодействовать с другими базовыми станциями (не изображены). Базовая станция 101 взаимодействует с каждой подвижной станцией 102-104 через прямую линию связи. Прямая линия связи может поддерживаться сигналом прямой линии связи, передаваемым из базовой станции 101. Сигналы прямой линии связи, адресованные для подвижных станций 102-104, могут суммироваться, чтобы сформировать сигнал 106 прямой линии связи. Каждая из подвижных станций 102-104, принимающая сигнал 106 прямой линии связи, декодирует сигнал 106 прямой линии связи, чтобы извлечь информацию, которая адресована для ее пользователя.
Подвижные станции 102-104 взаимодействуют с базовой станцией 101 через соответствующие обратные линии связи. Каждая обратная линия связи поддерживается сигналом обратной линии связи, таким как сигналы 107-109 обратной линии связи, для соответствующих подвижных станций 102-104. Базовая станция 101 также может передавать заранее определенную последовательность бит данных в пилот-канале через прямую линию связи во все подвижные станции, чтобы помочь каждой подвижной станции при декодировании сигнала 106 прямой линии связи. Каждая из подвижных станций 102-104 может передавать пилот-канал в базовую станцию 101. Пилот-канал, переданный из подвижной станции, может использоваться для декодирования информации, переносимой сигналом обратной линии связи, переданным из той же самой подвижной станции. Использование и работа пилот-канала хорошо известны. Передатчик и приемник для связи через прямую и обратную линии связи включены в каждую подвижную станцию 102-104 и базовую станцию 101.
Фиг.2 иллюстрирует блок-схему приемника 200, используемого для обработки сигналов МДКР. Приемник 200 демодулирует принятый сигнал, чтобы извлечь информацию, переносимую принятым сигналом. Выборки (Rx, Пр) приема могут запоминаться в RAM, ОЗУ 204. Выборки приема генерируют с помощью системы 290 радиочастоты/промежуточной частоты (RF/IF, РЧ/ПЧ) и системы 292 антенны. Система 292 антенны принимает РЧ-сигнал и передает РЧ-сигнал в систему 290 РЧ/ПЧ. Система 290 РЧ/ПЧ может быть любым традиционным приемником РЧ/ПЧ. Принятые РЧ-сигналы фильтруют, преобразуют с понижением частоты и преобразуют в цифровой вид, чтобы сформировать выборки Пр с частотами основной полосы частот. Выборки подают в демультиплексор 202. Выходной сигнал демультиплексора 202 подают в устройство 206 поиска и отводные элементы 208 (отводы). Устройство 210 управления соединено с ними. Устройство 212 объединения соединяет декодер 214 с отводами 208. Устройство 210 управления может быть микропроцессором, управляемым программным обеспечением, и может находиться в одной и той же интегральной схеме или в отдельной интегральной схеме. Декодер 214 может включать в себя эквалайзер (не изображен). Функция декодирования может быть объединена с функцией эквалайзера в декодере 214. Функция декодирования в декодере 214 может быть в соответствии с алгоритмом Витерби программируемого выходного сигнала конкатенированной, с обратной связью или без обратной связи, с функциями эквалайзера.
Во время работы выборки приема подают в демультиплексор 202. Демультиплексор 202 подает выборки в устройство 206 поиска и отводные элементы 208. Устройство 210 управления конфигурирует отводные элементы 208 таким образом, чтобы выполнять демодуляцию принятого сигнала с различными смещениями времени на основании результатов поиска из устройства 206 поиска. Результаты демодуляции объединяют и передают в декодер 214. Декодер 214 декодирует данные и выводит декодированные данные.
Обычно для поиска устройство 206 поиска может использовать некогерентную демодуляцию пилот-канала, чтобы проверить гипотезы синхронизации и фазовые сдвиги, соответствующие различным источникам передачи и множественным маршрутам. Демодуляция, выполняемая с помощью отводов 208, может выполняться через когерентную демодуляцию других каналов, таких как управляющий канал и канал трафика. Информация, извлеченная устройством 206 поиска с помощью демодуляции пилот-канала, может использоваться в отводах 208 для демодуляции других каналов. Устройство 206 поиска и отводные элементы 208 могут обеспечить как поиск пилот-канала, так и демодуляцию управляющего канала и канала трафика. Демодуляция и поиск могут быть выполнены с различными смещениями времени. Результаты демодуляции могут быть объединены в устройстве 212 объединения перед декодированием данных, передаваемых в каждом канале. Сужение каналов выполняют с помощью умножения принятых выборок на сопряженное комплексное число ПШ последовательности и назначенную функцию Уолша при одной гипотезе синхронизации и фильтрации в цифровом виде результирующих выборок, часто с помощью схемы интегрирования и накопителя выдачи (не изображена). Такой способ широко известен в данной области техники. Приемник 200 может использоваться в базовой станции 101 и подвижных станциях 102-104 для декодирования информации в соответствующих сигналах прямой и обратной линий связи. Базовая станция 101 может использовать несколько приемников 200, чтобы декодировать информацию, переданную из нескольких подвижных станций одновременно.
Приемник 200 также может выполнять подавление помех через процесс корреляции. Принятые выборки, после того как они считаны из ОЗУ 204, передают через процесс корреляции для каждого принятого сигнала. Процесс корреляции, в целом, может быть описан как операции устройства 206 поиска, отводных элементов 208 и устройства 212 объединения. Поскольку принятые выборки содержат выборки из сигналов, переданных из более чем одного источника передачи, процесс корреляции может повторяться для каждого принятого сигнала. Процесс корреляции для каждого принятого сигнала может быть уникальным, поскольку каждый сигнал может требовать разные параметры корреляции, как параметры, находящиеся в операциях устройства 206 поиска, отвода 208 и устройства 212 объединения. Каждый сигнал может включать в себя канал трафика и пилот-канал. ПШ последовательность, назначенная каналу трафика и пилот-каналу, переносимая каждым сигналом, может быть разной. Процесс корреляции может включать в себя оценку канала, которая включает в себя оценку характеристик замирания канала на основании результата корреляции с пилот-каналом. Информация оценки канала используется для корреляции с каналом трафика. Затем каждый канал трафика декодируют. Операция декодирования канала трафика может быть объединена с операцией эквалайзера.
Результат из каждого процесса корреляции можно передавать через процесс декодирования в декодер 214. Если переданный канал закодирован посредством сверточного кодирования, декодирование в декодере 214 выполняют в соответствии с использованным сверточным кодом. Если переданный канал закодирован посредством процесса турбокодирования, декодирование в декодере 214 выполняют в соответствии с использованным турбокодом.
Каждый сигнал может быть декодирован, чтобы обеспечить достаточно информации относительно того, создан ли указатель прохождения для каждого контроля избыточным циклическим кодом (CRC, КИЦК), связанным с каждым переданным кадром данных. Операция и использование КИЦК в системе связи хорошо известны. Если КИЦК прошел, декодированный результат канала, связанного с прошедшим КИЦК, может быть передан для дальнейшей операции приема.
Сигналы, принятые базовой станцией 101, могут быть введены в приемник 200. Система 292 антенны и система 290 РЧ/ПЧ принимают сигналы из подвижных станций 102-104, чтобы создать выборки принятых сигналов. Принятые выборки могут быть запомнены в ОЗУ 204. Приемник 200 может содержать несколько устройств 206 поиска, несколько отводных элементов 208, несколько устройств 212 объединения и несколько декодеров 214 для одновременного выполнения процесса корреляции и процесса декодирования для всех сигналов, принятых из различных подвижных станций. Однако может потребоваться только одна система 292 антенны и система 290 РЧ/ПЧ.
Каждый раз, когда начинается процесс корреляции, устройство 206 поиска и отвод 208 могут начинать работать заново для определения некогерентной демодуляции пилот-канала, чтобы проверить гипотезы синхронизации и фазовые сдвиги. Устройство 206 поиска или отвод 208 или устройство 206 поиска и отвод 208 вместе могут определить отношение сигнала к помехе (S/I) для каждого принятого сигнала. Отношение Eb/I может быть тождественным отношению S/I. Отношение Eb/I является показателем энергии сигнала относительно помехи на единицу символов данных или бит данных. Следовательно, S/I и Eb/I могут быть взаимозаменяемыми в некоторых аспектах. Обычно помеха может быть определена как спектральная плотность мощности помехи и теплового шума.
Для того чтобы управлять помехой и поддерживать подходящую емкость системы, в то же время давая возможность подходящего приема на принимающем конце, система управляет уровнем усиления каждого переданного канала из каждого источника передачи или скоростью данных каждого переданного канала, или и тем и другим вместе. Уровень усиления может быть определен через схему управления мощностью в системе 100 связи. Известны различные схемы управления мощностью для управления уровнями мощности сигналов в системе 100 связи. Один или более примеров описаны в стандарте “Mobile Station-Base Station Compatibility Standard for Wideband Spread Spectrum Cellular Systems”, иначе известном как стандарты TIA/EIA-95 и TIA/EIA-2000, включенные в настоящее описание в качестве ссылки.
Уровнем усиления каждого канала можно управлять с помощью двух независимых контуров управления мощностью, а именно открытого контура и замкнутого контура. Управление мощностью с открытым контуром основано на необходимости каждой подвижной станции поддерживать подходящую линию связи с базовой станцией. Следовательно, подвижная станция, расположенная ближе к базовой станции, требует меньшую мощность, чем подвижная станция, расположенная дальше. При управлении мощностью с открытым контуром передатчик устанавливает уровень усиления передаваемого канала на основании независимых измерений S/I, по меньшей мере, одного принятого канала, такого как пилот-канал, пейджинговый канал, канал синхронизации и канал трафика.
Фиг.3 иллюстрирует различные этапы блок-схемы 300 примерного управления мощностью с замкнутым контуром. Работа схемы 300 управления мощностью с замкнутым контуром начинается, когда подвижная станция в системе 100 связи захватывает канал трафика прямой линии связи. После первоначальной попытки доступа мобильной станцией мобильная станция устанавливает начальный уровень усиления обратного канала. Установку начального уровня усиления по обратной линии связи затем регулируют во время следующих передач. Управление мощностью с замкнутым контуром обеспечивает коррекцию для управления мощностью с открытым контуром.
Для того чтобы управлять уровнем мощности канала обратной линии связи из подвижной станции, базовая станция 101 на этапе 301 измеряет отношение сигнала к помехе (S/I) канала обратной линии связи, переданного из подвижной станции. Измеренное отношение S/I сравнивают с точкой установки S/I на этапе 302. Измеренное S/I может быть в виде Eb/I, которое является отношением энергии бит к помехе. Точка установки может быть в том же самом виде. Точку установки выбирают для подвижной станции. Точка установки сначала может основываться на установке мобильной станцией мощности с открытым контуром.
Если измеренное S/I больше, чем точка установки на этапе 303, базовая станция 101 подает команду подвижной станции, чтобы уменьшить уровень усиления канала обратной линии связи на величину, например, 1 децибел. Когда измеренное S/I больше, чем точка установки, это указывает, что подвижная станция передает по каналу обратной линии связи на уровне усиления, большем, чем требуется для того, чтобы поддерживать подходящую связь обратной линии связи. В результате подвижной станции подают команду, чтобы уменьшить уровень усиления ее канала обратной линии связи, чтобы уменьшить помеху всей системы. Если измеренное S/I меньше, чем точка установки на этапе 304, базовая станция 101 подает команду подвижной станции, чтобы увеличить уровень усиления канала обратной линии связи на величину, например, 1 децибел. Когда измеренное S/I меньше, чем точка установки, это указывает, что подвижная станция передает по каналу обратной линии связи на уровне усиления, меньшем, чем требуется для того, чтобы поддерживать подходящую связь обратной линии связи. В результате увеличения уровня мощности подвижная станция может преодолеть уровень помехи и обеспечить подходящую передачу по обратной линии связи.
Операции, выполняемые на этапах 302-304, могут быть упомянуты как управление мощностью с внутренним контуром. Управление мощностью с внутренним контуром поддерживает S/I обратной линии связи в базовой станции 101 как можно ближе к его целевому порогу, как обеспеченному точкой установки. Отношение S/I основано на точке установки, выбранной для подвижной станции. Повышение мощности и понижение мощности может выполняться несколько раз в течение временного кадра. Один временной кадр может быть разделен на 16 групп управления. Каждая группа управления мощностью состоит из нескольких символов данных. Команда повышения мощности или понижения мощности может передаваться 16 раз в течение кадра. Если один кадр данных не принят на этапе 305, схема 300 управления мощностью продолжает измерять S/I сигнала обратной линии связи в течение следующей группы управления мощностью на этапе 301. Процесс продолжается на этапах 302-304 до тех пор, пока не будет принят, по меньшей мере, один кадр данных от подвижной станции.
Одна точка установки или цель может не быть удовлетворительной для всех состояний. Следовательно, точка установки, используемая на этапе 302, также может изменяться в зависимости от требуемой частоты ошибок канала обратной линии связи. Если один кадр данных принят на этапе 305, новая точка установки отношения S/I может быть вычислена на этапе 306. Новая точка установки становится новой целью S/I для подвижной станции. Новая точка установки может основываться на ряде факторов, включая частоту ошибок кадров. Например, если частота ошибок кадров выше заранее определенного уровня, указывающего неприемлемую частоту ошибок кадров, точка установки может быть поднята до более высокого уровня. При поднятии точки установки до более высокого уровня подвижная станция в результате увеличивает уровень усиления канала обратной линии связи посредством сравнения на этапе 302 и команды повышения мощности на этапе 304. Если частота ошибок кадров ниже заранее определенного уровня, указывающего приемлемую частоту ошибок кадров, точка установки может быть понижена до более низкого уровня. При понижении точки установки до более низкого уровня подвижная станция в результате уменьшает уровень усиления канала обратной линии связи посредством сравнения на этапе 302 и команды понижения мощности на этапе 303. Операции, выполняемые на этапах 305-306, повторяемые в цикле из этапа 306 на этап 302, чтобы указать новую точку установки, и повторяемые в цикле на этап 301 для измерения S/I, можно рассматривать как операцию внешнего контура. Управление мощностью с внешним контуром может подавать команду один раз в каждом кадре. Управление мощностью с замкнутым контуром может подавать команду один раз в каждой группе управления мощностью. Одни кадр и одна группа управления мощностью могут быть соответственно 20 и 1,25 мсек по длительности.
Система 100 связи может использовать схему управления мощностью прямой линии связи, чтобы уменьшить помеху. Подвижные станции 102-104 периодически взаимодействуют с базовой станцией 101 относительно качества речи и данных. Результаты измерений частоты ошибок кадров и качества сообщают на базовую станцию 101 через сообщение отчета измерения мощности. Сообщение содержит число кадров, принятых с ошибками по каналу прямой линии связи в течение интервала времени. Уровень усиления канала прямой линии связи регулируют на основании числа ошибок кадров. Для быстрого ответа может использоваться бит стирания обратной линии связи, чтобы информировать базовую станцию 101, был ли принят предыдущий кадр с ошибкой или без ошибки. Усиление мощности канала можно постоянно регулировать, в то же время постоянно отслеживая сообщение или бит стирания.
На фиг.4 показана структура 400 канала прямой линии связи, которая изображает структуру кодовых каналов, которые могут передаваться базовой станцией 101. Структура 400 канала прямой линии связи включает в себя прямой канал 410. Прямой канал 410 может включать в себя прямой канал 480 трафика и прямой пилот-канал 440. Прямой канал 480 трафика включает в себя, по меньшей мере, прямой основной канал 481. Каждый прямой основной канал 481 может иметь связанный прямой дополнительный канал 482. Ресурсы, используемые для передачи прямого дополнительного канала 482, могут разделяться между подвижными станциями 102-104. В этом случае прямой дополнительный канал 482 может упоминаться как прямой совместный дополнительный канал 482. Уровнями усиления прямого основного канала 481 и связанного с ним прямого дополнительного канала 482 можно управлять различными вариантами.
На фиг.5 показана структура 500 канала обратной линии связи, которая изображает структуру кодовых каналов обратной линии связи, которые могут передаваться подвижными станциями 102-104. Структура 500 канала обратной линии связи включает в себя канал 510 обратной линии связи. Канал 510 обратной линии связи, среди нескольких каналов, включает в себя обратный канал 540 трафика для радиоконфигураций от трех до шести. Различные радиоконфигурации описаны в соответствующих стандартах, включенных в настоящее описание в качестве ссылки. Обычно взаимодействие между базовой станцией 101 и подвижными станциями 102-104 может ограничиваться множеством заранее определенных скоростей данных и схем модуляции в каждой радиоконфигурации. Обратный канал 540 трафика, среди нескольких каналов, включает в себя обратный пилот-канал 541, обратный основной канал 542 и обратный подканал 543 управления мощностью. Обратный пилот-канал 541 и обратный подканал 543 управления мощностью мультиплексируют вместе в каждой группе управления мощностью в кадре данных. Данные, переданные через обратный подканал 543 управления мощностью, могут быть использованы для управления уровнями усиления прямого основного канала 481 и связанного с ним дополнительного канала 482 в соответствии с различными вариантами осуществления.
Ссылаясь на фиг.6, кадр 600 данных изображает мультиплексирование пилот-данных обратного пилот-канала 541 и данных управления мощностью обратного подканала 543 управления мощностью. Каждый кадр может содержать 16 групп управления мощностью. Группа 610 управления мощностью изображает мультиплексирование пилот-данных обратного пилот-канала 541 и данных управления мощностью обратного подканала 543 управления мощностью в каждой группе управления мощностью. Каждая группа 610 управления мощностью используется для того, чтобы передавать данные обратного пилот-канала 541 и обратного подканала 543 управления мощностью. Обратный подканал 543 управления мощностью применяется к радиоконфигурациям от трех до шести. Каждая подвижная станция поддерживает внутренний и внешний контуры управления мощностью для прямого канала 480 трафика. Внешний контур управления мощностью оценивает величину точки установки на основании Eb/Nt, чтобы достичь целевой частоты ошибок кадров в каждом назначенном прямом канале 480 трафика. Внутренний контур управления мощностью сравнивает Eb/Nt принятого прямого канала трафика с соответствующей точкой установки внешнего контура управления мощностью, чтобы определить значение бит управления мощностью, посылаемых в базовую станцию 101 в обратном подканале 543 управления мощностью. Обратный подканал 543 управления мощностью может использоваться каждой подвижной станцией 102-104, чтобы передавать в базовую станцию 101 бит указателя стирания (EIB, БУС) или бит указателя качества (QIB, БУК). Значения БУС или БУК из конкретной подвижной станции определяет для базовой станции 101, увеличивать ли или уменьшать уровень мощности прямого канала 480 трафика, адресованного для этой конкретной подвижной станции, или повторную передачу данных в следующем кадре данных, или и то и другое.
Система 100 связи может использовать несколько режимов схемы прямого управления мощностью. Прямой канал 480 трафика включает в себя прямой основной канал 481 и прямой дополнительный канал 482. Прямой основной канал 481, для прямого управления мощностью, может рассматриваться как первичный канал, а дополнительный канал 482 как вторичный канал. Один кадр данных может быть равен 20 мсек. Каждый кадр данных может включать в себя 16 групп управления мощностью. Следовательно, если шестнадцать групп управления мощностью используют для управления уровнем усиления прямого канала, скорость обратной связи равна 800 бит/сек. Если управляют уровнями мощности двух прямых каналов, таких как прямой основной канал 481 и прямой дополнительный канал 482, скорость обратной связи меньше чем 800 бит/сек. Для того чтобы управлять уровнем усиления первичного и вторичного каналов с разными скоростями обратной связи, могут использоваться различные режимы прямого управления мощностью.
На фиг.7 показана таблица 700, которая предоставляет различные режимы прямого управления мощностью в соответствии с различными вариантами осуществления. Например, для режима “000” используют все шестнадцать групп управления мощностью для управления мощностью первичного канала, такого как основной канал 481. В другом примере в режиме “110” используют четные пронумерованные группы управления мощностью, чтобы передавать бит управления мощностью, относящиеся к первичному каналу, такому как основной канал 481. Нечетные пронумерованные группы управления мощностью используют, чтобы передавать БУК или БУС, связанный со вторичным каналом, таким как дополнительный канал 482. Прямой основной канал 481 из базовой станции 101 в подвижную станцию может иметь один или два связанных прямых дополнительных канала, таких как прямой дополнительный канал 482. Связанный прямой дополнительный канал 482 используют, чтобы передавать данные в подвижную станцию дополнительно к данным, передаваемым в прямом основном канале 481. Ресурсы, используемые для передач дополнительного канала 482, могут разделяться между несколькими прямыми основными каналами.
На фиг.8 изображена блок-схема 800 передатчика в соответствии с различными вариантами осуществления. Передатчик 800 может использоваться в базовой станции 101 для передачи данных в подвижные станции 102-104 по прямому основному каналу 481 и прямому дополнительному каналу 482. Вход 810 принимает данные для передачи по прямому основному каналу 481. Данные могут приниматься из сети 105 проводной линии связи. Данные могут быть адресованы для подвижной станции, такой как подвижные станции 102-104. Каждая подвижная станция при взаимодействии по прямой линии связи с базовой станцией 101 может иметь прямой основной канал 481. Дополнительные данные могут передаваться в целевую подвижную станцию по прямому дополнительному каналу 482.
Данные, передаваемые по прямому основному каналу 481, могут быть непрерывными в течение нескольких кадров 899 данных. Каждый кадр данных может быть длительностью 20 мсек в соответствии с вариантом осуществления. Данные в прямом дополнительном канале 482 могут передаваться нерегулярно в нескольких кадрах 898 данных в целевую подвижную станцию. Входы 850А-850М принимают данные для передачи по прямому дополнительному каналу 482 для нескольких подвижных станций. Планировщик 860 дополнительного канала выбирает данные на входе 850 для передачи в кадрах 898 данных по дополнительному каналу 482. В одном примере планировщик 860 дополнительного канала может выбирать из кадров 898 данных кадры “n, n+3, n+4 и n+8” данных для передачи данных по дополнительному каналу 482 на подвижную станцию 102. Кадры “n+1 и n+7” данных могут выбираться для передачи данных по дополнительному каналу 482 на подвижную станцию 103. Кадры “n+2, n+5 и n+6” данных могут выбираться для передачи данных по дополнительному каналу 482 на подвижную станцию 104. По обратному подканалу 543 управления мощностью подвижные станции 102-104 передают указатель стирания в базовую станцию 101 в течение каждого кадра данных. Указатель стирания указывает ошибочные или безошибочные принятые данные по прямому дополнительному каналу 482. Подвижные станции 102-104 не имеют предварительной информации о планировании данных в различных кадрах 898 данных. Подвижные станции 102-104 пытаются декодировать данные в дополнительном канале 482 в течение каждого кадра данных. Если данные, принятые по дополнительному каналу 482, приняты с ошибками или адресованы для другой подвижной станции, указатель стирания указывает, что ошибочный прием передан в базовую станцию 101 в обратном подканале 543 управления мощностью. Базовая станция 101 может игнорировать указатели стирания из подвижных станций, которые не выбраны для передачи в дополнительном канале 482. Например, базовая станция 101 ожидает принять в течение кадра “n” данных с определенным временем задержки из-за подтверждения приема указатель стирания, указывающий ошибочный или безошибочный прием переданных данных в обратном подканале 543 управления мощностью из подвижной станции 102 в ответ на передачу данных в дополнительном канале 482 в течение кадра “n” данных.
Данные в дополнительном канале 482 и основном канале 481 модулируют и кодируют в блоках 861 и 862 соответственно для передачи на подвижную станцию. Схема модуляции и этапы кодирования описаны в спецификации, по меньшей мере, одного из стандартов, такого как стандарт IS-2000, включенных в настоящее описание в качестве ссылки. Усиление дополнительного канала 482 и основного канала 481 может быть выбрано устройством 890 выбора усиления канала в соответствии с вариантом осуществления. Например, усиление прямого основного канала 481 может быть выбрано на основании схемы управления мощностью прямой линии связи, используемой в системе 100 связи. В случае, когда обратный подканал 543 управления мощностью указывает плохой прием основного канала 481, усиление основного канала 481 может быть увеличено через контуры управления мощностью прямой линии связи, чтобы улучшить Eb/Nt в целевой подвижной станции. В случае, когда обратный подканал 543 управления мощностью указывает хороший прием основного канала 481, усиление основного канала 481 может быть уменьшено до более низкого Eb/Nt в целевой подвижной станции.
Уровень усиления дополнительного канала 482 может быть определен на основании уровня усиления, выбранного для основного канала 481 в соответствии с вариантом осуществления. Каждый кадр данных дополнительного канала 482 может быть связан с основным каналом 481, адресованным для определенной подвижной станции. Следовательно, уровень усиления дополнительного канала 482 может быть определен на основании выбранного уровня усиления связанного с ним основного канала 481 в соответствии с вариантом осуществления. После регулировок усиления в блоках 861 и 862 кодера и модулятора выходные сигналы проходят через блок 863 модуляции несущей частоты. Результирующий сигнал может быть усилен перед тем, как быть переданным из множества антенн 864 в подвижные станции 102-104.
Сигналы, передаваемые между подвижными станциями 102-104 и базовой станцией 101, могут распространяться через канал с различными состояниями замирания. Состояние канала аддитивного белого гауссовского шума (AWGN, АБГШ) аппроксимирует состояние канала медленного замирания для сигнала. Контур управления мощностью прямой линии связи, используемый для управления уровнем усиления канала между подвижными станциями 102-104 и базовой станцией 101, может использовать уровень порога Eb/Nt, такой, что частота ошибок кадров поддерживается на подходящем уровне. Порог Eb/Nt может поддерживаться и выбираться с помощью контура управления мощностью прямой линии связи таким образом, что среднее усиление канала находится на уровне выше уровня сигнала АБГШ. Среднее усиление канала может поддерживаться на уровне, сравнимом с уровнем АБГШ плюс запас регулирования. С помощью обеспечения возможности для среднего усиления канала быть выше уровня АБГШ при состоянии замирания канала частота ошибок кадров поддерживается на подходящем уровне большую часть времени. Один кадр из множества кадров может поступать с плохим отношением сигнала к шуму, вызывая ошибку кадра в приемнике. Такая ошибка кадра происходит в глубокой части состояния замирания канала.
Ссылаясь на фиг.9, график 900 изображает пример состояния 902 замирания канала и усиления 901 канала относительно времени. Усиление канала находится на максимальном уровне, когда состояние замирания канала находится в нижней точке. АБГШ канала может быть на уровне 903 усиления. Среднее усиление канала с помощью управления мощностью может быть установлено на среднем уровне 904 усиления. Запас регулирования между уровнем 903 усиления и средним уровнем 904 усиления дает возможность связи через канал при подходящей частоте ошибок кадров при большинстве состояний замирания. Связь в нижней части состояния замирания может иметь результатом ошибочный прием одного или более кадров. Такая модель усиления канала и связанная схема управления мощностью очень хорошо работает для прямого основного канала 481 благодаря его непрерывному характеру связи с подвижной станцией в течение периода времени.
Связь через дополнительный канал 482, адресованный для той же самой подвижной станции, может быть случайной. Дополнительный канал 482 может быть разделен между несколькими подвижными станциями 102-104. Состояние основного канала 481 в каждой подвижной станции может быть неодинаковым. Состояние канала в одной подвижной станции может быть лучше, чем в остальных. В таком случае связь по дополнительному каналу может основываться на индексе приоритета для каждого кадра данных. Например, если индекс приоритета подвижной станции выше, чем остальные, и подвижная станция имеет прямой дополнительный канал 482 с базовой станцией 101, непосредственно следующий кадр данных в дополнительном канале 482 может быть использован для того, чтобы передавать данные в подвижную станцию. Планировщик 860 дополнительного канала может использоваться для того, чтобы планировать данные на входе 850, соответствующем подвижной станции с самым высоким индексом приоритета. В одном примере индекс приоритета может быть равен обратной величине произведения средней пропускной способности (Т) и усиления сигнала связанного прямого основного канала 481. Индекс приоритета может быть вычислен для каждой подвижной станции.
Уровень мощности прямого основного канала 481 может основываться на периодической обратной связи из подвижной станции. Прямой основной канал 481 обычно имеет непрерывную связь данных между приемником и передатчиком. Следовательно, средний уровень 904 усиления прямого основного канала 481 может находиться на уровне выше уровня абсолютного минимума АБГШ, который рассчитывается для изменений в канале распространения по времени. Связь по прямому дополнительному каналу 482 может быть случайной для подвижной станции, в зависимости от индекса приоритета подвижной станции. В таком случае прямой дополнительный канал 482 и прямой основной канал 481 не испытывают одинаковых состояний канала в соответствии с вариантом осуществления.
Ссылаясь на фиг.10, график 1000 изображает изменение канального усиления дополнительного канала 482, как определенное в соответствии с различными вариантами осуществления. Усиление дополнительного канала 482 (Удк) может быть установлено равным усилению основного канала 481 (Уок) плюс адаптивный запас регулирования (ЗР). Усиление дополнительного канала 482 (Удк) также может зависеть от коэффициента скорости данных в соответствии с вариантом осуществления. Коэффициент скорости данных может основываться на скорости данных дополнительного канала 482 (Rsch, Сдк) и скорости данных связанного основного канала 481 (Rsch, Сок). Адаптивный запас регулирования ЗР может изменяться с каждым кадром данных, планируемым для подвижной станции в соответствии с вариантом осуществления. Например, в начальный момент времени кадр 1 данных Сдк может быть на уровне “А”. В кадре 2 данных, следующий кадр данных, планируемый для передачи в дополнительном канале 482 в ту же самую подвижную станцию, Сдк уменьшают на величину до уровня “В”. В кадре 3 данных, следующий кадр данных, планируемый для передачи в дополнительном канале 482 в ту же самую подвижную станцию, Сдк опять уменьшают на величину до уровня “С”. В кадре 8 данных, следующий кадр данных, планируемый для передачи в дополнительном канале 482 в ту же самую подвижную станцию, Сдк опять уменьшают на величину до уровня “D”. Уменьшение усиления дополнительного канала Удк может быть выполнено с помощью регулирования адаптивного запаса регулирования ЗР перед каждой передачей.
Если кадр данных в дополнительном канале 482 принят с ошибками, Уок для следующего планируемого кадра данных увеличивают на величину, достаточно большую, чтобы, возможно, обеспечить подходящий прием в приемнике в соответствии с вариантом осуществления. В этом случае в кадре 14 данных следующий кадр данных, планируемый для передачи по дополнительному каналу 482 в ту же самую подвижную станцию, Сдк увеличивают на величину до уровня “F”. Увеличение усиления дополнительного канала Удк с уровня D усиления до уровня F усиления является достаточно большим, что дает возможность связи без ошибок. Увеличение усиления дополнительного канала Удк может быть выполнено с помощью регулирования адаптивного запаса регулирования ЗР перед каждой передачей в соответствии с вариантом осуществления. Если не принята ошибка кадра после кадра 14 данных, усиление дополнительного канала Удк начинают последовательно уменьшать на некоторую величину после каждого кадра данных, планируемого для передачи в дополнительном канале 482 в ту же самую подвижную станцию в соответствии с вариантом осуществления.
В обратном подканале 543 управления мощностью, в режиме “110” из режимов прямого управления мощностью, четные пронумерованные группы управления мощностью используются для того, чтобы передавать биты управления мощностью, относящиеся к основному каналу 481, а нечетные пронумерованные группы управления мощностью используются для того, чтобы передавать ошибку кадра данных через БУК или БУС, связанный с дополнительным каналом 482. Адаптивный запас регулирования ЗР увеличивают, когда принята ошибка кадра, и уменьшают, когда кадр данных принят без ошибки, как указано с помощью БУК или БУС в обратном подканале 543 управления мощностью в соответствии с вариантом осуществления. В одном примере, если усиление прямого основного канала Уок и коэффициент скорости данных остаются теми же самыми, поведение адаптивного запаса регулирования ЗР может быть таким, как изображено на графике 1000. Следовательно, усилением дополнительного канала Удк динамически управляют с помощью определения адаптивного запаса регулирования ЗР перед каждой передачей планируемого кадра данных в ту же самую подвижную станцию в соответствии с вариантом осуществления.
Ссылаясь на фиг.11, блок-схема 1100 изображает способ определения адаптивного запаса регулирования ЗР для кадра данных, передаваемого по дополнительному каналу 482, предназначенному для подвижной станции в соответствии с вариантом осуществления. Различные этапы блок-схемы 1100 могут быть выполнены с помощью устройства 890 выбора усиления канала в соответствии с вариантом осуществления. На этапе 1101 адаптивный запас регулирования ЗР может быть инициализирован для первого кадра данных в дополнительном канале 482, предназначенном для подвижной станции. Такая инициализация может быть выполнена перед передачей первого кадра данных по дополнительному каналу 482 в подвижную станцию. На этапе 1102 один кадр данных в дополнительном канале 482 передают в подвижную станцию на уровне усиления Удк, основанном, по меньшей мере, на адаптивном запасе регулирования ЗР. На этапе 1103 устройство 890 выбора усиления канала определяет, принят ли предыдущий кадр данных, переданный по дополнительному каналу 482 в ту же самую подвижную станцию, без ошибки. Такая информация может быть передана в базовую станцию в обратном подканале 543 управления мощностью. Если кадр данных принят без ошибки, адаптивный запас регулирования ЗР уменьшают на этапе 1104 для следующего кадра данных, передаваемого в ту же самую подвижную станцию. Если кадр данных принят с ошибкой, адаптивный запас регулирования ЗР увеличивают на этапе 1105 для следующего кадра данных, передаваемого в ту же самую подвижную станцию. Величина увеличения на этапе 1105 значительно больше, чем величина уменьшения на этапе 1104 в соответствии с вариантом осуществления. Увеличение на этапе 1105 может быть равным 0,5 децибел по сравнению с уменьшением 0,005 децибел на этапе 1104.
Специалистам в данной области техники также понятно, что различные иллюстративные логические блоки, модули, схемы и этапы алгоритма, описанные в связи с вариантами осуществления изобретения, раскрытыми в настоящем описании, могут быть реализованы как электронное аппаратное обеспечение, компьютерное программное обеспечение или их комбинация. Чтобы проиллюстрировать эту взаимозаменяемость аппаратного обеспечения и программного обеспечения, различные иллюстративные компоненты, блоки, модули, схемы и этапы описаны выше в целом с понятием их функционального назначения. Реализовано ли такое функциональное назначение как аппаратное обеспечение или программное обеспечение, зависит от конкретного приложения и ограничений проекта, наложенных на всю систему. Квалифицированные специалисты могут реализовать описанное функциональное назначение различными способами для каждого конкретного приложения, но решения такой реализации не следует интерпретировать как вызывающие выход за рамки объема настоящего изобретения.
Различные иллюстративные логические блоки, модули и схемы, описанные в связи с вариантами осуществления, раскрытыми в настоящем описании, могут быть реализованы или выполнены с помощью процессора общего назначения, процессора цифрового сигнала (DSP, ПЦС), специализированной интегральной схемы (ASIC, СИС), вентильной матрицы, программируемой в условиях эксплуатации (FPGA, ВМПУЭ) или другого программируемого логического устройства, дискретного логического элемента или транзисторной логики, дискретных компонентов аппаратного обеспечения или любой их комбинации, предназначенной для того, чтобы выполнять функции, описанные в настоящем описании. Процессор общего назначения может быть микропроцессором, но в альтернативном варианте процессор может быть любым традиционным процессором, контроллером, микроконтроллером или конечным автоматом. Процессор также может быть реализован как комбинация вычислительных устройств, например комбинация ПЦС и микропроцессора, множество микропроцессоров, один или более микропроцессоров совместно с ядром ПЦС или любая другая такая конфигурация.
Этапы способа или алгоритма, описанного в связи с вариантами осуществления предлагаемого изобретения, раскрытыми в настоящем описании, могут быть осуществлены непосредственно в аппаратном обеспечении, в модуле программного обеспечения, выполняемом процессором, или в их комбинации. Модуль программного обеспечения может находиться в RAM, ОЗУ, флэш-памяти, ROM, ПЗУ, в EPROM, электрически программируемом ПЗУ, в EEPROM, электрически стираемом программируемом ПЗУ, в регистрах, на жестком диске, на сменном диске в CD-ROM, ПЗУ на компакт-диске или любом другом виде запоминающего носителя, известном в данной области техники. Примерный запоминающий носитель соединен с процессором таким образом, что процессор может считывать информацию с запоминающего носителя и записывать информацию на запоминающий носитель. В альтернативном варианте запоминающий носитель может быть объединен с процессором. Процессор и запоминающий носитель могут находиться в СИС. СИС может находиться в терминале пользователя. В альтернативном варианте процессор и запоминающий носитель могут находиться как дискретные компоненты в терминале пользователя.
Предыдущее описание вариантов осуществления предоставлено для того, чтобы дать возможность любому специалисту в данной области техники изготовить или использовать настоящее изобретение. Различные модификации будут без труда понятны специалистам в данной области техники, а основные принципы, определенные в настоящем описании, могут применяться к другим вариантам осуществления изобретения без использования изобретательской способности. Следовательно, предполагается, что настоящее изобретение не ограничено вариантами осуществления, раскрытыми в настоящем описании, а должно соответствовать самым широким рамкам, совместимым с принципами и признаками, определенными прилагаемой формулой изобретения.
Формула изобретения
1. Способ управления усилением прямого дополнительного канала в системе связи множественного доступа с кодовым разделением, содержащий этапы, на которых определяют уровень усиления прямого основного канала (Уок), при этом прямой основной канал связан с прямым дополнительным каналом, предназначенным для общей подвижной станции, определяют адаптивный запас регулирования (ЗР) для прямого дополнительного канала, определяют усиление прямого дополнительного канала (Удк) на основании упомянутого Уок и упомянутого ЗР, последовательно уменьшают уровень прямого дополнительного канала (Удк) для последующих кадров данных, адресованных для общей подвижной станции прямого дополнительного канала.
2. Способ по п.1, который также содержит этап, на котором передают прямой дополнительный канал на уровне Удк.
3. Способ по п.1, который также содержит этап, на котором определяют коэффициент скорости данных на основании скорости данных прямого основного канала и скорости данных прямого дополнительного канала, при этом упомянутое Удк основывается на коэффициенте скорости данных.
4. Способ по п.1, который также содержит этап, на котором увеличивают Удк для следующего кадра данных, адресованного для общей подвижной станции в прямом дополнительном канале, с помощью увеличения упомянутого ЗР после приема указателя стирания кадра дополнительного канала из общей подвижной станции.
5. Способ по п.1, в котором этап последовательного уменьшения Удк для следующих кадров данных, адресованных для общей подвижной станции в прямом дополнительном канале, включает в себя последовательное уменьшение ЗР до приема указателя стирания кадра дополнительного канала из общей подвижной станции.
6. Способ по п.5, который также содержит этап, на котором увеличивают Удк для следующего кадра данных, адресованного для общей подвижной станции в прямом дополнительном канале, с помощью увеличения ЗР после приема указателя стирания кадра дополнительного канала из общей подвижной станции.
7. Устройство для управления усилением прямого дополнительного канала в системе связи множественного доступа с кодовым разделением, содержащее устройство выбора усиления канала, предназначенное для определения уровня усиления прямого основного канала (Уок), в котором прямой основной канал связан с прямым дополнительным каналом, предназначенным для общей подвижной станции, определения адаптивного запаса регулирования (ЗР) для прямого дополнительного канала и определения усиления прямого дополнительного канала (Удк) на основании упомянутого Уок и упомянутого ЗР, при этом устройства выбора усиления канала последовательно уменьшает уровень прямого дополнительного канала (Удк) для последующих кадров данных, адресованных для общей подвижной станции прямого дополнительного канала.
8. Устройство по п.7, которое также содержит передатчик, предназначенный для передачи прямого дополнительного канала на упомянутом уровне Удк.
9. Устройство по п.7, в котором устройство выбора усиления канала определяет коэффициент скорости данных на основании скорости данных прямого основного канала и скорости данных прямого дополнительного канала, в котором упомянутое Удк основывается на коэффициенте скорости данных.
10. Устройство по п.7, в котором устройство выбора усиления сигнала увеличивает Удк для следующего кадра данных, адресованного для общей подвижной станции в прямом дополнительном канале, с помощью увеличения ЗР после приема указателя стирания кадра дополнительного канала из общей подвижной станции.
11. Устройство по п.7, в котором устройство выбора усиления канала последовательно уменьшает Удк для следующих кадров данных, адресованных для общей подвижной станции в прямом дополнительном канале, с помощью последовательного уменьшения ЗР до приема указателя стирания кадра дополнительного канала из общей подвижной станции.
12. Устройство по п.11, в котором устройство выбора усиления канала увеличивает Удк для следующего кадра данных, адресованного для общей подвижной станции в прямом дополнительном канале, с помощью увеличения ЗР после приема указателя стирания кадра дополнительного канала из общей подвижной станции.
13. Система связи множественного доступа с кодовым разделением, содержащая передатчик в базовой станции, предназначенный для определения канального усиления прямого дополнительного канала на основании канального усиления основного прямого канала и адаптивного запаса регулирования усиления канала, при этом основной канал и дополнительный канал предназначены для общей подвижной станции, при этом передатчик последовательно уменьшает в каждом кадре данных, адресованном для общей подвижной станции, упомянутый определенный уровень усиления прямого дополнительного канала посредством последовательного уменьшения упомянутого адаптивного запаса регулирования усиления канала, и передает в каждом кадре данных, адресованном для общей подвижной станции, упомянутый прямой дополнительный канал в общую подвижную станцию на упомянутом последовательно уменьшенном уровне усиления.
14. Система по п.13, в которой передатчик передает прямой дополнительный канал в общую подвижную станцию на упомянутом определенном уровне усиления канала.
15. Система по п.14, в которой передатчик уменьшает последовательно в каждом кадре данных, адресованном для общей подвижной станции, упомянутый определенный уровень усиления прямого дополнительного канала посредством последовательного уменьшения уровня адаптивного запаса регулирования усиления канала и передает в каждом кадре данных, адресованном для общей подвижной станции, прямой дополнительный канал в общую подвижную станцию с последовательно уменьшенным уровнем усиления канала до того, как базовая станция принимает указатель стирания кадра дополнительного канала от общей подвижной станции.
16. Система по п.14, в которой после приема указателя стирания кадра дополнительного канала от подвижной станции передатчик увеличивает в следующем кадре данных упомянутый определенный уровень усиления дополнительного канала с помощью увеличения адаптивного запаса регулирования усиления канала и передает в упомянутом следующем кадре данных прямой вспомогательный канал в подвижную станцию на увеличенном уровне усиления.
17. Система по п.13, которая также содержит приемник в общей подвижной станции, предназначенный для приема прямого дополнительного канала и прямого основного канала, контроллер в подвижной станции, предназначенный для определения частоты ошибок кадров дополнительного канала в прямом дополнительном канале.
РИСУНКИ
|
|