|
(21), (22) Заявка: 2004131440/09, 29.10.2004
(24) Дата начала отсчета срока действия патента:
29.10.2004
(43) Дата публикации заявки: 10.04.2006
(46) Опубликовано: 20.04.2007
(56) Список документов, цитированных в отчете о поиске:
RU 2227313 C1, 20.04.2004. US 6330524 A, 11.12.2001. ЕР 0872754 А2, 21.10.1998. JP 11006972 A1, 12.01.1999. RU 2097813 C1, 27.11.1997.
Адрес для переписки:
117393, Москва, ул.Профсоюзная, 78, оф.3323, СТАРФИЛД, пат.пов. В.Н.Рослову
|
(72) Автор(ы):
Медведев Леонид Степанович (RU), Браилко Николай Николаевич (RU), Карапетян Константин Рубенович (RU)
(73) Патентообладатель(и):
САМСУНГ ЭЛЕКТРОНИКС Ко., Лтд. (KR)
|
(54) СПОСОБ И УСТРОЙСТВО ЛАЗЕРНОГО СКАНИРОВАНИЯ
(57) Реферат:
Изобретение относится к офисной технике и может использоваться в лазерных сканирующих устройствах. Технический результат состоит в уменьшении времени сканирования и увеличении надежности Для этого в устройстве формирующая оптическая система выполнена с возможностью формирования из пучка света, созданного источником света, пучок света с требуемыми для работы системы параметрами; горизонтальный дефлектор выполнен с возможностью отклонения пучка света, выходящего из вертикального дефлектора, в горизонтальном направлении и тем самым осуществления горизонтальной развертки; фокусирующая оптическая система выполнена с возможностью фокусировки светового пучка, отклоненного вертикальным дефлектором и горизонтальным дефлектором, в точку на фоточувствительной поверхности; фоточувствительная поверхность выполнена с возможностью перемещения в направлении, перпендикулярном направлению горизонтальной развертки, обеспечиваемому горизонтальным дефлектором, и проецирования на ней изображения пучком света. 2 н. и 7 з.п. ф-лы, 2 ил.
Изобретение относится к офисной технике и может применяться в проектировании лазерных сканирующих устройств.
Лазерные сканирующие устройства (ЛСУ) используются для формирования изображений на фоточувствительной поверхности посредством создания растра методом построчного сканирования лазерным пучком. ЛСУ находят применение в лазерных принтерах, цифровых копирующих устройствах, лазерных факсимильных аппаратах и т.д. В общем виде принцип функционирования ЛСУ можно представить следующим образом. Лазерный пучок, интенсивность которого промодулирована сигналом, подаваемым на лазерный источник, после прохождения через оптическую систему формирует изображение на фоточувствительной поверхности, с которой изображение в большинстве случаев переносится на бумагу.
В настоящее время большинство лазерных сканирующих устройств, применяемых в лазерных принтерах, в том числе и лазерное сканирующее устройство, описанное в опубликованной заявке США №2002/0131138 [1], содержит лазерный диод, коллиматор, вращающийся многогранник, формирующий объектив и светочувствительный экран. Проецирование изображения на экран осуществляется методом построчного сканирования. Причем горизонтальная развертка обеспечивается механическим дефлектором, конструктивно выполненным в виде вращающегося полигона, а вертикальная развертка обеспечивается поступательным перемещением экрана.
Основными параметрами, характеризующими качество лазерных сканирующих устройств, являются производительность (ppm) и разрешение (dpi).
Недостатками известных конструкций сканирующих устройств, в том числе и [1], является их невысокая производительность, обусловленная ограниченной скоростью сканирования. Основным фактором, ограничивающим скорость сканирования, является максимально допустимая скорость вращения многогранника. Причем дальнейшее наращивание скорости ввиду ряда технических проблем влечет значительное удорожание системы или снижение ее надежности.
Наиболее перспективным направлением в решении вышеназванной проблемы является применение многолучевых лазерных сканирующих устройств, в которых за один проход лазерного пучка воспроизводится несколько линий проецируемого изображения. Такой подход позволяет снизить скорость вращения многогранника пропорционально количеству лучей, одновременно проецируемых на экран.
Существуют различные методы создания многолучевых лазерных сканирующих устройств:
– использование нескольких лазерных диодов;
– использование многолучевых лазерных диодов;
– деление одного луча на несколько лучей при помощи специальных оптических устройств с независимой последующей модуляцией каждого луча и т.д.
В опубликованной заявке США № 2004/0056185 [2] описывается многолучевое лазерное сканирующее устройство, в котором используют четыре лазерных диода для проецирования изображения, четыре коллиматора, вращающийся многогранник, формирующая линза и светочувствительный экран, на который проецируется изображение. Данное устройство выбрано в качестве прототипа заявленного изобретения.
Недостатком прототипа и других многолучевых сканирующих устройств является сложность их конструкции, возникающая вследствие увеличения количества лазерных диодов и оптических элементов для каждого диода. Кроме того, сложность конструкции повышает требования к точности изготовления элементов устройств, снижает надежность устройств и повышает стоимость их изготовления. Причем число линий, одновременно воспроизводимых за один проход многолучевым сканирующим устройством, ограничено его конструкцией и, как правило, не превышает четырех.
Задача, на решение которой направлено заявляемое изобретение, заключается в создании лазерного сканирующего устройства, основанного на новом способе сканирования, чтобы уменьшить время сканирования, увеличить надежность устройства, упростить оптическую часть устройства, а также расширить функциональность устройства.
Технический результат достигается за счет увеличения числа линий проецируемого изображения, сканируемых за один горизонтальный проход по экрану при неизменной скорости вращения многогранника, за счет использования единственного однолучевого источника света и одной формирующей оптической системы, за счет введения функции динамического изменения разрешения сканирования при неизменной скорости перемещения экрана, что обеспечивается путем создания лазерного сканирующего устройства, которое содержит монохроматический источник света, формирующую оптическую систему, горизонтальный дефлектор, фокусирующую оптическую систему, фоточувствительную поверхность, причем сканирующее устройство дополнительно содержит вертикальный дефлектор, выполненный с возможностью осуществления вертикальной развертки путем отклонения пучка света с заданными амплитудой и частотой в направлении, перпендикулярном направлению горизонтальной развертки, и формирования при этом вертикального растра, высота которого равна высоте нескольких линий проецируемого изображения, причем
– формирующая оптическая система выполнена с возможностью формирования из пучка света, созданного источником света, пучка света с требуемыми для работы системы параметрами;
– горизонтальный дефлектор выполнен с возможностью отклонения пучка света, выходящего из вертикального дефлектора, в горизонтальном направлении и, тем самым, осуществления горизонтальной развертки;
– фокусирующая оптическая система выполнена с возможностью фокусировки светового пучка, отклоненного вертикальным дефлектором и горизонтальным дефлектором, в точку на фоточувствительной поверхности;
– фоточувствительная поверхность выполнена с возможностью перемещения в направлении, перпендикулярном направлению горизонтальной развертки, обеспечиваемому горизонтальным дефлектором, и проецирования на ней изображения пучком света.
Для функционирования устройства существенно, чтобы монохроматический источник света был выполнен в виде лазера.
Для функционирования устройства важно, чтобы лазер был выполнен в виде полупроводникового лазера.
Для функционирования устройства необходимо, чтобы вертикальный дефлектор был выполнен в виде электрооптического дефлектора, акустооптического дефлектора или пьезоэлектрического дефлектора.
Для функционирования устройства целесообразно, чтобы горизонтальный дефлектор был выполнен в виде вращающегося многогранного отражателя, вращающегося зеркала, акустооптического дефлектора или пьезоэлектрического дефлектора.
Для функционирования устройства важно, чтобы вертикальная развертка обеспечивалась импульсами треугольной, пилообразной или ступенчатой формы.
Для функционирования устройства важно, чтобы фоточувствительная поверхность была выполнена в виде вращающегося светочувствительного барабана.
Для функционирования устройства существенно, чтобы формирующая оптическая система была выполнена в виде коллиматора.
Для функционирования устройства необходимо, чтобы фокусирующая оптическая система выполнена в виде f- линзы.
Технический результат достигается также путем создания способа функционирования лазерного сканирующего устройства, который включает в себя следующие операции:
– пучок света подают из монохроматического источника через формирующую оптическую систему на вертикальный дефлектор;
– отклоняют пучок света с заданной амплитудой и частотой вертикальной развертки вертикальным дефлектором в направлении, перпендикулярном направлению горизонтальной развертки, при этом формируют пучком света вертикальный растр, высота которого равна высоте нескольких линий проецируемого изображения;
– производят развертку пучка света, выходящего из вертикального дефлектора, в горизонтальном направлении горизонтальным дефлектором, при этом отклоняют пучок света вдоль фоточувствительной поверхности;
– фокусируют световой пучок, выходящий из горизонтального дефлектора посредством фокусирующей оптической системы в точку на фоточувствительной поверхности, причем в каждый момент времени засвечивают один пиксель проецируемого изображения, при этом формируют несколько линий проецируемого изображения за один горизонтальный проход пучка света вдоль фоточувствительной поверхности;
– перемещают фоточувствительную поверхность в направлении, перпендикулярном направлению горизонтальной развертки, на ширину нескольких линий проецируемого изображения, после чего повторяют все вышеперечисленные операции способа до момента проецирования всего изображения на фоточувствительную поверхность.
Таким образом обеспечивается создание лазерного сканирующего устройства и способа его функционирования, позволяющих уменьшить время сканирования, увеличить надежность устройства, упростить оптическую часть устройства и расширить его функциональность.
Для лучшего понимания настоящего изобретения далее приводится его подробное описание с соответствующими чертежами.
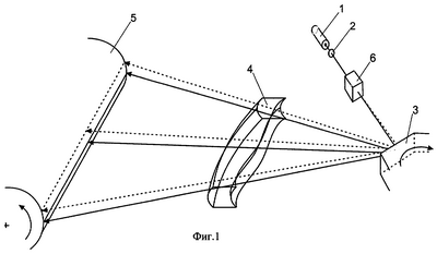
Фиг.1 – упрощенная схема лазерного сканирующего устройства с дополнительной вертикальной разверткой согласно изобретению.
Фиг.2 – способ создания нескольких линий растра за один проход пучка света по фоточувствительной поверхности согласно изобретению.
Лазерное сканирующее устройство содержит монохроматический источник 1 света, формирующую оптическую систему 2, горизонтальный дефлектор 3, фокусирующую оптическую систему 4, фоточувствительную поверхность 5. Причем сканирующее устройство дополнительно содержит вертикальный дефлектор 6, выполненный с возможностью осуществления вертикальной развертки путем отклонения пучка света с заданной амплитудой и частотой в направлении, перпендикулярном направлению горизонтальной развертки, и формирования при этом вертикального растра, высота которого равна высоте нескольких линий проецируемого изображения. Формирующая оптическая система 2 выполнена с возможностью формирования из пучка света, созданного источником 1 света, пучка света с требуемыми для работы системы параметрами. Горизонтальный дефлектор 3 выполнен с возможностью отклонения пучка, выходящего из вертикального дефлектора 6, в горизонтальном направлении вдоль фоточувствительной поверхности 5 и, тем самым, осуществления развертки в горизонтальном направлении. Фокусирующая оптическая система 4 выполнена с возможностью фокусировки светового пучка, отклоненного вертикальным дефлектором 6, и горизонтальным дефлектором 3 в точку на фоточувствительной поверхности 5. Фоточувствительная поверхность 5 выполнена с возможностью перемещения в направлении, перпендикулярном направлению горизонтальной развертки, обеспечиваемому горизонтальным дефлектором 6, и проецирования на ней изображения пучком света.
Рассмотрим заявленный способ сканирования на примере лазерного сканирующего устройства, в котором монохроматический источник 1 света выполнен в виде полупроводникового лазера, а горизонтальный дефлектор 3 выполнен в виде горизонтального вращающегося многогранного отражателя, т.е. полигона (фиг.1, 2).
Сначала пучок света направляют на формирующую оптическую систему 2, выполненную в виде коллиматора, проходя через который пучок фокусируется. Затем пучок направляют на вертикальный дефлектор 6. В вертикальном дефлекторе 6 отклоняют пучок света с амплитудой и частотой вертикальной развертки в направлении, перпендикулярном направлению горизонтальной развертки, при этом формируют пучком света вертикальный растр, высота которого равна высоте нескольких линий проецируемого изображения. Следует отметить, что импульсы вертикальной развертки могут иметь различную форму: треугольную, пилообразную, ступенчатую и т.д. На фиг.2 показан пример импульсов вертикальной развертки, имеющих пилообразную форму. Пучок света, выходящий из вертикального дефлектора 6, направляют на горизонтальный дефлектор 3, с помощью которого отклоняют пучок света в горизонтальном направлении вдоль фоточувствительной поверхности 5. Фокусируют световой пучок, выходящий из горизонтального дефлектора 3, посредством фокусирующей оптической системы в точку на фоточувствительной поверхности, в каждый момент времени засвечивая один пиксель проецируемого изображения, при этом формируют несколько линий проецируемого изображения за один горизонтальный проход пучка света вдоль фоточувствительной поверхности 5. Перемещают фоточувствительную поверхность 5 в направлении, перпендикулярном направлению горизонтальной развертки, на ширину нескольких линий проецируемого изображения, после чего повторяют все вышеперечисленные операции способа до момента проецирования всего изображения на фоточувствительную поверхность 5.
Ниже приводится расчет параметров лазерного сканирующего устройства.
Если количество горизонтальных линий проецируемого изображения, воспроизводимых за один проход пучка света по барабану равно N, то требуемая частота вращения многогранника, или частота горизонтальной развертки, задается соотношением:

где Nfacets – число граней полигона, которое равно числу проходов пучка света по барабану за один поворот полигона; М=RVH – число линий на странице, RV и Н – соответственно вертикальное разрешение и высота сканируемой области, а V – производительность лазерного сканирующего устройства (скорость вращения многогранника).
Из формулы (1) следует, что если производительность лазерного сканирующего устройства достигла технологического максимума, высота сканируемой области равна высоте страницы, т.е. стандартна, а вертикальное разрешение задано, то производительность лазерного сканирующего устройства можно увеличить за счет параметра N:

Из формулы (1) также следует, что если производительность сканирующего устройства ограничена по какой-либо технической причине, то вертикальное разрешение может быть увеличено за счет параметра N:

При этом максимальное число линий N, проецируемых за одно горизонтальное сканирование (проход) пучка света, ограничено разрешением вертикального дефлектора.
Рассчитаем требуемую частоту вертикальной развертки для лазерного сканирующего устройства со следующими параметрами:
– Производительность – 200 ppm.
– Разрешение – 1200×1200 dpi.
– Размер печатаемой страницы – 8.5×11 дюймов.
Вертикальное разрешение RV связано с N соотношением

где fH – частота горизонтальной развертки,
V – производительность,
Н – высота сканируемой области.
Горизонтальное разрешение задается соотношением

где W – ширина сканируемой области.
Из соотношений (2) и (3) следует, что требуемая частота вертикальной развертки задается соотношением

где RH – горизонтальное разрешение [dpi],
W – ширина сканируемой области [inch],
RV – вертикальное разрешение [dpi],
Н – высота сканируемой области [inch],
V – производительность (скорость печати) [ppm],
N – количество линий в одном проходе.
При N=32 частота вертикальной развертки равна

а период

На основании сравнительного анализа оптических дефлекторов различных типов можно заключить, что заданным условиям удовлетворяют электрооптические дефлекторы.
Причем расчетное число линий, воспроизводимых за один проход, не должно превышать оптического разрешения электрооптического дефлектора. Практически достижимое максимальное разрешение электрооптического дефлектора составляет около 100, что и является верхним пределом по числу линий в одном проходе.
На основании вышеизложенного можно утверждать, что заявленное изобретение делает возможным создание лазерных принтеров, значительно превосходящих существующие на рынке по соотношению производительность/разрешение печати.
Заявленное лазерное сканирующее устройство может быть использовано:
– в высокопроизводительных устройствах лазерной печати;
– в устройствах высококачественной лазерной печати;
– в лазерных фотопринтерах;
– в лазерных принтерах с повышенными требованиями к надежности работы;
– в лазерных цифровых копирующих устройствах.
Поскольку указанный выше вариант выполнения изобретения был изложен лишь с целью иллюстрации заявленного изобретения, специалистам ясно, что возможны разные модификации, добавления и замены, не выходящие из объема и смысла настоящего изобретения, отраженного в прилагаемой формуле изобретения.
Формула изобретения
1. Лазерное сканирующее устройство, содержащее монохроматический источник света, формирующую оптическую систему, горизонтальный дефлектор, фокусирующую оптическую систему, фоточувствительную поверхность и дополнительно содержащее вертикальный дефлектор, выполненный с возможностью осуществления вертикальной развертки путем отклонения сфокусированного пучка света с заданной амплитудой и частотой в направлении, перпендикулярном направлению горизонтальной развертки, и формирования вертикального растра, высота которого равна высоте нескольких линий проецируемого изображения, причем
формирующая оптическая система выполнена с возможностью формирования из пучка света, созданного источником света, пучка света с требуемыми для работы системы параметрами,
горизонтальный дефлектор выполнен с возможностью отклонения пучка света, выходящего из вертикального дефлектора, в горизонтальном направлении и тем самым осуществления горизонтальной развертки,
фокусирующая оптическая система выполнена с возможностью фокусировки светового пучка, отклоненного вертикальным дефлектором и горизонтальным дефлектором, в точку на фоточувствительной поверхности,
фоточувствительная поверхность выполнена с возможностью перемещения в направлении, перпендикулярном направлению горизонтальной развертки, обеспечиваемому горизонтальным дефлектором, и проецирования на ней изображения пучком света.
2. Устройство по п.1, отличающееся тем, что монохроматический источник света выполнен в виде лазера.
3. Устройство по п.2, отличающееся тем, что лазер выполнен в виде полупроводникового лазера.
4. Устройство по п.1, отличающееся тем, что вертикальный дефлектор выполнен виде электрооптического дефлектора, или акустооптического дефлектора, или пьезоэлектрического дефлектора.
5. Устройство по п.1, отличающееся тем, что горизонтальный дефлектор выполнен в виде вращающегося многогранного отражателя, вращающегося зеркала, акустооптического дефлектора или пьезоэлектрического дефлектора.
6. Устройство по п.1, отличающееся тем, что вертикальная развертка имеет импульсы треугольной, пилообразной или ступенчатой формы.
7. Устройство по п.1, отличающееся тем, что фоточувствительная поверхность выполнена в виде вращающегося светочувствительного барабана.
8. Устройство по п.1, отличающееся тем, что формирующая оптическая система выполнена в виде коллиматора.
9. Способ функционирования лазерного сканирующего устройства, включающий следующие операции:
направляют пучок света из монохроматического источника света через формирующую оптическую систему на вертикальный дефлектор,
отклоняют пучок света с заданной амплитудой и частотой вертикальной развертки вертикальным дефлектором в направлении, перпендикулярном направлению горизонтальной развертки, при этом формируют пучком света вертикальный растр, высота которого равна высоте нескольких линий проецируемого изображения,
производят развертку пучка света, выходящего из вертикального дефлектора в горизонтальном направлении горизонтальным дефлектором, при этом отклоняют пучок света вдоль фоточувствительной поверхности,
фокусируют световой пучок, выходящий из горизонтального дефлектора, посредством фокусирующей оптической системы в точку на фоточувствительной поверхности, причем в каждый момент времени засвечивают один пиксель проецируемого изображения, при этом формируют несколько линий проецируемого изображения за один горизонтальный проход пучка света вдоль фоточувствительной поверхности,
перемещают фоточувствительную поверхность в направлении, перпендикулярном направлению горизонтальной развертки, на ширину нескольких линий проецируемого изображения, после чего повторяют все вышеперечисленные операции способа до момента проецирования всего изображения на фоточувствительную поверхность.
РИСУНКИ
|