|
(21), (22) Заявка: 2005119955/09, 28.06.2005
(24) Дата начала отсчета срока действия патента:
28.06.2005
(43) Дата публикации заявки: 10.01.2007
(46) Опубликовано: 20.04.2007
(56) Список документов, цитированных в отчете о поиске:
КАЗАНЕ А. и др. Оптика и связь, Москва, Мир, 1984, с.43 7-440, рис.18.3-18.4. RU 2199823 С1, 27.02.2003. RU 2088960 C1, 28.08.1997. WO 97/48241 A1, 18.12.1997. СА 2266992 А1, 01.10.1999.
Адрес для переписки:
105043, Москва, ул. Первомайская, 37, кв.6, В.М.Дворецкому
|
(72) Автор(ы):
Дворецкий Владимир Моисеевич (RU)
(73) Патентообладатель(и):
Дворецкий Владимир Моисеевич (RU)
|
(54) МНОГОЛИНЕЙНОЕ УСТРОЙСТВО УПЛОТНЕНИЯ ПО ДЛИНАМ ВОЛН И ОПТИЧЕСКАЯ АВТОМАТИЧЕСКАЯ ТЕЛЕФОННАЯ СТАНЦИЯ
(57) Реферат:
Изобретение относится к технике электросвязи по оптоволоконным линиям и может быть использовано для сверхплотного уплотнения больших групп городских и междугородных линий по длинам волн. Технический результат состоит в уменьшении объема оборудования и увеличении быстродействия. Для этого устройство уплотнения выполнено со спиральным оптическим трактом на одной или нескольких многократно используемых призмах. Оптическая АТС выполнена на многолинейных устройствах, многократных оптических переключателях и соединителях, связанных многоточечными межкаскадными экранами с оптической коммутацией каналов из уплотненных линий. 2 н. и 7 з.п. ф-лы, 10 ил., 15 табл.
Многолинейное устройство уплотнения оптических линий относится к технике электросвязи по оптическим линиям и может быть использовано для сверхплотного уплотнения больших групп городских и междугородных оптических линий по длинам волн.
Оптические Автоматические Телефонные Станции (ОАТС) относятся к области городской и междугородной широкополосной видеотелефонной и телефонной связи по оптоволоконным линиям, с частотным уплотненным по длинам волн и/или с временным уплотнением.
Современные системы уплотнения оптоволоконных линий по длинам волн (WDM) от устройств малой плотности на интерференционных фильтрах до интегральных модулей DWDM (уплотнение высокой плотности с шагом по длине волны 3.2-0.4 нанометра) на интерференционных волноводных пластинах или сферических дифракционных решетках описаны в [1].
Известные устройства уплотнения WDM и DWDM имеют следующие недостатки:
– одно устройство уплотняет только одну линию. При использовании известных устройств для оптических АТС или многоволоконных кабельных линий необходимо иметь NWL>1 устройств уплотнения для NWL линий;
– для известных систем требуется точность изготовления в сотые доли нанометра, что существенно увеличивает их стоимость и усложняет получение разрешающей способности по длине волны меньшей 0.4-0.1 нанометра.
Предлагаемая оптическая АТС и ее основные узлы имеют следующие аналоги. Электронным функциональным аналогом ОАТС являются цифровые ISDN АТС [2], содержащие цифровую пространственно временную коммутационную систему и систему абонентского доступа по уплотненным абонентским линиям к цифровым терминалам, предоставляющую каждому абоненту по два разговорных В канала и D канал сигнализации. ISDN ATC взаимодействуют с другими АТС и коммутационными узлами по соединительным линиям, уплотненным 30 или более В каналами и общим каналом сигнализации.
ISDN ATC имеет следующие недостатки:
– для каждой оптоволоконной абонентской и соединительной линии в терминале и на АТС необходимо отдельное устройство преобразования электрических сигналов в оптические и обратно в электрические;
– ISDN ATC коммутируют стандартные В каналы со скоростью передачи 64 Кбит в секунду и лишь для небольшого числа абонентов канал N×B, где 1
Известна широкополосная многокаскадная оптическая пространственная коммутационная система из S многократных оптических соединителей [3]. Эта коммутационная система будет использована в ОАТС, поскольку она позволит создать станции от малой до большой емкости с малым объемом оборудования.
Недостаток коммутационной системы [3] в том, что она без дополнительных селекторов и мультиплексоров каналов не может взаимодействовать с уплотненными линиями.
Известен оптический переключатель (коммутатор) с временным уплотнением [4], который состоит из оптического переключателя 1×N, набора N оптоволоконных линий задержки, N однобитовых элементов оптической памяти, коммутационного блока N×M, набора М линий задержки и переключателя M×1. Первый переключатель N линий задержки и элементов памяти – селектор временных каналов, а М линий задержки и второй переключатель – мультиплексор каналов.
Основной недостаток селектора или мультиплексора временного уплотнения [4] в том, что они уплотняют одну линию, а для оптической АТС, работающей по NL>1 оптическим линиям, необходимо иметь NL таких устройств. Кроме того необходимы дополнительные средства для объединения NL устройств в коммутационную систему.
Прототипом многолинейного устройства уплотнения является спектральное устройство [5], состоящее из дисперсионного элемента – призмы или дифракционной решетки, установленного между оптическим линейным окончанием и несколькими источниками и/или приемниками неуплотненных сигналов.
Прототип имеет следующие недостатки:
– уплотнение только одной линии;
– разрешающая способность по длине волны существенно меньше, чем у DWDM.
Прототипом оптической АТС является оптическая коммутационная станция [6] с М входными и выходными линиями, уплотненными N волнами, содержащая М селекторов мультиплексоров N волн, N коммутационных систем с М входами и М выходами и устройство управления коммутационной станцией.
Прототип имеет следующие недостатки при использовании его в ОАТС с NL=50-2000 линиями, уплотненными NW=50-100 волнами:
– прототип содержит NL селекторов и NL мультиплексоров волн, изготовление которых требует дорогих технологий с точностями в сотые доли нанометра, а ОАТС содержит только один селектор и один мультиплексор, простые по конструкции и не требующие большой точности изготовления,
– прототип содержит NW основных коммутационных систем, соединенных NL×NW оптоволоконными цепями с селекторами и NL×NW цепями с мультиплексорами, а в ОАТС только она коммутационная система и вообще нет оптоволоконных цепей;
– большое число селекторов, мультиплексоров и коммутационных систем существенно увеличит объем оборудования и стоимость, а также усложнит изготовление, монтаж и эксплуатацию по сравнению с ОАТС.
Целью предлагаемых технических решений является:
– создание простого многолинейного устройства уплотнения по длинам волн с большей разрешающей способностью, чем у DWDM для ОАТС, многолинейных городских и междугородных магистралей, а также для терминалов и мультиплексоров систем абонентского доступа, с возможностью простой настройки на любой диапазон от видимых до инфракрасных волн и на любую длину волны в этом диапазоне, с существенно меньшими требованиями к точности его изготовления, чем DWDM.
– создание оптической АТС для широкополосной городской и междугородной связи с пространственной коммутацией каналов от уплотненных по длинам волн и/или по времени оптических абонентских, соединительных и междугородных линий;
– создание оптической АТС, «разговорный тракт» которой состоит только из оптических многолинейных устройств, многократных переключателей и соединителей, соединенных многоточечными светопроводящими экранами.
Техническим результатом предлагаемых решений будет:
– создание простого многолинейного устройства уплотнения по длинам волн с большим, чем у DWDM, числом частотных каналов для ОАТС, для многолинейных городских и междугородных магистралей, для терминалов и мультиплексоров систем абонентского доступа, с простой настройкой и с существенно меньшими требованиями к точности его изготовления;
– создание ОАТС, дающей оптическое соединение абонент абонент, для широкополосной городской и междугородной связи по оптоволоконным линиям, уплотненным по длинам волн и/или по времени;
– уменьшение в W раз быстродействия усилителей оптических сигналов либо в W раз расширение полосы частот коммутируемых каналов в ОАТС при увеличении в W раз числа волн, уплотненных в W раз меньшим числом временных каналов;
– существенное уменьшение объема оборудования, габаритов и стоимости ОАТС, состоящей только из многолинейных и многократных блоков;
– уменьшение требований к точности изготовления и упрощение технологии производства ОАТС из-за простой объемной конструкции многолинейных и многократных устройств и блоков ОАТС.
Поставленная цель в многолинейном устройстве уплотнения по длинам волн, содержащем дисперсионный элемент призму или дифракционную решетку, установленную между окончанием оптической линии и источниками или приемниками неуплотненных сигналов, достигается тем, что оптические окончания NLW оптоволоконных линий, уплотненных NW каналами по длинам волн в диапазоне 1 i 2 и NLW×NW источниками или приемниками неуплотненных сигналов, размещены в двух параллельных двумерных массивах либо группами по G>1, либо порознь с G=1, а между ними размещен общий для всех линий спиральный оптический тракт, содержащий кольцо из Р 1 призм или дифракционных решеток, 1 MS P масок, MR зеркал, замыкающих кольцо для одной из длин волн i, а также растры ввода и вывода оптических сигналов из NLW для уплотненных и NLW или NLW×NW для неуплотненных сигналов зеркал на прозрачной подложке или отверстий в зеркале, причем для образования спирали, с оптической длиной витка L и шагом между витками G×dd установлены под углом =±arctg(G×dd/L) к массивам окончаний либо весь тракт либо растры ввода/вывода, либо часть зеркал, а для образования KW витков центры зеркал или отверстий растра уплотненных сигналов смещены на расстояние G×KW×dd от центров зеркал в растре неуплотненных сигналов и размещены с шагом G×(KW+1)×dd между группами и dd в группе по одной координате и NW×dd по другой, а центры зеркал или отверстий в растрах неуплотненных сигналов размещены с шагом G×(KW+1)×dd между группами и dd в группе по первой координате и с шагом dd по второй другой, кроме того линейные окончания и неуплотненные источники или приемники оптически связаны с растрами двумя объективами и размещены геометрически подобно размещению центров зеркал или отверстий, а маски, размещенные между призмами, имеют по KW×NLW отверстий, шириной G×dd и длиной отверстий от dd для отверстия ближнего к растру уплотненных сигналов до NW×dd для ближнего к растру неуплотненных сигналов, причем вместо последнего длинного отверстия маска может содержать G×NW отверстий с длиной меньшей dd.
Поставленная цель в оптической АТС, содержащей пространственную коммутационную систему, к которой через селектор и мультиплексор уплотнения по длинам волн подключены по оптоволоконным абонентским и соединительным линиям NC каналов от абонентских телефонных или видеотелефонных терминалов и от других АТС, причем каждая абонентская линия содержит общий D канал сигнализации и синхронизации, а одна из нескольких соединительных линий содержит общий канал сигнализации ОКС7, которые в АТС подключены к устройству управления АТС, достигается тем, что оптические окончания NLT линий с временным уплотнением NT или меньшим числом каналов, NLW линий с уплотнением по длинам волн NW или меньшим числом частотных каналов, и NLWT линий, уплотненными NWT волнами, каждая из которых уплотнена NTW временными каналами, размещены в NL=NLT+NLW+NLWT позициях двух двумерных массивов – оптических кроссов, между которыми установлены многолинейное устройство уплотнения – селектор длин волн, «разговорный тракт с временным уплотнением» и второе многолинейное устройство уплотнения – мультиплексор длин волн, причем разговорный тракт содержит общие для всех NL линий или NC каналов мультиплексор одноволоконных линий, блок выравнивателя задержек оптических сигналов, селектор временного уплотнения, блок оптической памяти, пространственную коммутационную систему из S многократных оптических соединителей, мультиплексор временного уплотнения, кроме того АТС может содержать для байтового интерливинга каналов второй блок оптической памяти, на выходе коммутационной системы, причем блоки выравнивателя, оптической памяти и временного уплотнения состоят из многократных оптических переключателей и соединителей или их модификаций, общих для всех NL линий и NC каналов, а все устройства, блоки, переключатели и соединители связаны светопроводящими экранами, либо пассивными, либо усилителями яркости изображений, одна сторона которых – массив приемников для предыдущего устройства или блока, другая – массив источников для следующего.
Растры ввода/вывода в первом и втором устройстве уплотнения по длинам волн для NLW, NLWT и NLT линий разделены на несколько фрагментов для однотипных линий, с различным шагом размещения зеркал или отверстий в зеркале по двум координатам, так для фрагментов NLW окончаний уплотненных NWF частотными каналами зеркала или отверстия размещены по одной координате с шагом либо (KWF+1)×dd, либо G×(KWF+1)×dd при NLWT=0, и по другой с шагом NWF×dd, а для NLWT линий, уплотненных NWT частотными каналами, каждый из которых уплотнен NTW временными каналами, зеркала размещены по одной координате с шагом большим из (KWT+1)×dd или NTW×dd и по другой с шагом NWT×dd, где KWF или KWT – число витков спирали, необходимое для разделения NWF или NWT частотных каналов, а линейные окончания этих линий размещены геометрически подобно размещению зеркал или отверстий, кроме того для NLT линий с временным уплотнением NT или меньшим числом каналов растры прозрачны, а их окончания размещены по одной координате с различным для линий с разным числом каналов шагом, подобным dd dd×N(j) dd×NT, где dd×N(j) – шаг для линии j, уплотненной N(j) каналами, а по другой координате с постоянным шагом, подобным dd, причем изображения неуплотненных по частоте сигналов на входных и выходных экранах разговорного тракта размещены, для всех линий, кроме NLT, подобно размещению растров неуплотненных сигналов, а для NLT линий подобно размещению их линейных окончаний.
Мультиплексор одноволоконных линий содержит два светоделительных зеркала или призмы и светонаправляющую систему из нескольких линз, которая оптически соединяет через зеркала или призмы входной или выходной экраны разговорного тракта с растром ввода/вывода селектора или мультиплексора уплотнения по длинам волн, причем первое зеркало или призма установлены перед входным экраном разговорного тракта, а второе зеркало или призма после его выходного экрана, кроме того, двойные фокусные расстояния светонаправляющей системы должны быть равными оптической длине пути от центра растра ввода/вывода до центра первой линзы и от центра последней линзы до центра выходного экрана.
Многократные оптические переключатели с параметрами NK×1×N или NK×N×1, образующие NK независимых переключателей с одним входом и N выходами или с N входами и одним выходом в каждом, состоят из светоразветвителя на N направлений и сумматора N изображений, между которыми установлены N масок и N быстродействующих ключей, общих для всех отверстий маски, а многократные оптические соединители с параметрами NK×M×N, образующие NK независимых коммутационных матриц с М входами и N выходами, состоят из светоразветвителя и сумматора на M+N-1 направлений и M+N-1 маски либо M+N-1 быстродействующего ключа, причем маски могут быть либо постоянными с NK или меньшим числом отверстий, либо переменными с NK×N или МК×М оптическими ключами на жидкокристаллических или сегнетокерамических индикаторных матрицах, а светоразветвители и сумматоры могут быть либо линзовыми растрами из N или M+N-1 линз, либо из одной общей линзы и призмы с N или M+N-1 светонаправляющими гранями.
Выравниватель задержек оптических сигналов до границы бита с точностью до 1/BN доли бита, при приеме из всех линий, уплотненных NT каналами и размещенных в части из NK=NLT+NWT позиций входного экрана, состоит из светоразветвителя на BN направлений, BN переменных масок с NK оптическими ключами в каждой, BN быстродействующих ключей, NK×BN точечной оптической памяти, сумматора BN выходных изображений оптической памяти, общего быстродействующего ключа и NK точечной оптической памяти, причем оптическая память состоит из запоминающих усилителей на основе усилителей яркости изображений либо с положительной обратной связью, либо с использованием послесвечения, кроме того при байтовом интерливинге за выравнивателем до границы бита установлен выравниватель до границы байта, состоящий из многократного оптического переключателя NK×1×2B, NK×2B точечной оптической памяти, многократного оптического соединителя NK×2×2, многократного оптического соединителя NK×2B×B, NK×B точечной оптической памяти и многократного переключателя NK×B×1, причем в соединителе NK×2×2 маски заменены быстродействующими ключами, общими для всех NK коммутационных матриц.
Блоки селектора и мультиплексора временного уплотнения ОАТС соответственно с NI(1)=NLT+NWL входами и NO(n)=NLT+NWL выходами, каждый из которых уплотнен NT или меньшим числом каналов, выполнены в виде n 1 многократных оптических переключателей с параметрами переключателя i в селекторе и мультиплексоре NI(i)×1×NT(i) и NO(i)×NT(i)×1, где NT=NT(1)×…×NT(i)×…×NT(n), NI(i)=NI(i-1)×NT(i-1), NO(i-1)=NO(i)×NT(i) и 2 i n, причем соседние переключатели связаны друг с другом светопроводящими экранами или усилителями яркости изображений, а между входными и выходными экранами в переключателе i установлены светоразветвитель изображений входных источников на NT(i)+1 направлений, NT(i)+1 маска либо постоянная с NC(i) отверстиями в каждой, либо переменная в виде матрицы из NC управляемых оптических ключей, NT(i) быстродействующих ключей, общих для всех каналов, и сумматор NT(i)+1 изображений масок, кроме того светоразветвитель и сумматор состоят либо из линзовых растров с NT(i)+1 линзами либо из общей линзы и призмы с NT(i)+1 светонаправляющими гранями, причем либо в светоразветвителе либо в сумматоре линзы или грани призмы размещены так, что их оптические оси идут от центра входного/выходного экрана к центрам масок, а соответственно в сумматоре или разветвителе оптические оси от центров масок сдвинуты от центра выходного/входного экрана на расстояние от нуля до dk×NT(1)×…×(NT(i)-1) с шагом dk×NT(1)×…×NT(i-1) для разных направлений разветвления, где dk – шаг между источниками/приемниками оптических сигналов на входных и выходных экранах, подобный dd расстоянию между зеркалами в растрах устройства частотного уплотнения, кроме того нулевое смещение оптических осей имеет два направления: одно с быстродействующим ключом, а другое – без него.
Для битового интерливинга каналов в ОАТС блок памяти состоит из двух NC точечных запоминающих усилителей, между которыми установлен быстродействующий ключ, общий для всех NC точек входного изображения, и хотя бы один каскад коммутационной системы, для которого первый усилитель, входной, а второй усилитель и быстродействующий ключ – выходной экран, а для байтового интерливинга каналов с В битами в байте блок памяти состоит из переключателя записи на В направлений, двух NC×B точечных запоминающих усилителей, между которыми установлены быстродействующий ключ и светонаправляющая система, а за вторым усилителем установлен переключатель чтения, причем переключатель записи состоит из светоразветвителя на В направлений и В быстродействующих ключей, общих для всех NC каналов, а переключатель чтения состоит из В быстродействующих ключей и сумматора В NC точеных изображений, причем запоминающие усилители это усилители яркости изображений либо с положительной обратной связью либо с использованием послесвечения, а светонаправляющая система – либо соединитель коммутационной системы либо световодная пластина.
Абонентские терминалы ОАТС содержат блоки задержки приема и передачи, подключенные к D каналу оптоволоконной линии через блок синхронизации, а на ОАТС к входам и выходам D каналов абонентских линий и общих каналов сигнализации соединительных линий через ND NL входов и выходов устройств уплотнения и «разговорного тракта» подключены ND NL входов и выходов сигнализации устройства программного управления.
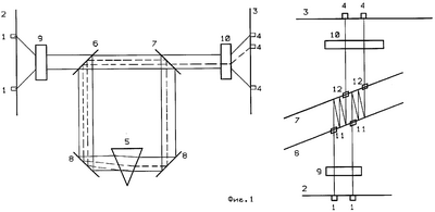
На фиг.1 приведены вертикальный и горизонтальной разрезы оптического тракта устройства частотного уплотнения с одной призмой.
На фиг.2 приведен вертикальный разрез оптического тракта устройства частотного уплотнения с четырьмя призмами.
На фиг.3 приведена укрупненная блок-схема оптической АТС.
На фиг.4 приведена блок-схема «разговорного тракта» оптической АТС.
На фиг.5 приведена оптическая схема подключения абонентских терминалов.
На фиг.6 приведена оптическая схема многократного оптического переключателя и многократного оптического соединителя.
На фиг.7 приведена оптическая схема выравнивателя длин оптических линий до границы бита.
На фиг.8 приведена блок схема выравнивателя до границы байта.
На фиг.9 приведена оптическая схема блока памяти для байтового интерливинга каналов.
На фиг.10 приведена упрощенная оптическая схема группообразования в коммутационной системе.
В таблице 1 приведена зависимость разрешающей способности устройства частотного уплотнения от числа призм и витков в спирали.
В таблицах 2-3 приведено размещение битов в оптической памяти выравнивателя байтов.
В таблицах 4-13 приведен пример настройки временного селектора и мультиплексора для линий с разным числом каналов.
В таблице 14 приведены параметры схемы группообразования для примера коммутационной системы.
В таблице 15 приведены параметры коммутационных систем разной емкости.
Многолинейное устройство предназначено для частотного уплотнения большого количества оптоволоконных линий по длинам волн.
Устройство содержит два массива источников и приемников оптических сигналов, один из которых состоит из оптических окончаний оптических линий, другой – из источников и/или приемников неуплотненных оптических сигналов, а между ними установлены две многолинзовые оптические системы и спиральный оптический тракт.
Спиральный оптический тракт двухсторонний, он может быть селектором и/или мультиплексором оптических сигналов.
Одна оптическая система формирует на входе оптического тракта либо уменьшенное изображение массива источников либо параллельные нерасходящиеся пучки оптических сигналов, с уменьшенным расстоянием между пучками. Вторая проектирует увеличенное выходное изображение оптического тракта на массив приемников.
Структура оптического тракта будет рассмотрена для параллельных пучков на входе для упрощения его описания. Для изображений, сфокусированных на входе, тракт будет рассмотрен ниже. Тракт содержит кольцо из Р призм и четного числа 2×MS зеркал, замыкающих кольцо, если суммарное отклонение оптического сигнала меньше 360° и 1 M P масок. Линейные окончания источники и/или приемники уплотненных сигналов размещены по одной координате, а приемники и/или источники неуплотненных сигналов размещены по другой. В кольце оптического тракта оптические сигналы идут KW витков по спирали, для образования которой по одной координате повернуты на угол от массива оптических окончаний либо весь тракт, либо часть его элементов.
На фиг.1 показан вертикальный разрез кольца с одной призмой и вид сверху на пути оптических сигналов от линейных окончаний 1, размещенных на кроссе 2 к приемникам и/или источникам неуплотненных сигналов, фотодиодам и/или светодиодам 4, размещенным на кроссе 3.
На фиг.1 путь оптических сигналов идет через оптическую систему 9, входное отверстие в зеркале 6, зеркало 7, призму 5, замыкающие кольцо зеркала 8, выходное отверстие в зеркале 7 и оптическую систему 10.
На фиг.1 также показана часть горизонтального разреза кольца, проходящего по зеркалам 6 и 7, содержащая вид сверху на спиральный путь оптических сигналов от источников 1 через входное отверстие 11 зеркала 6 к выходному отверстию 12 зеркала 7. На виде сверху показано, что все элементы кольца установлены под углом к массиву линейных окончаний, а отверстия в зеркалах 6 и 7 сдвинуты на KW равных отрезков. Поэтому оптический сигнал KW-1 раз отражается от зеркал 6 и 7, смещаясь при каждом отражении от зеркала 7 на один отрезок, а затем через выходное отверстие зеркала 7 выходит к приемникам. На фиг.1 KW=2.
Путь от призмы 5 через зеркала 6, 7, 8 по спирали повторяется KW раз. При этом траектория для сигналов с минимальной частотой (сплошная линия) повторяется на каждом витке, а для сигналов с максимальной частотой (пунктирная линия) отклоняется призмой больше и величина отклонения увеличивается с каждым витком. Зеркало 6 содержит по одному отверстию для каждой линии, уплотненной NW каналами. Для вывода расщепленного спектра от каждого источника зеркало 7 содержит либо одно отверстие с длиной в NW раз большей, чем в зеркале 6, либо NW отверстий.
На фиг.2 показан вертикальный разрез кольца из четырех призм 5, замкнутых четырьмя парами зеркал 8. Ввод и вывод оптических сигналов в этом кольце осуществляют зеркала 13 и 14 на прозрачных подложках 15 и 16. Для кольца на фиг.2 горизонтальный разрез по центрам подложек 15, 16 аналогичен разрезу на фиг.1, в котором отверстия 11, 12 заменены зеркалами 13, 14. Пути оптических сигналов на фиг.2 похожи на пути на фиг.1, но из-за большего отклонения в 4 призмах соответствуют меньшему диапазону частот.
Путь оптических сигналов на фиг.1 и 2 образует спираль из-за того, что либо весь тракт либо только зеркала 6, 7 или подложки 15, 16 размещены под малым углом к оптическому кроссу 2, который при оптической длине кольца, равной L, и шаге спирали между витками dd, должен быть равным =arctg(G×dd/L), a ширина отверстий 11, 12 или зеркал 13, 14 должна быть равной d dd. Здесь либо G=1 при равных расстояниях между источниками либо G>1 при объединении источников в группы по G.
Число витков KW между отверстиями 11, 12 или зеркалами 13, 14 определяет расстояние G×dd×KW, необходимое для мультиплексирования или разделения NW оптических сигналов.
Отверстия 11 или зеркала 13 размещаются на зеркале 6 и на одной стороне подложки 15. Отверстия 12 или зеркала 14 со сдвигом dd×KW могут размещаться, либо образуя KW витков на зеркале 7 или обратной стороне подложки 15, либо на одном из зеркал 8, диаметрально противоположном зеркалу 7, или на подложке 16, образуя KW-0.5 витков.
Отверстия в зеркалах 6, 7 или зеркала 13, 14 для NLW оптических линий образуют двумерные растры, состоящие из соответственно из NLW и NLW×NW зеркал или отверстий. В этих растрах центры отверстий 11 и зеркал 13 размещены по одной координате с шагом dd×(KW+1) и по другой с шагом dd×(NW+1) и подобно им с шагом, кратным du>dd, размещены линейные окончания. Группы отверстий 12 или зеркал 14 сдвинуты по одной координате на dd×KW от соответствующих им отверстий 11 или зеркал 13 и размещены с шагом dd×(KW+1), а по другой координате с шагом dd. Подобно им с шагом, кратным dn dd, размещены источники и/или приемники неуплотненных сигналов.
Для настройки на необходимый диапазон длин волн тракт содержит от одной до Р масок с KW×NLW отверстиями в каждой. Высота отверстий в масках изменяется от dd у зеркал или отверстий, ближних к линейным окончаниям до dd×NW у зеркал или отверстий неуплотненных источников/приемников.
Получить параллельные пучки для большого числа витков может оказаться технически сложной задачей. Для ее решения в оптический тракт может быть включена оптическая система, состоящая, например, из нескольких пар линза – переворачивающая призма. Переворачивающие призмы компенсируют вертикальный переворот изображений в линзах, а при четном числе линз устраняется и горизонтальный переворот. Для тракта на фиг.1 линзы должны размещаться с двух сторон от основной призмы. Внутри кольца линзы оптической системы должны иметь фокусные расстояния и размещаться так, чтобы совпали плоскости их входного и выходного изображений и совпали размеры изображений. Кроме того, с ними должны совпадать плоскости входных и выходных изображений оптических систем 9 и 10.
Работает предлагаемое устройство в режиме селектора оптических каналов следующим образом. При первом проходе через призму оптический сигнал одной из двух соседних волн отклоняется от другой на угол  , а на расстоянии между призмами l отклонение сигналов составит d(1)= × l. После второго прохождения через призму угол отклонения увеличится вдвое, а величина отклонения составит d(2)=d(1)+2× × l. После прохождения К призм угол отклонения сигналов увеличится до К× , а отклонение до d(К)=d(К-1)+К× × l, то есть отклонение сигналов для соседних волн нарастает как сумма членов арифметической прогрессии.
На каждом витке оптические сигналы проходят Р призм, поэтому при достаточно большом числе витков KW оптические сигналы пройдут P×KW призм и отклонятся друг от друга на расстояние, достаточное для их надежного разделения. Кроме того, на каждом витке маски преграждают путь оптическим сигналам с длинами волн выше и ниже рабочего диапазона.
При мультиплексировании оптических сигналов от NW каналов в каждую из NWL линий устройство содержит NW одинаковых источников – светодиодов и работает следующим образом. Для каждого светодиода устройство на KW витках расщепляет спектр на ряд частотных составляющих. Маски выделяют для верхнего из NW светодиода волну с наибольшей из NW длиной, а для нижнего светодиода с наименьшей из NW длиной. Все выделенные масками NW составляющих отклоняются призмами на расстояния, достаточные для их суммирования на линейном окончании.
Определить разрешение по длине волны в предлагаемом устройстве можно следующим способом. Для коэффициента преломления n одна призма с преломляющим углом по [7] отклоняет оптические сигналы на угол из формулы sin(( + )/2)=n×sin( /2). При малом угле   /6 sinx x и формула упрощается

При разности коэффициентов преломления для соседних частотных компонент n и промежутке между призмами L призма смещает их на D.


Оптические сигналы в кольце с Р призмами на KW витках спирали преломляются P×KW призмами. При этом величина отклонения соседних частотных компонентов в тракте с каждой призмой возрастает, пропорциональна сумме членов арифметической прогрессии с P×KW членами, до (P×KW+1)×P×KW/2 раз.

Величина dd×KW× D×NW определяет площадь, занимаемую изображением выходных сигналов. Для площади рабочей области призмы s число линий NL, уплотненных NW каналами, определяется выражением.
NL s/(dd×KW×AD×NW)
Для стекла из плавленого кварца в диапазоне 1500-1600 нанометров коэффициент преломления n=1.444179 и n=0.00001195 на 1 нм [8].
Для угла отклонения в одном витке  360° необходимо 15 призм, но с помощью четного числа зеркал, как показано на фиг. 1 и 2, число призм в кольце можно уменьшить до одной.
В таблице 1 приведены зависимость от числа призм Р и числа витков в спирали KW значений оптической длины спирали L в метрах и расстояния D в микрометрах для =0.5, L=0.1 метра при  =1,  =0.1 и  =0.01 нанометр. В таблице приведены значения D, в 1.5-2.5 раза превышающие шаг между зеркалами растров dd=50 мкм, необходимый для оптических АТС, что дает возможность существенно уменьшить взаимные влияния соседних частотных каналов.
Для источников (светодиодов) и приемников (фотодиодов) неуплотненных сигналов диаметром 3-5 мм большие значения D можно получить увеличением выходного изображения.
В диапазоне 1535-1565 нм для  =1,  =0.1 и  =0.01 нанометров число волн соответственно NW=30, NW=300 и NW=3000. Для этих значений в таблице 1 приведено также NL число линий и NWC=NW×NL число волн, уплотняемых одним устройством при dd=100 мкм, и рабочей площади призм s соответственно 1×1, 5×5 и 10×30 сантиметров. Для большого разрешения необходимы более широкие призмы
Из таблицы 1 видно, что высокая разрешающая способность до 0.01 нанометра достигается даже при одной-четырех призмах.
Минимальные размеры спирального тракта с одной призмой и квадратной формой витка LL×LL×KW×dd, где LL= L/4 сторона квадрата. Для параметров, использованных в таблице 1, видно при шаге по длине волны 0.01 нанометра dd=0.1 мм, оптической длине одного витка L=0.1 метра KW=140 витков, при этом размеры устройства всего 8.75 кубических сантиметров, а путь оптических сигналов 14 метров. Такое устройство может разместиться на интерфейсной карте персонального компьютера.
В прототипе с одной призмой для того же шага по длине волны только оптическая длина L, как видно из формул (3) и (4), будет в (KW+1)×KW/2 раз больше и равна 980 метров.
Поставленная цель – “более высокое разрешение, чем в DWDM, выполняется в предложенном устройстве, как показано в таблице 1, достигается даже при одной призме, но число уплотняемых линий и волн увеличивается с ростом числа призм.
При одной-четырех призмах устройство может уплотнять большое число линий в ОАТС с емкостью от малой до большой, а при одной призме в многоволоконных городских и междугородных магистралях или абонентских терминалах и мультиплексорах. При разделении соседних волн на 50-100 мкм не требуются тонкие технологии с точностями порядка долей нанометра как в DWDM.
Настройка устройств в абонентских терминалах и мультиплексорах на необходимый диапазон волн осуществляется выбором рисунка масок и растров, а настройка на свою волну осуществляется перемещением в одно из возможных положений источника (светодиода) и приемника (фотодиода).
На фиг.3 приведена блок-схема основных узлов оптической АТС (ОАТС), коммутирующей NC широкополосных каналов со скоростями передачи 2-4 Мбит от абонентских терминалов и других АТС, подключенных по NL=NLT+NLW+NLWT волоконно-оптическим линиям. NLT линий с временным уплотнением NT или меньшим числом каналов, NLW линий, уплотненных NW волнами, и NLWT линий, уплотненных NWT волнами, каждая из которых уплотнена NTW временными каналами.
ОАТС состоит из входного оптического кросса 20, селектора частотного уплотнения 21, «разговорного тракта с временным уплотнением» 22, мультиплексора частотного уплотнения 23, выходного оптического кросса 24 и устройства управления 30.
Разговорный тракт содержит пространственную коммутационную систему и блоки временного уплотнения на ее входах и выходах.
Оптические кроссы – это плоские или полусферические панели с двумерным массивом из NK=NC/k отверстий, в NL из которых размещены окончания оптических линий, где к – наибольший общий делитель числа каналов в одной линии.
В ОАТС в качестве устройств частотного уплотнения 21 и 23 используется описанное выше многолинейное устройство уплотнения по длинам волн. Оно может быть общими либо для всех NL линий либо для больших групп однотипных линий, например NLW и/или NLWT.
Устройства уплотнения 21 и 23 содержат по две многолинзовые оптические системы, спиральный оптический тракт и два растра зеркал или отверстий в зеркале.
В устройстве 21 первая оптическая система проектирует уменьшенное изображение линейных окончаний кросса 20 на растр ввода, а вторая система проектирует изображение с растра вывода на вход блоков «разговорного тракта».
В устройстве 23 первая оптическая система проектирует выходное изображение блока 45 на растр ввода, а вторая проектирует увеличенное выходное изображение с растра вывода на линейные окончания кросса 24.
Для уменьшения потерь света оптические системы устройств 21 и 23 должны содержать дополнительные линзы, размещенные у кроссов и линейных входов/выходов спиральных трактов.
Эти линзы показаны на фиг.4 только у кроссов. Они преобразуют параллельные пучки света от кросса 20 сначала в сходящиеся, а затем в параллельные на входе спирального тракта устройства 21 и в обратном направлении для устройства 23 и кросса 24.
Растры ввода/вывода направляют в спиральный тракт частотного уплотнения только часть изображения линейных окончаний для NLW и NLWT линий, а другую часть для NLT линий пропускают через оптические системы на вход/выход разговорного тракта.
К ОАТС могут подключаться либо двухволоконные линии с симплексной передачей в каждом волокне либо одноволоконные линии с дуплексной передачей. На фиг.3 показаны окончания одноволоконных (двухсторонних) оптических линий 25, приемные и передающие окончания 26 односторонних двухволоконных линий. К окончаниям 25 подключаются короткие абонентские линии от видеотелефонных ТВ и/или телефонных ТФ терминалов. К окончаниям 26 подключаются длинные соединительные линии от других ОАТС и/или оптических узлов входящих/исходящих связей.
Окончаниями оптоволоконных линий могут быть, например, концы волокон либо соединенные с ними фоконы, градиентные линзы или микролинзы.
На кроссах 20 и 24 кроме оптических окончаний могут устанавливаться электрооптические окончания – светодиоды 27 и фотодиоды 28, подключенные к согласующим устройствам 29 проводных соединительных линий от электронных или электромеханических АТС. Согласующие устройства 29 преобразуют электрические сигналы существующих АТС в формат ОАТС и обратно.
Устройство управления 30 содержит управляющие выходы 31, которые подключены к блокам «разговорного тракта» 22, а кроме того группу входов и выходов сигнализации 32 и 33. Эти входы и выходы либо электрические и подключены к окончаниям 27 и 28 либо оптические и подключены к окончаниям 26. Группа окончаний от входов/выходов 32 и 33 соединяет устройство управления через коммутационную систему и блоки разговорного тракта с D каналами абонентских линий и общими каналами сигнализации соединительных линий.
На фиг.4 приведена оптическая блок-схема «разговорного тракта» ОАТС. Устройства частотного уплотнения и все блоки «разговорного тракта» – объемные конструкции с входными и выходными окнами, общие для всех NC каналов. Разговорный тракт содержит мультиплексор одноволоконных линий 40, 47, 48, блок выравнивателя задержек оптических сигналов 41, временной селектор каналов 42, блок оптической памяти 43, пространственную коммутационную систему 44, временной мультиплексор каналов 45. Причем в разговорном тракте синхронные только блоки временного уплотнения 41-43 и 45.
Во входном окне выравнивателя 41, между выходными и входными окнами соседних блоков «разговорного тракта» и в выходном окне блока 45 установлены светопроводящие экраны 46. Одна сторона этих экранов содержит от NK до NC позиций для приемников оптических сигналов предыдущего устройства или блока, а другая – от NK до NC позиций источников для следующего. Здесь NK равно либо NLT+NWT для линий, уплотненных NT временными каналами, либо в общем случае NC/k, a k – наибольший общий делитель числа каналов в одной линии.
ОАТС содержит экраны двух типов либо пассивные, например матовые стекла или световодные пластины, либо усилители яркости NK или NC точечных изображений.
В качестве многоточечных усилителей яркости могут использоваться, например, полупроводниковые матрицы, например, со структурой типа фототранзистор – светодиод или фототранзистор – микролазер, либо электроннооптические преобразователи с люминофором малого послесвечения.
ОАТС может содержать либо один блок оптической памяти 43 при большом быстродействии усилителей яркости изображений в экранах 46 либо может содержать при малом быстродействии два блока 43 на входе и выходе коммутационной системы.
Абонентские линии могут содержать либо одно волокно с дуплексной передачей сигналов, разделенных по времени или по длинам волн, либо два волокна с симплексной передачей.
Одноволоконные линии в ОАТС образует общий для всех линий мультиплексор, который состоит из двух светоделительных элементов 40, 47 и оптической системы 48.
Мультиплексор объединяет на оптических окончаниях 25 (фиг.3) входные и выходные оптические сигналы. Светоделительные элементы 40 и 47 могут быть, например, либо зеркалами полупрозрачными или отражающими часть поляризованного светового потока, либо куб-призмами с двойным лучепреломлением.
Входное зеркало 40 устанавливается между выходом селектора частотного уплотнения 21 и входным экраном блока временного уплотнения 41, 42, а выходное 47 устанавливается между выходным экраном блока временного уплотнения 45 и входом мультиплексора частотного уплотнения 23.
Оптическая система 48 состоит, например, из нескольких линз. Фокусные расстояния системы 48 должны быть такими, чтобы входное изображение для нее размещалось на выходном экране блока 45, а ее выходное изображение размещалось на плоскости, проходящей через центр растра неуплотненных сигналов устройства 21.
Кроме того, линзы системы 48 должны размещаться на таких расстояниях, чтобы масштабы входного и выходного изображений были подобными или равными.
Мультиплексор 40, 47, 48 может объединять в одну линию оптические сигналы либо по времени либо по длине волны. Для сигналов, объединяемых по времени, позиции источника на выходном экране блока 45 и входном блока 41 должны совпадать. Для сигналов, объединяемых по длине волны, позиции на экранах блоков 41 и 46 должны быть смещены на расстояние, которое устройство 21 объединит в одну линию.
Работает мультиплексор следующим образом. Входное зеркало 40 пропускает часть энергии оптического сигнала от окончания 25 на вход блока 41. Выходное зеркало 48 отражает оптические сигналы для одноволоконных на вход оптической системы 48, а ее выходные сигналы зеркало 40 отражает через устройство уплотнения 21 на линейные окончания 25, поскольку устройства частотного уплотнения двунаправленные.
На фиг.3 окончания одноволоконных линий 25 размещены на кроссе 20, но можно разместить все окончания 25 на кроссе 24, изменив направление зеркал 40 и 47.
На фиг.5 приведена оптическая блок-схема доступа к абонентским терминалам. К каждой абонентской линии может подключаться несколько терминалов с временным или с частотным уплотнением, предоставляя по этой линии до NT или NW широкополосных каналов. Возможны два вида терминалов с оптическим 50 или электрическим 51 входом/выходом. Терминалы могут подключаться к оптическим линиям через оптические 52 или электронные 53 мультиплексоры.
На фиг.5 показано подключение оптических терминалов к линии небольшими группами через абонентские мультиплексоры 52 в одной точке, а также распределенное мультиплексирование с подключением и терминалов 50 и мультиплексоров 52 в нескольких точках через промежуточные оптические мультиплексоры 54.
Оптические мультиплексоры 52 могут быть либо пассивными разветвителями либо регенераторами оптических сигналов.
Промежуточные мультиплексоры 54 могут быть либо пассивными разветвителями либо устройствами уплотнения по длине волны.
Электронные терминалы 51 могут подключаться к оптической линии только через электронные мультиплексоры 53, которые преобразуют приходящие к ним по витым парам электрические сигналы в оптические с временным или частотным уплотнением.
Как показано на фиг.5, ОАТС для всех или для части абонентских линий обеспечивает многоточечное мультиплексирование на одной оптоволоконной линии нескольких терминалов и/или мультиплексоров.
Работа многоточечного мультиплексирования и его синхронизация будет описана ниже при описании работы всей ОАТС.
Блоки разговорного тракта 41-45 состоят либо из многократных оптических переключателей либо из многократных оптических соединителей, либо из их компонентов. Все блоки 41-45 многократные, поскольку содержат светонаправляющие элементы, количество которых намного меньше числа каналов, но все они используются каждым коммутируемым каналом, то есть используются многократно.
Каждый многократный переключатель NK×1×N или NK×N×1 выполняет функцию NK независимых переключателей 1×N или N×1, а многократный соединитель NK×M×N выполняет функции NK независимых коммутационных матриц с М входами и N выходами. В разных блоках NK различно, но везде NK>N и NK>M.
На фиг.6 показан пример оптической схемы многократного оптического переключателя и соединителя. Многократный переключатель с N=4 состоит из входного светопроводящего экрана 60, светоразветвителя входного К или K×N точечного изображения на N направлений, N постоянных или переменных масок 63, N быстродействующих оптических ключей 64, сумматора N изображений с выхода масок и ключей на выходном светопроводящем экране 68. Для уменьшения потерь световой энергии перед панелью масок 63 и после ключей 64 установлены конденсорные линзы 67, обеспечивающие перпендикулярное падение пучков света на маски и ключи.
Светоразветвитель состоит из линзового растра с N линзами 61, размещенными на панели 62. Линзы 61 установлены так, что их побочные оптические оси [9] проходят от центра входного экрана 60 к центрам масок 63 через линзу 67, как показано сплошными линиями на фиг.6. Линзы растра 61 имеют фокусные расстояния, которые обеспечивают проекцию перевернутого входного изображения с экрана 60 на каждую маску, а линза 67 обеспечивает перпендикулярное падение света на маски.
Сумматор состоит из линзового растра с N линзами 65, размещенными на панели 66. Линзы 65 размещены так, что их побочные оптические оси проходят от центров масок к точкам на выходном экране, смещенным от его центра и разделенным друг от друга на одинаковые расстояния, как показано на фиг.6 сплошными линиями. В некоторых блоках побочные оси линз сумматора идут к центру экрана 68, как показано пунктирными линиями.
Маски 63 в некоторых блоках ОАТС могут быть либо постоянными с одним отверстием в одной из N масок для каждого из NK переключателей либо переменными. Переменные маски – это жидкокристаллические или сегнетокерамические индикаторные панели, работающие на просвет с NK оптическими ключами.
В блоке выравнивателя 41 используются только переменные маски, а в блоках временных селектора/мультиплексора 42 и 45 – маски либо постоянные либо переменные, либо и те и другие.
Работают многократные переключатели с постоянными масками под управлением синхрогенератора, выходы которого подключены ко всем быстродействующим ключам 64. Синхрогенератор не показан на фиг.4 и 6 для их упрощения. Синхрогенератор формирует серии из N синхроимпульсов с частотой серии от SR/B до NT×SR для каждого многократного переключателя на N направлений. Здесь SR – скорость передачи в каждом канале, В – число битов в байте и NT – максимальное число временных каналов, передаваемых по линии или на одной волне. Синхроимпульсы серии последовательно открывает ключи 64 для масок от первой до маски N.
В многократном переключателе, который выполняет функцию К независимых переключателей, одновременно переключаются ключами 64 все К входов одном из N направлений, а сумматор сдвигает выходные сигналы на одну из N позиций, определяемую для каждого из К переключателей одной из N масок, содержащей для него отверстие.
Для многократного переключателя с N переменными масками устройство программного управления ОАТС в режиме конфигурации настраивает маски, открывая для одного или нескольких каналов ключи только в одной из N масок, различные для каждого из NK независимых переключателей. После настройки эти переключатели работают так же, как с постоянными масками.
Многократный оптический соединитель, например образующий NK независимых коммутационных матриц с М входами и N выходами в каждой, отличается от многократного переключателя с переменными масками отсутствием быстродействующих ключей 64, числом масок и линз в разветвителе и сумматоре, а также сдвигом изображений в сумматоре. Соединитель содержит M+N-1 маску и линзу в разветвителе и сумматоре. Состояние ключей в масках изменяет при установлении соединений и их разъединении устройство управления ОАТС. Причем в некоторых блоках ОАТС соединители вместо масок содержат быстродействующие ключи.
В оптической схеме, приведенной на фиг.6 для N=4 или M+N-1=4, маски и светонаправляющие элементы разветвителя и сумматора можно разместить не только в линию, но и в виде квадратной или прямоугольной матрицы. При этом схема на фиг.6 будет вертикальным или горизонтальным разрезом переключателя с N=16 либо соединителя с M+N-1=16.
В качестве переменных масок можно использовать, например, серийно выпускающиеся индикаторные панели на жидких кристаллах, содержащие до 640×480 точек – оптических ключей. Такая панель с контроллером, удерживающим текущее состояние, установленное устройством управления ОАТС, имеет габариты 200×150 мм. При разработке панелей специально для коммутационных систем их габариты будут меньше, а число ключей больше. Но даже для таких панелей, как будет показано ниже, один многократный соединитель или переключатель сможет выполнять функции нескольких тысяч независимых коммутационных матриц или переключателей.
Кроме линзового растра светонаправляющие узлы переключателей и соединителей могут быть выполнены в виде линзопризменной системы или набора дифракционных решеток, но с соблюдением всех описанных выше признаков количества и размещений светонаправляющих элементов.
Для линзопризменной светонаправляющей системы, аналогичной приведенной на фиг.6, линзовый растр заменяется одной общей линзой, а между источниками и линзой в разветвителе устанавливается призма с N или M+N-1 отклоняющими гранями, которые размножают изображение источников в N или M+N-1 раз. Линза проектирует эти изображения на N или M+N-1 постоянных или переменных масок. При этом оптическая ось общей линзы идет от центров масок к центрам отклоняющих граней призмы и преломляются ими к центру массива источников. В сумматоре аналогично общая линза проектирует N или M+N-1 изображений масок на N или M+N-1 грань призмы, которая объединяет их в одно изображение.
Для больших значений N или М многократные переключатели и соединители могут состоять из нескольких последовательно включенных каскадов. Например, переключатель с N=N1×N2 может состоять из двух каскадов с N=N1 и N=N2.
Блок выравнивателя 41 (фиг.4) синхронизирует приходящую по NK входам информацию с циклом блока временного уплотнения. Блок содержит общий для всех линий выравниватель границ битов, а для байтового интерливинга каналов еще и выравниватель границ байтов. Блок выравнивает задержку только соединительных линий с другими ОАТС, а выравнивание абонентских линий должно выполняться в абонентских терминалах по командам от ОАТС.
Выравниватель границ битов увеличивает задержку в каждой соединительной линии до совпадения переднего фронта, приходящего по ней бита, с циклом ОАТС с точностью до 1/BN доли бита. Выравниватель границ байтов увеличивает задержку в каждой линии до совпадения переднего фронта принимаемого байта из В битов с циклом ОАТС.
На фиг.7 показана оптическая схема выравнивателя битов. Он обеспечивает независимо для каждой линии различные необходимые ей задержки в диапазоне от 0 до 1×(BN-1) с шагом 1, равным 1/BN доле бита. Выравниватель битов состоит из входного светопроводящего экрана 70, светоразветвителя на BN направлений 71, BN переменных масок 72 из NK управляемых оптических ключей, BN быстродействующих ключей 73, NK×BN точечной оптической памяти 74, сумматора BN фрагментов изображения оптической памяти 75, общего быстродействующего ключа 76 и NK точечной оптической памяти 77. Светоразветвитель и сумматор выполнены в виде линзовых растров из BN линз. Линзы растров размещены так, что их побочные оптические оси идут от центров экранов 70 и 76, 77 к центрам масок 72 и фрагментов выходного изображения памяти 74.
Оптическая память состоит из запоминающих усилителей – усилителей яркости изображений с положительной обратной связью. Стирается содержимое памяти, например, кратковременным выключением питания.
Работает выравниватель битов под управлением синхрогенератора ОАТС. При рестарте или первом пуске устройство управления 30 (на фиг.3), как будет описано ниже, определяет величину задержки для каждой линии и по величине необходимой задержки настраивает маски 72. Если для линии, источник которой размещен в позиции i, необходима задержка j, устройство управления 30 в маске j открывает ключ i, а во всех остальных масках закрывает ключи i.
Для линий, уплотненных NT каналами со скоростью передачи SR, синхрогенератор выдает на быстродействующие ключи 73 серию из BN синхроимпульсов с частотой NT×SR. Первый импульс цикла ОАТС открывает путь через первую маску, второй через вторую и т.д. Для линии i путь открывает только импульс j и сигнал на запоминающий усилитель 74 поступает с задержкой от начала цикла в j долей бита. Усилитель 74 накапливает значения битов за BN импульсов, а в паузе между BN-1 и нулевым импульсом синхрогенератор выдает в 77 импульс сброса, затем открывает ключ 76 и изображение, накопленное в 74, передается во запоминающий усилитель 77, а после этого синхрогенератор выдает в 74 импульс сброса.
Для байтового интерливинга блок-схема выравнивателя приведена на фиг.8. Блок выравнивателя состоит из выравнивателя битов 81, описанного выше, и выравнивателя байтов 82-89. Выравниватель байтов длиной В битов состоит из многократного оптического переключателя NK×1×2B 82, многократных оптических соединителей NK×2×2 85, NK×2B×B 87 и многократного оптического переключателя NK×B×1 89, которые для источников, размещенных в части из NK позиций входного экрана 80, выполняют функции NK независимых переключателей 1 2В, NK коммутационных матриц 2×2, NK коммутационных матриц 2В×В и NK переключателей В 1. Между переключателем 82 и соединителем 85 установлены два запоминающих усилителя 83А, 83В и быстродействующий ключ 84, образующие оптическую память на 2B×NK точек. Соединитель 85 имеет две группы входов, первая связана с выходами памяти 83А, а вторая с 83В. В соединителе 85 маски заменены быстродействующими ключами, общими для B×NK входов. Между соединителями 85 и 87 установлен светопроводящий экран 86 на 2B×NK точек. Между соединителем 87 и переключателем 89 установлена оптическая память на BxNK точек запоминающий усилитель 88.
Работает выравниватель байтов под управлением синхрогенератора ОАТС. При рестарте или первом пуске устройство управления 30 (на фиг.3), как будет описано ниже, определяет величину сдвига байтов от цикла ОАТС для каждой линии и по величине необходимого сдвига настраивает маски в соединителе 87.
Для линий, уплотненных NT каналами со скоростью передачи SR, синхрогенератор выдает на быстродействующие ключи переключателя 82 серию из 2В синхроимпульсов с частотой NT×SR/2B. Первый импульс цикла ОАТС в переключателе 82 открывает путь к первому NK точечному фрагменту оптической памяти 83, 84. Второй импульс открывает путь ко второму фрагменту и т.д. до фрагмента 2В. Переключатель 82 поочередно записывает группу из В битов в 83А, затем в 83В, причем в каждом усилителе 83 перед началом записи предыдущее содержимое синхрогенератор стирает.
Оптическая память 83 А и 83В в конце каждого В битового цикла ОАТС накапливает для каждого из NK входов по 2×В бита. В четном цикле память 83А содержит, например, для линии 1 первую часть очередного байта и части предыдущего, а 83В содержит остаток байта и часть следующего байта. В нечетном цикле содержимое 83А конец предыдущего байта, а 83В начало следующего байта. Пример содержимого памяти приведен в таблице 2. В первом столбце таблицы указан номер цикла, а в первой строке номера битов.
В конце каждого В битового цикла синхрогенератор открывает быстродействующий ключ 84. Соединитель 85 в каждом четном цикле передает содержимое памяти 83А и 83В на входы соединителя 87 в неизменном виде, а для нечетного цикла меняет местами содержимое 83А и 83В. В таблице 3 приведены значения выходных сигналов для входных из таблицы 2.
При настройке соединителя 87 для линии i первый байт, в которой приходит в фрагмент памяти 83, например, с номером j=3 в таблице 2, открываются ключи для линии i в В масках соединителя 87, размещенных на путях от фрагментов j до j+B к фрагментам памяти 88 от первого до В.
В конце каждого В битового цикла синхрогенератор стирает память 88 и открывает ключ 84. При этом очередной байт от линии i параллельно через соединители 85 и 87 записываются в память 88.
Переключатель 89 в В битовом цикле передает из памяти 88 на выходной экран 80 принятые от каждого из NK входов выравнивателя байты последовательно бит за битом.
Блоки селектора 42 и мультиплексора временного уплотнения 45 ОАТС с NI(1)=NLT+NWL входами и NO(n)=NLT+NWL выходами, уплотненными NT или меньшим числом каналов, выполнены в виде n 1 многократных оптических переключателей на NT=NT(1)×…×NT(i)×…×NT(n) направлений с параметрами переключателя i в селекторе и мультиплексоре NI(i)×1×NT(i) и NO(i)×NT(i)×1, где NI(i)=NI(i-1)×NT(i-1), NO(i-1)=NO(i)×NT(i) и 2 i n-1. Соседние переключатели связаны светопроводящими экранами пассивными или усилителями яркости изображений 46.
В блоках временного уплотнения 42 и 45 все переключатели построены по схеме, приведенной на фиг.6 с описанными ниже изменениями.
Между входными и выходными экранами в переключателе i установлены светоразветвитель изображений входных источников на NT(i)+1 направлений, NT(i)+1 масок, NT(i) быстродействующих ключей, общих для всех каналов, и сумматор NT(i)+1 изображений масок. Маски в переключателе i могут быть либо постоянными с NC(i) отверстиями в каждой, либо переменными в виде матрицы из NC управляемых оптических ключей.
Светоразветвитель и сумматор состоят из линзовых растров с NT(i)+1 линзами. Линзы либо в светоразветвителе либо в сумматоре размещены так, что их побочные оптические оси идут от центра входного/выходного экрана к центрам масок, а соответственно в сумматоре или разветвителе оптические оси от центров масок сдвинуты от центра выходного или входного экрана на расстояние от нуля до dk×NT(1)×…×(NT(i)-1) с шагом dk×NT(1)×…×NT(i-1) для разных направлений разветвления, где dk – шаг между источниками/приемниками оптических сигналов на входных и выходных экранах, подобный dd расстоянию между зеркалами в растрах устройства частотного уплотнения.
В переключателе i NT(i) направлений разветвления с быстродействующими ключами предназначены для разделения каналов, a NT(i)+1 направление без быстродействующего ключа с нулевым смещением оптической оси предназначено для неизменяемой переключателем передачи информации неуплотненных по времени каналов, например для NWL×NW каналов с частотным уплотнением.
Селектор временного уплотнения каналов 42 для линий, уплотненных разным числом каналов от одного до NT, настраивается размещением источников оптических сигналов и отверстий или открытых ключей в масках по следующему правилу. Для источника с номером j несущего N(j) каналов расстояние до следующего источника равно dk×N(j), а в масках отверстия или отпираются ключи для первых N(j) направлений.
В таблице 4 показано размещение источников. В таблицах 5-9 приведен пример настройки ключей для 15 линий. Линии L0, L1 и LE содержат по 4 канала, линии L2-L9 по два, а линии LA-LD по одному каналу. В таблицах 5-8 показаны отверстия или открытые ключи в масках. Для ключей используется двухзначная нумерация, в которой первый знак – номер линии, а второй – номер маски и величина сдвига изображения этой маски вправо. В нулевой маске (таблица 5) передача без сдвига, в маске 1 (таблица 6) со сдвигом на одну позицию и т.д., а в таблице 9 показан результат работы блока. Он содержит номера абонентов, использующих линии с двухзначной нумерацией, в которой первый знак – номер линии, а второй – номер канала в линии.
Мультиплексор временного уплотнения каналов 45 для линий, уплотненных по времени разным числом каналов от одного до NT, при размещении приемников, аналогичного источникам, настраивается только порядком размещения отверстий или открытых ключей в масках. В таблице 9-13 приведен пример настройки для выходов к абонентам по линиям, приведенным в таблице 4. В таблицах 10-13 показаны отверстия или открытые ключи с двухзначными номерами. Первый знак – номер линии, а второй – одновременно номер канала в линии, номер маски и величина сдвига изображения этой маски влево.
Работают селектор и мультиплексор NT=NT(1)×…×NT(i)×…×NT(n) каналов с временным уплотнением и скоростью передачи в канале SR совместно с блоками оптической памяти под управлением синхрогенератора. Синхрогенератор выдает на быстродействующие ключи каждого каскада селектора и мультиплексора серию синхроимпульсов с кратными частотами. На первый каскад приходит серия из NT(1) импульсов с частотой для каждого быстродействующего ключа SR×NT/NT(1), на каскад i серия из NT(i) импульсов с частотой для каждого ключа SR×NT/(NT(1)×…×NT(i)), а для последнего каскада NT(n) импульсов с частотой SR/NT(n). В селекторе каналов в кадре длительностью 1/(SR×NT) n каскадов последовательно развертывают изображение источников каждой линии на входном экране блока оптической памяти с шагом dk на расстояния от нуля до (dk×NT(1)×…×NT(n))-1.
Для линии j, уплотненной меньшим, чем NT числом каналов, например NT/NT(i) каналами в каскаде i в позиции j для всех i масок отверстия или ключи закрыты, и открыты только для i+1 маски, не имеющей общего быстродействующего ключа.
В мультиплексоре по сигналам от синхрогенератора быстродействующие ключи последовательно открывают путь от NT источников каждой линии на выходном экране коммутационной системы к одной точке своего выходного экрана.
Блок оптической памяти при байтовом интерливинге каналов с В битами в байте накапливает для каждой линии кадр длиной B×NT бит, при этом для всех NL линий накапливается кадр из B×NC бит, а затем выдает параллельно бит за битом на входы коммутационной системы.
Оптическая схема блока памяти приведена на фиг.9. Блок состоит из светоразветвителя на В направлений 91, В быстродействующих ключей 92, общих для одного бита всех NC каналов, запоминающего усилителя NC×B точечных изображений 93, общего для NCxB точечных изображений быстродействующего ключа 94, светонаправляющего элемента 95, второго запоминающего усилителя NC×B точечных изображений 96, второй группы из В быстродействующих ключей, общих для NC каналов 97, сумматора В выходных изображений второй группы ключей, которые установлены между входным и выходным экранами 90 и 99.
Светоразветвитель и сумматор блоков памяти состоят из линзовых растров 91 и 98 по В линз в каждом. Оптические оси линз разветвителя 91 соединяют центр входного экрана 90 с центрами ключей 92. Оптические оси линз сумматора 98 соединяют центры ключей 97 с центром выходного экрана 99. Перед ключами 92 и после ключей 97 установлены конденсорные линзы, обеспечивающие перпендикулярное падение света на элементы 92-97, не показанные на фиг.9 для его упрощения.
Для накопления NC×B битов входные и выходные окна запоминающих усилителей 93 и 96 разделены на В фрагментов.
Светонаправляющим элементом между двумя усилителями может быть либо световодная пластина из NC×B отверстий с зеркальными стенками или оптоволоконная пластина.
Работает блок памяти под управлением синхрогенератора ОАТС. На входе первого усилителя блок временного уплотнения последовательно для каждого бита разворачивает NC точечный кадр. Синхрогенератор выдает на ключи 92 и 97 серию из В синхроимпульсов. Каждый импульс открывает через свой ключ 92 путь для NC точечного кадра на соответствующий фрагмент поля памяти 93, а ключ 97 считывает из памяти 96 соответствующий битовый кадр предыдущего байта. В конце последнего импульса серии в усилителе 93 накоплен В NC точечный кадр. Синхрогенератор стирает предыдущий байт в памяти 96 и открывает ключ 94 для перезаписи из 93 в 96, затем закрывает ключ 94 и стирает байт в 93. Цикл приема байтов в усилитель 93 повторяется для каждого из NT каналов. При этом из усилителя 96 каждый байт передается NT раз.
ОАТС может содержать на выходе коммутационной системы второй блок памяти. В этом случае на ключи 97 второго блока синхрогенератор выдает ту же серию, что на ключи 92 первого блока, а на ключи 97 первого и на ключи 92 второго серию с частотой в NT раз меньшей. При этом каждом цикле приема/передачи байта на входы коммутационной системы поступает только один байт, а не NT.
Один или два блока памяти 43 могут размещаться не только на входе и выходе коммутационной системы, но и между каскадами селектора 42 и мультиплексора 45, в точках в которых распакованы не NT, a NT/nt каналов. При таком размещении блоков размер памяти 93 и 96 уменьшается в nt раз, но увеличивается вероятность внутренних блокировок.
Для битового интерливинга В=1 и ОАТС содержит один блок памяти NC точечных изображений. Блок памяти содержит только два запоминающих усилителя 93 и 97, общий ключ 94 и светонаправляющий элемент 95. Он может размещаться на входе либо на выходе, либо внутри коммутационной системы. При этом светонаправляющим элементом между запоминающими усилителями будут несколько соединителей коммутационной системы, для которых первый усилитель входной, а второй усилитель выходной экран, кроме того быстродействующий ключ 94 может устанавливаться на выходе первого или на входе второго усилителя.
Коммутационная система ОАТС 44 (на фиг.4) [3] состоит из S многократных оптических соединителей, из которых соединитель с номером i в диапазоне 1 i S выполняет функции К(i) коммутационных матриц с M(i) входами и N(i) выходами в каждой матрице.
Все соединители последовательно соединены светопроводящими экранами. Соединители построены по схеме, приведенной на фиг.6, описанной выше и отличаются только шагом сдвига изображений в сумматоре.
На фиг.10 приведена упрощенная оптическая схема коммутационной системы с S=3, поясняющая реализацию принципа группообразования в трех оптических соединителях с параметрами К=4, M=N=2.
На схеме показаны пути оптических сигналов для каскадов А-С от входного экрана 100А, проходящие в каждом каскаде через светонаправляющие элементы светоразветвителей 101А-101С и сумматоров изображений 104А-104С, переменные маски 103А-103С и экраны 100А-100С и 105. Для упрощения чертежа светоразветвители и сумматоры показаны прямоугольниками и не показаны перевороты изображения в них.
В таблице 14 для схемы на фиг.10 приведены шаг объединения d и обозначения входов и выходов в каждом из каскадов А-С.
В каждый каскад на фиг.10 кроме переменных масок 1033А-103С (оптических ключей) добавлены еще постоянные маски 102А-102С, которые нужны только для пояснения принципа группообразования. В реальной коммутационной системе позиции закрытые в постоянных масках могут быть закрыты оптическими ключами.
В каждом каскаде из 24 оптических ключей, показанных на фиг.10, постоянные маски 102А-102С выделяют 16 ключей, используемых для коммутации, для чего в них отверстия размещаются по следующему правилу. Если считать нижние на фиг.10 маски первыми, и вести счет их вверх, то на масках 1-N должны быть отверстия в точках падения лучей от первых источников для всех матриц каскада (верхних на фиг.10), на масках 2-N+1 должны быть отверстия в месте падения лучей от вторых входов матриц и т.д. до входов М, для которых в масках М-M+N-1 должны быть отверстия на местах падения лучей от последних входов матриц.
Работает коммутационная система по командам устройства программного управления ОАТС 30 (фиг.3). В исходном состоянии, пока не установлены соединения, по команде устройства управления коммутационной системы во всех соединителях А-С заперты все оптические ключи.
Для соединения a1-d8 устройство управления ищет свободный путь от а1 к d8, определяет, что для этого пути надо открыть в А-С ключи к d8 по промлиниям в2 и с4, через которые проходит линия, отмеченная крестиками на фиг.10, и выдает команду в устройства управления каскадов А-С открыть выбранные ключи. После открытия этих ключей образуется отмеченный крестиками путь. По этому пути оптические сигналы источника a1 проходят к приемнику d8. Аналогично для соединения а5-d1 через в5 и с5 отпираются ключи по пути, отмеченному кружочками.
Во время “разговора” устройство управления 30 хранит в своей памяти информацию об этих путях, а по окончании любого “разговора” выдает в устройства управления каскадов А-С команды закрыть ключи для его пути.
Коммутационная система является симплексной. Для установления в ней двухстороннего соединения от входа А к выходу В необходимо установить одновременно два соединения от А к В и от В к А.
На фиг.10 в каскаде А нижняя маска выделяет цепи, например а1-в2, а3-в4, а верхняя маска – цепи а2-в1, а4-в3 и т.д.
Коммутационные каскады А-С отличаются только настройкой сумматоров изображений 104А-104С. Сумматоры направляют изображения с выходов оптических ключей 103А-103С на выходные экраны 100В, 100С/105 со сдвигом их центров от центра экрана, различным для каждого изображения.
В общем случае величина начального сдвига вверх D0 для первой маски и сдвига D(j, i) для маски j должны иметь следующие значения:
D0(i)=0,5(M(i)+N(i)-z)d(i)
D(j,i)=D0(i)-d(i)×j
Здесь 1 j M(i)+N(i)-2, а при M(i)+N(i)-1 четном z=1, либо при M(i)+N(i)-1 нечетном z=2 и изображение от средней маски попадает на экраны без сдвига. При этом для первого изображения (нижнего на фиг.10) сдвиг равен D(i) позиций вверх, для второго D(i)-d(i), для третьего D(i)-2d(i) и,наконец, для последнего (верхнего) D(i)-(M+N-2)d(i), где i – номер каскада.
Коммутационная схема на фиг.10 содержит только выбирающие каскады В, которые дают от любого входа к любому выходу только один путь, часть которого с некоторой вероятностью может быть занята. Для уменьшения этой вероятности реальные системы содержат дополнительные смешивающие каскады С, настройка сумматоров в которых повторяет несколько предыдущих каскадов. Подключение на выходе коммутационной схемы на фиг.10 еще трех смешивающих каскадов, таких же как и первые три, даст от любого входа к любому выходу 8 путей.
Реальные параметры коммутационных систем даже на серийно выпускающихся индикаторных панелях на 640×480 точек существенно выше показанного на фиг.10. Для таких панелей в таблице 15 приведены значения К×М и M×N и показаны две группы параметров для одной и четырех панелей. В каждой группе приведены общее число каскадов S, число выбирающих каскадов В, число смешивающих каскадов С и Д – число путей от каждого входа к каждому выходу. Причем один каскад может частично выполнять функции выбирающего и смешивающего.
Емкость M×N коммутационных матриц в оптическом соединителе зависит от потерь света в соединителе и от усиления, которое дают усилители яркости изображений. Малогабаритные электронно-оптические преобразователи дают усиление до 50 раз, а с микроканальной пластиной до 500 раз. Для усиления 50 в коммутационной системе возможны значения M×N от 2×2 до 8×8, а для усиления 500 возможны значения от 8×8 до 32×32.
Коммутационная система на основе многократных оптических соединителей с числом входов/выходов, приведенным выше в таблице 15, охватывает диапазон емкостей ОАТС и оптических телефонных узлов от малой до большой.
Для одной индикаторной панели на 640×480 точек с размерами 200×150 мм и электронно-оптического усилителя диаметром 35 и длиной 60 мм оптический соединитель будет иметь габариты порядка 300×200×200 мм, а для четырех панелей 400×400×400.
Работает ОАТС по фиг.3-5 следующим образом. При первоначальном пуске и при рестарте ОАТС выполняет конфигурацию абонентских терминалов и блоков временного уплотнения. Устройство управления ОАТС 30 (фиг.3) в этом режиме подключает свои входы и выходы сигнализации 32 и 33 через коммутационную систему 44, блоки временного 42, 46 и/или частотного уплотнения 21, 22 к нулевым каналам всех абонентских линий (D каналам) и части соединительных линий (каналам ОКС7) и выдает команду «рестарт» или «не готов к приему», а также устанавливает для всех линий нулевую задержку в блоке выравнивателя. При этом все абонентские терминалы прекращают передачу и ожидают команд синхронизации и управления.
На следующем этапе ОАТС начинает проверку времени распространения поочередно для всех абонентских терминалов по тестовой последовательности, состоящей, например, из BN×B фрагментов, каждый из которых сдвинут на одну BN долю бита от предыдущего фрагмента.
Для абонентских линий блок выравнивания сохраняет нулевую задержку. Устройство управления поочередно для всех терминалов по D каналам запрашивает тестовую последовательность. Выбранный по команде устройства 30 терминал начинает передавать тестовую последовательность в своем временном канале.
Устройство управления 30 по правильному приему из D каналов одних фрагментов и ошибкам в других определяет смещение приходящего сигнала от синхроцикла ОАТС на доли бита и байта и выдает в терминал команду, задающую для терминала величину задержки приема и передачи информации от синхрокомбинаций и команд D канала.
Для соединительных линий устройство управления ОАТС по общим каналам сигнализации поочередно запрашивает от других АТС тестовую последовательность. По правильному приему одних фрагментов и ошибкам в других устройство управления 30 определяет для каждой линии смещение приходящего сигнала от синхроцикла ОАТС на доли бита и байта. По этой информации устройство управления настраивает блок выравнивания задержки в линиях. После окончания настройки блока выравнивателя задержек и абонентских терминалов ОАТС переходит в режим коммутации трафика.
В режиме коммутации устройство управления 30 принимает сообщения от общих каналов сигнализации для соединительных линий и D каналов абонентских линий.
Для D каналов устройство управления организует прием сообщений поочередным периодическим опросом терминалов командой «готов к приему» с адресом выбранного терминала.
Терминал передает по D каналу одно или несколько сообщений для ОАТС и заканчивает сеанс опроса командой готовности, либо оканчивает сеанс без передачи сообщений, а ОАТС завершает опрос терминала командой «не готов к приему»,
Сообщения, принятые из каналов D и ОКС7, устройство программного управления ОАТС обрабатывает по алгоритмам, аналогичным принятым в ISDN ATC, формирует ответные сообщения и передает их в D и ОКС7 каналы. Кроме того по сообщениям требующим установления соединений, например SETUP, устройство управления находит свободный путь от канала А, для которого поступило сообщение, к каналу В соединительной линии или абонента, номер которого содержится в сообщении, и второй путь от канала В к каналу А.
Устройство управления отмечает эти пути занятыми в своей памяти на все время разговора. Затем по этим путям устройство управления подключает два соединения А В и В А, открывая в масках многократных соединителей оптические ключи на выбранных путях.
По сообщениям разъединения, например «отбой» или «разъединение», устройство управления закрывает в масках соединителей ключи на путях А В и В А и отмечает эти пути свободными.
Использованные источники
1. Современные технологии цифровых оптических сетей связи (АТМ, PDH, SDH, SONET И WDM). Н.Н.Слепов. Москва, Радио и связь. 2000, стр.362-371, рис.11.4-11.6.
2. ISDN. Цифровая сеть с интеграцией служб. Понятия, методы, системы. П.Беккер. Москва, Радио и связь. 1991, стр.182-103, рис.6.6-6.8.
3. Патент РФ 2238615 20.10.2004, фиг.1-5.
4. Патент Японии JP 6032492 В4 27.04.1994, фиг.1-2. Опубликован в бюллетене «Изобретения стран мира». 1997. Выпуск 110. №3, стр.36.
5. Оптика и связь. А.Казанне, Ж.Флере, Г.Мэтр, М.Руссо. Москва, Мир, 1984, стр.437-440, рис.18.3-18.4.
6. Международный патент № WO 3081941 А2 22.03.2003, фиг 1-6. Опубликован в бюллетене «Изобретения стран мира» 2004. Выпуск 110. №10, стр.384-385.
7. Справочник по физике. Б.М.Яворский, А.А.Детлаф Москва, Наука, 1965, стр.571, рис. V.6.3.
8. Оптические материалы для инфракрасной техники. Е.М.Воронкова и др. Москва, Наука. 1965, стр.144-147.
9. Справочник по физике. Б.М.Яворский, А.А.Детлаф Москва, Наука, 1965, стр.575, рис. V.6.6.

Таблица 2
| |
|
1 |
2 |
3 |
4 |
5 |
6 |
7 |
8 |
|
9 |
10 |
11 |
12 |
13 |
14 |
14 |
16 |
| 0 |
|
70 |
80 |
11 |
21 |
31 |
41 |
51 |
61 |
|
71 |
81 |
12 |
22 |
32 |
42 |
52 |
62 |
| 1 |
|
72 |
82 |
13 |
23 |
33 |
43 |
53 |
63 |
|
71 |
81 |
12 |
22 |
32 |
42 |
52 |
62 |
| 2 |
|
72 |
82 |
13 |
23 |
33 |
43 |
53 |
63 |
|
73 |
83 |
14 |
24 |
34 |
44 |
54 |
64 |
| 3 |
|
74 |
84 |
15 |
25 |
35 |
45 |
55 |
65 |
|
73 |
83 |
14 |
24 |
34 |
44 |
54 |
64 |
| 4 |
|
74 |
84 |
15 |
25 |
35 |
45 |
55 |
65 |
|
75 |
85 |
16 |
26 |
36 |
46 |
56 |
66 |
| 5 |
|
76 |
86 |
17 |
27 |
37 |
47 |
57 |
67 |
|
75 |
85 |
16 |
26 |
36 |
46 |
56 |
66 |
| 6 |
|
76 |
86 |
17 |
27 |
37 |
47 |
57 |
67 |
|
77 |
87 |
18 |
28 |
38 |
48 |
58 |
68 |
| Таблица 3 |
| |
|
1 |
2 |
3 |
4 |
5 |
6 |
7 |
8 |
|
9 |
10 |
11 |
12 |
13 |
14 |
14 |
16 |
| 0 |
|
70 |
80 |
11 |
21 |
31 |
41 |
51 |
61 |
|
71 |
81 |
12 |
22 |
32 |
42 |
52 |
62 |
| 1 |
|
71 |
81 |
12 |
22 |
32 |
42 |
52 |
62 |
|
72 |
82 |
13 |
23 |
33 |
43 |
53 |
63 |
| 2 |
|
72 |
82 |
13 |
23 |
33 |
43 |
53 |
63 |
|
73 |
83 |
14 |
24 |
34 |
44 |
54 |
64 |
| 3 |
|
73 |
83 |
14 |
24 |
34 |
44 |
54 |
64 |
|
74 |
84 |
15 |
25 |
35 |
45 |
55 |
65 |
| 4 |
|
74 |
84 |
15 |
25 |
35 |
45 |
55 |
65 |
|
75 |
85 |
16 |
26 |
36 |
46 |
56 |
66 |
| 5 |
|
75 |
85 |
16 |
26 |
36 |
46 |
56 |
66 |
|
76 |
86 |
17 |
27 |
37 |
47 |
57 |
67 |
| 6 |
|
76 |
86 |
17 |
27 |
37 |
47 |
57 |
67 |
|
77 |
87 |
18 |
28 |
38 |
48 |
58 |
68 |
| Таблица 4 |
| L0 |
– |
– |
– |
L1 |
– |
– |
– |
| L2 |
– |
L3 |
– |
L4 |
– |
L5 |
– |
| L6 |
– |
L7 |
– |
L8 |
– |
L9 |
– |
| LA |
LB |
LC |
LD |
LE |
– |
– |
– |
| Таблица 5 |
| К00 |
– |
– |
– |
К10 |
– |
– |
– |
| К20 |
– |
K30 |
– |
К40 |
– |
К50 |
– |
| К60 |
– |
К70 |
– |
К80 |
– |
К90 |
– |
| КА0 |
КВ0 |
КС0 |
KD0 |
КЕ0 |
– |
– |
– |
| Таблица 6 |
| К01 |
– |
– |
– |
К11 |
– |
– |
– |
| К21 |
– |
К31 |
– |
К41 |
– |
К51 |
– |
| К61 |
– |
К71 |
– |
К81 |
– |
К91 |
– |
| – |
– |
– |
– |
КЕ1 |
– |
– |
– |
| Таблица 7 |
| К02 |
– |
– |
– |
К12 |
– |
– |
– |
| – |
– |
– |
– |
– |
– |
– |
– |
| – |
– |
– |
– |
– |
– |
– |
– |
| – |
– |
– |
– |
КЕ2 |
– |
– |
– |
| Таблица 8 |
| К03 |
– |
– |
– |
К13 |
– |
– |
– |
| – |
– |
– |
– |
– |
– |
– |
– |
| – |
– |
– |
– |
– |
– |
– |
– |
| – |
– |
– |
– |
KЕ3 |
– |
– |
– |
| Таблица 9 |
| А00 |
А01 |
А02 |
А03 |
А10 |
A11 |
A12 |
A13 |
| А20 |
А21 |
А30 |
А31 |
А40 |
A41 |
A50 |
A51 |
| А60 |
А61 |
А70 |
А71 |
А80 |
A81 |
A90 |
A91 |
| АА0 |
АВ0 |
АС0 |
AD0 |
AE0 |
AE1 |
AE2 |
AE3 |
| Таблица 10 |
| K00 |
– |
– |
– |
K10 |
– |
– |
– |
| К20 |
– |
K30 |
– |
К40 |
– |
К50 |
– |
| К60 |
– |
К70 |
– |
К80 |
– |
К90 |
– |
| КА0 |
KB0 |
KC0 |
KD0 |
КЕ0 |
– |
– |
– |
| Таблица 11 |
| – |
К01 |
– |
– |
– |
К11 |
– |
– |
| – |
К21 |
– |
К31 |
– |
К41 |
– |
К51 |
| – |
К61 |
– |
К71 |
– |
К81 |
– |
К91 |
| – |
– |
– |
– |
– |
KE1 |
– |
– |
| Таблица 12 |
| – |
– |
К02 |
– |
– |
– |
К12 |
– |
| – |
– |
– |
– |
– |
– |
– |
– |
| – |
– |
– |
– |
– |
– |
– |
– |
| – |
– |
– |
– |
– |
– |
КЕ2 |
– |
| Таблица 13 |
| – |
– |
– |
K03 |
– |
– |
– |
К13 |
| – |
– |
– |
– |
– |
– |
– |
– |
| – |
– |
– |
– |
– |
– |
– |
– |
| – |
– |
– |
– |
– |
– |
– |
КE3 |
| Таблица 14 |
| Каскад |
d |
матрица |
1 |
2 |
3 |
4 |
| А |
1 |
входы выходы |
а1, а2 в1, в2 |
а3, а4 в3, в4 |
а5, а6 в5, в6 |
а7, а8 в7, в8 |
| В |
2 |
входы выходы |
в1, в3 с1, с3 |
в2, в4 с2, с4 |
в5, в7 с5, с7 |
В6, в8 с6, с8 |
| С |
4 |
входы выходы |
с1, с5 d1, d5 |
с2, с6 d2, d6 |
с3, с7 d3, d7 |
с4, с8 d4, d8 |
| Таблица 15 |
| |
одна панель |
четыре панели |
| M×N |
К×М |
S |
В |
С |
D |
К×М |
S |
В |
С |
D |
| 2×2 |
76800 |
21 |
17 |
4 |
16 |
307200 |
23 |
19 |
4 |
16 |
| 4×4 |
38400 |
10 |
8 |
2 |
16 |
153600 |
11 |
9 |
2 |
16 |
| 8×8 |
19200 |
6 |
5 |
1 |
8 |
76800 |
7 |
6 |
1 |
16 |
| 16×16 |
9600 |
5 |
4 |
1 |
64 |
38400 |
5 |
4 |
1 |
16 |
| 32×32 |
4800 |
4 |
3 |
1 |
128 |
19200 |
4 |
3 |
1 |
32 |
| 64×64 |
2400 |
3 |
2 |
1 |
64 |
9600 |
3 |
2 |
1 |
16 |
Формула изобретения
1. Многолинейное устройство уплотнения по длинам волн, содержащее дисперсионный элемент, призму или дифракционную решетку, установленную между окончанием оптической линии и источниками или приемниками неуплотненных сигналов, отличающееся тем, что оптические окончания NLW оптоволоконных линий с размерами dd, уплотненных NW каналами по длинам волн в диапазоне 1 i 2 и NLW×NW источников и/или приемников неуплотненных сигналов, размещены в двух параллельных двумерных массивах группами по G 1, а между ними размещен общий для всех линий спиральный оптический тракт, содержащий кольцо из Р 1 призм или дифракционных решеток, 1 MS P масок, MR зеркал, замыкающих кольцо для одной из длин волн i, а также растры ввода и вывода оптических сигналов из NLW для уплотненных и NLW или NLW×NW для неуплотненных сигналов зеркал на прозрачной подложке или отверстий в зеркале, причем для образования спирали с оптической длиной витка L и шагом между витками G×dd, установлены под углом =±arctg(G×dd/L) к массивам окончаний либо весь тракт, либо растры ввода/вывода, либо часть зеркал, а для образования KW витков центры зеркал или отверстий в растрах оптических окончаний смещены на расстояние G×KW×dd от центров зеркал в растре неуплотненных сигналов и размещены с шагом G×(KW+1)×dd между группами и dd в группе по одной координате и NW×dd по другой, а центры зеркал или отверстий в растрах неуплотненных сигналов размещены с шагом G×(KW+1)×dd между группами и dd в группе по первой координате и с шагом dd по второй, кроме того, линейные окончания и неуплотненные источники или приемники оптически связаны с растрами двумя объективами и размещены геометрически подобно размещению центров зеркал или отверстий, а маски, размещенные между призмами, имеют по KW×NLW отверстий, шириной G×dd и длиной отверстий от dd для отверстия ближнего к растру уплотненных сигналов до NW×dd для ближнего к растру неуплотненных сигналов, причем вместо последнего отверстия маска содержит G×NW отверстий с длиной и шириной, меньшей dd.
2. Оптическая АТС, содержащая пространственную коммутационную систему, к которой через селектор и мультиплексор уплотнения по длинам волн, по оптоволоконным абонентским и соединительным линиям подключены NC каналов от абонентских телефонных или видеотелефонных терминалов и от других АТС, причем каждая абонентская линия содержит общий D канал сигнализации и синхронизации, а одна из нескольких соединительных линий содержит общий канал сигнализации ОКС7, которые в оптической АТС подключены к ее устройству управления, отличающаяся тем, что оптические окончания NLT линий с временным уплотнением NT или меньшим числом каналов, NLW линий с уплотнением по длинам волн NW или меньшим числом частотных каналов, NLWT линий уплотненными NWT волнами, каждая из которых уплотнена NTW временными каналами, размещены в NL=NLT+NLW+NLWT позициях двух двумерных массивов, между которыми установлены первое многолинейное устройство уплотнения, селектор длин волн, выполненный по п.1, разговорный тракт, второе многолинейное устройство уплотнения, мультиплексор длин волн, выполненный по п.1, причем разговорный тракт содержит мультиплексор одноволоконных линий, многолинейный блок выравнивателя задержек оптических сигналов, многолинейный селектор временного уплотнения, пространственную коммутационную систему из S многократных оптических соединителей и многолинейный мультиплексор временного уплотнения, связанные межу собой светопроводящими экранами, либо пассивными экранами, либо усилителями яркости изображений, причем одна сторона экранов является массивом приемников для предыдущего устройства или блока, а другая является массивом источников для следующего устройства или блока, а все многолинейные и многократные устройства оптической АТС являются общими для всех NL линий и NC каналов.
3. Оптическая АТС по п.2, отличающаяся тем, что растры ввода/вывода в первом и втором устройствах уплотнения по длинам волн для NLW, NLWT и NLT линий разделены на несколько фрагментов для однотипных линий, с различным шагом размещения зеркал или отверстий в зеркале по двум координатам, так для фрагментов NLW окончаний уплотненных NWF частотными каналами зеркала или отверстия размещены по одной координате с шагом G×(KWF+1)×dd и по другой с шагом NWF×dd, а для NLWT линий уплотненных NWT частотными каналами, каждый из которых уплотнен NTW временными каналами, зеркала размещены по одной координате с шагом, большим из (KWT+1)×dd или NTW×dd и по другой с шагом NWT×dd, где KWF или KWT – число витков спирали, необходимое для разделения NWF или NWT частотных каналов, а линейные окончания этих линий размещены геометрически подобно размещению зеркал или отверстий, кроме того, для NLT линий с временным уплотнением NT или меньшим числом каналов растры прозрачны, а их окончания размещены по одной координате с различным для линий с разным числом каналов шагом, подобным dd dd×N(j) dd×NT, где dd×N(j) – шаг для линии j, уплотненной N(j) каналами, а по другой координате с постоянным шагом, подобным dd, причем изображения неуплотненных по частоте сигналов на входных и выходных экранах разговорного тракта размещены для всех линий кроме NLT подобно размещению растров неуплотненных сигналов, а для NLT линий подобно размещению их линейных окончаний.
4. Оптическая АТС по п.2, отличающаяся тем, что мультиплексор одноволоконных линий содержит два светоделительных зеркала или призмы и светонаправляющую систему из нескольких линз, которая оптически соединяет через зеркала или призмы входной или выходной экраны разговорного тракта с растром ввода/вывода селектора или мультиплексора частотного уплотнения, причем первое зеркало или призма – установлены перед входным экраном разговорного тракта, а второе зеркало или призма – после его выходного экрана, кроме того, двойные фокусные расстояния светонаправляющей системы должны быть равными оптической длине пути от центра растра ввода/вывода до центра первой линзы и от центра последней линзы до центра выходного экрана.
5. Оптическая АТС по п.2, отличающаяся тем, что многократные оптические переключатели с параметрами NK×1×N или NK×N×1, образующие NK переключателей с одним входом и N выходами или с N входами и одним выходом в каждом, состоят из светоразветвителя на N направлений и сумматора N изображений, между которыми установлены N масок и N быстродействующих ключей, общих для всех отверстий маски, а многократные оптические соединители с параметрами NK×M×N, образующие NK независимых коммутационных матриц с М входами и N выходами, состоят из светоразветвителя и сумматора на M+N-1 направлений и M+N-1 маски либо M+N-1 быстродействующего ключа, причем маски могут быть либо постоянными с NK или меньшим числом отверстий либо переменными с NK×N или NK×M оптическими ключами на жидкокристаллических или сегнетокерамических индикаторных матрицах, а светоразветвители и сумматоры являются либо линзовыми растрами из N или M+N-1 линз, либо из одной общей линзы и призмы с N или M+N-1 светонаправляющими гранями.
6. Оптическая АТС по п.2, отличающаяся тем, что выравниватель задержек оптических сигналов до границы бита с точностью до 1/BN доли бита при приеме из всех линий, уплотненных NT каналами и размещенных в части из NK=NLT+NWT позиций входного экрана, состоит из светоразветвителя на BN направлений, BN переменных масок с NK оптическими ключами в каждой, BN быстродействующих ключей, NK×BN точечной оптической памяти, сумматора BN выходных изображений оптической памяти, общего быстродействующего ключа и NK точечной оптической памяти, причем оптическая память состоит из запоминающих усилителей на основе усилителей яркости изображений либо с положительной обратной связью, либо с использованием послесвечения, кроме того, при байтовом интерливинге за выравнивателем до границы бита установлен выравниватель до границы байта, состоящий из многократного оптического переключателя NK×1×2B, NK×2B точечной оптической памяти, многократного оптического соединителя NK×2×2, многократного оптического соединителя NK×2B×B, NK×B точечной оптической памяти и многократного переключателя NK×B×1, причем в соединителе NK×2×2 маски заменены быстродействующими ключами, общими для всех NK коммутационных матриц.
7. Оптическая АТС по п.2, отличающаяся тем, что блоки селектора и мультиплексора временного уплотнения соответственно с NI(1)=NLT+NWL входами и NO(n)=NLT+NWL выходами, каждый из которых уплотнен NT или меньшим числом каналов, выполнены в виде n 1 многократных оптических переключателей с параметрами переключателя i в селекторе и мультиплексоре NI(i)×1×NT(i) и NO(i)×NT(i)×1, где 2 i n, NT=NT(1)×…×NT(i)×…×NT(n), NI(i)=NI(i-1)×NT(i-1), NO(i-1)=NO(i)×NT(i), причем соседние переключатели связаны друг с другом светопроводящими экранами или усилителями яркости изображений, а между входными и выходными экранами в переключателе i установлены светоразветвитель изображений входных источников на NT(i)+1 направлений, NT(i)+1 маска либо постоянная с NC(i) отверстиями в каждой, либо переменная в виде матрицы из NC управляемых оптических ключей, NT(i) быстродействующих ключей общих для всех каналов и сумматор NT(i)+1 изображений масок, кроме того, светоразветвитель и сумматор состоят либо из линзовых растров с NT(i)+1 линзами, либо из общей линзы и призмы с NT(i)+1 светонаправляющими гранями, причем либо в светоразветвителе либо в сумматоре линзы или грани призмы размещены так, что их оптические оси идут от центра входного/выходного экрана к центрам масок, а соответственно в сумматоре или разветвителе оптические оси от центров масок сдвинуты от центра выходного/входного экрана на расстояние от нуля до dk×NT(1)×…×(NT(i)-1) с шагом dk×NT(1)×…×NT(i-1) для разных направлений разветвления, где dk – шаг между источниками/приемниками оптических сигналов на входных и выходных экранах, подобный dd расстоянию между зеркалами в растрах устройства частотного уплотнения, кроме того, нулевое смещение оптических осей имеет два направления – одно с быстродействующим ключом, а другое без него.
8. Оптическая АТС по любому из пп.2 и 6, отличающаяся тем, что для битового интерливинга блок оптической памяти состоит из двух NC точечных запоминающих усилителей, между которыми установлен быстродействующий ключ, общий для всех NC точек входного изображения, и хотя бы один каскад коммутационной системы, для которого первый усилитель входной, а второй усилитель выходной экран, а для байтового интерливинга каналов с В битами в байте блок памяти состоит из переключателя записи, двух NC×B точечных запоминающих усилителей, между которыми установлены быстродействующий ключ и светонаправляющая система, а за вторым усилителем установлен переключатель чтения, причем переключатель записи состоит из светоразветвителя на В направлений и В быстродействующих ключей, общих для всех NC каналов, а переключатель чтения состоит из В быстродействующих ключей и сумматора В NC точеных изображений, причем запоминающие усилители это усилители яркости изображений либо с положительной обратной связью, либо с использованием послесвечения, а светонаправляющая система – либо соединитель коммутационной системы, либо световодная пластина.
9. Оптическая АТС п.2, отличающаяся тем, что абонентские терминалы содержат блоки задержки приема и передачи, подключенные к D каналу оптоволоконной линии через блок синхронизации, а на ОАТС к входам и выходам D каналов абонентских линий и общих каналов сигнализации соединительных линий через разговорный тракт подключены ND NL входов и выходов сигнализации устройства программного управления ОАТС.
РИСУНКИ
|