|
|
(21), (22) Заявка: 2005126640/09, 24.08.2005
(24) Дата начала отсчета срока действия патента:
24.08.2005
(46) Опубликовано: 20.04.2007
(56) Список документов, цитированных в отчете о поиске:
RU 2152662 C1, 10.07.2000. RU 2196372 C1, 01.10.2003. US 6172456 A1,09.01.2001. US 5760470 A1, 02.06.1998.
Адрес для переписки:
410052, г.Саратов, пр-т 50 лет Октября, 101, ООО “ВОЛГА-СВЕТ”, директору Б.И. Горфинкелю
|
(72) Автор(ы):
Горфинкель Борис Исаакович (RU), Абаньшин Николай Павлович (RU), Якунин Александр Николаевич (RU)
(73) Патентообладатель(и):
ОБЩЕСТВО С ОГРАНИЧЕННОЙ ОТВЕТСТВЕННОСТЬЮ “ВОЛГА-СВЕТ” (RU)
|
(54) КАТОДОЛЮМИНЕСЦЕНТНЫЙ ЭКРАН НА ОСНОВЕ АВТОЭМИССИИ
(57) Реферат:
Изобретение относится к низковольтным средствам отображения информации на основе катодолюминесценции и может быть использовано при разработке устройств для создания экранов цифровых и буквенно-цифровых индикаторов, универсальных панелей для визуализации отображения любой информации – текстовой, знаковой, графической. Технический результат – повышение яркости изображения, обеспечение долговечности и высокой информативности экрана. В катодолюминесцентном экране на основе автоэмиссии, содержащем вакуумную оболочку, составленную из двух плоских стеклянных лицевой прозрачной пластины с анодами, покрытыми люминофором, по крайней мере, одного цвета и подложки с электродами: эмиттеры и управляющие электроды, соединенных через взаимно перпендикулярные шины с выводами для подключения источников электрического напряжения, диэлектрическую рамку, герметично соединяющую лицевую пластину и подложку, эмиттеры и управляющие электроды расположены в одной плоскости, при этом поперечное сечение эмиттеров и управляющих электродов имеют профиль равнобедренной трапеции, причем большее основание трапеции расположено на подложке, а потенциалы, подаваемые на эмиттеры Uэ управляющие электроды Uуэ, удовлетворяют неравенству: (Uуэ-Uэ)/D 3 кВ/мкм, где D – расстояние между эмиттерами и управляющими электродами, измеренное по поверхности диэлектрического слоя в микрометрах, потенциалы Uэ и Uуэ измеряют в киловольтах, кроме того, эмиттеры и управляющие электроды выполнены в виде гребенок, наложенных одна в другую; эмиттеры и управляющие электроды выполнены в виде любых заданных геометрических фигур, вложенной одна в другую, например в виде спиралей; угол при основании трапеции соответствует условию: 20°  60°. В другом варианте в катодолюминесцентном экране на основе автоэмиссии, содержащем вакуумную оболочку, составленную из двух плоских стеклянных лицевой прозрачной пластины с анодами, покрытыми люминофором, по крайней мере, одного цвета и подложки с электродами: эмиттеры и управляющие электроды, соединенных через взаимно перпендикулярные шины с выводами для подключения источников электрического напряжения, диэлектрическую рамку, герметично соединяющую лицевую пластину и подложку, эмиттеры и управляющие электроды расположены в параллельных плоскостях на малом контролируемом расстоянии, при этом имеют одну плоскость симметрии, проходящую перпендикулярно подложке через середину каждого эмиттера, совпадает с плоскостью симметрии, проходящей перпендикулярно подложке через середину каждого соответствующего управляющего электрода, а поперечное сечение каждой системы эмиттер – диэлектрический слой – управляющий электрод имеют профиль равнобедренной трапеции, большее основание которой соответствует эмиттеру, а меньшее основание соответствует управляющему электроду, потенциалы, подаваемые на эмиттеры Uэ и управляющие электроды Uуэ, удовлетворяют неравенству: (Uуэ-Uэ)/D 3 В/мкм, где D – расстояние между эмиттерами и управляющими электродами, измеренное по поверхности диэлектрического слоя в микрометрах, потенциалы Uэ и Uуэ измеряют в вольтах; кроме того, эмиттеры и управляющие электроды выполнены в виде гребенок, наложенных одна на другую; эмиттеры и управляющие электроды выполнены в виде любых заданных геометрических фигур, наложенной одна на другую, например, в виде спиралей; угол при основании трапеции соответствует условию: 20°  60°. 2 н. и 6 з.п. ф-лы, 4 ил.
Изобретение относится к низковольтным средствам отображения информации на основе катодолюминесценции и может быть использовано при разработке устройств для создания экранов цифровых и буквенно-цифровых индикаторов, универсальных панелей для визуализации отображения любой информации – текстовой, знаковой, графической, счетных устройств аналоговых и дискретно-аналоговых измерительных приборов, используемых в калькуляторах, часах, индикаторных табло коллективного пользования и т.д.
В нашей стране и за рубежом, особенно в Японии, очень широкое применение в электронных устройствах бытового и промышленного назначения, а также в спецтехнике нашли низковольтные катодолюминесцентные индикаторы (см. Горфинкель Б.И., Абалдуев Б.В., Медведев Р.С., Логинов А.П. Низковольтные катодолюминесцентные индикаторы. М.: Радио и связь, 1983 г.).
Низковольтный катодолюминесцентный индикатор представляет собой вакуумный электронный прибор, содержащий термоэлектронный катод, управляющие сетки и держатели, заключенные в вакуумную оболочку с платой, на которой по заданному рисунку размещены токопроводящие сегменты экрана, покрытые люминофором, и токопроводящая разводка с контактными площадками.
В экспериментальных образцах ненакаливаемые катоды представляют собой матрицу, скоммутированную из множества микроострий, расположенных на плоскости с плотностью порядка 10000 мм2 и обеспечивающих необходимый уровень автоэлектронной эмиссии. Представление о принципе действия острийных катодов и о конструкции матрицы катодов дают рис.2.8 и 2.9 в работе Горфинкеля Б.И. Знакосинтезирующая электроника: низковольтная катодолюминесценция. Издательство Саратовского университета, 1993 г., с.19-21, 24-25.
Недостатком данной конструкции является наличие сложной системы катодов, при этом они расположены таким образом, что сужают эргономические параметры индикатора: яркость, угол обзора, габариты.
Наиболее близким аналогом – прототипом к изобретению является катодолюминесцентный экран (см. патент RU №2152662, МКИ7: H 01 J 1/62; 29/18, опубл. 10.07.2000 г.), содержащий вакуумную оболочку, составленную из двух плоских стеклянных лицевой прозрачной пластины и подложки с электродами: плоским тонким торцевым эмиттером и анодом, покрытым проводящим слоем и люминофором, образующих светоизлучающую ячейку – пиксель, расположенных на малом контролируемом расстоянии друг от друга в параллельных плоскостях, соединенных через анодные шины и эмиттерные шины с выводами для подключения источников электрического напряжения, диэлектрическую рамку, герметично соединяющую лицевую пластину и подложку, аноды и эмиттеры выполнены в виде двух гребенок, вложенных одна в другую, при этом эмиттеры с соединителями расположены в верхней плоскости подложки, а аноды и анодные шины расположены на дне траншей, выполненных на заданную глубину в подложке со стороны верхней плоскости, причем свободное пространство траншей анодных шин заполнено диэлектриком до образования планаризованной поверхности для расположения на ней соединительных эмиттерных шин. Кроме того, аноды и эмиттеры выполнены в виде любых геометрических фигур, вложенных одна в другую, например, в виде спиралей; дополнительно введено защитное сопротивление, соединяющее эмиттерную шину последовательно с каждым эмиттером светоизлучающей ячейки-пикселя; люминофор выбран с субмикронными зернами; люминофор выбран низковольтный с рабочим напряжением не более 50-70 В. Прототип – это удобная технология изготовления планарно-торцевых автоэмиссионных структур, теоретически обоснованная и экспериментально показанная высокая долговечность, не критичность к остаточной атмосфере.
Для снижения управляющего напряжения используют триодную структуру, в которой электроны вытягиваются из эмиттера вытягивающим электродом или гейт-электродом. Электроны, эмиттированные эмиттером, перехватываются анодным потенциалом и летят на анод, покрытый люминофором, при этом возбуждают излучение света.
В существующих конструкциях в основном используется физический эффект упругого отражения первичных автоэлектронов на гейт-электроде для генерации тока вторичных электронов, попадающих на анод, то отношение тока анода к току эмиссии весьма мало (от 3 до 13%). В результате приходится существенно повышать потенциал анода для обеспечения требуемой яркости оптического излучения с люминофора, бомбардируемого электронами.
Как показывает анализ распределения векторных характеристик электростатического поля в системе электродов “эмиттер-гейт-анод” существует зависимость направления и величины модуля вектора напряженности электрического поля от формы поперечного сечения острий и межэлектродных промежутков. В результате при определенном сочетании указанных параметров возникает автоэмиссионный ток, направленный на анод, минуя стадию его жесткого взаимодействия с поверхностью гейта (отсутствует бомбардировка поверхности гейта прямым автоэмиссионным током).
Сущность изобретения заключается в следующем. Задача, на решение которой направлено заявляемое изобретение, заключается в повышении яркости изображения, в обеспечении долговечности и высокой информативности экрана.
Указанный технический результат при осуществлении изобретения достигается тем, что в известном катодолюминесцентный экране на основе автоэмиссии, содержащем вакуумную оболочку, составленную из двух плоских стеклянных лицевой прозрачной пластины с анодами, покрытыми люминофором, по крайней мере, одного цвета и подложки с электродами: плоским тонким торцевым эмиттером и управляющим электродом, образующих светоизлучающую ячейку – пиксель, соединенных через взаимно перпендикулярные шины с выводами для подключения источников электрического напряжения, диэлектрическую рамку, герметично соединяющую лицевую пластину и подложку, эмиттеры и управляющие электроды расположены в одной плоскости, при этом поперечное сечение эмиттеров и управляющих электродов имеют профиль равнобедренной трапеции, причем большее основание трапеции расположено на подложке, а потенциалы, подаваемые на эмиттеры Uэ и управляющие электроды Uуэ, удовлетворяют неравенству (Uуэ-Uэ)/D 3 В/мкм, где D – расстояние между эмиттерами и управляющими электродами, измеренное по поверхности диэлектрического слоя в микрометрах, потенциалы Uэ и Uуэ измеряют в вольтах.
Кроме того, эмиттеры и управляющие электроды выполнены в виде двух гребенок, вложенных одна в другую; эмиттеры и управляющие электроды выполнены в виде любых геометрических фигур, вложенных одна в другую, например, в виде спиралей; угол при основании трапеции соответствует условию: 20°  60°.
Указанный технический результат достигается тем, что в известном катодолюминесцентном экране на основе автоэмиссии, содержащем вакуумную оболочку, составленную из двух плоских стеклянных лицевой прозрачной пластины с анодами, покрытыми люминофором, по крайней мере, одного цвета, и подложки с электродами: плоским торцевым эмиттером и управляющим электродом, образующих светоизлучающую ячейку – пиксель, соединенных через взаимно перпендикулярные шины с выводами для подключения источников электрического напряжения, диэлектрическую рамку, герметично соединяющую лицевую пластину и подложку, эмиттеры и управляющие электроды расположены в параллельных плоскостях на малом контролируемом расстоянии, при этом имеют одну плоскость симметрии, проходящую перпендикулярно подложке через середину каждого эмиттера, совпадает с плоскостью симметрии, проходящей перпендикулярно подложке через середину каждого соответствующего управляющего электрода, а поперечное сечение каждой системы эмиттер – диэлектрический слой – управляющий электрод имеют профиль равнобедренной трапеции, большее основание которой соответствует эмиттеру, а меньшее основание соответствует управляющему электроду, потенциалы, подаваемые на эмиттеры Uэ и управляющие электроды Uуэ, удовлетворяют неравенству (Uуэ-Uэ)/D 3 В/мкм,
где D – расстояние между эмиттерами и управляющими электродами, измеренное по поверхности диэлектрического слоя в микрометрах, потенциалы Uэ и Uуэ измеряют в вольтах.
Кроме того, эмиттеры и управляющие электроды выполнены в виде двух гребенок, наложенных одна на другую; эмиттеры и управляющие электроды выполнены в виде любых геометрических фигур, наложенных одна на другую, например, в виде спиралей; угол при основании трапеции соответствует условию: 20°  60°.
Сущность изобретения поясняется графическими материалами.
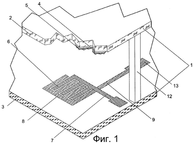
На фиг.1 изображен общий вид катодолюминесцентного экрана на основе автоэмиссии, на фиг.1a – увеличенные отдельные фрагменты структуры, в котором эмиттеры и управляющие электроды расположены в одной плоскости, при этом поперечное сечение эмиттеров и управляющих электродов имеют профиль равнобедренной трапеции.
На фиг.2 изображен общий вид катодолюминесцентного экрана на основе автоэмиссии, в котором эмиттеры и управляющие электроды расположены в параллельных плоскостях на малом контролируемом расстоянии, причем поперечное сечение каждой системы эмиттер – диэлектрический слой – управляющий электрод имеет профиль равнобедренной трапеции, а на фиг.2а – увеличенные отдельные фрагменты структуры, в которой эмиттеры и управляющие электроды расположены в параллельных плоскостях.
На фиг.3 изображены увеличенные фрагменты катодолюминесцентного экрана на основе автоэмиссии, в котором эмиттеры и управляющие электроды выполнены в виде гребенок.
На фиг.4 изображены увеличенные фрагменты катодолюминесцентного экрана на основе автоэмиссии, в котором эмиттеры и управляющие электроды выполнены в виде заданных геометрических фигур: спиралей (см. фиг.4а), звездочек (см. фиг.4б).
На чертежах приняты следующие обозначения:
1 – вакуумная оболочка катодолюминесцентного экрана на основе автоэмиссии;
2 – стеклянная прозрачная пластина;
3 – стеклянная подложка (диэлектрическая);
4 – аноды, расположенные на стеклянной прозрачной пластине;
5 – люминофор, по крайней мере, одного цвета;
6 – эмиттер;
7 – эмиттерная шина – Х шина;
8 – управляющие электроды;
9 – управляющая шина – У шина;
10 – пиксель (светоизлучающая ячейка);
11 – анодная шина;
12 – рамка диэлектрическая;
13 – выводы;
14 – диэлектрический слой.
Работа катодолюминесцентного экрана на основе автоэмиссии осуществляется следующим образом.
Включение заданной светоизлучающей ячейки – пикселя 10 осуществляется подачей напряжения через выводы 13 на соответствующую эмиттерную шину 7 и управляющую шину 9, на пересечении которых находится заданная светоизлучающая ячейка 10. Электроны, эмиттируемые из эмиттера 6, рассеиваются равномерно по площади анода 4. При этом под воздействием электрического поля, концентрирующего на конце плоского тонкого эмиттера 6, возникает автоэлектронная эмиссия, ток эмиттированных электронов может быть направлен на анод 4. Под действием электронной бомбардировки происходит свечение светоизлучающей ячейки – пикселя 10, т.е. люминофор 5 под действием электронной бомбардировки на аноде 4 начинает светиться. На нерабочие электроды подается запирающее напряжение. Аноды 4, на которых отсутствует ускоряющий потенциал, не подвергаются воздействию электронного потока и люминофоры 5 остаются в невозбужденном состоянии, т.е. все остальные светоизлучающие ячейки – пиксели катодолюминесцентного экрана на основе автоэмиссии не светятся.
Указанные в формуле изобретения существенные признаки, соотношения:
– (Uуэ-Uэ)/D 3 В/мкм;
– эмиттеры и управляющие электроды расположены в одной плоскости;
– эмиттеры и управляющие электроды расположены в параллельных плоскостях на малом контролируемом расстоянии;
– поперечное сечение эмиттеров и управляющих электродов имеют профиль равнобедренной трапеции;
– угол (при основании трапеции соответствует условию: 20°  60°;
– эмиттеры и управляющие электроды выполнены в виде гребенок, вложенных одна в другую (см. фиг.3);
– эмиттеры и управляющие электроды выполнены в виде гребенок, наложенных одна на другую (см. фиг.2, 2а);
– эмиттеры и управляющие электроды выполнены в виде любой геометрической фигуры, вложенной одна в другую (см. фиг.3, 4а, 4б);
– эмиттеры и управляющие электроды выполнены в виде любой геометрической фигуры, наложенной одна на другую
определены экспериментально с учетом известных закономерностей, принятых при конструировании.
Выполнение существенных признаков согласно заявленным техническим решениям обеспечивает тем самым стабильность токооседания.
Заявленные технические решения были успешно опробованы в лабораторных условиях.
Изображение получено при испытании четкое ясное с высоким качеством.
Данные изобретения позволяют получить катодолюминесцентные экраны на основе автоэмиссии как с черно-белым, так и с цветным четким изображением, что особенно важно для систем с большой рабочей информационной зоной и высокой плотностью информации.
Формула изобретения
1. Катодолюминесцентный экран на основе автоэмиссии, содержащий вакуумную оболочку, составленную из двух плоских стеклянных лицевой прозрачной пластины с анодами, покрытыми люминофором, по крайней мере одного цвета и подложки с электродами: эмиттеры и управляющие электроды, соединенных через взаимно перпендикулярные шины с выводами для подключения источников электрического напряжения, диэлектрическую рамку, герметично соединяющую лицевую пластину и подложку, отличающийся тем, что эмиттеры и управляющие электроды расположены в одной плоскости, при этом поперечное сечение эмиттеров и управляющих электродов имеют профиль равнобедренной трапеции, большее основание трапеции расположено на подложке, а потенциалы, подаваемые на эмиттеры Uэ и управляющие электроды Uуэ, удовлетворяют неравенству
(Uуэ-Uэ)/D 3, В/мкм,
где D – расстояние между эмиттерами и управляющими электродами, измеренное по поверхности диэлектрического слоя в микрометрах, потенциалы Uэ и Uуэ измеряют в вольтах.
2. Катодолюминесцентный экран на основе автоэмиссии по п.1, отличающийся тем, что эмиттеры и управляющие электроды выполнены в виде гребенок, вложенных одна в другую.
3. Катодолюминесцентный экран на основе автоэмиссии по п.1, отличающийся тем, что эмиттеры и управляющие электроды выполнены в виде любых заданных геометрических фигур, вложенной одна в другую, например в виде спиралей.
4. Катодолюминесцентный экран на основе автоэмиссии по п.1, отличающийся тем, что угол при основании трапеции соответствует условию 20°  60°.
5. Катодолюминесцентный экран на основе автоэмиссии, содержащий вакуумную оболочку, составленную из двух плоских стеклянных лицевой прозрачной пластины с анодами, покрытыми люминофором, по крайней мере одного цвета и подложки с электродами: эмиттеры и управляющие электроды, соединенных через взаимно перпендикулярные шины с выводами для подключения источников электрического напряжения, диэлектрическую рамку, герметично соединяющую лицевую пластину и подложку, отличающийся тем, что эмиттеры и управляющие электроды расположены в параллельных плоскостях на малом контролируемом расстоянии, при этом имеют одну плоскость симметрии, проходящую перпендикулярно подложке через середину каждого эмиттера, совпадает с плоскостью симметрии, проходящей перпендикулярно подложке через середину каждого соответствующего управляющего электрода, а поперечное сечение каждой системы эмиттер – диэлектрический слой – управляющий электрод имеет профиль равнобедренной трапеции, большее основание которой соответствует эмиттеру, а меньшее основание соответствует управляющему электроду, потенциалы, подаваемые на эмиттеры Uэ и управляющие электроды Uуэ, удовлетворяют неравенству
(Uуэ-Uэ)/D 3, В/мкм,
где D – расстояние между эмиттерами и управляющими электродами, измеренное по поверхности диэлектрического слоя в микрометрах, потенциалы Uэ и Uуэ измеряют в вольтах.
6. Катодолюминесцентный экран на основе автоэмиссии по п.5, отличающийся тем, что эмиттеры и управляющие электроды выполнены в виде гребенок, наложенных одна на другую.
7. Катодолюминесцентный экран на основе автоэмиссии по п.5, отличающийся тем, что эмиттеры и управляющие электроды выполнены в виде любых заданных геометрических фигур, наложенной одна на другую, например в виде спиралей.
8. Катодолюминесцентный экран на основе автоэмиссии по п.5, отличающийся тем, что угол при основании трапеции соответствует условию 20°  60°.
РИСУНКИ
|
|