|
|
(21), (22) Заявка: 2005125970/09, 15.08.2005
(24) Дата начала отсчета срока действия патента:
15.08.2005
(46) Опубликовано: 20.04.2007
(56) Список документов, цитированных в отчете о поиске:
ЛЕБЕДЕВ И.В., Техника и приборы СВЧ, Москва, Энергия, 1964, т.2, с.459. RU 46884 U1, 27.07.2005. «Письма в ЖТФ», Москва, 1990, т.16, вып.22, с.78. SU 1522317 А1, 15.11.1989. US 5164634 А, 17.11.1992. US 5113154 А, 12.05.1992.
Адрес для переписки:
607188, Нижегородская обл., г. Саров, пр-т Мира, 37, ФГУП “РФЯЦ-ВНИИЭФ”, начальнику ОПИНТИ
|
(72) Автор(ы):
Селемир Виктор Дмитриевич (RU), Дубинов Александр Евгеньевич (RU), Птицын Борис Глебович (RU), Шилин Константин Семенович (RU)
(73) Патентообладатель(и):
Российская Федерация в лице Федерального агентства по атомной энергии (RU), Федеральное государственное унитарное предприятие “Российский федеральный ядерный центр-Всероссийский научно-исследовательский институт экспериментальной физики”-ФГУП “РФЯЦ-ВНИИЭФ” (RU)
|
(54) СВЕРХВЫСОКОЧАСТОТНЫЙ ГЕНЕРАТОР НА ОСНОВЕ ВИРТУАЛЬНОГО КАТОДА С РАДИАЛЬНЫМ ПУЧКОМ
(57) Реферат:
Область техники – генерирование электромагнитных волн. Может быть использовано при создании генераторов мощного сверхвысокочастотного (СВЧ) излучения. СВЧ-генератор на основе виртуального катода с радиальным пучком содержит вакуумную камеру, в корпусе которой, коаксиально, без контакта между собой, установлены электрически связанные с внешним источником питания полые цилиндрические катод и расположенный в нем анод, выполненный из проводника, сформированного в виде винтовой линии, прозрачный для электронов, и присоединенный к волноводу, переходящему в устройство вывода сверхвысокочастотного излучения. Технический результат заключается в повышении КПД генерации СВЧ-излучения путем увеличения эффективности преобразования энергии пучка электронов в энергию СВЧ-излучения. 1 ил.
Изобретение относится к СВЧ-технике, а именно к устройствам генерации электромагнитного излучения на основе колебаний виртуального катода (ВК), и может быть использовано при создании генераторов мощного сверхвысокочастотного (СВЧ) излучения.
Известно устройство генерации мощного СВЧ-излучения на основе отражающей электронной системы [1] (Kapetanakos C.A., Sprangle P.A., Mahaffey R.A., Golden J., «High-power microwaves from a non-isochronous reflecting electron system (NIRES)», US Patent 4150340, H01J 25/74, 17.04.79). Система представляет собой вакуумную камеру, корпус которой образован волноводом. В корпусе установлены катод и анод, электрически связанные с внешним источником питания (генератор высоковольтных импульсов). Корпус камеры и катод заземлены. При подаче на анод положительных импульсов электроны инжектируются с катода. Колебания электронов между катодом и образующимся ВК, а также осцилляции самого ВК приводят к генерации СВЧ-излучения, выводимого из камеры через устройство для вывода излучения в форме антенны.
Основной недостаток данной конструкции заключается в малом КПД генерации.
Наиболее близким по конструкции к заявляемому устройству является генератор мощного СВЧ-излучения на основе виртуального катода с радиальным пучком [2] (Жерлицын А.Г., «Генерация СВЧ-излучения в триоде с виртуальным катодом коаксиального типа», Письма в ЖТФ, том 16, выпуск 22, 26 ноября 1990, с.78). Генератор представляет собой систему, содержащую вакуумную камеру, корпусом которой служит волновод. В корпусе камеры установлены полые цилиндрические катод и анод. Анод (анодная сетка), расположенный в полости катода, выполнен в форме цилиндра из материала прозрачного для электронов и крепится к волноводу, переходящему в устройство вывода СВЧ-излучения. Катод и анод связаны с внешним источником питания. При подаче на катод высоковольтного импульса от источника питания, электроны инжектируются с катода и, проходя через анодную сетку, образуют внутри анодной полости виртуальный катод. Колебания электронов между катодом и образующимся ВК, а также осцилляции самого ВК приводят к генерации СВЧ-излучения, выводимого из волновода через антенну.
Основной недостаток данного устройства заключается в малом КПД генерации, связанном с неэффективным преобразованием энергии пучка электронов в энергию СВЧ-излучения.
Задачей предлагаемого изобретения является создание усовершенствованного СВЧ-генератора с повышенным КПД генерации излучения.
Техническим результатом данного решения является повышение КПД генерации СВЧ-излучения за счет модуляции электронного пучка.
Данный результат достигается тем, что в сверхвысокочастотном генераторе на основе виртуального катода с радиальным пучком, содержащем вакуумную камеру, в корпусе которой коаксиально без контакта между собой установлены электрически связанные с внешним источником питания полые цилиндрический катод и расположенный в нем анод с цилиндрической образующей, прозрачный для электронов и соединенный с волноводом, переходящим в устройство вывода сверхвысокочастотного излучения, новым является то, что анод выполнен из проводника, сформированного в виде винтовой линии.
В предложенном генераторе при подаче на катод высоковольтного импульса от источника питания электроны инжектируются с цилиндрического катода внутрь его полости и, проходя через установленный в нем коаксиально прозрачный для электронов анод с цилиндрической образующей, формируют внутри анодной полости виртуальный катод. При этом выполнение анода из проводника, сформированного в виде цилиндрической винтовой линии, обеспечивает возможность проникновения СВЧ-волны любой поляризации в область формирования электронного пучка и дальнейшее взаимодействие СВЧ-волны и электронного пучка, что приводит к модуляции пучка электромагнитными волнами на частоте излучения. Согласно [3] (Лебедев И.В. Техника и приборы сверхвысоких частот. Т.II. Электровакуумные приборы СВЧ. Под ред. Н.Д.Девяткова. Изд. 2-е, перераб. и доп. Учебник для вузов по специальности «Электронные приборы», М., «Высшая школа», 1972, с.34) известно, что наиболее полное преобразование энергии пучка электронов в энергию СВЧ-излучения происходит от предварительно промодулированного пучка на частоте излучения. То есть, в предлагаемом генераторе в результате модуляции электронного пучка на частоте излучения происходит увеличение эффективности преобразования энергии пучка электронов в энергию СВЧ-излучения, что приводит к повышению КПД генерации.
Кроме того, анод из проводника, сформированного в виде цилиндрической винтовой линии является замедляющей системой для осевых колебаний виртуального катода. В сторону антенны распространяется бегущая электромагнитная волна, связанная с анодом-винтовой линией и взаимодействующая с электронами колеблющегося виртуального катода. Их взаимодействие приводит к усилению электромагнитной волны, что приводит к повышению КПД генерации СВЧ-излучения.
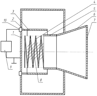
На чертеже схематично изображен СВЧ-генератор на основе виртуального катода с радиальным пучком.
Заявляемый генератор имеет осевую симметрию и представляет собой вакуумную камеру с корпусом 1 в форме волновода, в котором коаксиально, без контакта между собой, установлены полые цилиндрический катод 3, закрепленный на держателе 2 и расположенный в нем анод 4, выполненный из проводника, сформированного в виде цилиндрической винтовой линии (поверхность анода прозрачна для электронов), соединенный с волноводом 5, переходящим в устройство вывода СВЧ-излучения в форме рупорной антенны 6 с диэлектрическим окном 7. К катодно-анодному промежутку прикладывается высоковольтное напряжение от внешнего источника питания 9.
В качестве источника питания 9 возможно использование генератора импульсного напряжения, выполненного, например, по схеме Аркадьева-Маркса [4] (Месяц Г.А., «Генерирование мощных наносекундных импульсов», М.: Атомиздат, 1972), либо взрывомагнитного генератора с обострителем напряжения на основе электрически взрываемых проводников [5] (Асиновский Э.И., Лебедев Е.Ф., Леонтьев А.А. и др., «Взрывные генераторы мощных импульсов электрического тока», М.: Наука, 2002).
Устройство работает следующим образом. Корпус (1) камеры и соответственно анод (4) заземлены. При подаче отрицательного импульсного напряжения от источника питания (9) через ввод (10) на цилиндрический катод (3) внутри анода (4), заявляемой формы, образуется виртуальный катод (8). Формирование СВЧ-излучения обусловлено колебаниями электронов в потенциальной яме виртуального катода и колебаниями самого виртуального катода. Волна СВЧ-излучения, проходя через цилиндрическую винтовую линию анода, взаимодействует с пучком электронов. Происходит модуляция пучка и вследствие этого улучшение обмена энергиями между пучком электронов и СВЧ-излучением. Излучение выводится через диэлектрическое окно (7) рупорной антенны (6).
В примере выполнения предложенного СВЧ-генератора на основе виртуального катода с радиальным пучком корпус вакуумной камеры, держатель катода, катод, антенна выполнены из стали, анод может быть выполнен из тонкой танталовой проволоки, выводное диэлектрическое окно выполнено из оргетекла. Внутренние полости генератора вакуумируются до давления остаточного газа не более 10-4 Тор.
Таким образом, выполнение анода в форме цилиндрической винтовой линии позволило, благодаря увеличению эффективности преобразования энергии пучка электронов в энергию СВЧ-излучения за счет модуляции пучка, повысить КПД сверхвысокочастотного генератора на 30%.
Формула изобретения
Сверхвысокочастотный генератор на основе виртуального катода с радиальным пучком, содержащий вакуумную камеру, в корпусе которой коаксиально без контакта между собой установлены электрически связанные с внешним источником питания полые цилиндрический катод и расположенный в нем анод с цилиндрической образующей, прозрачный для электронов и соединенный с волноводом, переходящим в устройство вывода сверхвысокочастотного излучения, отличающийся тем, что анод выполнен из проводника, сформированного в виде винтовой линии.
РИСУНКИ
|
|