|
|
(21), (22) Заявка: 2005127702/06, 05.09.2005
(24) Дата начала отсчета срока действия патента:
05.09.2005
(46) Опубликовано: 20.04.2007
(56) Список документов, цитированных в отчете о поиске:
RU 2186429 С2, 10.04.2002. RU 2147148 C1, 27.03.2000. SU 490376 A1, 05.08.1976. SU 323047 A1, 05.08.1978. US 4016749 A, 12.04.1977.
Адрес для переписки:
433510, Ульяновская обл., г. Димитровград-10, ФГУП “ГНЦ РФ НИИАР”
|
(72) Автор(ы):
Ещеркин Виктор Маркович (RU), Курский Александр Семенович (RU), Ещеркин Александр Викторович (RU), Краснов Александр Маркович (RU)
(73) Патентообладатель(и):
Федеральное государственное унитарное предприятие “Государственный научный центр Российской Федерации-Научно-исследовательский институт атомных реакторов” (RU)
|
(54) СПОСОБ КОНТРОЛЯ ГЕРМЕТИЧНОСТИ ОБОЛОЧЕК ТВЭЛОВ И УСТРОЙСТВО ДЛЯ ЕГО ОСУЩЕСТВЛЕНИЯ
(57) Реферат:
Изобретение относится к области атомной техники и предназначено для использования в водо-водяных реакторах и бассейнах хранения ядерного топлива для обнаружения негерметичности твэлов в тепловыделяющих сборках. Устройство для контроля герметичности оболочек тепловыделяющих элементов содержит штангу, погружной насос, проточный дегазатор, патрубки для подачи чистого дистиллята, сжатого воздуха. На штанге размещено приспособление для присоединения и уплотнения с тепловыделяющей сборкой. Проточный дегазатор выполнен в виде сосуда. Внутри сосуда коаксиально расположена труба, часть которой перфорирована. В верхней части сосуда имеются патрубок слива дегазируемой воды, патрубки для отвода воздуха и воды. В нижней части – патрубок для подачи воздуха через барботажный коллектор. Кроме этого имеется способ контроля герметичности оболочек твэлов ядерного реактора, в котором используется указанное выше устройство для контроля герметичности оболочек твэлов. Изобретение позволяет осуществить оперативный поиск негерметичного твэла и определить размер дефекта в негерметичном твэле. 2 н. и 4 з.п. ф-лы, 2 ил.
Изобретение относится к области атомной техники и может быть использовано в водо-водяных ядерных реакторах и бассейнах хранения ядерного топлива для обнаружения негерметичности твэлов в тепловыделяющих сборках (ТВС).
Известен способ обнаружения негерметичности твэлов (RU патент 2094861, G21C 17/06, 1997). Согласно этому способу ТВС размещают в отдельный герметичный пенал, неоднократно включая насос, поднимают внешнее давление, выдерживают, а затем сбрасывают: Тем самым стимулируют выход в теплоноситель легкорастворимых радионуклидов I и Cs. Но выходу радиоактивных нуклидов в теплоноситель судят о разгерметизации твэлов.
Недостатком такого решения следует признать неоднозначность определения характера повреждения (размера). Выход легкорастворимых I и Cs в теплоноситель зависит от многих факторов: влияния диффузионных процессов, места расположения дефекта по высоте твэла, выгорания топлива и многих других причин, действия которых описываются различными закономерностями.
При микротрещинах попадание воды во внутреннее пространство твэла и выход из него маловероятно из-за малых колебаний давления, тем более, что небольшое пространство, около дефекта уже значительно промывалось водой при сравнительно больших перепадах давления при расхолаживании реактора.
Твэлы с вторичным дефектом в районе верхней заглушки полностью заполнены водой и колебания давления несжимаемой жидкости внутри твэла не приводят к промывке. В этом случае попадание йода и цезия в воду пенала возможно только диффузией через дефект.
Наибольший выход I и Cs может быть получен, если дефект находится в нижней части твэла, а в газосборнике твэла имеется газ. В этом случае за счет сжатия газового пространства и проникновения воды во внутреннее пространство происходит смыв I и Cs при колебаниях давления со значительной поверхности внутри твэла Смыв тем больше, чем меньше выгорание топлива благодаря большему зазору между таблетками и оболочкой.
Известен способ и устройство для определения негерметичности твэлов (RU, патент 2186429, G21C 17/06, 2003) по выходу газообразных радионуклидов из твэла в пространство внутренней секции рабочей штанги перегрузочной машины, куда ТВС захватывают из активной зоны для перемещения в бассейн выдержки. Газообразные радиоактивные изотопы Хе и Kr выходят из негерметичного твэла в водяное пространство внутренней секции, растворяются, а затем извлекаются из воды барботажем газа, подаваемого под открытую нижнюю часть внутренней секции. Барботируемый газ собирается в надводном объеме внутренней секции устройства перегрузочной машины, откуда побудителем расхода газа подается на измерительное устройство для определения активности Хе и Kr в барботажном газе.
Достоинством определения негерметичных твэлов ТВС в рабочей штанге перегрузочной машины является совмещение времени транспортных операций со временем осуществления способа определения. Однако при таком способе контроля герметичности оболочек твэлов снижается достоверность контроля.
В объеме внутренней секции рабочей штанги, где находиться проверяемая ТВС, содержится вода, взятая непосредственно над активной зоной. В этой воде достаточно растворенных газообразных продуктов деления (ГПД), которые при дегазации воды создают определенный фон, независящий от выхода ГПД из проверяемой ТВС. В этом случае ТВС, имеющая микротрещины в оболочка твэла, будет незамечена. Ложный сигнал о негерметичности может дать ТВС, извлеченная из рядом расположенной ячейки, имеющей заведомо негерметичный твэл. От такой ТВС сигнал о превышении выхода ГПД будет выше, чем среднее фоновое значение активности всей воды над активной зоной.
Другим недостатком является неэффективность дегазации воды воздушным барботажем при значительном разбавлением воздухом, подаваемым снизу локальным способом. Как правило, воздух будет проходить там, где меньше сопротивление, т.е. вдоль стенок внутреннего пространства, где расположена ТВС, и может не достичь пространства около дефектного твэла, где сопротивление велико и где наибольшее количество растворенных газов. Следовательно, неэффективная дегазация, недостаточность времени (только 3 мин) до полного растворения ГПД во всем объеме и значительное разбавление (40 л) приводит к снижению сигнала активности. При предложенном способе поставленная задача ускоренного проведения контроля негерметичности идет в противоречие с полнотой и достоверностью измерений для принятия решения о негерметичности твэла.
Сама методика определения негерметичности по превышению сигнала путем сравнения среднестатистического фонового показателя недостаточно точная и неоперативная. Показания фонового значения активности ГПД в воде реактора могут меняться от различных причин: изменения температуры воды в реакторе по времени во время перегрузки, величины остаточного тепловыделения и расположения ТВС и т.д.
Вследствие этого оперативность определения негерметичной ТВС (сразу при проверке одной ТВС) утрачивается. Проверенную ТВС с дефектом по выходу ГПД следует направлять в бассейн перегрузки, и решение дальнейшего использования можно принять только после проверки всех ТВС (для сравнения со средним значением фоновых показателей).
Поэтому контроль герметичности оболочек твэлов ТВС на остановленном реакторе и в хранилищах, отработанных ТВС, проводят в два этапа: поиск негерметичных ТВС по активности ГПД 133, 131mXe и 85Кг в рабочей штанге перегрузочной машины, а определение характера дефекта для принятия решения о дальнейшем использовании ТВС – по выходу легкорастворимых в воде 131I и 134, 137Cs.
Вышеуказанные устройства и способы являются наиболее близкими аналогами предлагаемого изобретения.
Техническая задача, решаемая посредством настоящего изобретения, состоит в осуществлении оперативного поиска негерметичного твэла и определении размера дефекта в негерметичном твэле, в получении наиболее точных критериев для принятия решения о дальнейшей эксплуатации отработавших в реакторе ТВС.
Указанный технический результат достигается в устройстве для контроля герметичности оболочек тепловыделяющих элементов, содержащем, штангу, на которой размещено приспособление для присоединения и уплотнения с тепловыделяющей сборкой, погружной насос, проточный дегазатор, патрубки для подачи чистого дистиллята, сжатого воздуха, причем проточный дегазатор выполнен в виде сосуда, внутри которого кооксиально расположена труба, часть которой перфорирована, в верхней части сосуда имеется патрубок слива дегазируемой воды, патрубки для отвода воздуха и воды, а в нижней части патрубок для подачи воздуха через барботажный коллектор.
Перфорированная часть дегазатора выполнена отверстиями 1,5÷2,0 мм, размещенными по окружности через 90° с расстоянием между рядами не менее 100 мм со смещением отверстий относительно другого ряда ж 45°. Патрубок для слива воды расположен как минимум на 200 мм выше подвода сжатого воздуха.
Указанный технический результат достигается использованием способа контроля герметичности, заключающегося в том, что соединяют устройство контроля герметичности оболочек твэлов ядерного реактора с тепловыделяющей сборкой (ТВС), подают чистый дистиллят во внутреннее пространство тепловыделяющей сборки для вытеснения реакторной воды, выдерживают дистиллят в тепловыделяющей сборке, подают воздух на дегазатор, подают реакторную воду в дегазатор, включив насос, производят дегазацию воды проточным воздухом мелких частиц воды, образованных за счет резкого падения давления и динамического воздействия струй воды об внутреннюю стенку дегазатора, измеряют активность газообразных продуктов деления ксенона и криптона в пробах воздуха, по которой судят о наличии дефекта, отбирают пробы воды, вытесненной из внутренней полости ТВС за счет подачи дистиллята, измеряют активность радионуклидов I и Cs в воде, по которой судят о размерах дефекта в ТВС.
Чистый дистиллят подают в межтвэльное пространство ТВС с температурой не менее чем на 30°С ниже, чем температура воды в реакторе.
После установки устройства на ТВС подают чистый дистиллят в количестве не менее 2,5 внутреннего объема ТВС плюс внутреннее пространство насоса и дегазатора. Этой операцией вытесняется реакторная вода из внутренней полости ТВС и осуществляется промывка напорной трубы дегазатора совместно с насосом. Делается выдержка в течение 20 минут, в результате которой холодный дистиллят нагревается до температуры воды в реакторе с одновременным растворением в воде выделившихся из негерметичного твэла радиоактивных газов Xe и Kr. Включают насос для подачи воздуха в дегазатор. Затем включают насос для откачки воды из ТВС в проточный дегазатор, где за счет резкого падения давления и разложения на мелкие частицы внутри дегазатора и вентиляции проточным воздухом внутреннего пространства с расходом 40 л/час, и подачи его в измерительное устройство, определяется активность ГПД. Одновременно отбирают пробу воды, вытесненной из внутренней полости ТВС. Измеряют активность 131I и 134, 137Cs, полупроводниковым детектором. Время работы устройства в режиме дегазации 5 минут.
Использование чистого дистиллята исключает влияние активности ГПД, содержащихся в реакторной воде.
Чистый дистиллят подают в межтвэльное пространство ТВС с температурой не менее чем на 30°С ниже, чем температура воды в реакторе для охлаждения оболочек твэлов и пространства между оболочкой и топливом и облегчения проникновения воды через дефект оболочки.
Дегазацию воды с ГПД производят проточным воздухом мелких частиц воды, образованных за счет резкого падения давления с 0,3 МПа до атмосферного и динамического воздействия струй воды об внутреннюю стенку дегазатора.
Показания активности получают не от усредненной пробы с полного объема прокачиваемого воздуха при дегазации барботажем (40 л), а от той части проточного воздуха (3 л), которая контактирует с водой, имеющей максимальное количество растворенных ГПД, в результате величина превышения активности (сигнала) на порядок выше.
Способ позволяет оперативно идентифицировать газовую негерметичность с микродефектами непосредственно после регистрации сигнала о наличии активности ГПД.
Измерение активности ГПД производятся в динамике, увеличение активности фиксируется в виде пика и соответствует той части воды, которая поступила в дегазатор из пространства, находящегося вблизи дефекта оболочки твэла.
По активности 133, 131mХе можно определить негерметичность ТВС в течении 1,5 месяца после останова реактора, а по активности 85Kr – в течение 10 и более лет хранения ТВС в бассейнах выдержки.
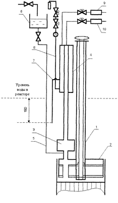
Устройство (фиг.1) для достижения указанного технического результата состоит из штанги (1), на которой размещено приспособление для присоединения и уплотнения с ТВС (2), насоса (3) в подводном исполнении, проточного дегазатора (4), системы подачи чистого дистиллята (5, 6), сливного трубопровода (7), системы подачи воздуха (8), системы контроля радионуклидов в воздухе и воде (9, 10) с отключающей арматурой.
Штанга представляет собой трубу dy÷50 с уплотнительным устройством в виде разжимной пробки из резины, сжатие которой производят дистанционно вращением внутренней трубы.
Дегазатор (фиг.2) представляет собой сосуд из трубы dy÷80, внутри которой размещена труба (11) для подачи воды и разбрызгивания (12) через отверстия Ш 1,5÷2,0 мм, размещенными по окружности через 90° Расстояние между рядами сопел 100 мм, смещение сопел относительно другого ряда на 45°. Общее количество сопел определяется пропускной способностью насоса для откачки воды внутреннего пространства ТВС. Для исключения транспортировки воды с воздухом в пробоотбор высота внутреннего пространства дегазатора над соплами должна быть не менее 500 мм. Подвод воздуха для дегазации (8) производится через барботажный коллектор (13) с отверстиями 2,0 мм. Патрубок слива дегазируемой воды (7) расположен на 200 мм выше подвода воздуха для создания слоя воды для дегазации барботажем. Патрубки отвода воздуха (14), воды (15) расположены на верхнем фланце дегазатора, диаметр патрубков не менее 10 мм.
Система промывки включает в себя мерную емкость (6) объемом 2,5 объема воды в ТВС плюс внутреннее пространство насоса и дегазатора, трубопроводы подачи дистиллята (5) с арматурой. Мерная емкость расположена выше верхнего фланца, дегазатора на 500 мм.
Система подачи воздуха и контроля содержания радионуклидов состоит из баллона сжатого воздуха, регулятора расхода, отсечного клапана и расходомера, трубопроводов подачи воздуха в дегазатор и отвода в измерительное устройство. Для определения содержания I и Cs вода подается из центральной трубы дегазатора через верхний фланец штанги. Для слива воды из дегазатора существует гидрозатвор высотой 1500 мм.
Блок управления осуществляет операции включения и отключения насоса и отключающей арматуры по определенному алгоритму. Измерительные устройства имеют детектор непрерывного действия, блок обработки и отображения информации об активности ГПД в вентилируемом воздухе. Активность 131I и 134, 137Cs в пробах воды измеряют полупроводниковым детектором.
Контроль герметичности производят следующим образом. Штангу, прикрепленную к перегрузочной машине или грузоподъемным механизмам, устанавливают на проверяемую ТВС. Из предварительно заполненной емкости дистиллята подают воду на вытеснение реакторной воды из дегазатора и ТВС. Выдерживают в течение 20 минут воду в ТВС и затем включают насос для подачи воды из ТВС в дегазатор, в центральную трубу с соплами Ш 15÷20 мм, где за счет резкого падения давления и распыления на мелкие частицы вода дегазируется вентиляцией воздухом со скоростью не более 1 м/сек.
Вода сливается в нижнюю часть дегазатора и через гидрозатвор в реактор, а проточный воздух с расходом 40 л/час поступает в измерительное устройство. В момент поступления воды с места дефекта в ТВС концентрация ГПД увеличивается. Сигнал имеет пиковый характер, а по величине выше, чем при дегазации барботажем, так как объем воздуха на разбавление составляет 3,3 л вместо 40 л при барботажной дегазации. Размер дефекта определяется по активности 131I и 134, 137Cs в отбираемой пробе воды.
Преимущества предлагаемого способа определения негерметичности ТВС и размера дефекта в оболочке заключается в следующем.
Исключается влияние растворенных ГПД в водной среде внутри ТВС из-за заполнения его чистым дистиллятом.
Дегазация ГПД происходит более эффективным способом: резким падением давления среды с ГПД, распылением на мелкие частицы в дегазаторе и вентиляцией проточным воздухом, с значительно (на порядок) меньшим разбавлением.
При барботажном способе дегазации величина регистрируемой активности ГПД (сигнал + фон) имеет интегральный характер, так как в верхней полости объема внутренней секции рабочей штанги перегрузочной машины происходит перемешивание всех ГПД, извлеченных как из воды реактора, так и из негерметичного твэла. А в данном способе активность ГПД повышается в момент доставки той порции воды в дегазатор, которая находилась вблизи дефекта, поэтому полученный сигнал имеет пиковый характер и несет оперативную информацию о наличии дефекта, не требующую получения данных по проверке определенной партии проверяемых ТВС по принципу сравнения.
Контроль герметичности оболочек ТВС производится без перемещения ТВС из реактора, чем сокращаются транспортные радиационноопасные операции во время перегрузки.
Формула изобретения
1. Устройство для контроля герметичности оболочек тепловыделяющих элементов, содержащее штангу, на которой размещено приспособление для присоединения и уплотнения с тепловыделяющей сборкой, погружной насос, проточный дегазатор, патрубки для подачи чистого дистиллята, сжатого воздуха, отличающееся тем, что проточный дегазатор выполнен в виде сосуда, внутри которого коаксиально расположена труба, часть которой перфорирована, в верхней части сосуда имеется патрубок слива дегазируемой воды, патрубки для отвода воздуха и воды, а в нижней части патрубок для подачи воздуха через барботажный коллектор.
2. Устройство по п.1, отличающееся тем, что перфорированная часть дегазатора выполнена отверстиями 1,5÷2,0 мм, размещенными по окружности в количестве 4 шт. через угол 90° с расстоянием между рядами отверстий не менее 100 мм и смещением относительно другого ряда на угол 45°.
3. Устройство по п.1, отличающееся тем, что патрубок слива дегазируемой воды расположен как минимум на 200 мм выше патрубка подвода сжатого воздуха.
4. Способ контроля герметичности оболочек твэлов ядерного реактора, заключающийся в том, что соединяют устройство контроля герметичности оболочек твэлов ядерного реактора с тепловыделяющей сборкой (ТВС), подают чистый дистиллят во внутреннее пространство тепловыделяющей сборки для вытеснения реакторной воды, выдерживают дистиллят в ТВС, подают воздух на дегазатор, подают реакторную воду в дегазатор, включив насос, производят дегазацию воды проточным воздухом мелких частиц воды, образованных за счет резкого падения давления и динамического воздействия струй воды на внутреннюю стенку дегазатора, измеряют активность газообразных продуктов деления ксенона и криптона в пробах воздуха, по которой судят о наличии дефекта, отбирают пробы воды, вытесненной из внутренней полости ТВС за счет подачи дистиллята, измеряют активность радионуклидов I и Cs в воде, по которой судят о размерах дефекта в ТВС.
5. Способ по п.4, отличающийся тем, что чистый дистиллят подают в межтвэльное пространство ТВС с температурой не менее чем на 30°С ниже температуры воды в реакторе.
6. Способ по п.4, отличающийся тем, что подают чистый дистиллят в количестве не менее, чем 2,5 внутренних объемов ТВС плюс внутреннее пространство насоса и дегазатора.
РИСУНКИ
Другие изменения, связанные с зарегистрированными изобретениями
Изменения:
Зарегистрирован переход исключительного права без заключения договора Дата и номер государственной регистрации перехода исключительного права: 27.11.2009/РП0000338 Патентообладатель: Открытое акционерное общество «Государственный научный центр Научно-исследовательский институт атомных реакторов» Прежний патентообладатель: Федеральное государственное унитарное предприятие «Государственный научный центр Российской Федерации – Научно-исследовательский институт атомных реакторов»
Номер и год публикации бюллетеня: 11-2007
Извещение опубликовано: 10.01.2010 БИ: 01/2010
|
|