|
|
(21), (22) Заявка: 2005119549/09, 23.06.2005
(24) Дата начала отсчета срока действия патента:
23.06.2005
(43) Дата публикации заявки: 27.12.2006
(46) Опубликовано: 20.04.2007
(56) Список документов, цитированных в отчете о поиске:
RU 2168729 C1, 10.06.2001. RU 2053564 C1, 27.01.1996. RU 43673 U1, 27.01.2005. GB 1112419 А, 05.08.1968.
Адрес для переписки:
656038, г.Барнаул, пр-т Ленина, 46, АлтГТУ, ОИПС
|
(72) Автор(ы):
Галков Алексей Владимирович (RU), Хомутов Олег Иванович (RU), Якунин Алексей Григорьевич (RU)
(73) Патентообладатель(и):
Государственное образовательное учреждение высшего профессионального образования “Алтайский государственный технический университет им. И.И. Ползунова” (АлтГТУ) (RU)
|
(54) ЕМКОСТНАЯ АДАПТИВНАЯ ОХРАННАЯ СИСТЕМА
(57) Реферат:
Изобретение относится к устройствам тревожной сигнализации и может быть использовано для охраны протяженных участков местности, оконных и дверных проемов зданий, а также сейфов и других предметов с применением в качестве чувствительного элемента любого проводящего тела. Технический результат – повышение надежности охранной системы и упрощение процесса инсталляции устройства на охраняемый объект. В систему введены электрически изменяемая емкость и инвертирующий усилитель, при этом один вывод электрически изменяемой емкости подключен к одному выводу эталонной емкости и через резистор – к первому выходу генератора прямоугольного сигнала, другой вывод электрически изменяемой емкости связан с выходом фильтра нижних частот. Вход фильтра нижних частот соединен с выходом инвертирующего усилителя, вход которого подключен к выходу устройства выборки-хранения, предназначенному для присоединения к входу исполнительного устройства с пороговым блоком. 2 ил.
Изобретение относится к устройствам тревожной сигнализации и может быть использовано для охраны протяженных участков местности, оконных и дверных проемов зданий, а также сейфов и других предметов с применением в качестве чувствительного элемента любого проводящего тела.
Известно устройство тревожной сигнализации емкостного типа, содержащее чувствительный элемент, генератор, блок задержки сигнала, детектор, пороговое устройство, сигнальное устройство. Чувствительный элемент подключен к управляющему входу генератора, выход которого подключен к входу блока задержки сигнала, выход которого подключен к входу детектора, выход которого подключен к входу порогового устройства, выход которого подключен к входу сигнального устройства. При этом выход генератора и вход блока задержки сигнала соединены с выходом устройства задержки и входом детектора (см. патент RU 2053564, МПК6 G 08 B 13/26).
Недостатком данного устройства является низкая тактическая надежность из-за наличия вероятности ложных срабатываний, обусловленных возможностью срыва частоты колебаний генератора при возникновении малых значений паразитного активного сопротивления, параллельного чувствительному элементу. Другим недостатком устройства является необходимость осуществления начальной ручной настройки на нужный режим работы при установке на охраняемый объект.
Наиболее близким к предлагаемому изобретению по технической сущности является емкостной преобразователь, использующийся при создании систем охранной сигнализации, содержащий генератор прямоугольного сигнала, первый выход которого подключен через резистор к одному выводу эталонной емкости, второй выход – через резистор к чувствительному элементу, выполненному в виде незаземленного электрода рабочей емкости, и к одному выводу дополнительной эталонной емкости, третий выход – к управляющему входу устройства выборки-хранения, входной усилитель, вход которого соединен с другими выводами эталонной и дополнительной эталонной емкостей, а выход связан с входом устройства выборки-хранения, при этом другой вывод рабочей емкости заземлен. Выход устройства выборки-хранения подключен к входу фильтра нижних частот (см. патент RU 2168729, МПК7 G 01 R 27/26).
Основными недостатками описанного устройства при применении его в системах охранной сигнализации являются низкая тактическая надежность, то есть наличие возможности ложных срабатываний при изменении погодно-климатических условий, и необходимость осуществления ручной настройки при установке охранной системы на его основе на охраняемый объект, что неудобно.
Предлагаемым изобретением решается задача повышения тактической надежности путем автоматической емкостной коррекции, необходимой при изменении емкости чувствительного элемента, возникающей вследствие влияния погодно-климатических факторов, и упрощения инсталляции устройства на охраняемый объект.
Для достижения этого технического результата в емкостную адаптивную охранную систему, содержащую генератор прямоугольного сигнала, первый выход которого подключен через резистор к одному выводу эталонной емкости, второй выход – через резистор к чувствительному элементу и к одному выводу дополнительной эталонной емкости, третий выход – к управляющему входу устройства выборки-хранения, входной усилитель, вход которого соединен с другими выводами эталонной и дополнительной эталонной емкостей, а выход связан с входом устройства выборки-хранения, фильтр нижних частот, согласно изобретению введены электрически изменяемая емкость и инвертирующий усилитель, при этом один вывод электрически изменяемой емкости подключен к одному выводу эталонной емкости и через резистор – к первому выходу генератора прямоугольного сигнала, другой вывод электрически изменяемой емкости связан с выходом фильтра нижних частот, а вход фильтра нижних частот соединен с выходом инвертирующего усилителя, вход которого подключен к выходу устройства выборки-хранения, предназначенному для присоединения к входу исполнительного устройства с пороговым блоком.
Автоматическая емкостная коррекция, необходимая при изменении погодно-климатических условий и при инсталляции устройства на охраняемый объект, обеспечивается электрически изменяемой емкостью, подключенной таким образом, чтобы компенсировать изменения емкости чувствительного элемента, фильтром нижних частот, выполняющим функцию задержки фронта сигнала, поступающего на его вход, и инвертирующим усилителем.
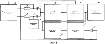
Заявляемое изобретение поясняется чертежами, где на фиг.1 изображена функциональная схема емкостной адаптивной охранной системы, а на фиг.2 – временные диаграммы емкостей и амплитуд напряжений емкостной адаптивной охранной системы. На фиг.2 дополнительно обозначено следующее:
– С4 – емкость чувствительного элемента;
– С9 – емкость электрически изменяемой емкости;
– UУВХ – амплитуда напряжения на выходе устройства выборки-хранения;
– – инвертированная амплитуда напряжения на выходе фильтра нижних частот;
– Uп – амплитуда напряжения порога срабатывания исполнительного устройства с пороговым блоком;
– Uо – амплитуда опорного напряжения инвертирующего усилителя;
– t – время.
Предлагаемая емкостная адаптивная охранная система содержит генератор прямоугольного сигнала 1, эталонные емкости 2 и 3, чувствительный элемент 4, резисторы 5 и 6, входной усилитель 7, устройство выборки-хранения 8, электрически изменяемую емкость 9, фильтр нижних частот 10, инвертирующий усилитель 11, соединяющийся с исполнительным устройством 12 с пороговым блоком. Чувствительный элемент 4 выполнен, например, в виде незаземленного электрода рабочей емкости. Другой вывод рабочей емкости заземлен.
Первый выход генератора прямоугольного сигнала 1 подключен к выводу резистора 5, второй выход генератора прямоугольного сигнала 1 подключен к выводу резистора 6, управляющий выход генератора прямоугольного сигнала 1 подключен к управляющему входу устройства выборки-хранения 8, другой вывод резистора 5 подключен к одному выводу эталонной емкости 2 и одному выводу электрически изменяемой емкости 9, другой вывод резистора 6 подключен к одному выводу дополнительной эталонной емкости 3 и к чувствительному элементу 4. Другие выводы эталонных емкостей 2 и 3 соединены и подключены к входу входного усилителя 7, другой вывод электрически изменяемой емкости 9 подключен к выходу фильтра нижних частот 10. Вход фильтра нижних частот 10 подключен к выходу инвертирующего усилителя 11. Выход входного усилителя 7 подключен к входу устройства выборки-хранения 8. Вход инвертирующего усилителя 11 подсоединен к выходу устройства выборки хранения 8, предназначенному для присоединения к входу исполнительного устройства 12 с пороговым блоком.
Генератор прямоугольного сигнала 1 собран по стандартной схеме мультивибратора на инверторах.
Входной усилитель 7 собран по схеме преобразователя тока в напряжение с нулевым входным сопротивлением.
Устройство выборки-хранения 8 представляет собой конденсаторную ячейку памяти, запись в которую производится при помощи электронного ключа, подключенного к выходу входного усилителя 7, управляемого при помощи одновибратора, формирующего прямоугольный импульс длительностью 1 мкс, подключенного к генератору прямоугольного сигнала 1.
Фильтр нижних частот 10 собран по стандартной схеме с пассивными частотозадающими элементами.
Инвертирующий усилитель 11 собран по стандартной схеме на операционном усилителе.
Емкостная адаптивная охранная система работает следующим образом. Напряжение с первого выхода генератора прямоугольного сигнала 1 подается через резистор 5 на эталонную емкость 2 с ответвлением тока на электрически изменяемую емкость 9, и инвертированное напряжение с второго выхода генератора прямоугольного сигнала 1 подается через резистор 6 на дополнительную эталонную емкость 3 с ответвлением тока на чувствительный элемент 4. Суммарный сигнал подается на входной усилитель 7, где ток преобразуется в напряжение. В момент времени, когда на выходе генератора прямоугольного сигнала 1 появляются фронты напряжения, на RC-цепочках – резисторы 5, 6, емкости 2, 3, чувствительный элемент 4, емкость 9 – возникает переходный процесс перезаряда емкостей. На начальном участке переходного процесса ток на входе входного усилителя 7, а значит и напряжение на его выходе, пропорционально емкости чувствительного элемента 4 и емкости электрически изменяемой емкости 9. Это напряжение записывается в устройство выборки-хранения 8. В дежурном режиме работы на выходе устройства выборки-хранения 8 присутствует некоторое напряжение, меньшее напряжения порога срабатывания Uп исполнительного устройства 12 с пороговым блоком. Регулирование напряжения устройства выборки-хранения 8 осуществляется инвертирующим усилителем 11 и фильтром нижних частот 10, на выходе которого присутствует напряжение, регулирующее значение емкости электрически изменяемой емкости 9 таким образом, чтобы значение напряжения на выходе устройства выборки хранения 8 не превосходило напряжения порога срабатывания Uп исполнительного устройства 12 с пороговым блоком. При увеличении емкости чувствительного элемента 4 на выходе устройства выборки-хранения 8 увеличивается напряжение, которое поступает на инвертирующий усилитель 11. Инвертирующий усилитель 11 усиливает разностный сигнал между напряжением на выходе устройства выборки-хранения 8 и опорным напряжением Uo инвертирующего усилителя 11, несколько меньшим величины напряжения порога срабатывания Uп исполнительного устройства 12 с пороговым блоком, и подает его на фильтр нижних частот 10, выполняющий функцию задержки фронта поступающего на его вход сигнала. Напряжение на выходе фильтра нижних частот 10 с некоторой временной задержкой уменьшается, что вызывает увеличение значения емкости электрически изменяемой емкости 9, что, в свою очередь, вызывает уменьшение значения напряжения на выходе устройства выборки-хранения 8 до первоначального уровня. Аналогичным образом устройство работает и при уменьшении емкости чувствительного элемента 4. В результате в дежурном режиме напряжение на выходе устройства выборки-хранения 8 будет поддерживаться на уровне опорного напряжения Uo инвертирующего усилителя 11. Чем больше будет разница между опорным напряжением Uo в инвертирующем усилителе 11 и величиной напряжения порога срабатывания Uп исполнительного устройства 12 с пороговым блоком, тем устойчивее будет работать схема, но тем меньше будет ее чувствительность.
В случае резкого увеличения емкости чувствительного элемента 4, которое характерно для приближения нарушителя к охраняемому объекту, напряжение на выходе устройства выборки хранения 8 увеличивается быстрее, чем уменьшается напряжение на выходе фильтра низких частот 10, что обеспечивается выбором постоянной времени фильтра низких частот 10 порядка 20 секунд. В результате напряжение на выходе устройства выборки-хранения 8 превысит напряжение порога срабатывания Uп исполнительного устройства 12 с пороговым блоком, что вызовет срабатывание сигнализации прежде, чем на выходе фильтра низких частот 10 появится уровень напряжения, достаточный для изменения емкости электрически изменяемой емкости 9 до значения, необходимого для возвращения напряжения на выходе устройства выборки-хранения 8 к первоначальному уровню. В случае медленного изменения емкости чувствительного элемента 4, которое характерно для погодно-климатических воздействий, превышения уровня напряжения исполнительного устройства 12 с пороговым блоком не происходит, так как скорость изменения емкости электрически изменяемой емкости 9 практически равна скорости изменения емкости чувствительного элемента 4. Для расширения динамического диапазона удобно выбирать величину напряжения порога срабатывания Uп, равную примерно половине напряжения питания схемы устройства, а опорное напряжение Uо, равное в зависимости от требуемой чувствительности от 0,8 до 0,95 от величины Uп.
Наличие в устройстве инвертирующего усилителя, фильтра нижних частот и электрически изменяемой емкости, соединенных по предложенной схеме, позволяет повысить надежность устройства и, кроме того, упростить его установку на охраняемый объект, так как настройка на чувствительный элемент с любой емкостью производится автоматически.
Таким образом, заявляемое изобретение позволяет контролировать приближение посторонних лиц к охраняемому объекту с повышенной тактической надежностью и позволяет упростить процесс инсталляции устройства на охраняемый объект.
Формула изобретения
Емкостная адаптивная охранная система, содержащая генератор прямоугольного сигнала, первый выход которого подключен через резистор к одному выводу эталонной емкости, второй выход через резистор – к чувствительному элементу и к одному выводу дополнительной эталонной емкости, третий выход – к управляющему входу устройства выборки-хранения, входной усилитель, вход которого соединен с другими выводами эталонной и дополнительной эталонной емкостей, а выход связан со входом устройства выборки-хранения, фильтр нижних частот, отличающаяся тем, что в нее введены электрически изменяемая емкость и инвертирующий усилитель, при этом один вывод электрически изменяемой емкости подключен к одному выводу эталонной емкости и через резистор – к первому выходу генератора прямоугольного сигнала, другой вывод электрически изменяемой емкости связан с выходом фильтра нижних частот, а вход фильтра нижних частот соединен с выходом инвертирующего усилителя, вход которого подключен к выходу устройства выборки-хранения, предназначенному для присоединения ко входу исполнительного устройства с пороговым блоком.
РИСУНКИ
|
|