|
|
(21), (22) Заявка: 2004119554/09, 21.11.2002
(24) Дата начала отсчета срока действия патента:
21.11.2002
(30) Конвенционный приоритет:
29.11.2001 US 09/998,367
(43) Дата публикации заявки: 27.03.2005
(46) Опубликовано: 20.04.2007
(56) Список документов, цитированных в отчете о поиске:
US 6112244 А, 29.08.2000. US 6275693 B1, 14.08.2001. US 6292668 A, 18.09.2001. RU 2169437 C1, 20.06.2001.
(85) Дата перевода заявки PCT на национальную фазу:
29.06.2004
(86) Заявка PCT:
IB 02/04884 (21.11.2002)
(87) Публикация PCT:
WO 03/046742 (05.06.2003)
Адрес для переписки:
129010, Москва, ул. Б. Спасская, 25, стр.3, ООО “Юридическая фирма Городисский и Партнеры”, пат.пов. Ю.Д.Кузнецову, рег.№ 595
|
(72) Автор(ы):
ЛАХТИ Еррю (HU)
(73) Патентообладатель(и):
НОКИА КОРПОРЕЙШН (FI)
|
(54) СИСТЕМА И СПОСОБ ИДЕНТИФИКАЦИИ И ДОСТУПА К УСЛУГАМ СЕТИ
(57) Реферат:
Настоящее изобретение относится к системам сетевой связи. Техническим результатом является расширение функциональных возможностей доступа подвижного терминала к приложениям, доступным через серверы приложений в сети. Изобретение включает систему и способ облегчения доступа подвижного терминала к конкретному сетевому приложению, доступному через множество серверов приложений в сети. Идентификатор приложения, соответствующий сетевому приложению, и связанные параметры доступа к приложению, включающие в себя адрес сервера приложений одного из множества серверов приложений, вставляют в информацию обеспечения. Информацию обеспечения передают, по меньшей мере, в один подвижный терминал, находящийся на связи с процедурой обеспечения. Подвижный терминал обеспечивают таким образом, чтобы облегчить доступ к сетевому приложению через сервер приложений, идентифицированный с помощью адреса сервера приложений, предоставленного с информацией обеспечения. 5 н. и 43 з.п.ф-лы, 7 ил.
Область техники, к которой относится изобретение
Настоящее изобретение, в целом, относится к системам сетевой связи и, более конкретно, к системе и способу облегчения доступа подвижного терминала к приложениям, доступным через серверы приложений в сети.
Уровень техники
Современные коммуникационные технологии привели к огромному распространению проводных и беспроводных сетей. Беспроводные сетевые технологии направлены на ряд традиционных требований потребителей, в то же время дополнительно обеспечивая большую гибкость и непосредственность передачи информации. Современные и приближающиеся наземные сетевые технологии чрезвычайно распространились и включают в себя беспроводные и мобильные технологии. Через эти сети информацию можно загружать в настольные системы, беспроводные системы и т.д. Например, информация, доступная через Интернет, может быть загружена в подвижные беспроводные устройства, такие как сотовые телефоны, персональные цифровые ассистенты (ПЦА, PDA), портативные компьютеры и т.д.
Одной такой технологией, облегчающей передачу информации Интернет в беспроводные устройства и из них, является протокол мобильной интерактивной связи с Интернет (WAP), который объединяет Интернет и другие сети с платформами беспроводных сетей. В целом WAP является множеством протоколов, которые учитывают характеристики и функциональные возможности как стандартов Интернета, так и стандартов для беспроводных служб. Он не зависит от стандартов беспроводных сетей и разработан как открытый стандарт. WAP ликвидирует промежуток между парадигмой проводного Интернета и беспроводной областью таким образом, чтобы дать возможность пользователям беспроводных устройств пользоваться преимуществами Интернета через обе платформы.
Типы информации, доступной через эти проводные и беспроводные сети, включают в себя приложения и услуги программного обеспечения, такие как беспроводные услуги, действующие на беспроводных терминалах. Постоянно выполняются усовершенствования в беспроводных услугах, включая усовершенствования в функциональных возможностях, скорости и эффективности. Пользователи беспроводных устройств получают увеличивающийся доступ к мультимедийным услугам, таким как видео, по требованию (на заказ), проведение видеоконференций, быстрый доступ к Web и передача файлов. Существующие и будущие услуги предоставляются и будут продолжать предоставляться операторами служб сети, которые делают услуги и приложения доступными для пользователей подвижных устройств через сеть.
Однако этот подход отказывает, когда приложения и услуги стандартизированы (включая стандарты, принятые органами стандартов, собственные стандарты или соглашения и т.д.). Это происходит из-за того, что доступ к таким приложениям через специализированные УАР не дает возможности обращаться к ситуациям, в которых стандартизированные приложения и услуги предоставляются многочисленными поставщиками (провайдерами) услуг. Например, услуга мультимедийных сообщений (УМС, MMS) является услугой, которая стандартизована совместно с помощью форума WAP и 3GPP. Следовательно, многие разные поставщики услуг могут предлагать использование одного и того же приложения и, следовательно, существующая практика не может больше использоваться для правильной идентификации приложения. Это из-за того, что УАР будет включать в себя адреса сетей поставщиков соответствующих приложений/услуг. В результате он будет идентифицировать экземпляр услуги, предоставленной поставщиком конкретного приложения/услуги, вместо самой стандартизированной услуги. Например, Web-адрес, включающий в себя “…компания XYZ.com/СМС” не может идентифицировать, в целом, приложение УМС, так как другие операторы, такие как компания ABC, также будут предлагать это приложение.
Другая проблема, связанная с существующей методологией, заключается в том, что в случае стандартизированного приложения пользовательский программный агент (программное обеспечение приложения) в подвижном устройстве обычно не будет браузером, который используют для осуществления доступа к УАР в целом. Если единственной частью информации, которую имеет подвижное устройство, является УАР, указывающий на главную машину, оно не имеет средства принятия решения относительно того, какой подходящий пользовательский программный агент должен быть использован.
Традиционные способы обеспечения, такие как существующее обеспечение самозагрузки WAP, направлены на потребности подвижных пользователей Интернета. Одной причиной того, что обеспечение используют для подвижных устройств, является то, что подвижные терминалы по своей сути являются ограниченными устройствами. Они обычно имеют ограниченные функциональные возможности запоминания, хранения и обработки. Следовательно, подвижные устройства не включают в себя все компоненты, необходимые для осуществления доступа к новым или модернизированным услугам, которые могут быть доступны в сети. Когда подвижный пользователь желает использовать новые или модернизированные услуги, доступные в сети, терминал должен быть сконфигурирован таким образом, чтобы использовать эти новые услуги. Конфигурирование терминала для использования услуги в сети обычно называют “обеспечением” терминала. Обеспечение может быть выполнено после начальной установки подвижного устройства или также может быть выполнено для модернизации и/или обновления услуг и приложений, уже используемых в этом подвижном устройстве.
Однако современные способы обеспечения не решают проблемы, указанные выше. Скорее современные способы обеспечения имеют область применения, которая ограничена параметрами, необходимыми для установления основных возможностей подключения к сети. Неявно предполагается, что информация применима для всех приложений, и нет средства, осуществляющего связь установок параметров с конкретным приложением.
Таким образом, имеется потребность в индустрии сетевой связи для предоставления возможности подвижным терминалам идентифицировать конкретные приложения, предоставленные в различных серверах сетевых приложений, в частности, где такие приложения стандартизированы, и которыми распоряжаются разные адресуемые элементы сети. Настоящее изобретение устраняет эти и другие недостатки предшествующего уровня техники и предлагает многочисленные преимущества относительно систем и методологий обеспечения предшествующего уровня техники.
Сущность изобретения
Настоящее изобретение направлено на систему и способ облегчения доступа подвижного терминала к конкретному приложению, доступному через множество серверов приложений в сети. Настоящее изобретение включает в себя обеспечение идентификатора приложения и параметров доступа через сервер сети, такой как сервер обеспечения, в подвижный терминал. В свою очередь, подвижный терминал использует идентификатор приложения для идентификации и осуществления доступа к целевому (намеченному) приложению в конкретном сервере из множества серверов приложений, распоряжающихся этим приложением в сети.
В соответствии с одним вариантом осуществления изобретения, предложен способ облегчения доступа подвижного терминала к сетевому приложению, которым распоряжается множество серверов сетевых приложений в сети. Идентификатор приложения, соответствующий сетевому приложению, и связанные параметры доступа к приложению, включающие адрес сервера приложений одного из множества серверов приложений, вставляют в информацию обеспечения. Информацию обеспечения передают, по меньшей мере, в один подвижный терминал, находящийся на связи с процедурой обеспечения. Подвижный терминал обеспечивают таким образом, чтобы облегчить доступ к сетевому приложению через сервер приложений, идентифицированный с помощью адреса сервера приложений, предоставленного с информацией обеспечения. В соответствии с другим вариантом осуществления изобретения, предложен доступный для чтения с помощью компьютера носитель информации, имеющий доступные для выполнения с помощью компьютера команды, предназначенные для выполнении такого способа. В соответствии с более конкретным вариантом осуществления изобретения, согласно способу дополнительно предварительно конфигурируют модуль программного обеспечения, такого как пользовательский программный агент, в подвижном терминале для распознавания идентификатора приложения и осуществляют доступ к сетевому приложению через сервер приложений, соответствующий адресу сервера приложений, с использованием модуля программного обеспечения.
В соответствии с другим вариантом осуществления изобретения, предложена система для облегчения доступа подвижного терминала к целевому приложению, доступному через множество серверов приложений в сети. Система содержит элемент обеспечения, предназначенный для обеспечения одного или нескольких информационных файлов обеспечения. Используемые в настоящем описании файлы, записи, документы, блоки или другая терминология не предназначена для того, чтобы иметь дополнительный смысл любой конкретной структуры или типа информационного блока, а вместо этого предназначена для того, чтобы обобщенно включать любой тип формата, используемого для обеспечения такой информации обеспечения, включая просто последовательность информационных байтов. По меньшей мере, один из файлов обеспечения включает в себя идентификатор приложения, соответствующий целевому приложению. Файл (файлы) обеспечения дополнительно включают в себя параметры доступа к приложению, связанные с идентификатором приложения, где, по меньшей мере, один из параметров доступа к приложению включает в себя адрес сервера приложений одного из множества серверов приложений. Система включает в себя подвижный терминал, предварительно сконфигурированный для распознавания вставленного идентификатора приложения после приема файлов обеспечения. Подвижный терминал осуществляет доступ к целевому приложению по адресу сервера приложений, как предписано с помощью одного или нескольких параметров доступа к приложению, связанных с идентификатором приложения. В более конкретном варианте осуществления сетевой элемент обеспечения включает в себя сервер обеспечения, соединенный с сетью, который реализует технологию принудительного распространения информации для принудительной посылки информации обеспечения в подвижный терминал через сеть. В соответствии с другим конкретным вариантом осуществления, сетевой элемент обеспечения включает в себя портативный или встроенный в устройство компонент, такой как модуль идентификации абонента (МИА, SIM), модуль идентификации WAP (WIM) или смарт-карта, который хранит информацию обеспечения для передачи в подвижное устройство.
В соответствии с другим вариантом осуществления изобретения, предложен сетевой элемент, содержащий сервер обеспечения. Сервер обеспечения передает сигнал данных, встроенный в сигнал несущей, доступный для чтения с помощью подвижного терминала и кодирующий один или несколько документов обеспечения. Документы обеспечения включают в себя идентификатор приложения, соответствующий стандартизированному сетевому приложению, которым распоряжается множество серверов приложений. Документы обеспечения дополнительно включают в себя параметры доступа к приложению, связанные с идентификатором приложения, причем, по меньшей мере, один из параметров доступа к приложению является адресом сервера приложений одного из множества серверов приложений, в котором получатель сигнала данных подвижного терминала может осуществлять доступ к стандартизированному сетевому приложению.
Приведенное выше краткое изложение настоящего изобретения не предназначено для описания каждого проиллюстрированного варианта осуществления или реализации настоящего изобретения. Это является целью чертежей и следующего связанного обсуждения.
Краткое описание чертежей
Изобретение описано в связи с вариантами осуществления, проиллюстрированными на следующих схемах.
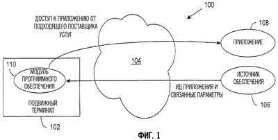
Фиг.1 – примерный вариант осуществления сетевой системы, которая использует обеспечение идентификации и доступ к приложению в соответствии с принципами настоящего изобретения;
фиг.2 иллюстрирует другой примерный вариант осуществления сетевой системы, которая использует обеспечение идентификации приложения и доступ к приложению в соответствии с принципами настоящего изобретения;
фиг.3 иллюстрирует конкретный вариант осуществления сетевой системы, использующей обеспечение ИД приложения и принципы доступа настоящего изобретения в среде протокола мобильной интерактивной связи с Интернет (WAP);
фиг.4 – примерный вариант осуществления, иллюстрирующий способ, в котором ИД приложения, обеспеченный через процесс обеспечения, используют для осуществления доступа к конкретному приложению в соответствии с изобретением;
фиг.5 иллюстрирует пример части информации обеспечения, которая может быть доставлена в подвижный терминал в соответствии с настоящим изобретением;
фиг.6 – блок-схема, иллюстрирующая один вариант осуществления способа доступа к целевым (намеченным) сетевым приложениям с использованием обеспечения идентификации приложения и принципов доступа настоящего изобретения, и
фиг.7 – блок-схема, иллюстрирующая более конкретный вариант осуществления способа доступа к сетевым приложениям с использованием обеспечения идентификации приложения и принципов доступа настоящего изобретения.
Подробное описание различных вариантов осуществления
В следующем описании различных вариантов осуществления сделана ссылка на сопровождающие чертежи, которые образуют часть описания и на которых в качестве примера изображена иллюстрация различных вариантов осуществления, в которых может быть применено настоящее изобретение. Следует понимать, что могут быть использованы другие варианты осуществления и могут быть сделаны конструктивные и функциональные модификации, не выходя за рамки объема настоящего изобретения.
Настоящее изобретение направлено на систему и способ облегчения доступа подвижного терминала к конкретному приложению, доступному через множество серверов приложений в сети. Настоящее изобретение включает в себя обеспечение идентификатора приложения с помощью сервера сети, такого как сервер обеспечения, в подвижный терминал. Вместе с идентификатором приложения находятся различные параметры доступа, которые подвижный терминал использует для облегчения доступа к приложению, идентифицированному с помощью идентификатора приложения. Подвижный терминал осуществляет доступ к сетевому приложению, соответствующему идентификатору приложения, в конкретном сервере приложений, идентифицированному с помощью параметров доступа. Параметры доступа также дают возможность подвижному терминалу конфигурировать другие характеристики доступа и установки возможности подключения, связанные с целевым (намеченным) сервером приложений и приложением.
Фиг.1 – примерный вариант осуществления сетевой системы 100, которая использует обеспечение идентификации приложения и доступ в соответствии с принципами настоящего изобретения. Изобретение дает возможность подвижному терминалу осуществлять доступ к сетевому приложению в конкретном сервере приложений, причем множество серверов приложений обеспечивают это приложение. Подвижные терминалы принимают идентификатор приложения (ИД приложения) и связанные параметры доступа во время процесса обеспечения, который дает возможность подвижному терминалу идентифицировать соответствующий сервер приложений и выбрать характеристики доступа, с помощью которых осуществить доступ к приложению, идентифицированному с помощью ИД приложения.
Когда подвижный пользователь желает использовать новые услуги, имеющиеся в сети, терминал должен быть сконфигурирован для использования этих новых услуг. Конфигурирование терминала для использования услуги в сети обычно называют “обеспечением” терминала. В соответствии с одним вариантом осуществления изобретения, подвижный терминал 102 принимает ИД приложения и связанные параметры доступа через эфир (ОТА, ЧЭ) через сеть 104 из источника 106 обеспечения. В другом варианте осуществления ИД приложения и связанные параметры доступа могут быть приняты через непосредственное средство обеспечения, например, как через смарт-карту, модуль идентификации абонента (МИА), модуль идентификации WAP или другой аналогичный портативный или встроенный в устройство компонент. ИД приложения подают с помощью источника 106 обеспечения в подвижный терминал (терминалы) во время процедур обеспечения подвижного терминала. Процесс обеспечения, который подает ИД приложения в соответствии с настоящим изобретением, может проходить в любое время. Например, процесс обеспечения может происходить в связи с предоставлением новой услуги в подвижное устройство или в связи с модернизацией услуг и приложений, уже используемых в этом подвижном терминале. В других примерах процесс обеспечения может быть процессом обеспечения самозагрузки, который происходит после начальной установки подвижного терминала, или процессом повторного обеспечения для обновления информации обеспечения после обеспечения начальной самозагрузки.
Источник 106 обеспечения может быть любым устройством, соединенным с сетью 104, который может обеспечить такую информацию обеспечения, таким как сервер обеспечения. Источник 106 обеспечения также может быть портативным или встроенным в устройство компонентом, таким как МИА, WIM и т.д. В проиллюстрированном варианте осуществления ИД приложения обеспечивают с помощью источника 106 обеспечения через эфир посредством реализации признака “принуждения”, также известного как признак “уведомления” или признак “оповещения”. Такие признаки принуждения более подробно описаны ниже.
В соответствии с одним вариантом осуществления изобретения ИД приложения вставляют в информацию обеспечения, подаваемую с помощью источника 106 обеспечения. Следовательно, вместо простого включения в заголовок как основы диспетчеризации сообщения в некоторые другие принимающие приложения в подвижном терминале 102, ИД приложения, принятый с помощью подвижного терминала 102, в свою очередь, может быть использован подвижным терминалом для окончательного осуществления доступа к конкретному приложению (приложениям) 108. Приложение 108 может быть сделано доступным, например, с помощью сервера приложений или услуги, доступной через сеть 104.
Как описано более полно ниже, подвижный терминал (терминалы) 102 принимают и обрабатывают ИД приложения и соответствующие параметры доступа, включающие в себя идентификацию одного из множества серверов приложений, который должен обслуживать приложение 108. С помощью распознавания ИД приложения подвижный терминал может выяснить, какой сервер приложений должен обслуживать приложение, а также выяснить другие параметры, которые делают доступ более эффективным, и/или дать возможность конкретным установкам возможности подключения к сети быть связанными с приложением 108. В подвижном терминале 102 обеспечен один или несколько модулей программного обеспечения или пользовательских программных агентов 110, причем каждый пользовательский программный агент/модуль 110 программного обеспечения первоначально сконфигурирован для распознавания ИД приложения и осуществления доступа к соответствующему приложению 108 в сети. Следовательно, пользовательский программный агент/модуль 110 программного обеспечения распознает ИД приложения и использует информацию адреса сервера приложений для осуществления доступа к соответствующему серверу приложений способом, заданным различными параметрами доступа.
Фиг.2 иллюстрирует другой вариант примерного варианта осуществления сетевой системы 200, использующей обеспечение идентификации приложения и доступ в соответствии с принципами настоящего изобретения. Примерный вариант осуществления фиг.2 включает в себя один или несколько подвижных терминалов 202, которые принимают ИД приложения и связанные параметры доступа из источника обеспечения. В одном варианте осуществления источник обеспечения, обеспечивающий ИД приложения и связанные параметры, является МИА, WIM, смарт-картой или другим портативным или встроенным компонентом 208, который может быть соединен с терминалом 202. В другом варианте осуществления ИД приложения и связанные параметры подают в терминал 202 через сервер 204 обеспечения, причем терминал и сервер обеспечения взаимодействуют через любую одну или несколько взаимодействующих беспроводных и наземных сетей 206.
Подвижные терминалы могут включать в себя любой тип беспроводного вычислительного устройства. Например, подвижный терминал 202 может представлять любое из ряда беспроводных устройств связи, таких как радио/сотовый телефон 210, персональный цифровой ассистент (ПЦА) 212, ноутбук или портативный компьютер (лаптоп) 214 или любой другой тип терминала, представленный с помощью устройства 216.
Необеспеченный терминал 202 является терминалом, который не подвергнут конфигурированию параметров соединения устройства/инфраструктуры, необходимых для осуществления доступа и использования желаемого (требуемого) приложения или услуги. В мобильной сети, такой как мобильный Интернет, стал возможным посредством технологий, таких как протокол мобильной интерактивной связи с Интернет (WAP), соответствующий доступ к приложению, которое может требовать различные типы информации. Например, приложение может требовать может конкретное качество обслуживания (КО, QoS), которое может быть предоставлено с помощью использования информации пункта (точки) доступа к сети (например, пункт доступа к сети GPRS (общие услуги пакетной радиопередачи)) с конкретными установками параметров, которые должны быть известны перед тем, как подвижное устройство пытается установить контакт с приложением. Определение пункта доступа к сети может включать в себя множество параметров, включающих в себя, например, номер набора, скорость линии связи, строка инициализации модема, имя пользователя и пароль РРР (протокол двухточечной связи), используемый протокол аутентификации и т.д. Кроме того, с мобильным Интернетом желательно избежать обменов протокола так, чтобы задержки сети не ухудшили впечатление пользователя. В результате может быть большое число параметров, которые должны быть предоставлены в подвижное устройство перед тем, как оно соответствующим образом может осуществить доступ и использовать приложения.
Сервер 204 обеспечения или другой элемент обеспечения предоставляет такую информацию обеспечения в терминал 202 для того, чтобы дать возможность терминалу 202 выполнить соответствующее и наиболее эффективное соединение с целевым (намеченным) приложением. В соответствии с изобретением, эта информация обеспечения включает в себя ИД приложения, служащий для извещения подвижного терминала о требуемом приложении. Информация обеспечения включает в себя параметры доступа, связанные с ИД приложения, которые дают возможность подвижному терминалу 202 быть обеспеченным для осуществления доступа к требуемому приложению из конкретного элемента множества элементов сети, из которого доступно требуемое приложение. Параметры доступа также дают возможность того, чтобы соединение было конкретно настроено для наиболее эффективного или, иначе, желаемого доступа и использования приложения (приложений).
Имеются различные способы, с помощью которых сервер 204 обеспечения может инициировать обеспечение подвижного терминала 202. Например, дистанционные серверы (не изображены) могут побуждать сеанс связи с устройством 204 сервера обеспечения и обеспечивать сервер обеспечения информацией обеспечения. В качестве дополнительного примера, двумя существующими стандартами для дистанционного конфигурирования терминалов являются протокол обеспечения самозагрузки WAP и протокол управления устройством маркировочного языка синхронизации (SyncML). Протокол обеспечения самозагрузки WAP является примером технологии принудительного распространения информации, а управление устройством SyncML является примером обеспечения, которое может включать в себя технологию принудительного распространения информации, а также процессы обеспечения, инициируемые терминалом. В другом варианте осуществления сервер 204 обеспечения может побудить процесс обеспечения и предоставить информацию обеспечения и ИД приложения в подвижный терминал (терминалы) 202 с использованием технологии принудительного распространения информации.
Фиг.3 иллюстрирует конкретный вариант осуществления сетевой системы 300, использующей обеспечение ИД приложения и принципы доступа настоящего изобретения в среде протокола мобильной интерактивной связи с Интернет (WAP). WAP является технологией, облегчающей передачу информации Интернет в беспроводные устройства и из них. WAP объединяет Интернет и другие сети с платформами беспроводных сетей. В целом WAP является множеством протоколов, которые учитывают характеристики и функциональные возможности как стандартов Интернет, так и стандартов для беспроводных услуг. Он не зависит от стандартов беспроводных сетей и разработан как открытый стандарт. WAP ликвидирует промежуток между парадигмой проводного Интернета и беспроводной областью таким образом, чтобы дать возможность пользователям беспроводных устройств пользоваться преимуществами Интернета через обе платформы.
В проиллюстрированном варианте осуществления фиг.3 подвижные терминалы используют технологию WAP, и сервер обеспечения является сервером 302 обеспечения WAP с принудительной рассылкой. В типичной модели клиент/сервер клиент запрашивает услугу или информацию из сервера, который затем отвечает передачей информации клиенту. Обычно это называют технологией “вытягивания”, в которой клиент вытягивает информацию из сервера. Например, ввод УАР в клиентском устройстве, который затем направляют в сервер, чтобы извлечь связанную информацию, является транзакцией “вытягивания”. Наоборот, технология с принудительным распространением информации обычно относится к средству, предназначенному для передачи информации в одно или несколько устройств без предшествующего действия пользователя. Следовательно, отсутствует явный запрос от клиента перед тем, как сервер передает свою информацию и, следовательно, технология с принудительным распространением информации, по существу, использует транзакции, инициируемые сервером. Технологии с принудительным распространением информации могут быть использованы в связи с различными протоколами и технологиями связи. Например, некоторые типичные технологии с принудительным распространением информации включают в себя WAP с принудительной рассылкой, услугу коротких сообщений (УКС), услугу мультимедийных сообщений (УМС), протокол инициализации сеанса (SIP), а также другие. Для целей настоящего примера предполагается среда WAP.
Следует заметить, что проиллюстрированный сервер 302 обеспечения WAP с принудительной рассылкой может быть использован в варианте осуществления, использующем протоколы обеспечения самозагрузки WAP. Однако обеспечение WAP может быть расширено в другие протоколы, такие как протоколы, допускающие двустороннюю передачу информации обеспечения. Следовательно, несмотря на то, что описание, предоставленное в связи с фиг.3, относится к обеспечению WAP с принудительной рассылкой, очевидно, что изобретение не ограничено этим. Вместо этого любой тип протокола или технологии обеспечения может быть использован в соответствии с изобретением.
Что касается технологии WAP с принудительной рассылкой, WAP задает общий протокол (протокол доступа с принудительной рассылкой) для взаимодействия между поставщиком услуг с принудительной рассылкой и шлюзом с принудительной рассылкой беспроводной сети. Шлюз и подвижное устройство используют специальный протокол для взаимодействия, такой как протокол с принудительной рассылкой через эфир. Более конкретно, операция принудительной рассылки в WAP происходит, когда инициатор принудительной рассылки (ИПР, PI) передает информацию клиенту с использованием протокола с принудительной рассылкой через эфир или протокола доступа с принудительной рассылкой. ИПР находится в сети, такой как Интернет, а клиент WAP находится в области WAP. Часто промежуточное управление взаимодействием между ИПР и клиентом WAP облегчается через шлюз WAP. ИПР вступает в контакт со шлюзом со стороны Интернет, доставляя информацию с использованием протоколов Интернет. Протокол доступа к шлюзу стороны Интернет является протоколом доступа с принудительной рассылкой, который использует сообщения расширяемого языка разметки (РМЯ, XML), которые могут быть туннелированы через различные широко известные протоколы Интернет, такие как протокол передачи гипертекста (НТТР). Шлюз передает протолкнутую информацию в область WAP, где информацию передают через эфир (OTA) в мобильной сети клиенту WAP. Протокол (OTA) стороны WAP является протоколом с принудительной рассылкой через эфир, который основан на протоколе радиосеанса (WSP), который, по существу, является двоичной версией HTTP. В настоящее время имеется большое число технологий принудительного распространения информации и “вытягивания”, и больше таких технологий, вероятно, должно появиться в будущем, каждая из которых может быть использована в связи с настоящим изобретением.
Стандартный сервер обеспечения WAP в настоящее время включает в себя параметры, необходимые для установления основных возможностей подключения к сети. Эта информация неявно допускается применимой ко всем приложениям, и нет средства, осуществляющего связь конкретных установок параметров с конкретным приложением. В соответствии с настоящим изобретением, сервер 302 обеспечения WAP с принудительной рассылкой предоставляет ИД приложения (идентификаторы приложений) и различные параметры доступа, изображенные в блоке 304, в терминал 306 WAP через сеть 316. ИД приложений и параметры, предоставленные в подвижный терминал 306, устраняют недостатки предшествующего уровня техники, причем подвижный терминал 306 должен осуществлять доступ к одному из множества эквивалентных или стандартизованных приложений 308, которыми распоряжаются разные адресуемые серверы 310, 312, 314 приложений, доступные в сети 316. В частности, ИД приложения, соответствующий эквивалентным или стандартизированным приложениям 308, вместе с конкретным УАР/адресом сети и другими параметрами 304 доступа предоставляют в терминал 306. УАР/адрес сети может предоставить адрес сервера приложений, к которому осуществляет доступ подвижный терминал. Кроме того, или альтернативно, УАР/адрес сети может предоставить маршрут, такой, что адрес также связывают с конкретной услугой, такой как …/компания/АВС/УМС, где УМС представляет часть маршрута для идентификации целевой услуги. Пользовательский программный агент 307, предварительно сконфигурированный для распознавания ИД приложения, использует связанные параметры доступа для идентификации соответствующего сервера 310, 312, 314 приложений, в котором осуществить доступ к приложению 308, а также для осуществления связи конкретных установок возможности подключения к сети и характеристик доступа с приложением 308 для этого сервера 310, 312, 314.
Например, ИД 304 приложения связан с параметрами, включающими в себя УАР или адрес сети сервера приложений, к которому должен быть осуществлен доступ, такого как сервер 312 приложений. Параметры, связанные с ИД приложения, предоставленные в терминал 306, идентифицируют УАР или адрес сети сервера 312 приложений как конкретного сервера, предназначенного для вступления с ним в контакт для того, чтобы использовать приложение 308. Кроме того, другие параметры, связанные с ИД приложения, могут быть использованы для осуществления связи конкретных установок возможности подключения к сети с приложением 308 и конфигурирования других характеристик доступа, необходимых для осуществления доступа или для облегчения доступа к приложению 308 в сервере 312.
Архитектуры WAP с принудительной рассылкой в настоящее время реализуют идентификатор приложения, который может быть унифицированным идентификатором ресурса (URI, УИР) или сокращенным зарегистрированным значением. Однако рамки его использования очень ограничены, так как он определен для использования в заголовках сообщений WAP с принудительной рассылкой как основа направления сообщений в некоторое принимающее приложение в терминале 306 WAP, отличное от приложения по умолчанию (например, браузера), когда терминал 306 WAP принимает сообщение принудительной рассылки из сети. В соответствии с одним вариантом осуществления настоящего изобретения, ИД приложения вставляют в документы или записи, несущие информацию обеспечения WAP, и принудительно посылают в терминал 306 WAP. Затем ИД приложения используют с соответствующими ему параметрами доступа для целей больших возможностей подключения к конкретному приложению и для идентификации конкретного сервера приложений, в котором можно осуществить доступ к требуемому приложению.
Таким образом, кроме предоставления возможности усовершенствования или оптимизации соединения с конкретным приложением настоящее изобретение дает возможность подвижным устройствам осуществлять доступ к конкретному приложению, предоставленному многочисленными службами сетей. Например, когда приложения и услуги стандартизированы, может быть несколько поставщиков услуг, предлагающих использование одного и того же приложения. В этой ситуации УАР, идентифицирующий поставщика услуг, не может быть использован для идентификации приложения, поскольку он включает в себя адрес сети конкретного поставщика приложения. В качестве более конкретного примера, услуга мультимедийных сообщений (УМС) является услугой, которая в настоящее время является стандартизированной услугой, но УАР не может идентифицировать приложение, а также поставщика услуг, поскольку УАР включает в себя адрес сети поставщика услуг. Следовательно, УАР для стандартизированного приложения УМС не может включать в себя текст, относящийся к поставщику услуг А, если поставщик услуг В поставляет приложение. Настоящее изобретение решает эту проблему с помощью обеспечения подвижного устройства ИД приложения, который затем может быть использован для определения, какой конкретный сервер приложений из множества серверов приложений должен обеспечить доступ подвижного терминала к стандартизированному приложению.
Следует заметить, что ссылка на “стандартизированные” приложения в настоящем описании включает в себя приложения, утвержденные органом стандартов, но не ограничена ими. Ссылка на стандартизированное приложение, которая используется в настоящем описании, также включает в себя собственные “стандарты” или другие соглашения, причем пользовательский программный агент в подвижном терминале и сервер приложений уславливаются об интерпретации конкретного ИД приложения.
Фиг.4 – примерный вариант осуществления, иллюстрирующий способ, в котором ИД приложения, обеспеченный посредством процесса обеспечения, используют для осуществления доступа к конкретному приложению в соответствии с изобретением. В этом примере инициатор принудительного распространения информации предоставляет информацию 402 обеспечения. Инициатором принудительного распространения информации может быть любой сервер или элемент сети, который может предоставлять информацию обеспечения посредством технологии принудительного распространения информации, такой как сервер обеспечения с принудительной рассылкой. Как указано ранее, другие технологии, отличные от технологии принудительного распространения информации, могут быть использованы для предоставления информации 402 обеспечения.
ИД приложения и один или несколько других параметров вставляют в один или несколько документов 404, 406 обеспечения. В этом варианте осуществления информация обеспечения WAP проиллюстрирована в виде “документов”, соответствующих ее формату, как тип документа РЯР (XML). Следует понимать, что термины “документ”, “файл”, “запись”, “блок” и т.д. в настоящем описании могут использоваться взаимозаменяемым образом для описания любого файла, записи или структуры блока информации, передаваемой между сервером обеспечения и терминалом. Следовательно, использование термина “запись”, “файл”, “документ” или другой терминологии не предназначено для того, чтобы ограничить конкретную структуру или формат предоставляемой информации обеспечения. Эти термины используются обобщенно для представления любого формата или способа организации информации обеспечения. Однако в проиллюстрированном варианте осуществления фиг.4 документы 404, 406 обеспечения могут быть отформатированы как тип “документ” РЯР и, следовательно, в этом варианте осуществления информация обеспечения упоминается как предоставляемая в “документах”. Также следует заметить, что в соответствии с изобретением, множество ИД приложений и связанных параметров может быть вставлено в документ информации обеспечения, файл, запись и т.д.
Вариант осуществления фиг.4 иллюстрирует то, что множество ИД приложений могут быть обеспечены в одном или нескольких документах 404, 406, причем терминал 408 WAP должен быть обеспечен таким образом, чтобы осуществлять доступ к соответствующему числу приложений. В проиллюстрированном варианте осуществления, по меньшей мере, два ИД приложений подают в терминал 408 WAP как часть информации 402 обеспечения. ИД 410 приложения связан с вставленным документом 404, а ИД 412 приложения связан с вставленным документом 406. Как указано ранее, дополнительные параметры 414, связанные с процессом обеспечения, и параметры, которые используют для идентификации конкретного сервера приложений, в который осуществляется доступ, и потенциально другую информацию, облегчающую доступ к приложению (приложениям), связывают с вставленными документами 404, 406.
Проиллюстрированный вариант осуществления предполагает соответствующий WAP терминал 408, использующий протоколы WAP в беспроводной области. Уполномоченный шлюз 416 с принудительной рассылкой информации (УШПРИ, PPG) или другой шлюз может быть использован в качестве посредника между проводной и беспроводной сетями. Информацию 402 обеспечения, включающую ИД 410, 412 приложений и другие параметры 414, таким образом, принудительно посылают в терминал 408 WAP через УШПРИ 416. В другом варианте осуществления инициатор 400 принудительной рассылки и необходимое подмножество функций УШПРИ 416 объединены в сервере обеспечения, который непосредственно взаимодействует с терминалами 408 с использованием WAP с принудительной рассылкой и/или других будущих расширенных протоколов обеспечения WAP.
Для конкретного ИД приложения, такого как ИД 410, терминал 408 осуществляет доступ к конкретному пользовательскому программному агенту 418, соответствующему ИД 410 приложения. ИД 410 приложения становится известным подвижному терминалу 408 как часть конструкции пользовательского программного агента 418, который используют для осуществления доступа к соответствующему приложению в сети. Это дает возможность подвижному терминалу 408 использовать информацию обеспечения, которая отмечена с использованием ИД приложения в соответствующем документе обеспечения. Другие ИД приложений, такие как ИД 412 приложения, могут быть использованы в связи с другим пользовательским программным агентом, таким как пользовательский программный агент 420. В таком случае ИД 412 приложения первоначально становится известным подвижному терминалу 408 как часть конструкции пользовательского программного агента 420, который используют для осуществления доступа к другому приложению в сети. Эти примеры предполагают пользовательских программных агентов в подвижном терминале 408, которые были реализованы в подвижном терминале 408 перед процессом обеспечения. В альтернативном варианте осуществления пользовательский программный агент (агенты) могут не присутствовать в терминале 408, когда терминал 408 сначала получает информацию обеспечения. В этом случае терминал 408 может использовать специализированный пользовательский программный агент, действующий как загрузчик приложения. Загрузчик приложения может извлекать информацию из документа обеспечения, который необходим для загрузки пользовательских программных агентов (например, 418, 420), которые ранее были не известны терминалу 408. На основании извлеченной информации этот загрузчик приложения также может принимать решение для загрузки и обновления пользовательских программных агентов, которые уже существуют в терминале.
Подходящий пользовательский программный агент 418 подвижного терминала, соответствующий ИД приложения, обеспечивает терминал 408 для использования требуемого приложения 422 через конкретного поставщика 426 приложения. Конкретный поставщик 426 приложения идентифицирован для пользовательского агента 418 как часть различных параметров 414 доступа, предоставленных в информации 402 обеспечения. В одном варианте осуществления конкретный поставщик приложения идентифицирован в параметрах как УАР поставщика приложения (вставка имени главной машины и маршрута приложения) или как фактический адрес сети поставщика приложения для протоколов приложений, которые не используют адресацию УАР, таких как простой протокол пересылки электронной почты (SMTP) или протокол доступа к сообщениям в сети Интернет (IMAP).
Кроме определения намеченного поставщика услуг параметры 414 связаны с функциями возможности подключения, связанными с облегчением доступа, так как они относятся к этому идентифицированному приложению. В одном варианте осуществления изобретения ИД приложения используют для осуществления связи конкретных установок возможности подключения к сети для соответствующего приложения. Такие установки возможности подключения к сети могут включать в себя, например, параметры, связанные с пунктами доступа сети, такими как пункт доступа сети GPRS или сервер доступа по телефонной линии, модулей-посредников, необходимых для доступа к приложению, и/или качество параметров обслуживания. Например, конкретное целевое (намеченное) приложение может работать с достаточно низким качеством обслуживания, и в соответствии с этим могут быть заданы установки возможности подключения для такого приложения. Приложения, требующие более высокого качества обслуживания, могут быть установлены подобным образом. Это стало возможным с помощью предоставления ИД приложения в подвижный терминал, который, в свою очередь, может установить конкретные атрибуты приложения для определения подходящих установок возможности подключения. Что касается пунктов доступа к сети, они могут включать в себя множество параметров, включая, например, номер набора, скорость линии связи, строку инициализации модема, имя пользователя и пароль PPP, используемый протокол аутентификации и т.д. Что касается модулей-посредников, они также могут включать в себя параметры или установки, такие как фактический адрес, пункты доступа к сети которого могут использоваться с модулями-посредниками, услуги, которые предоставлены, и т.д.
Кроме того, ИД приложения может быть использован для идентификации других параметров 414, которые необходимы или желательны для осуществления доступа к приложению или, иначе, сделать такой доступ более эффективным. Такие другие параметры могут включать в себя, например, полномочия аутентификации, типы информации, принимаемые или предпочитаемые сервером приложений, информацию, необходимую для загрузки пользовательского программного агента (например, выполняемого приложения, апплет, интегрируемый программный модуль), который облегчает использование приложения, и т.д.
В одном варианте осуществления ИД приложения, такие как ИД 410, 412 приложения, являются идентификаторами приложения, определенными с помощью современной или будущей или других спецификаций. Например, в спецификации WAP с принудительной рассылкой номера зарегистрированы для идентификаторов приложений с принудительной рассылкой. В настоящее время область числа разделена на три сегмента. Первым сегментом, представленным числами 0×0000-0×7FFF, являются “широко известные величины”. Например, 0×04 идентифицирует пользовательский программный агент услуги мультимедийных сообщений (УМС) (URN (универсальный номер ресурса): x-wap-application:mms.ua). Второй и третий сегменты зарезервированы для регистрации или как экспериментальные величины. В одном варианте осуществления изобретения эти идентификаторы 410, 412 приложения вставлены в документы 404, 406, несущие информацию 402 обеспечения WAP для облегчения выборки требуемого приложения 422 у подходящего поставщика 424, 426 приложений с помощью терминала 408 WAP.
В другом варианте осуществления зарегистрированные в Интернете/широко известные номера порта могли бы быть использованы в качестве ИД приложения. В этом случае связанные параметры, переносимые обеспечением WAP, относились бы к традиционным приложениям Интернет и включали бы в себя, например, имя главной машины необходимого сервера, номера портов, имена почтовых ящиков и т.д. Например, в традиционном контексте Интернет данные, предназначенные для конкретного компьютера, поступают через соединение, но данные могут предназначаться для разных приложений, выполняемых на компьютере. Это выполняется с помощью идентификации портов вместе с адресом компьютера, и модули транспортного уровня, такие как протокол управления передачей (TCP), протокол дейтаграммы пользователя (UDP), используют идентификацию порта для доставки данных в подходящее приложение. В соответствии с настоящим изобретением, ИД приложения может быть обеспечен с использованием этих зарегистрированных номеров портов. В этом случае необходимые имена главных машин, номера портов и имена почтовых ящиков и т.д. также могут быть предоставлены с информацией обеспечения.
Другие существующие идентификаторы приложений или придуманные идентификаторы могут быть использованы в качестве ИД приложения в соответствии с настоящим изобретением. Следовательно, несмотря на то, что ИД приложений, связанные со спецификацией WAP с принудительной рассылкой, и номера портов, зарегистрированные в Интернет, описаны выше для целей иллюстрации, настоящее изобретение не ограничено ими. Также может быть использована любая современная или будущая схема идентификации приложения.
Фиг.5 иллюстрирует пример части информации 500 обеспечения, которая может быть доставлена в подвижный терминал в соответствии с настоящим изобретением. Может быть предоставлена общая информация 502 обеспечения, которая может включать в себя идентификацию подвижного терминала, такую как адрес IP, имя пользователя, номер подвижной станции цифровой сети с интегрированными услугами/коммутируемой телефонной сети общего пользования (MSISDN), ЦСИУ/КТСОП (ISDN/PSTN), или другую идентификацию, связанную с конкретным процессом обеспечения.
В соответствии с изобретением, информация 500 обеспечения включает в себя ИД 504 приложения, как обсуждено ранее. С ИД 504 приложения связаны различные параметры, используемые для осуществления доступа к приложению или чтобы сделать доступ более эффективным. Например, УАР поставщика услуг или другой адрес 506 сети предоставлены для того, чтобы окончательно дать возможность подвижному терминалу идентифицировать конкретного поставщика услуг, у которого подвижный терминал будет осуществлять доступ к приложению. Поскольку ИД приложения будет уже известен в пользовательском программном агенте подвижного терминала, этот УАР/адрес 506 сети, который указывает на выбранного поставщика услуг, может быть связан с пользовательским программным агентом таким образом, чтобы дать возможность обеспечить доступ к выбранному поставщику услуг. Другие примерные параметры включают в себя требуемый или предпочтительный тип 508 информации. Примеры таких типов информации включают в себя текст/v карта, текст/х-v карта, текст/x-v календарь или другие типы текста или мультимедийной информации. Дополнительные примерные параметры включают в себя качество обслуживания 510, полномочия 512 аутентификации и доступные для чтения человеку метки ресурсов 514 приложения. Другие параметры могут включать в себя спецификации самих ресурсов приложения (например, почтовых ящиков, синхронизируемых баз данных и т.д.), доступных через идентифицированный сервер приложения/поставщик услуг. Еще другие параметры могут включать в себя используемый конкретный протокол доступа и/или версию протокола. Где зарегистрированные в Интернете/широко известные номера портов используются в качестве ИД приложений в соответствии с изобретением, связанные параметры, переносимые обеспечением WAP, будут относиться к традиционным приложениям Интернет, и могут включать в себя имена главных машин, номера портов, имена почтовых ящиков и т.д. Большое разнообразие различных параметров может быть включено для облегчения доступа к приложению. Параметры, проиллюстрированные и/или описанные в связи с фиг.5, представлены в качестве примерных параметров, и, очевидно, изобретение не ограничено ими.
Фиг.6 – блок-схема, иллюстрирующая один вариант осуществления способа, предназначенного для доступа к намеченным сетевым приложениям с использованием обеспечения идентификации приложения и принципов доступа настоящего изобретения. Как изображено в блоке 600, ИД приложения делают известным для подвижного терминала как часть расширения пользовательского программного агента, который будет использован для осуществления доступа к подходящему приложению в сети. С помощью связывания ИД приложения с пользовательским программным агентом в подвижном терминале перед фактическим процессом обеспечения терминал сможет использовать соответствующие параметры доступа, отмеченные с помощью этого ИД приложения в информации обеспечения.
Когда инициируют процесс обеспечения, идентификатор приложения и связанные параметры доступа вставляют 602 в информацию обеспечения. В одном варианте осуществления, в котором реализуют обеспечение WAP, ИД приложения и параметры вставляют в документ обеспечения, соответствующий типу документа РЯР или его закодированному виду, такому как двоичный РЯР WAP (WBXML)-закодированный РЯР. Информацию обеспечения, включающую ИД приложения и связанные параметры доступа, посылают 604 в подвижный терминал. Подвижный терминал принимает ИД приложения и осуществляет доступ 606 к пользовательскому программному агенту, соответствующему этому ИД приложения. Используя эту информацию, подвижный терминал обеспечивают 608 для использования сетевого приложения с намеченным поставщиком услуг, идентифицированным с помощью параметров доступа. Когда обеспечен, подвижный терминал затем может контактировать 610 с приложением и использовать его с целевым (намеченным) поставщиком услуг в соответствии с параметрами доступа, связанными с ИД приложения.
Фиг.7 – блок-схема, иллюстрирующая более конкретный вариант осуществления способа, предназначенного для доступа к целевым (намеченным) сетевым приложениям с использованием обеспечения идентификации приложения и принципов доступа настоящего изобретения. Как изображено в блоке 700, ИД приложения связывают с пользовательским программным агентом в подвижном терминале перед моментом времени обеспечения, как было описано в связи с фиг.6. Для того чтобы обеспечить терминал, идентификатор приложения и связанные параметры доступа вставляют 702 в информацию обеспечения, что в проиллюстрированном варианте осуществления включает в себя вставку ИД приложения и параметров в один или несколько документов обеспечения или в другую информационную структуру обеспечения. В одном варианте осуществления идентификатор приложения (и параметры) вставляют в элемент или “полезную нагрузку” информации обеспечения, а не в заголовок передаваемых пакетов информации обеспечения. Информацию обеспечения, включающую ИД приложения и связанные параметры доступа, затем посылают 704 в подвижный терминал. Предоставление информации обеспечения может быть выполнено в соответствии с любой технологией обеспечения, включая технологию распространения информации с опросом, технологию принудительного распространения информации, некоторую комбинацию технологии распространения информации с опросом и технологии принудительного распространения информации, вставки МИА, WIM или других смарт-карт в подвижный терминал и т.д. Затем подвижный терминал осуществляет доступ 706 к пользовательскому программному агенту, соответствующему этому ИД приложения.
Используя эту информацию, пользовательский программный агент, соответствующий ИД приложения, может идентифицировать определенные параметры доступа для облегчения доступа к приложению, соответствующему этому ИД приложения, как изображено в блоке 708. Среди этих параметров находится УАР или другой адрес сети поставщика приложения, как изображено в блоке 710. Например, может быть предоставлен УАР, который встраивает имя главной машины, или фактический адрес сервера приложений может быть предоставлен для протоколов приложений, которые не используют адресацию УАР, таких как SMTP, IMAP и т.д. Таким образом, конкретный сервер из множества серверов приложений, обеспечивающих желаемое приложение, может быть намечен как сервер требуемого приложения.
Множество других параметров также может быть включено с информацией обеспечения для облегчения доступа к приложению у адресованного поставщика приложения. Эти параметры, также обсужденные в связи с фиг.5, включают в себя типы информации, принимаемые 712 или предпочитаемые 714 сервером приложений, полномочия 716 аутентификации и информацию, предназначенную для загрузки пользовательского агента, необходимого для использования приложения. Также могут быть предоставлены многие другие 720 параметры, чтобы облегчить доступ к поставщику приложения в соответствии с настоящим изобретением. В соответствии с одним вариантом осуществления изобретения, подвижный терминал также может связать 722 установки возможности подключения к сети с приложением, соответствующим ИД приложения. Это может включать в себя, например, пункты доступа к сети, такие как пункты доступа к сети GPRS, доступ по телефонному каналу, пункты серверов, модули-посредники, необходимые для осуществления доступа к приложению, параметры качества обслуживания и т.д. Используя эту информацию, соответствующим образом обеспеченный подвижный терминал может осуществлять доступ 724 к приложению в адресованном сервере приложений в соответствии с параметрами доступа и установками возможности подключения к сети.
С использованием вышеприведенного описания изобретение может быть реализовано как сетевая система, сетевое устройство, процесс или изделие (продукт) изготовления (производства) с помощью использования стандартного программирования и/или способов разработки, чтобы выполнить программирование программного обеспечения, аппаратно-программного обеспечения, аппаратного обеспечения или любой их комбинации.
Любая результирующая программа (программы), имеющая доступный для чтения с помощью компьютера программный код, может быть осуществлена на одном или нескольких доступных для использования с помощью компьютера носителях информации, таких как запоминающие устройства или передающие устройства, таким образом создавая компьютерный программный продукт или продукт изготовления в соответствии с изобретением. По существу, понятия “продукт изготовления” и “компьютерный программный продукт”, которые использованы в настоящем описании, предназначены для включения в себя компьютерной программы, существующей (постоянно, временно или промежуточно) на любом доступном для чтения с помощью компьютера носителе информации, таком как запоминающее устройство или передающее устройство.
Выполнение программного кода непосредственно с одного носителя информации, запоминание программного кода на носителе информации, копирование кода с одного носителя информации на другой носитель информации, передача кода с использованием передающего устройства или другие эквивалентные действия могут включать в себя использование запоминающих или передающих устройств, которые осуществляют программный код промежуточно как предварительный или конечный этап при изготовлении, использовании или продаже изобретения.
Запоминающие устройства включают в себя накопители на жестком диске, дискеты, оптические диски, магнитную ленту, полупроводниковые запоминающие устройства, такие как ОЗУ, (RAM), ПЗУ, (ROM), ППЗУ (PROMS) и т.д., но не ограничены ими. Передающие устройства включают в себя Интернет, интрасети, связь через телефонную/основанную на модемах сеть, аппаратно подключенную/кабельную сеть связи, сотовую связь, радиосвязь, спутниковую связь и другие стационарные или мобильные сетевые системы/линии связи, но не ограничены ими.
Устройство, осуществляющее изобретение, может включать в себя одну или несколько обрабатывающих систем, включая центральный процессор (ЦП, CPU), устройства запоминания/хранения, линии связи, устройства связи/передачи, серверы, устройства ввода/вывода или другие подкомпоненты или отдельные части одной или нескольких обрабатывающих систем, включающих программное обеспечение, аппаратно-программное обеспечение, аппаратное обеспечение или любую их комбинацию или подкомбинацию, которые осуществляют изобретение, как изложено в формуле изобретения, но не ограничено ими.
Из описания, представленного в настоящей заявке, специалисты в данной области техники могут легко объединить программное обеспечение, как описано, с подходящим аппаратным обеспечением универсального или специализированного компьютера для создания компьютерной системы и/или компьютерных подкомпонентов, предназначенных для выполнения способа изобретения.
Конечно, будет понятно, что различные модификации и добавления могут быть сделаны в различные варианты осуществления, обсужденные выше, не выходя за рамки объема и сущности настоящего изобретения. Например, изобретение может быть использовано в связи с любым типом сетевой среды и не ограничено примерными сетевыми средами WAP, описанными выше. Из приведенного выше описания проиллюстрированных вариантов осуществления обычные специалисты в данной области техники легко поймут возможность применения изобретения в любой совместимой сетевой среде. Таким образом, рамки объема настоящего изобретения не должны быть ограничены конкретными вариантами осуществления, обсужденными выше, а должны быть определены только с помощью формулы изобретения, приведенной ниже, и ее эквивалентами.
Формула изобретения
1. Способ облегчения доступа подвижного терминала к сетевому приложению, которым распоряжается множество серверов приложений в сети, заключающийся в том, что
вставляют идентификатор приложения, соответствующий сетевому приложению, и связанные параметры доступа к приложению, включающие адрес сервера приложений одного из множества серверов приложений, в информацию обеспечения,
передают информацию обеспечения, по меньшей мере, в один подвижный терминал, находящийся на связи с процедурой обеспечения, и обеспечивают подвижный терминал таким образом, чтобы облегчить доступ к сетевому приложению через сервер приложений, идентифицированный с помощью адреса сервера приложений, предоставленного с информацией обеспечения.
2. Способ по п.1, отличающийся тем, что дополнительно предварительно конфигурируют модуль программного обеспечения в подвижном терминале для распознавания идентификатора приложения и осуществляют доступ к сетевому приложению через сервер приложений, соответствующий адресу сервера приложений, с использованием модуля программного обеспечения.
3. Способ по п.1, дополнительно содержащий этапы, на которых предоставляют один или несколько пользовательских программных агентов в подвижном терминале и осуществляют доступ к сетевому приложению с использованием, по меньшей мере, одного из пользовательских программных агентов, который предварительно сконфигурирован для распознавания идентификатора приложения и использования одного или нескольких связанных параметров доступа к приложению при доступе к сетевому приложению.
4. Способ по п.1, отличающийся тем, что дополнительно осуществляют доступ к сетевому приложению в адресованном сервере приложений с помощью подвижного терминала.
5. Способ по п.1, отличающийся тем, что при передаче информации обеспечения передают информацию обеспечения из источника обеспечения в подвижный терминал через сеть.
6. Способ по п.5, отличающийся тем, что при передаче информации обеспечения из источника обеспечения передают информацию обеспечения посредством процесса обеспечения с принудительной рассылкой через сеть.
7. Способ по п.6, отличающийся тем, что при передаче информации обеспечения посредством процесса обеспечения с принудительной рассылкой передают информацию обеспечения посредством процедуры обеспечения протокола мобильной интерактивной связи с Интернет (WAP) с принудительной рассылкой.
8. Способ по п.1, отличающийся тем, что при передаче информации обеспечения снабжают подвижный терминал компонентом, который запоминает информацию обеспечения.
9. Способ по п.8, отличающийся тем, что при снабжении подвижного терминала компонентом электрически соединяют один из следующих элементов: модуль идентификации абонента (МИА), модуль идентификации WAP (WIM) и смарт-карту с подвижным терминалом.
10. Способ по п.1, отличающийся тем, что дополнительно связывают установки возможности подключения к сети с сетевым приложением, доступ к которому осуществляют через сервер приложений, идентифицированный с помощью адреса сервера приложений.
11. Способ по п.10, отличающийся тем, что при связывании установок возможности подключения к сети с сетевым приложением связывают с сетевым приложением одно или несколько из следующего: качество обслуживания, установки параметров пункта доступа к сети и установки параметров модуля-посредника.
12. Способ по п.1, отличающийся тем, что при обеспечении подвижного терминала для облегчения доступа к сетевому приложению дополнительно идентифицируют характеристики доступа соединения между подвижным терминалом и сервером приложений, идентифицированным с помощью адреса сервера приложений, с использованием одного или нескольких связанных параметров доступа к приложению.
13. Способ по п.12, отличающийся тем, что связанные параметры доступа к приложению содержат одно или несколько из следующего:
полномочия аутентификации, типы информации, предпочитаемые сервером приложений, и типы информации, требуемые сервером приложений.
14. Способ по п.12, отличающийся тем, что связанные параметры доступа к приложению содержат информацию, используемую для загрузки, по меньшей мере, одного пользовательского программного агента доступа к приложению, который дает возможность использования сетевого приложения.
15. Способ по п.14, отличающийся тем, что дополнительно вызывают резидентного пользовательского программного агента в подвижном терминале с использованием информации, причем в ответ на это резидентный пользовательский программный агент выполняет загрузку пользовательского программного агента доступа к приложению.
16. Способ по п.14, отличающийся тем, что дополнительно загружают пользовательский программный агент доступа к приложению в подвижный терминал и осуществляют доступ к сетевому приложению через сервер приложений, соответствующий адресу сервера приложений, с использованием пользовательского программного агента доступа к приложению.
17. Способ по п.16, отличающийся тем, что дополнительно конфигурируют загруженный пользовательский программный агент доступа к приложению для распознавания идентификатора приложения, если загруженный пользовательский программный агент доступа к приложению предварительно не сконфигурирован для распознавания идентификатора приложения для того, чтобы идентифицировать адрес сервера приложений.
18. Способ по п.16, отличающийся тем, что загруженный пользовательский программный агент доступа к приложению предварительно конфигурируют для распознавания идентификатора приложения для того, чтобы идентифицировать адрес сервера приложений.
19. Способ по п.12, отличающийся тем, что связанные параметры доступа к приложению содержат одно или несколько из следующего:
идентификация протокола доступа для взаимодействия с сетевым приложением и версия протокола доступа.
20. Способ по п.12, отличающийся тем, что связанные параметры доступа к приложению содержат спецификацию ресурсов приложения, доступных в сетевом приложении, которым распоряжается сервер приложений, идентифицированный с помощью адреса сервера приложений.
21. Способ по п.20, отличающийся тем, что связанные параметры доступа к приложению дополнительно содержат доступную для чтения человеком метку для ресурсов приложения, доступных в сетевом приложении.
22. Способ по п.1, отличающийся тем, что при вставке идентификатора приложения и связанных параметров доступа к приложению в информацию обеспечения вставляют идентификатор приложения и связанные параметры доступа к приложению в одно или несколько из следующего: документы обеспечения расширяемого языка разметки (РЯР) и закодированные формы документов обеспечения РЯР.
23. Способ по п.1, отличающийся тем, что при вставке идентификатора приложения и связанных параметров доступа к приложению в информацию обеспечения вставляют идентификатор приложения и связанные параметры доступа к приложению в полезную нагрузку информации обеспечения одного или нескольких пакетов информации обеспечения.
24. Способ по п.1, отличающийся тем, что идентификатор приложения содержит идентификатор (ИД) приложения, определенный с помощью спецификаций WAP с принудительной рассылкой.
25. Способ по п.1, отличающийся тем, что идентификатор приложения содержит номер порта, зарегистрированный в Интернете.
26. Способ по п.1, отличающийся тем, что идентификатор приложения содержит унифицированный идентификатор ресурса (УИР), предварительно сконфигурированный в подвижном терминале и множестве серверов приложений для идентификации сетевого приложения.
27. Способ по п.1, отличающийся тем, что сетевое приложение содержит стандартизированное приложение, доступное в каждом из множества серверов приложений.
28. Способ по п.1, отличающийся тем, что процедура обеспечения содержит процесс обеспечения самозагрузки, который обеспечивает идентификатор приложения и связанные параметры доступа к приложению после начального конфигурирования подвижного терминала.
29. Способ по п.1, отличающийся тем, что процедура обеспечения содержит процесс предварительного обеспечения, который обеспечивает идентификатор приложения и связанные параметры доступа к приложению после процесса обеспечения самозагрузки.
30. Способ по п.1, отличающийся тем, что процедуру обеспечения выполняют в связи с обеспечением подвижного терминала для одного или нескольких из следующего: новая услуга и модернизированная услуга.
31. Способ по п.1, отличающийся тем, что адрес сервера приложений содержит одно из следующего: адрес сети и имя главной машины сервера приложений, к которому осуществляют доступ с помощью подвижного терминала.
32. Способ по п.1, отличающийся тем, что адрес сервера приложений содержит унифицированный адрес ресурса (УАР), который содержится в сервере приложении, к которому осуществляют доступ с помощью подвижного терминала.
33. Способ по п.32, отличающийся тем, что УАР содержит маршрут дополнительно к адресу сервера приложений.
34. Система для облегчения доступа подвижного терминала к сетевому приложению, доступному через множество серверов приложений в сети, содержащая элемент обеспечения, предназначенный для обеспечения одного или нескольких файлов обеспечения, причем, по меньшей мере, один из файлов обеспечения включает в себя идентификатор приложения, соответствующий целевому приложению, и параметры доступа к приложению, связанные с идентификатором приложения, при этом, по меньшей мере, один из параметров доступа к приложению содержит адрес сервера приложений одного из множества серверов приложений, и подвижный терминал, предварительно сконфигурированный для распознавания вставленного идентификатора приложения после приема файлов обеспечения и осуществления доступа к целевому приложению по адресу сервера приложений, как предписано с помощью одного или нескольких параметров доступа к приложению, связанных с идентификатором приложения.
35. Система по п.34, отличающаяся тем, что сетевой элемент обеспечения содержит сервер обеспечения, соединенный с сетью и реализующий технологию распространения информации с опросом для передачи файлов обеспечения в подвижный терминал, инициирующий передачу через сеть.
36. Система по п.34, отличающаяся тем, что сетевой элемент обеспечения содержит сервер обеспечения, соединенный с сетью и реализующий технологию с принудительным распространением информации для принудительной рассылки файлов обеспечения в подвижный терминал через сеть.
37. Система по п.36, отличающаяся тем, что подвижный терминал содержит устройство, соответствующее протоколу мобильной интерактивной связи с Интернет (WAP).
38. Система по п.37, отличающаяся тем, что дополнительно содержит уполномоченный шлюз с принудительной рассылкой информации (УШПРИ), соединенный между областью первой сети, в которой действует сервер обеспечения, и областью сети WAP, в которой действует устройство, соответствующее WAP.
39. Система по п.37, отличающаяся тем, что идентификатор приложения содержит идентификатор (ИД) приложения, определенный с помощью спецификаций WAP с принудительной рассылкой.
40. Система по п.34, отличающаяся тем, что идентификатор приложения содержит номер порта, зарегистрированный в Интернете.
41. Система по п.34, отличающаяся тем, что идентификатор приложения содержит унифицированный идентификатор ресурса (УИР), предварительно сконфигурированный в подвижном терминале, и множестве серверов приложений для идентификации целевого приложения.
42. Система по п.34, отличающаяся тем, что сетевой элемент обеспечения содержит компонент, который запоминает файлы обеспечения.
43. Система по п.42, отличающаяся тем, что компонент содержит одно из следующего: модуль идентификации абонента (МИА), модуль идентификации WAP (WIM) и смарт-карту.
44. Система по п.34, отличающаяся тем, что подвижный терминал содержит одно из следующего: радиотелефон, персональный цифровой ассистент (ПЦА) и мобильный компьютер.
45. Система по п.34, отличающаяся тем, что подвижный терминал содержит, по меньшей мере, один пользовательский программный агент, предварительно сконфигурированный для распознавания вставленного идентификатора приложения и осуществления доступа к целевому приложению и использования одного или нескольких параметров доступа к приложению при доступе к целевому приложению.
46. Сетевой элемент для облегчения доступа подвижного терминала к сетевому приложению, которым распоряжается множество серверов приложений в сети, содержащий сервер обеспечения, предназначенный для передачи сигнала данных, встроенного в сигнал несущей, доступный для чтения с помощью подвижного терминала и кодирующий информацию обеспечения, причем информация обеспечения содержит идентификатор приложения, соответствующий стандартизированному сетевому приложению, которым распоряжается множество серверов приложений, и при этом информация обеспечения содержит параметры доступа к приложению, связанные с идентификатором приложения, причем, по меньшей мере, один из параметров доступа к приложению является адресом сервера приложений одного из множества серверов приложений, в котором получатель сигнала данных подвижного терминала может осуществлять доступ к стандартизированному сетевому приложению.
47. Доступный для чтения с помощью компьютера носитель информации, имеющий доступные для выполнения с помощью компьютера команды, предназначенные для облегчения доступа подвижного терминала к сетевому приложению, которым распоряжается множество серверов приложений в сети, причем доступные для выполнения с помощью компьютера команды выполняют этапы, содержащие вставку идентификатора приложения, соответствующего сетевому приложению, и связанных параметров доступа к приложению, включающих в себя адрес сервера приложений одного из множества серверов приложений, в информацию обеспечения, передачу информации обеспечения, по меньшей мере, в один подвижный терминал, находящийся на связи с процедурой обеспечения, и обеспечение подвижного терминала таким образом, чтобы облегчить доступ к сетевому приложению через сервер приложений, идентифицированный с помощью адреса сервера приложений, предоставленного с информацией обеспечения.
48. Подвижный терминал, выполненный с возможностью осуществления доступа к целевому приложению, доступному через множество серверов приложений, соединенных в сеть, причем подвижный терминал соединен через сеть с сетевым элементом обеспечения для приема, по меньшей мере, одного файла обеспечения, включающего в себя, по меньшей мере, идентификатор приложения, соответствующий целевому приложению, и адрес сервера приложений одного из множества серверов приложений, причем подвижный терминал содержит пользовательский программный агент, сконфигурированный для распознавания идентификатора приложения после приема файла обеспечения, и сконфигурирован для осуществления доступа к целевому приложению в сервере приложений, соответствующем адресу сервера приложений.
РИСУНКИ
|
|