|
|
(21), (22) Заявка: 2005124229/09, 29.07.2005
(24) Дата начала отсчета срока действия патента:
29.07.2005
(46) Опубликовано: 20.04.2007
(56) Список документов, цитированных в отчете о поиске:
US 2004/228093 A1, 18.11.2004. RU 2218591 С2, 10.12.2003. RU 2239226 С2, 27.10.2004. RU 2025059 С1, 15.12.1994. US 6867985 В2, 15.03.2005. JP 11330758 А, 30.11.1999.
Адрес для переписки:
620078, г.Екатеринбург, а/я 79, И.С. Иваницкой
|
(72) Автор(ы):
Майданик Юрий Фольевич (RU), Пастухов Владимир Григорьевич (RU)
(73) Патентообладатель(и):
Институт теплофизики Уро РАН (RU)
|
(54) ПАССИВНАЯ СИСТЕМА ОХЛАЖДЕНИЯ НАСТОЛЬНОГО КОМПЬЮТЕРА
(57) Реферат:
Изобретение относится к области электроники, в частности к охлаждению теплонапряженных компонентов электронных приборов, включая компьютеры, а также к области теплотехники, в частности к тепловым трубам. Технический результат – повышение эффективности системы охлаждения за счет снижения термического сопротивления ее элементов при уменьшении ее массогабаритных размеров и упрощение монтажа в блоке аппаратуры. Достигается тем, что в пассивной системе охлаждения настольного компьютера, включающей тепловые трубы с зонами испарения и конденсации с расположенной между ними транспортной зоной, тепловые интерфейсы, сопряженные с зонами испарения и конденсации, и радиатор с вертикальным оребрением, выполненный в виде стенки системного блока компьютера, к которому присоединены тепловые интерфейсы зон конденсации, каждая тепловая труба выполнена в виде контура, включающего испарительную камеру с зоной испарения и резервуаром для теплоносителя и конденсатор, включающий зону конденсации, а транспортная зона выполнена в виде раздельных пустотелых трубопроводов для пара и жидкости с малым диаметром, подключенных к испарительной камере и конденсатору. При этом испарительная камера имеет цилиндрическую форму; испарительная камера имеет форму пластин; конденсатор может быть выполнен в виде плоского змеевика; конденсатор может быть выполнен в виде пустотелой пластины имеющей наружное оребрение; радиатор может быть дополнительно снабжен двухфазными термосифонами, размещенными вдоль ребер и расположенными на расстоянии друг от друга; оребрение радиатора может быть выполнено в виде гофр; диаметр трубопроводов для пара и жидкости может быть выполнен в пределах от 1 до 4 мм. 7 з.п. ф-лы, 4 ил.
Изобретение относится к области электроники, в частности к охлаждению теплонапряженных компонентов электронных приборов, включая компьютеры, а также к области теплотехники, в частности к тепловым трубам.
Многие современные электронные приборы содержат элементы рассеивающие при работе большое количество тепла. Для обеспечения рабочих тепловых режимов таких элементов необходимы специальные меры по их охлаждению. Наиболее актуально проблема охлаждения стоит в компьютерной технике, где плотности теплового потока, рассеиваемые с поверхности быстродействующих процессоров, могут достигать 70-100 Вт/см2. Общеизвестна активная система охлаждения компьютерных блоков, которая состоит из набора индивидуальных радиаторов сопряженных с вентиляторами. Стандартный компьютер настольного исполнения содержит 3-4 вентилятора. Основными недостатками такого охлаждения является повышенный шум и низкая надежность, связанная с ограниченным сроком службы вентиляторов. Кроме того, интенсивный обмен и перемешивание воздуха ведут к сильному запылению внутренности блока, осложняющему условия работы остальных элементов.
Известна пассивная система охлаждения “Система охлаждения плат для коммуникационного оборудования с наружной установкой” [Патент Японии №11330758], в которой контактная поверхность центрального процессора соединена через теплопроводящую пластину с обычной тепловой трубой цилиндрического сечения, другой конец которой соединен с торцом монтажной платы, выполненным из теплопроводного материала. Этот торец платы находится в механическом контакте с держателем монтажных плат, который также содержит тепловую трубу, соединяющую его с внешним радиатором, закрепленным на задней стенке прибора и охлаждаемым свободной конвекцией воздуха.
Недостатком такой системы является высокое термическое сопротивление системы, обусловленное дополнительным механическим разъемным соединением между интерфейсом платы и держателя. Существенное термическое сопротивление вносит также кондуктивный перенос тепла в самих интерфейсах последовательно соединенных тепловых труб.
Известна другая пассивная система охлаждения “Компьютерная система с бесшумным охлаждением” [Патент США №6,867,985], в которой материнская плата с центральным процессором и жесткий диск размещены в узком пространстве, ограниченном толщиной жесткого диска, между двумя большими радиаторами, выполняющими одновременно роль стенок корпуса. При этом центральный процессор и жесткий диск прижаты своими плоскостями непосредственно к внутренним поверхностям радиаторов-стенок, расположенных друг против друга. Тепло от радиаторов отводится в окружающую среду свободной конвекцией.
Недостатком этой системы также является высокое термическое сопротивление. Особенно это актуально для охлаждения центрального процессора, который имеет сравнительно небольшую контактную поверхность 1-3 см2 и большую плотность тепловыделения. Дальнейшее распространение тепла от места контакта к ребрам радиатора, расположенным на площади порядка 1000 см2, происходит только за счет теплопроводности. В результате радиатор обладает значительной неизотермичностью и, следовательно, низкой эффективностью. Повышение изотермичности радиатора возможно лишь за счет увеличения толщины основания радиатора, которое сопровождается значительным увеличением массы. Кроме того, такая компоновка элементов компьютера с системой охлаждения исключает использование материнских плат стандартных конфигураций, содержащих слоты с модулями памяти и платами расширения (графического адаптера, сетевой карты и т.д.) и другие элементы, выступающие за пределы контактной поверхности центрального процессора.
Наиболее близкой к заявляемому изобретению является пассивная система охлаждения, представленная в патентной заявке “Компьютер” [Pub.No. US 2004/0228093 A1], которая выбрана в качестве прототипа. Здесь охлаждение таких тепловыделяющих компонентов компьютера, как центральный процессор, процессор графической карты, осуществляется посредством передачи тепла от них теплопередающими устройствами к внутренней поверхности корпуса компьютера, выполненного в виде оребренных наружу радиационных алюминиевых панелей, и последующим рассеянием тепла свободной конвекцией воздуха в окружающую среду. Пассивная система охлаждения настольного компьютера, включает тепловые трубы с зонами испарения и конденсации и расположенной между ними транспортной зоной, тепловые интерфейсы, соединяющие противоположные концы тепловых труб с плоскостями тепловыделяющих компонентов, и радиатор с вертикальным оребрением, выполненный в виде стенки системного блока компьютера, к которому присоединены тепловые интерфейсы зон конденсации.
Существенным недостатком такой системы охлаждения является ее низкая эффективность, выражаемая большим термическим сопротивлением системы в целом, что приводит к значительному увеличению ее массы и габаритов.
Общее термическое сопротивление складывается из цепочки сопротивлений на пути прохождения тепла от охлаждаемого объекта до стока тепла – окружающей среды и включает в себя все контактные сопротивления, сопротивления переходных интерфейсов, теплопередающих устройств и радиатора. Данная система содержит большое число разъемных соединений, обладающих существенным контактным сопротивлением. Кроме того, использование обычных тепловых труб диаметром 6-8 мм ведет к сложности монтажа системы, который может сопровождаться ручной гибкой труб при их установке в посадочные места разъемных тепловых интерфейсов. Достаточно большая жесткость тепловых труб такого диаметра может привести к плохому прилеганию плоскостей элементов и, как следствие, плохому тепловому контакту между ними.
Использование множества тепловых труб и множества переходных контактных блоков (интерфейсов) увеличивает массу системы. Кроме того, площадь контакта интерфейсов, соединяющих конденсаторы тепловых труб с радиатором, сравнительно мала. С одной стороны, это увеличивает термическое сопротивление перехода, с другой – вынуждает делать основание радиатора толщиной 5-7 мм, поскольку дальнейшее распространение тепла по радиатору осуществляется только за счет теплопроводности. В итоге, общая масса системы охлаждения получается весьма значительной. В данном случае она достигает 25 кг.
В основу изобретения положена задача повышения эффективности системы охлаждения за счет снижения термического сопротивления ее элементов при уменьшении ее массогабаритных размеров и упрощении монтажа в блоке аппаратуры.
Поставленная задача решается тем, что в пассивной системе охлаждения настольного компьютера, включающей тепловые трубы с зонами испарения и конденсации и расположенной между ними транспортной зоной, тепловые интерфейсы, сопряженные с зонами испарения и конденсации, и радиатор с вертикальным оребрением, выполненный в виде стенки системного блока компьютера, к которому присоединены тепловые интерфейсы зон конденсации, согласно изобретению, каждая тепловая труба выполнена в виде контура, включающего испарительную камеру с зоной испарения и резервуаром для теплоносителя и конденсатор, включающий зону конденсации, а транспортная зона выполнена в виде раздельных пустотелых трубопроводов для пара и жидкости с малым диаметром, подключенных к испарительной камере и конденсатору.
Испарительная камера может иметь цилиндрическую форму или форму пластин прямоугольного или плоскоовального сечения. В случае цилиндрической формы испарительная камера снабжается специальным переходным элементом, который обеспечивает переход между цилиндрической и плоской поверхностями и выполняет роль теплового интерфейса. Для снижения термического сопротивления между испарительной камерой и тепловым интерфейсом их соединение может быть неразъемным, например паяным. В случае если испарительная камера имеет форму пластины, специальный переходный элемент может не использоваться. Тогда тепловым интерфейсом служит плоская стенка камеры, которая механически прижимается непосредственно к охлаждаемому объекту.
Конденсатор тепловой трубы может быть выполнен в виде плоского трубчатого змеевика, витки которого равномерно размещаются на внутренней поверхности радиатора, обеспечивая высокую изотермичность и повышая тем самым его эффективность. Толщина плиты основания радиатора может составлять при этом 0,5-2 мм. Соединение конденсатора с радиатором может быть выполнено неразъемным или разъемным. В первом варианте может использоваться пайка или приклеивание. Во втором варианте трубка конденсатора прижимается к радиатору механически с помощью пластин с винтовым креплением. Этот вариант удобен с точки зрения монтажа системы или когда на один радиатор крепится несколько конденсаторов от разных тепловых труб. Вместе с тем, монтаж для обоих вариантов исполнения достаточно прост благодаря гибкости транспортных зон, состоящих из двух трубок малого диаметра, который составляет обычно 2-3 мм. При этом транспортным зонам может быть придана сложная пространственная форма сообразно удобству их прокладки внутри системного блока.
Конденсатор тепловой трубы может быть выполнен также в виде пустотелых пластин снабженных наружным оребрением. Внутреннее пространство конденсатора может быть сформировано также в виде каналов, соединенных по коллекторной или змеевиковой схеме и расположенных между двумя тонкими металлическими листами (0,2-0,5 мм), один из которых имеет наружное оребрение. Низкое термическое сопротивление такой схемы обеспечивается исключением контактных сопротивлений и минимизацией расстояний кондуктивного переноса тепла к ребрам радиатора.
Радиатор системы охлаждения может быть дополнительно снабжен двухфазными термосифонами, размещенными вдоль ребер и расположенными на расстоянии друг от друга. Такая конструкция особенно эффективна, когда конденсатор тепловой трубы расположен в его нижней части. Термосифоны выравнивают поле температур в продольном (вертикальном) направлении, уменьшая тем самым термическое сопротивление радиатора.
Оребрение радиатора может быть выполнено в виде гофр, согнутых из тонкостенного (0,1-0,5 мм) теплопроводного материала – алюминия или меди. Такое оребрение позволяет создать достаточно большую теплообменную поверхность при незначительной массе радиатора.
Выполнение каждой тепловой трубы в виде контура, включающего испарительную камеру, в которой расположена зона испарения и резервуар для теплоносителя, и конденсатор, в котором расположена зона конденсации, в совокупности с выполнением транспортной зоны в виде раздельных пустотелых трубопроводов для пара и жидкости с малым диаметром, подключенных к испарительной камере и конденсатору, позволяет уменьшить термическое сопротивление системы за счет минимизации числа контактных сопротивлений и повышения изотремичности поверхности радиатора и тем самым повысить эффективность системы охлаждения в целом. За счет равномерного прогрева основания радиатора можно уменьшить его толщину, а следовательно, и массу. За счет естественной гибкости трубопроводов транспортной зоны упрощается монтаж системы в блоке аппаратуры.
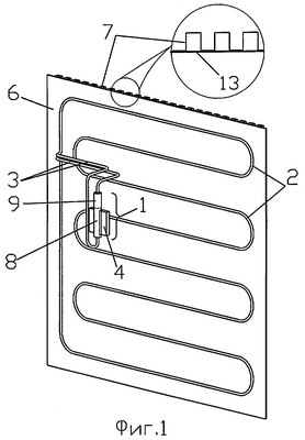
На фиг.1 представлен вариант системы охлаждения, в которой испарительная камера тепловой трубы имеет цилиндрическую форму и снабжена тепловым интерфейсом прямоугольного сечения. Конденсатор выполнен в виде плоского змеевика и сопряжен с внутренней поверхностью радиатора, оребрение которого выполнено в виде гофр;
на фиг.2 показана система охлаждения с двумя отдельными тепловыми трубами, испарительные камеры которых выполнены в виде пластин плоскоовального сечения, а их конденсаторы размещены на общем радиаторе;
на фиг.3 представлен вариант системы охлаждения с плоской испарительной камерой прямоугольного сечения. Конденсатор системы выполнен в виде пустотелой пластины с наружным оребрением, внутреннее пространство которой сформировано каналами, соединенными по коллекторной схеме;
на фиг.4 показана система охлаждения, в которой конденсатор тепловой трубы размещен в нижней части радиатора и снабжен теплораспределяющей пластиной, играющей роль теплового интерфейса. Радиатор дополнительно снабжен термосифонами, расположенными вертикально вдоль ребер на расстоянии друг от друга.
Пассивная система охлаждения настольного компьютера включает тепловые трубы, имеющие испарительную камеру 1 и конденсатор 2, соединенные между собой транспортной зоной 3 с образованием замкнутого контура, тепловые интерфейсы 4 и 5, радиатор 6 с вертикальным оребрением 7, выполненный в виде стенки системного блока компьютера. Каждая испарительная камера 1 снабжена зоной испарения 8 и резервуаром 9 для теплоносителя. Транспортная зона 3 выполнена в виде раздельных пустотелых трубопроводов для пара и жидкости с относительно малым диаметром. Испарительная камера 1 (фиг.1) может иметь цилиндрическую форму и снабжаться специальным переходным элементом с плоской контактной поверхностью – тепловым интерфейсом 4. Испарительная камера 1 может быть выполнена также в виде пластин плоскоовального (фиг.2) или прямоугольного (фиг.3, 4) сечения. В случае если размеры контактной поверхности охлаждаемого элемента больше размеров контактной поверхности испарительной камеры, то она также может снабжаться тепловым интерфейсом 4 (фиг.2, 3), выполненным из теплопроводного материала. Тепловым интерфейсом может служить также плоская сторона испарительной камеры 1, если размеры контактной поверхности охлаждаемого элемента соответствуют или меньше размеров плоской стороны испарительной камеры 1.
Конденсатор 2 тепловой трубы может быть выполнен в виде плоского змеевика с необходимым числом витков (фиг.1, 2, 4), который сопрягается с плоской внутренней стороной радиатора 6. Соединение конденсатора 2 с радиатором 6 может выполняться неразъемным, например с помощью пайки или приклеивания (фиг.1.), или разъемным (фиг.2, 4) с использованием прижимных пластин, являющихся элементами теплового интерфейса 5 конденсатора 2. В свою очередь и соединение конденсатора 2 с прижимной пластиной может быть неразъемным, как показано на фиг.4, где конденсатор 2 плотно впрессован в эту пластину.
Конденсатор 2 тепловой трубы может быть выполнен также в виде пустотелых пластин с внутренними каналами, сформированными по коллекторной или змеевиковой схеме. На фиг.3 показана коллекторная схема конденсатора 2, которая характеризуется наличием коллекторов: парового 10 и жидкостного 11 соответственно и параллельного пучка каналов 12, соединяющих коллекторы 10 и 11. Такой конденсатор 2 может быть выполнен из двух металлических листов, один из которых имеет тиснение, формирующее внутренние каналы, а второй является гладким и сопряжен с наружным оребрением 7.
В системах, представленных на фиг.2 и 4, показаны радиаторы 6, которые могут быть изготовлены методами литья, экструзии или механической обработки и имеют базовое основание 13 и ребра 7. Такие радиаторы 6 дополнительно могут быть снабжены двухфазными термосифонами 14, плотно впрессованными в вертикальные пазы основания 13.
На фиг.1 показан радиатор с оребрением 7, выполненным в виде гофр из тонкостенного листового материала. Соединение гофр с основанием 13 может быть клеевым, паяным или сварным и должно обеспечивать хороший механический и тепловой контакт.
Кроме перечисленных элементов конструкции, тепловые трубы содержат внутри определенное количество теплоносителя и фитильную структуру из капиллярно-пористого материала (на рисунках не показано), размещенную в зоне испарения 8 испарительной камеры 1. Величина внутреннего объема резервуара 9 испарительной камеры 1 согласована с остальными объемами тепловой трубы таким образом, чтобы вместить жидкий теплоноситель из конденсатора 2 и парового трубопровода транспортной зоны 3, которые в исходном состоянии могут быть частично или полностью заполнены теплоносителем в зависимости от взаимного положения в пространстве испарительной камеры 1 и конденсатора 2.
Система охлаждения действует следующим образом. При подводе тепловой нагрузки к зоне испарения 8 теплоноситель, находящийся в фитильной структуре, начинает испаряться. Это сопровождается ростом перепада температуры и давления между испаряющей стороной фитильной структуры, соединенной с паровым трубопроводом транспортной зоны 3, и впитывающей стороной, сообщающейся с резервуаром 9. Под действием этой разности давлений происходит вытеснение теплоносителя из парового трубопровода и конденсатора 2 в резервуар 9. В конденсаторе 2 пар конденсируется, отдавая скрытую теплоту парообразования. Фитильная структура, локально размещенная в зоне испарения 8, является тепловым и гидравлическим затвором и обеспечивает циркуляцию теплоносителя в контуре тепловой трубы. Таким образом, тепловая нагрузка от охлаждаемых элементов передается тепловыми трубами на радиатор 6 с наружным оребрением 7 и рассеивается в окружающую среду естественной конвекцией.
Высокая эффективность пассивной системы охлаждения достигается за счет использования тепловых труб, выполненных в виде контура, и выражается в снижении общего термического сопротивления системы при одновременном снижении массогабаритных параметров.
Все варианты пассивной системы охлаждения, соответствующие пунктам 1-8 формулы изобретения, были реализованы в экспериментальной практике лаборатории теплопередающих устройств Института теплофизики УрО РАН. В частности, были разработаны и успешно испытаны:
1. Система охлаждения, выполненная в соответствии с пунктами формулы 1, 2, 4, 7, 8 и включающая контурную тепловую трубу с цилиндрической испарительной камерой 10 мм, снабженную прямоугольным седлом-интерфейсом, транспортные трубопроводы змеевиковый конденсатор, выполненные из трубки 3 мм, и радиатор размерами 400×400×10 мм с оребрением, выполненным в виде гофр. Конструкционный материал тепловой трубы – медь, теплоноситель – вода. Материал радиатора – алюминий. Общий вес системы – 0,85 кг.
Максимальная рассеиваемая тепловая мощность системы составляла 110 Вт. Испытания проводились также в составе системного блока настольного компьютера. Охлаждаемый элемент – центральный процессор AMD Athlon ХР +2500 с частотой 1,8 ГГц. При максимальной производительности процессора и соответствующей этому тепловой мощности около 68 Вт общее термическое сопротивление системы составляло около 0,62 К/Вт.
2.Система охлаждения, выполненная в соответствии с пунктами формулы 1, 3, 5, 8 и включающая контурную тепловую трубу с испарительной камерой в виде пластины размерами 25×60×7 мм, транспортными трубопроводами 3 мм и конденсатор, выполненный в виде пустотелой пластины с наружным оребрением. Конструкционный материал тепловой трубы и радиатора – медь. Теплоноситель – вода. Общий вес системы – 1,6 кг. Максимальная рассеиваемая тепловая мощность системы составляла 120 Вт. Испытания в составе системного блока настольного компьютера проводились с охлаждением центрального процессора Intel Pentium 4 с частотой 2,8 ГГц. При максимальном тепловыделении около 70 Вт общее термическое сопротивление системы составляло около 0,51 К/Вт.
Формула изобретения
1. Пассивная система охлаждения настольного компьютера, включающая тепловые трубы с зонами испарения и конденсации с расположенной между ними транспортной зоной, тепловые интерфейсы, сопряженные с зонами испарения и конденсации, и радиатор с вертикальным оребрением, выполненный в виде стенки системного блока компьютера, к которому присоединены тепловые интерфейсы зон конденсации, отличающаяся тем, что каждая тепловая труба выполнена в виде контура, включающего испарительную камеру с зоной испарения и резервуаром для теплоносителя и конденсатор, включающий зону конденсации, а транспортная зона выполнена в виде раздельных пустотелых трубопроводов для пара и жидкости с малым диаметром, подключенных к испарительной камере и конденсатору.
2. Пассивная система охлаждения по п.1, отличающаяся тем, что испарительная камера имеет цилиндрическую форму.
3. Пассивная система охлаждения по п.1, отличающаяся тем, что испарительная камера имеет форму пластин.
4. Пассивная система охлаждения по п.1, отличающаяся тем, что конденсатор выполнен в виде плоского змеевика.
5. Пассивная система охлаждения по п.1, отличающаяся тем, что конденсатор выполнен в виде пустотелой пластины, имеющей наружное оребрение.
6. Пассивная система охлаждения по п.1, отличающаяся тем, что радиатор дополнительно снабжен двухфазными термосифонами, размещенными вдоль ребер и расположенными на расстоянии друг от друга.
7. Пассивная система охлаждения по п.1, отличающаяся тем, что оребрение радиатора выполнено в виде гофр.
8. Пассивная система охлаждения по п.1, отличающаяся тем, что диаметр трубопроводов для пара и жидкости находится в пределах от 1 до 4 мм.
РИСУНКИ
|
|