|
|
(21), (22) Заявка: 2005139597/28, 20.12.2005
(24) Дата начала отсчета срока действия патента:
20.12.2005
(46) Опубликовано: 20.04.2007
(56) Список документов, цитированных в отчете о поиске:
RU 2239821 С2, 10.11.2004. RU 2079835 C1, 20.05.1997. RU 2185614 C1, 20.07.2002. RU 2150105 C1, 27.05.2000. US 2005121618 A1, 09.06.2005. WO 0003237 A1, 20.01.2000. FR 2734638 A1, 29.11.1996. JP 1010158A, 13.01.1989.
Адрес для переписки:
129336, Москва, Анадырский пр-д, 55, кв.65, А.И. Обручкову
|
(72) Автор(ы):
Обручков Александр Иванович (RU)
(73) Патентообладатель(и):
Обручков Александр Иванович (RU)
|
(54) СПОСОБ И УСТРОЙСТВО ДЛЯ КОНТРОЛЯ СОДЕРЖИМОГО КОНТЕЙНЕРОВ
(57) Реферат:
Использование: для контроля содержимого контейнеров. Сущность: заключается в том, что контейнер последовательно прокатывают сначала для обнаружения радиоактивных и спонтанно делящихся веществ между спектрометрическими детекторами гамма-излучения и детекторами медленных нейтронов, причем детекторы, расположенные с боков контейнера, сканируют его боковые грани и по энергии гамма-излучения судят о наличии радиоактивного изотопа, а по потоку нейтронов судят о присутствии спонтанно делящихся тяжелых изотопов, затем контейнер прокатывают между двумя расположенными с боков сканирующими импульсными нейтронными генераторами в экранах-коллиматорах, где формируют поочередно облучающие потоки: поток медленных и быстрых нейтронов, поток с преобладанием тепловых нейтронов и поток гамма-излучения, заранее установленной энергии; результат взаимодействия излучения с содержимым контейнера регистрируют со стороны всех четырех граней контейнера и выделяют отдельно на временных и амплитудных анализаторах признаки для элементов, однозначно характеризующие те или иные запрещенные для провоза материалы; в конце прокатывают контейнер мимо гамма-спектрометрических детекторов, расположенных со стороны его всех четырех граней, причем с боков они сканируют всю поверхность и по характерным энергетическим линиям судят о наличии изотопов, образовавшихся в результате нейтронной активации элементов, содержащихся в материале опасных грузов; всю регистрируемую информацию отдельно квантуют по траектории перемещения контейнера мимо детекторов с привязкой к ее началу. Технический результат: повышение качества и производительности контроля содержимого контейнеров. 2 н.п. ф-лы, 5 ил.
Изобретение относится к области радиационной техники и предназначено для контроля состава и размещения груза в закрытых контейнерах в морских и речных портах, а также на железнодорожных станциях, где происходит загрузка и выгрузка контейнеров. Изобретение предназначено для исключения несанкционированного провоза запрещенных материалов и контрабандных товаров (радиоактивные и делящиеся материалы, оружие и боеприпасы и др.).
Известны способы контроля грузов с использованием рентгеновской интроскопии, когда толщина просвечиваемого объема не превышает 50 см и если груз состоит из материала малой плотности, внутри которого могут располагаться более плотные предметы. Контролируемые морские контейнеры имеют большую ширину, высоту и длину. Корпус морского контейнера изготовляется из рифленой стали толщиной 4-5 мм, которая будет поглощать основную часть рентгеновского излучения.
Известен способ контроля /Патент RU 2022299 С1/ в закрытом крупногабаритном объеме путем измерения интенсивности излучения в совокупности контрольных точек, геометрически жестко привязанных к поверхности контролируемого объекта.
Предлагаемый способ позволяет контролировать в закрытом объеме только расположение и количество веществ, испускающих жесткое излучение. Такой способ контроля может распространяться только для обнаружения радиоактивных веществ. Для контроля нерадиоактивных веществ он неприемлем.
В качестве прототипа способа рассматривается патент RU №2239821 С1, где контролируемый объем облучают с двух противоположных сторон поочередно импульсным потоком быстрых нейтронов с отдельной регистрацией излучения в проходящей через объем геометрии, и в геометрии рассеянного излучения в период нейтронных импульсов и в промежутках между ними. После окончания облучения всего объема повторяют регистрацию энергетического спектра излучения изотопов, образованных в результате нейтронной активации. Полученные данные сопоставляют с известными значениями нейтронных параметров различных сред, а также по положению аналитических линий неупругого рассеяния, радиационного захвата и радиоактивных изотопов судят о составе груза и его размещении в закрытом объеме.
Практическое применение известного способа ограничивается относительно низкой производительностью измерений, когда для оценки наличия радиоактивности или наличия радиоактивных изотопов необходимо выполнять несколько повторных измерений контролируемого объекта.
С помощью потока быстрых нейтронов, испускаемых импульсным генератором, можно оценить распределение замедляющих свойств материала, загруженного в контейнер, выражаемое в изменчивости вновь образовавшегося потока тепловых нейтронов. Возможно повышение информативности о составе контролируемого объема будет достигаться, если вести облучение совместно тепловыми и быстрыми нейтронами и отдельно быстрыми, а затем путем вычитания полученных эффектов из первого облучения оценить эффект воздействия тепловых нейтронов.
При контроле большегрузных автомобилей, загруженных морскими контейнерами, одним из ограничений является радиационная опасность, воздействию которой подвергается водитель транспортного средства. Для исключения этой опасности водителю необходимо покинуть транспортное средство и уйти в защитное укрытие. Это дополнительно снижает производительность контроля.
Расположение контрольного пункта на поверхности земли (совмещение с весовой) при работающем генераторе нейтронов за счет рассеяния нейтронов и взаимодействия с окружающей средой создается дополнительный фон, вносящий искажения в результаты контроля.
При контроле контейнера, находящегося уже на транспортном средстве, исключается регистрация рассеянного излучения со стороны днища контейнера и тем самым снижается качество контроля.
Задачей предлагаемого способа является устранение отмеченных недостатков и обеспечение высокопроизводительного контроля состава грузов в контейнера.
Задача может быть решена путем установки контролируемого контейнера /МК/ на ролики, закрепленные на раме. Эта рама установлена на эстакаде, приподнятой над поверхностью земли, и контейнер, установленный с помощью портального крана, катится по роликам с постоянной скоростью под действием кулаков, перемещаемых цепной передачей. Двигающийся контейнер проходит последовательно три неподвижные рамки с детекторами, регистрирующими: естественное и спонтанное нейтронное и гамма-излучение, а также излучение, образующееся в результате взаимодействия быстрых и тепловых нейтронов с материалом, заполняющим контейнер, и гамма-излучение, испускаемое изотопами элементов в результате нейтронной активации. Детекторы располагают со стороны четырех граней контейнера: снизу (под днищем) и сверху (над крышей), они установлены неподвижно по центру, а с двух боковых граней установлены на площадках совместно с импульсными нейтронными генераторами (ИНГ). Эту площадку с помощью электродвигателя перемещают по вертикали вверх-вниз и тем самым обеспечивают сканирование со стороны двух противоположных боковых граней контейнера. ИНГ устанавливают в защитном экране-коллиматоре, перед выходным отверстием которого периодически устанавливают или дополнительные замедлители, или поглотители тепловых нейтронов, или конверторы нейтронов в гамма-излучение. Для каждой установки отдельно регистрируют поток рассеянных и прошедших через контейнер нейтронов и спектр гамма-квантов. По величине потока нейтронов, по интенсивности и по энергетическому положению линий гамма-излучения, по временному распределению их после каждого нейтронного импульса, а также с учетом пространственной привязки к контейнеру судят о составе содержимого контейнера и его расположении внутри его.
Известно устройство патент RU №2239821 С1, где реализуется способ контроля в большегрузных объемах. Оно включает импульсные генераторы быстрых нейтронов /ИНГ/ в защитных экранах – коллиматорах. Они установлены совместно с детекторами тепловых и быстрых нейтронов и гамма-излучения на платформах, одновременно перемещаемых вертикально по боковым стойкам портальной рамы, движущейся вдоль контролируемого объема горизонтально по направляющим, а на горизонтальной перекладине портальной рамы с двух сторон от ее центра дополнительно установлены неподвижно детекторы тепловых и быстрых нейтронов.
В таком устройстве отсутствует контроль содержимого на днище объема, где практически не возможно выполнять сканирование и рама с колесами транспортного средства могут являться достаточно существенным экраном для нейтронов генератора и для гамма-излучения. Известное устройство располагается непосредственно на поверхности земли, где присутствует значительный поток рассеянного излучения. Он и повышает фон при регистрации нейтронов и гамма-излучения от контейнера, что снижает точность оценок и повышает величину порога обнаружения характерных элементов.
Устройство, реализующее предлагаемый способ, содержит ролики с возможностью перемещения по ним контролируемого контейнера в фиксированной геометрии. Ролики с не большим уклоном закреплены на несущей раме, которая установлена на эстакаде, поднятой над окружающими предметами и над уровнем земли. На несущей раме располагаются в трех местах неподвижно рамки с закрепленными на них облучающими и измерительными системами.
На первой раме сверху и снизу расположены неподвижно гамма-спектрометрические и нейтронные детекторы, с боков такие же детекторы с возможностью периодического их перемещения вверх, вниз и тем самым осуществляют сканирование движущегося контейнера. На следующей рамке, сверху и снизу располагаются неподвижно такие же детекторы. Со стороны боковых граней контейнера расположены такие же детекторы и ИНГ в защитных экранах-коллиматорах. Из коллимационных отверстий испускаются нейтроны с широким спектром энергий: от тепловой энергии до 14.3 МэВ и направлены они внутрь контейнера. На каждой платформе с двух сторон от защитного экрана коллиматора установлены спектрометрические гамма-детекторы и детекторы тепловых и медленных нейтронов. В прорези экрана-коллиматора установлен вращающийся диск с отверстиями, куда вставлены замедлитель в сочетании с поглотителем тепловых нейтронов и периодически перекрывающий коллимационное отверстие и тем самым периодически создает: поток медленных и быстрых нейтронов (без замедлителя и без поглотителя), поток с преобладанием тепловых нейтронов (только замедлитель без поглотителя) и поток гамма-излучения, заранее установленной энергии (замедлитель с поглотителем). Третья измерительная система установлена на расстоянии, зависящем от периода полураспада изотопов, образованных в результате нейтронной активации. Эта измерительная система содержит сканирующие с боков гамма-спектрометрические детекторы и такие же неподвижные детекторы сверху и снизу. Для выделения присутствия изотопов с различными периодами полураспада возможна установка нескольких таких измерительных рамок.
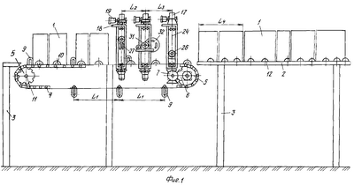
На фиг.1 приведена общая схема контрольной станции контейнеров на пирсах морских и речных портов, на железной дороге при загрузке и выгрузке контейнеров. На фиг.2 и 3 приведена конструктивная схема расположения основных узлов и элементов для измерений на контрольной станции грузовых контейнеров. На фиг.4 и 5 детально приведена конструктивная схема расположения импульсного нейтронного генератора в защитном экране-коллиматоре и принцип его работы, когда периодически им испускаются совместно тепловые, медленные и быстрые нейтроны, когда только медленные и быстрые нейтроны и присутствует гамма-излучение. При испускании в основном быстрых нейтронов ИНГом за счет конвертирования тепловых возможно испускание с преобладанием коллимированного потока монохромного гамма-излучением заданной энергией.
Устройство контроля контейнеров 1 содержит несущую раму 2, приподнятую над поверхностью земли на стойках 3 и удаленную от окружающих предметов. На раме 2 установлены две замкнутые цепные передачи (цепи) 4, совершающие поступательные перемещения с помощью звездочек 5, которые вращаются через редуктор 6 от двигателя 7. На определенном расстоянии L1, превышающем длину контейнера, цепи жестко связаны тягами 8, на которых закреплены кулаки 9 с возможностью их поворота, если на них воздействует сила (вес) вертикально вниз (на фиг. это не показано). Для выполнения контроля контейнер 1 устанавливают на ролики 10 перед первой измерительной рамкой. Можно их устанавливать последовательно и больше, количество будет определяться длиной цепи 4 и мощностью силового двигателя 7. Каждый контейнеры, прошедший контроль, выталкивается кулаками 9 на накопительную площадку с роликовым конвейером 12. Синхронное перемещение цепей обеспечивается не только связующими тягами 8, но и звездочками 5, жестко закрепленными с двух сторон на валах 11. Рама 2 и закрепленные на ней ролики 10 имеют слабый наклон (2-3°), с подъемом в сторону перемещения, чтобы контейнеры 1 принудительно перемещались с постоянной скоростью в процессе выполнении измерений.
Измерительные датчики установлены на трех вертикальных рамах 13, 14, 15 и охватывают своей зоной чувствительности все четыре грани контролируемого контейнера 1. Наверху (над крышей) и внизу (под днищем измеряемого контейнера) на всех трех измерительных рамках 13, 14 и 15 крепятся неподвижно однотипные спектрометрические гамма-детекторы 17 в экранах-коллиматорах и детекторы быстрых и тепловых нейтронов 18. Наверху каждой рамки, по центру, установлена площадка (на фиг. она не выделена), на которой закреплен электродвигатель 19, через зубчатое колесо 20 связанный с зубчатыми колесами на барабанах 21 и 22 так, чтобы они поворачивались в разные стороны при работе электродвигателя 19. Управление двигателем 19 (его реверсирование) производится концевым выключателем 23. На барабанах 21 и 22 нанесены двухзаходные ручейки для укладки грузоподъемных тросов 24, которые поднимают и опускают грузонесущие площадки 25, на которых смонтированы коллимированные гамма-спектрометрические детекторы 26 и детекторы быстрых и тепловых нейтронов 27. Площадки 25 соединяются с помощью тросов 24 с барабанами 21 и 22 через систему блоков 28.
На грузонесущей площадке 25 измерительной рамки 14 расположены: два импульсных нейтронных генератора (ИНГ) 30 (со стороны двух боковых граней контейнера 1) в защитных экранах-коллиматорах 31 (см. фиг.2 и 3). На каждой площадке 25 установлен диск 32. Диск 32 своей краевой частью заходит в щель, прорезанную в экране-коллиматоре 31. На диске 32 сделаны прорези 35 по окружности, шириной соответствующие диаметру выходного коллимационного отверстия экрана 31. Диск 32 может вращаться с помощью фрикционной, зубчатой или ременной передачи.
На фиг.4 и фиг.5 показан пример зубчатой передачи; зубья 34 нанесены на обод диска 32 и на шестерню 34, связанную с электродвигателем 33. Прорези 35 на диске 32 могут быть заполнены или оставаться пустыми. В последнем случае из коллимационного отверстия будут выходить нейтроны с тепловой энергией и выше (до 14,3 МэВ). Если вставить в прорезь 35 дополнительный замедлитель, то на выходе получим в основном поток тепловых нейтронов, При установке в прорези 35 поглотителя тепловых нейтронов, как, например, бор-10, гадолиний-157 или других элементов, то в этом случае получаем поток практически монохроматических гамма-квантов, здесь могут присутствовать медленные и быстрые нейтроны. Гамма-кванты, взаимодействуя с материалом содержимого контейнера, могут характеризовать распределение плотности и Zэф по его объему.
В качестве конверторов здесь могут быть использованы ядра следующих элементов, взаимодействующие с тепловыми нейтронами:
10В(n, )11В; а=3838b; Е =0,478 МэВ (1965)
113Cd(n, )114Cd; a=20000b; E =5,82 МэВ (45,2);
1,364 МэВ (105,2); 0,651 МэВ (295,5); 0,559 МэВ (1546,6).
149Sm (n, ) 150Sm; a=40800b; E =1,170 МэВ (103,4);
0,738 МэВ (217); 0,439 МэВ (1071,8); 0,334 МэВ (1948,5).
157Gd (n, ) 158Gd; a=242000b; Е =6,750 МэВ (197,6).
В скобках указана вероятность регистрации гамма-квантов (равная произведению интенсивности излучения и макроскопического сечения).
Здесь использованы данные из работ (А.И.Алиев и другие. Ядерно-физические константы для нейтронного активационного анализа. Справочник. М.: Атомиздат. 1969 г. с.9, 30, 37.),(Е.М.Филиппов. Ядерная разведка полезных ископаемых. Справочник. «Наукова думка». 1978 г., с.520, 523, 524.). Направленность потока гамма-излучения обеспечивается свинцовым коллиматором 36. Синхронизация и распределение результатов измерений осуществляется с помощью фотореле 37. Радиационная опасность снижается введением заглушки 38 со стороны тыльной части нейтронного генератора 30.
Измерительная рама 15 предназначена для спектрометрической регистрации гамма-излучения изотопов, образовавшихся в результате нейтронной активации материала, находящегося внутри контейнера 1. На ней расположены такие же спектрометрические гамма-детекторы 17 и 26 в экранах-коллиматорах, но отсутствуют детекторы нейтронов18 или 27 и ИНГ 30. Включение и выключение регистрации детекторами и датчиками на портальных измерительных рамках 13, 14 и 15 осуществляется движущимся по роликам 10 торцом контейнера 1, замыкающего концевые выключатели 16, 29 и 39.
Осуществление контроля содержимого контейнера и работа предлагаемого устройства практически реализуется в следующей последовательности. Контейнер 1 ставится с помощью портального или мостового крана или с помощью специальных контейнерных погрузчиков на несущую раму 2, крепящуюся на стойках 3 на высоте, позволяющей снизить величину фона от рассеянного излучения и миниминизировать радиационную опасность в зоне контроля контейнеров. Контейнер 1 попадает на ролики 10 перед измерительной рамкой 13. К контейнеру 1 подводятся подпружиненные кулаки 9 с помощью двух замкнутых транспортных цепей 4 при вращении звездочек 5 через редуктор 6 от электродвигателя 7. Транспортные цепи 4 через расстояние L1 соединены между собой жестко тягами 8, на которых установлены подпружиненные кулаки 9. Перед началом контроля части или всех выгружаемых или загружаемых контейнеров включается электродвигатель 7 и остается на весь период контроля включенным. Вращение от двигателя 7 через редуктор 6 передается звездочкам 5, которые соединены с помощью валов 11 между собой и тем самым обеспечивают синхронное перемещение замкнутых транспортных цепей 4 с двух сторон от контейнера 1. Длина участка, куда загружаются контейнеры для контроля, определяется экспрессностью контроля, точностью оценки содержимого, интенсивностью загрузки или выгрузки и другими факторами. На этом участке могут последовательно ставиться один, два и больше контейнеров, которые могут непрерывно подаваться в зону измерений.
Здесь возможен случай, когда он устанавливается прямо на движущие кулаки 9. При этом за счет пружин кулаки 9 отклоняются и проскальзывают под днищем контейнера 1, а следующие кулаки 9 упираются в заднюю его стенку и начинают его перемещать в зону контроля, проталкивая через измерительные рамки 13, 14 и 15. После этого контейнер выталкивают на роликовый конвейер 12, который установлен с небольшим уклоном, исключающим их возврат в зону контроля. Следующий проконтролированный контейнер проталкивает предыдущий дальше по роликам 12. Длина участка накопления таких контейнеров будет определяться интенсивностью дальнейшей их перегрузки.
Контроль содержимого контейнера 1 начинается с оценки присутствия радиоактивных веществ, испускающих гамма- и нейтронное излучение. Гамма-излучение может обуславливаться присутствием естественных радиоактивных элементов (урана, тория, актиноурана, находящихся в равновесии со своими продуктами распада, калия и других элементов), а также искусственно полученным изотопами (цезий-137, кобальт-80 и другими). Нейтронное излучение может определяться присутствием ампульных источников (полоний – или плутоний – бериллиевыми, калифорнием-252 и другими трансурановыми элементами) и спонтанно распадающегося урана-238.
Передний край контейнера 1 перемещается и замыкает концевой выключатель 16, который включает регистрирующую аппаратуру, имеющую в своем составе неподвижные коллимированные гамма-детекторы 17 и детекторы нейтронов 18. Одновременно включается двигатель 19, вращающий центральное зубчатое колесо 20, которое передает вращение барабанам 21 и 22. Эти барабаны вращаются в разные стороны и намотанный на одном из них трос 24 сматывается, соединенный через систему блоков 28 с площадкой 25, а на другой наматывается и так осуществляет подъем площадки, когда достигается верхнее или нижнее положение и замыкается концевой выключатель 23. При этом электродвигатель 19 реверсируется. На площадке 25 находятся коллимированные гамма- и нейтронные детекторы 26 и 27, которые включаются одновременно с детекторами 17 и 18. Поток регистрируемой информации квантуется по времени. С учетом постоянства скорости перемещения самого контейнера 1 мимо измерительной рамки 13 и постоянства скорости подъема и спуска площадки 25 результаты измерений пространственно привязываются к контейнеру. Вся регистрируемая информация поступает в отдельные ячейки памяти компьютера, где она анализируется и представляется в виде отдельных схематических карт распределений контролируемых параметров. В качестве детектора гамма-излучения целесообразно использовать спектрометрический вариант или на основе кристалла NaJ (TI), или ОЧГ (особо чистого германия). По регистрируемому энергетическому спектру можно идентифицировать конкретно радиоактивный изотоп, по соотношению пика полного поглощения и интенсивности комптоновского рассеяния можно качественно судить о расположении источника гамма-излучения в объеме контейнера. По пространственному распределению интенсивности гамма-излучения и потока нейтронов можно судить об объеме источников излучения.
Контейнер перемещается по роликам 10 и замыкает контакты концевого выключателя 29 и тем самым включаются в процесс контроля измерительные датчики на рамке 14. С помощью этой рамки осуществляется принудительное облучение содержимого контейнера периодически потоком тепловых, медленных и быстрых нейтронов, а также монохроматическим потоком гамма-излучения. Рамка 14 находится на расстоянии L2 от рамки 13.
На таком расстоянии должно исключаться влияние работающего импульсного нейтронного генератора (ИНГ) 30, установленного в защитном экране-коллиматоре 31, на все детекторы, находящиеся на рамке 13. Диск 32 (см. фиг.4 и 5) вращается электродвигателем 33 через зубчатое колесо 34. Начало движения площадки 25, регистрации всей информации в памяти компьютера, вращение диска 32 осуществляется также от замыкания концевого выключателя 29. На вращающем диске 32 расположены прорези 35, шириной соответствующие диаметру или шире коллимационного отверстия 36 экрана 31. Длина прорези 35 определяется длительностью облучения и скоростью вращения диска 32. В отверстия 35 вставляются дополнительные экраны-поглотители или конверторы потока нейтронов в поток гамма-квантов. С помощью поглотителей разделяют поток нейтронов: на сумму только медленных и быстрых и на сумму тепловых, медленных и быстрых. Одновременно с разделением облучающего потока нейтронов поглотитель сам может испускать монохроматический поток гамма-квантов, если использовать в качестве таких поглотителей бор (0.478 МэВ) или гадолиний (6.750 МэВ), здесь поглотитель является одновременно и конвертором. Вращение диска 32 можно синхронизовать, если работать в низкочастотном режиме и с регулируемой длительностью генератора. Для этих целей можно использовать ИНГ с газонаполненной трубкой. Генератор принудительно можно выключать с помощью концевого выключателя или фотореле 37 и с его помощью можно разделять регистрируемую информацию и отдельно хранить в памяти компьютера.
Датчики на рамке 14 анализируют содержимое в контейнере по следующим ядерно-физическим эффектам:
– неупругое рассеяние быстрых нейтронов, поочередно испускаемых импульсными генераторами, по бокам контейнера с регистрацией спектров гамма-излучения на отражение и на просвет;
– радиационный захват тепловых нейтронов, частично сформированных в экране-коллиматоре и в среде, заполняющей контейнер, с поочередной регистрацией спектров гамма-излучения в промежутках между импульсами;
– регистрация спектров гамма-излучения, когда коллимационное отверстие перекрывается поглотителем-конвертором с выделением монохроматической линии в геометрии на просвет и на рассеяние;
– временное распределение медленных нейтронов после каждого нейтронного импульса;
– регистрация нейтронов после каждого импульса жестких гамма-квантов.
По спектрам гамма-излучения неупругого рассеяния быстрых нейтронов можно определять присутствие следующих элементов, если выделять энергетические линии:
4,43 МэВ – углерод С;
1,63 и 0,44 МэВ – натрий Na;
1,37 МэВ – магний Mg;
1,81 МэВ – алюминий Al;
1,78 МэВ – кремний Si;
2,24 МэВ – сера S;
2,62 и 1,06 МэВ – свинец Pb.
По спектрам гамма-излучения радиационного захвата тепловых нейтронов можно определять присутствие следующих элементов, если выделять энергетические линии:
2,223 МэВ – водород Н;
2,75 МэВ – натрий Na;
5,42 МэВ – сера S;
7,64 МэВ – железо Fe;
6,71, 6,49 МэВ – кобальт Со;
5,82, 1,36 и 0,559 МэВ – кадмий Cd;
8,999, 8,533 МэВ – никель Ni;
0,478 МэВ – бор В.
По гамма-излучению радиационного захвата хорошо будет выделяться присутствие редкоземельных элементов.
По соотношению гамма-излучения в пике полного поглощения и в области комптоновского поглощения судят о плотности материала в контейнере.
По временному распределению медленных нейтронов оценивают присутствие делящихся материалов (плутоний – 239; уран – 235 и другие).
По величине интенсивности гамма-излучения каждой выделенной линии можно количественно оценить массовую долю элемента. Применяя наносекундную, регистрирующую электронику можно оценить пространственное положение в объеме контейнера этих элементов.
По истечении приблизительно 1500 мкс, после нейтронного импульса, когда тепловые нейтроны практически поглотятся, детекторы гамма-излучения будут регистрировать энергетический спектр короткоживущих радиоактивных изотопов, имеющих T1/2 в пределах до 30 с, накапливающихся в результате активации в пределах интервала квантования по траектории сканирования. При этом может определяться присутствие следующих элементов:
– кислород О по изотопу 16N, Т1/2=7,4 с; по линии 6,13 МэВ
– фтор F и натрий Na по изотопу 20F, T1/2=11,36 с; по линии 1,63 МэВ
– сера S и хлор Cl по изотопу 34Р, Т1/2=12,4 с; по линии 2,13 МэВ
– хлор Cl по линии изомера 38mCl, T1/2=0,74 с; по линии 0,66 МэВ.
Когда окно 35 на диске 32 с материалом, имеющим высокое сечение поглощение тепловых нейтронов, перекрывает коллимационное отверстие в экране 31, на выходе имеем монохроматический источник гамма-излучения заданной энергии. Регистрация этой линии в геометрии «на просвет» и «на отражение» позволит разделять состав содержимого контейнера по Zэфф (эффективный атомный номер) среды. Таким путем могут быть выделены, например, свинцовые экраны, сильно поглощающие гамма-излучение и где могут быть спрятаны источники излучения. Среда с низким Zэфф. характерна для водородосодержащих материалов будет выражаться интенсивным комптоновским рассеянием. При установке в окне 35 поглотителя из гадолиния, испускающего радиационную линию 6,750 МэВ, можно по фотоядерной реакции обнаруживать присутствие бериллия Be и дейтерия D. При этом регистрируем поток образующихся быстрых нейтронов. Нейтроны же от генератора в основном поглотятся при конвертировании или же будет иметь тепловую энергию и при детектировании быстрых фотоядерных нейтронов выделяются экраном из кадмия.
Присутствие делящихся веществ в контейнере могут обнаруживаться, если вести регистрацию временного распределения быстрых нейтронов после каждого нейтронного импульса.
При этом тепловые нейтроны, сформированные частично в экране-коллиматоре 31 и в материале содержимого контейнера, будут вызывать деление ядер урана-235, плутония и других элементов. Таким образом осуществляется контроль за несанкционированный провоз делящихся материалов.
Движущийся контейнер1 достигает путевого выключателя 39 и замыкает его контакты. На рамке 15 включается электродвигатель 19. Одновременно с включением электродвигателя 19 включатся по отдельности регистрация гамма-спектров на неподвижных детекторах 17, сверху и снизу и сканирующих детекторов 26 с боков контейнера 1. Рамка 15 находится на расстоянии L3, на котором работающий ИНГ 30 на рамке 14 не должен также оказывать существенное влияние на результаты регистрации. В качестве детекторов желательно использовать ОЧГ, регистрирующих гамма-излучения изотопов, образовавшихся в результате активации элементов быстрыми и тепловыми нейтронами. Период полураспада образовавшихся изотопов, наличие которых будут определяться здесь, от 30 с и выше, причем временной предел определяется также содержанием активируемых ядер и сечением активации.
Прекращение регистрации детекторами, расположенными на рамках 13, 14 и 15, осуществляется или по таймеру при условии постоянства скорости перемещения контейнера мимо рамок и площадки 25, или по размыканию контактов на выключателях 16, 29 и 39.
При дальнейшем движении контейнер 1 с помощью цепей 4 и кулаков 9 выталкивается на роликовый конвейер 12, где он может протолкнуть предыдущий контейнер или остаться на месте, и в дальнейшем перегружен для транспортировки. Количество контейнеров, накапливаемых на роликовом транспортере 12, будет определяться скоростью их дальнейшей перегрузки.
Таким образом для каждого контейнера, прошедшего контроль в памяти регистрирующего устройства (компьютера), должна остаться следующая информация:
– карты-схемы двух боковых стенок распределения потока нейтронов и гамма-излучения и два профиля потока нейтронов и гамма-излучения по крыше и по днищу контейнера 1, полученных по рамке 13 (пассивное излучение);
– карты-схемы двух боковых стенок контейнера распределения потока рассеянных нейтронов и потока нейтронов, прошедших сквозь содержимое контейнера от ИНГа, и дополнительно два профиля по крыше и днищу контейнера;
– карты-схемы двух боковых стенок распределения интенсивности рассеянного и прошедшего насквозь гамма-излучения конвертируемой линии (распределение плотности) и два профиля распределения по днищу крыше;
– четыре пары карт-схем распределения содержания элементов, надежно определяемых по гамма-спектрам неупругого рассеяния быстрых нейтронов, радиационного захвата тепловых нейтронов, изотопов при активации быстрыми и тепловыми нейтронами к ним профиля распределения по днищу и кровле контейнера;
– карты-схемы распределения делящихся материалов, дейтерия и бериллия внутри контейнера.
При использовании быстрой электроники (наноэлектроники) и предложенных геометрических условий измерений можно послойно оценивать распределения грузов внутри контейнера, содержание основных элементов в отдельных загруженных предметах и дать заключение о присутствии веществ, запрещенных для провоза в контейнерах.
Прямой экономический эффект оценить здесь нельзя, но применение предлагаемого способа и устройства при таможенном досмотре и на пограничных пропускных пунктах позволит исключить несанкционированный ввоз и вывоз запрещенных товаров и материалов.
Формула изобретения
1. Способ для контроля содержимого контейнеров, заключающийся в том, что объем контейнера облучают с двух противоположных сторон поочередно импульсным потоком быстрых нейтронов с отдельной регистрацией излучения в проходящей через объем геометрии, и в геометрии рассеянного излучения в период нейтронных импульсов, и в промежутках между ними после окончания облучения всего объема, повторяют регистрацию энергетического спектра излучения изотопов, образованных в результате нейтронной активации, а полученные данные сопоставляют с известными значениями нейтронных параметров различных сред, а также по положению аналитических линий неупругого рассеяния, радиационного захвата и радиоактивных изотопов судят о составе груза и его размещении в закрытом объеме, отличающийся тем, что контейнер последовательно прокатывают сначала для обнаружения радиоактивных и спонтанно делящихся веществ между спектрометрическими детекторами гамма-излучения и детекторами медленных нейтронов, причем детекторы, расположенные с боков контейнера, сканируют его боковые грани и по энергии гамма-излучения судят о наличии радиоактивного изотопа, а по потоку нейтронов судят о присутствии спонтанно делящихся тяжелых изотопов, затем контейнер прокатывают между двумя расположенными с боков сканирующими импульсными нейтронными генераторами в экранах-коллиматорах, где формируют поочередно облучающие потоки: поток медленных и быстрых нейтронов, поток с преобладанием тепловых нейтронов и поток гамма-излучения, заранее установленной энергии; результат взаимодействия излучения с содержимым контейнера регистрируют со стороны всех четырех граней контейнера и выделяют отдельно на временных и амплитудных анализаторах признаки для элементов, однозначно характеризующие те или иные запрещенные для провоза материалы; в конце прокатывают контейнер мимо гамма-спектрометрических детекторов, расположенных со стороны его всех четырех граней, причем с боков они сканируют всю поверхность и по характерным энергетическим линиям судят о наличии изотопов, образовавшихся в результате нейтронной активации элементов, содержащихся в материале опасных грузов; всю регистрируемую информацию отдельно квантуют по траектории перемещения контейнера мимо детекторов с привязкой к ее началу.
2. Устройство для контроля содержимого контейнеров, включающее блоки детектирования гамма- и нейтронного излучения, датчик присутствия контейнера в зоне контроля, контроллер обработки информации, блоки питания, пульт управления и компьютер, импульсные генераторы быстрых нейтронов в защитных экранах-коллиматорах, установленные вместе с детекторами тепловых и быстрых нейтронов, облучающие объем контейнера с двух противоположных сторон поочередно импульсным потоком быстрых нейтронов с отдельной регистрацией излучения в проходящей через объем геометрии и в геометрии рассеянного излучения, а также гамма-спектрометрические детекторы на платформах, одновременно перемещаемых вертикально с двух противоположных сторон по боковым стойкам портальной рамы, отличающееся тем, что устройство установлено на эстакаде в удалении от обслуживающего персонала и рассеивающих предметов, содержит силовой движитель, входящий в зацепление с контейнером и перемещающий его мимо портальных, измерительных, неподвижных рамок с детекторами и импульсными нейтронными генераторами в экранах-коллиматорах, имеющими прорези, в которые входит вращающийся диск с отверстиями, куда вставлены замедлитель в сочетании с поглотителем тепловых нейтронов и периодически перекрывающий коллимационное отверстие и тем самым периодически создающий поток гамма-излучения радиационного захвата (замедлитель с поглотителем), поток с преобладанием тепловых нейтронов (только замедлитель без поглотителя), поток медленных и быстрых нейтронов (без замедлителя и без поглотителя).
РИСУНКИ
|
|