|
|
(21), (22) Заявка: 2005124568/28, 02.08.2005
(24) Дата начала отсчета срока действия патента:
02.08.2005
(46) Опубликовано: 20.04.2007
(56) Список документов, цитированных в отчете о поиске:
SU 1038080 A1 30.08.1983. SU 1793321 A1 07.02.1993. RU 2111476 C1 20.05.1998. US 3906781 23.09.1975.
Адрес для переписки:
105005, Москва, ул. Ладожская, 10/12, кв.64, М.Ю. Сотскому
|
(72) Автор(ы):
Васильев Андрей Юрьевич (RU), Жариков Александр Владимирович (RU), Ручко Александр Михайлович (RU), Сотский Михаил Юрьевич (RU), Сотский Юрий Михайлович (RU)
(73) Патентообладатель(и):
Научно-исследовательский институт специального машиностроения Московского государственного университета им. Н.Э. Баумана (RU)
|
(54) УСТРОЙСТВО КОНТАКТНОЙ СВЯЗИ, УСТАНОВКА И СПОСОБ ПРОВЕДЕНИЯ ИСПЫТАНИЙ С НЕПРЕРЫВНОЙ РЕГИСТРАЦИЕЙ ПАРАМЕТРОВ КОНЕЧНОЙ БАЛЛИСТИКИ МЕТАЕМЫХ ТЕЛ
(57) Реферат:
Изобретение относится к испытательной технике. Устройство контактной связи, предназначенное для электрического соединения бортового оборудования метаемого тела с наземной аппаратурой, состоит из проводника для подключения к бортовому оборудованию, закрепленного в изоляторе для установки в метаемом теле, и токосъемника для закрепления перед преградой и подключенного к проводу канала электрической связи. Максимальный поперечный размер проводника в направлении, перпендикулярном продольной оси изолятора, выбран из условия обеспечения его контакта с токосъемником, а минимальное удаление обращенной к проводнику поверхности токосъемника от этой же оси выбрано из условия предотвращения контакта с метаемым телом. Установка состоит из устройства контактной связи, содержащего закрепленный в изоляторе проводник, предназначенный для размещения на метаемом теле и токосъемник, предназначенный для закрепления перед преградой. Сущность: перед метанием тела токосъемник устройства контактной связи закрепляют перед преградой и подключают к наземной аппаратуре. Проводник подключают к бортовому оборудованию метаемого тела, а изолятор скрепляют с метаемым телом, которое размещают в метательном устройстве. Производят метание тела со скрепленными с ним изолятором и проводником до достижения телом требуемой скорости встречи с преградой, обеспечивают требуемый период поддержания режима контакта проводника с токосъемником и непрерывно регистрируют параметры конечной баллистики метаемого тела в преграде во всем периоде режима контакта. Технический результат: повышение информативности испытания. 3 н. и 12 з.п. ф-лы, 19 ил.
Изобретение относится к области технологий обеспечения контактной связи наземной аппаратуры с бортовыми измерительными преобразователями (датчиками) или элементами аппаратуры управления, размещенными в метаемом теле. Устройства контактной связи применяются для передачи измерительной информации от датчиков, размещаемых, например, на метаемых с использованием поддонов стержнях к регистрирующей аппаратуре (Динамика удара: Пер. с англ. / Зукас Дж., Николас Т., Свифт Х.Ф., и др. – Мир, 1985. – 296 с., ил., стр.130…132, рис.3.14…3.17). При скоростях метания, составляющих сотни м/с, и сравнительно малых перемещениях метаемого тела в процессе его проникания в преграду информация о поведении длинного стержня в исследуемом ударном процессе в виде зависимости деформаций стержня от времени (истории изменения величин деформаций, испытываемых метаемым телом в процессе соударения с преградой) передается от датчиков деформации с применением контактной связи к регистратору наземной аппаратуры непрерывно и без искажения в течение времени существования электрической цепи, т.е. до момента окончания периода поддержания режима замыкания контактных пластин поддона на неподвижные острия токосъемников.
Известно также устройство для исследования процессов резания (RU 1038080, В23В 25/06, 18.02.82), содержащее бортовую измерительную систему, включающую акселерометр, размещенный в метаемом теле, контактную спицу, электрически подключенную к нему, и контактный токосъемник, подключенный к наземной аппаратуре. Метаемое тело в виде образца, подвергаемого механической обработке, ускоряется до требуемой скорости в метательном устройстве и взаимодействует с обрабатывающими резцами в периоде движения в стволе метательного устройства. Во время перемещения образца между резцами осуществляется его обработка, и контактная спица находится в контакте с фольгой токосъемника, закрепленного на стволе метательного устройства. Электрический сигнал, пропорциональный воздействующим на образец усилиям резания, снимается с акселерометра через резец и медную фольгу токосъемника и отражает историю изменения значений усилий резания в процессе обработки образца.
Известные решения не обеспечивают, однако, поддержания непрерывной электрической связи при глубоком проникании обладающих требуемыми массогабаритными характеристиками метаемых тел в преграду, так как контактная связь, основанная на использовании контактных элементов или токосъемников, видоизменяющих массогабаритные характеристики метаемых тел, оказывает существенное воздействие на протекание и результат процесса взаимодействия метаемого тела с преградой, что исключает применение известных решений при проведении испытаний метаемых тел с заданными характеристиками для определения параметров их конечной баллистики (параметров действия метаемых тел по преграде), как в условиях полигонных испытаний, так и в условиях стендовых испытаний в лаборатории. В основном, период поддержания режима замыкания контактных элементов на токосъемник в известных решениях определяется не временем процесса конечной баллистики исследуемого метаемого тела, а абсолютными значениями геометрических размеров устройств контактной связи в продольном направлении, следовательно, повышение скорости метания приводит к пропорциональному снижению этого периода. Кроме того, установка контактного элемента в головной части метаемого тела значительно снижает возможность исследования параметров конечной баллистики метаемых тел не только в реальных условиях их взаимодействия с преградами, но и при создании специальных устройств моделирования процессов для метаемых тел, оснащенных размещенными в головной части контактными элементами, с целью создания условий для функционирования контактного элемента и токосъемника.
Настоящее изобретение направлено на поддержание непрерывной контактной связи с телом, метаемым из метательного устройства, на этапах движения метаемого тела до преграды и при его действии по прочной преграде. Повышается, за счет обеспечения бесперебойности связи и непрерывности получения данных о происходящих при артиллерийских скоростях взаимодействия процессах конечной баллистики метаемых тел в прочных преградах, эффективность проведения испытаний метаемых тел на удар с измерением нагрузок, действующих на тела со стороны преграды, или других кинематических или силовых характеристик конечной баллистики тела в преграде при глубоком проникании тела в преграду либо при пробитии преграды. Обеспечивается также надежность получения результата при проведении испытаний с высокими (артиллерийского диапазона) скоростями встречи метаемых тел с преградами и в случае необходимости знания величины и истории изменения параметров конечной баллистики от начала процесса до полной остановки тела либо разрушения преграды или тела, так как уменьшается потребное количество испытаний для получения необходимых данных о реализованном процессе или примененных материалах. Техническим результатом при решении данной задачи является также предотвращение разрушения либо замыкания элементов устройства контактной связи, скрепленных с метаемым телом и размещенных перед преградой, на всех этапах полного цикла функционирования метаемого тела при проведении его испытаний с целью определении параметров конечной баллистики (параметров его действия по преграде): на траектории его перемещения до преграды и при проникании в преграду до полной остановки в ней либо до окончания процесса разрушения или пробития преграды метаемым телом.
Поставленная задача решается устройством контактной связи, представляющим собой выполненный из диэлектрика изолятор для размещения на метаемом теле, скрепленный с выполненными из электропроводящего материала проводниками, для электрического соединения с бортовым оборудованием метаемого тела и токосъемник для закрепления перед преградой и электрического подключения через провода каналов линии электрической связи к наземной аппаратуре. Проводники и провода каналов линии электрической связи снабжены соответствующими элементами электрического подключения. Проводникам конструктивно придана форма из условий обеспечения их контакта с токосъемником, а минимальное удаление обращенной к проводнику поверхности токосъемника, отсчитываемое от продольной оси изолятора в поперечном направлении, выбрано из условия исключения контакта с метаемым телом. В большинстве реализуемых при проведении испытаний вариантов указанная продольная ось является осью симметрии изолятора, совпадающей с заданной траекторией перемещения метаемого тела. Токосъемник размещается так, чтобы минимальное удаление его поверхности, обращенной к проводнику, от заданной траектории перемещения метаемого тела или продольной оси токосъемника в направлении, ортогональном продольной оси токосъемника, также превышало указанное значение.
Токосъемник может быть выполнен из материала, деформируемого пластически или прорезаемого проводником, например из фольги. Проводник может быть выполнен и из деформируемого упруго материала, а также может быть выполнен с элементами для регулирования периода времени установления заданной формы проводников после прекращения их контакта с метательным устройством.
Поставленная задача решается также установкой проведения испытаний с непрерывной регистрацией параметров конечной баллистики метаемых тел, включающей устройство контактной связи, состоящее из закрепленного в изоляторе проводника для размещения на метаемом теле и токосъемника для закрепления перед преградой и электрического подключения через провода линии электрической связи к наземной аппаратуре. Установка может быть снабжена метательным устройством, например, ствольным пневмопороховым. Метательное устройство может быть выполнено с нарезным стволом для метания тел с ведущим пояском. Токосъемник в установке может быть установлен так, что его продольная ось расположена под углом к траектории перемещения метаемого тела. Установка может быть снабжена преградой, выполненной, например, в виде токарных обрабатывающих резцов для срезания слоя материала с поверхности метаемого тела. Изолятор устройства контактной связи, включенного в установку, может быть снабжен чувствительным элементом измерительного преобразователя, например пьезокерамическим диском акселерометра.
Поставленная задача решается также способом проведения испытаний с непрерывной регистрацией параметров конечной баллистики метаемых тел, заключающемся в том, что электрическую связь метаемого тела с наземной аппаратурой осуществляют с помощью устройства контактной связи, при этом перед метанием тела токосъемник подключают через провода канала электрической связи к наземной аппаратуре, размещают и закрепляют перед преградой так, чтобы обращенный к преграде торец токосъемника находился от преграды на расстоянии, обеспечивающем начало замыкания проводника на токосъемник до момента касания преграды метаемым телом, проводник подключается к бортовому оборудованию метаемого тела, а изолятор скрепляется с метаемым телом, которое далее размещается в метательном устройстве, после чего производят ускорение тела со скрепленной с ним частью устройства контактной связи в метательном устройстве до достижения телом требуемой скорости встречи с преградой, обеспечивают требуемый период поддержания режима контакта проводника с токосъемником и непрерывно регистрируют параметры конечной баллистики метаемого тела в преграде во всем периоде режима контакта. Продолжительность этого периода должна превышать продолжительность времени действия метаемого тела по преграде.
В случае снабжения изолятора чувствительным элементом измерительного преобразователя, после закрепления токосъемника, изолятор скрепляется с метаемым телом, после чего производят метание тела. В случае выполнения, по меньшей мере, двух каналов электрической связи, перед тем как производят метание тела, его положение в метательном устройстве ориентируют в соответствии с расположением закрепленных перед преградой токосъемников.
Сущность изобретения поясняется чертежами, где
на фиг.1 показан пример выполнения устройства контактной связи;
на фиг.2 – пример выполнения устройства с прорезаемым токосъемником и недеформируемым проводником в сборе с метаемым телом;
на фиг.3 – пример выполнения устройства контактной связи для проведения испытаний действия метаемого тела по электропроводящей преграде;
на фиг.4 – иллюстрация функционирования проводника в стволе метательного устройства на этапе выхода метаемого тела за дульный срез;
на фиг.5 – иллюстрация функционирования устройства, выполненного с упругодеформируемым проводником, в режиме контакта проводника с токосъемником;
на фиг.6 – иллюстрация функционирования проводника на этапе его выхода за дульный срез нарезного ствола;
на фиг.7 – иллюстрация функционирования проводника в режиме контакта с токосъемником, продольная ось которого установлена под углом к траектории перемещения метаемого тела;
на фиг.8 – пример выполнения установки проведения испытаний с преградой в виде обрабатывающих токарных резцов;
на фиг.9 – пример выполнения изолятора, снабженного пьезокерамическим диском;
на фиг.10 – пример высокоскоростной оптической регистрации функционирования проводника на этапе его выхода из токосъемника;
на фиг.11 – пример высокоскоростной оптической регистрации функционирования проводника на этапе начала его контакта с деформируемым пластически токосъемником;
на фиг.12 – фотография вариантов изоляторов в сборе с проводниками;
на фиг.13 – фотография вариантов метаемых тел с закрепленными на них изоляторами;
на фиг.14 – эскиз остаточных деформаций разнесенной преграды;
на фиг.15 пример отображения на осциллограмме, регистрируемой непрерывно при осуществлении способа испытаний истории замедления метаемого тела;
на фиг.16 – история замедления метаемого тела в процессе его действия по разнесенной преграде;
на фиг.17 – пример сравнения историй замедления метаемых тел с различными формами головных частей, регистрируемых в разных испытаниях;
на фиг.18 – пример сравнения историй замедления метаемого тела при последовательном пробитии двух одинаковых разнесенных преград;
на фиг.19 – пример сопоставления основных параметров конечной баллистики метаемых тел, регистрируемых в различных испытаниях.
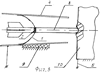
Устройство контактной связи предназначено для соединения бортового оборудования метаемого тела с наземной аппаратурой и, как показано на фиг.1, включает, по меньшей мере, один проводник 1, скрепленный с изолятором 2 и снабженный элементами электрического подключения 3 к бортовой аппаратуре метаемого тела и, по меньшей мере, один, выполненный из электропроводящего материала, токосъемник 4, электрически соединенный с проводом 5 канала линии электрической связи, снабженным элементами подключения 6 к наземной аппаратуре. Расстояние L от наиболее удаленного края проводника 1 до продольной оси изолятора 2 и минимальный размер G токосъемника 4 в направлении, ортогональном его продольной оси, заведомо превышают половину значения максимального диаметрального размера метаемого тела. Продольная ось как изолятора, так и токосъемника в простейшем случае являются осью их симметрии, совпадающей с осью симметрии метаемого тела. На фиг.1 представлен вариант исполнения устройства для двухпроводного канала линии электрической связи, в котором токосъемники 4 в виде двух удлиненных элементов размещены симметрично относительно заданной траектории движения метаемого тела и закреплены так, чтобы обращенный к преграде торец токосъемника 4 размещался на расстоянии W от лицевой поверхности преграды, положение которой обозначено пунктирной линией 7 с двумя штрихами. Увеличение значения L создает условия для удара концов проводников 1 о задний торец токосъемника 4 и ухудшения функционирования проводников 1 с токосъемником 4 в режиме контакта. Уменьшение значения G приведет к удару метаемого тела по обращенному к преграде торцу токосъемника 4 и нарушению функционирования устройства или искажению регистрируемых данных о процессе. Значение W определяет совпадение моментов начала режима контакта проводников 1 с токосъемником 4 и начала действия метаемого тела по преграде, что приводит к максимальному возможному периоду времени непрерывной электрической регистрации параметров конечной баллистики. Значения G и W связаны соответственно с калибром (миделем диаметром d) метаемого тела и его длиной. В изоляторе 2 закреплены два проводника 1, выполненных из деформируемого упруго материала, первоначальная форма которых задана конструктивно. Наклон контактной поверхности токосъемника 4 по отношению к заданной траектории движения метаемого тела, длина токосъемника 4 и длина и угол отклонения проводников 1 от продольной оси изолятора 2 выбираются из условий обеспечения требуемого периода поддержания режима контакта проводника 1 с токосъемником 4 и который в свою очередь определяется временем протекания исследуемого процесса конечной баллистики. Число элементов токосъемника 4 и соответствующих каждому элементу проводников 1 определяется требуемым в испытаниях числом каналов линии электрической связи. Материал и конструктивные размеры элементов контактирующей пары «проводник-токосъемник» выбираются из условий обеспечения непрерывности режима контакта в требуемый промежуток времени, при этом не имеет значения степень разрушения или эрозии элементов, а важно обеспечить лишь то, чтобы при контактировании не создавались условия для возникновения паразитных электрических зарядов, искажающих величину и характер изменения полезного сигнала от бортовго оборудования метаемого тела к наземной аппаратуре по каналам линии электрической связи. В представленном на фиг.1 варианте исполнения устройства проводники 1 выполняются из деформируемого упруго материала, а токосъемники 4 из материала, обеспечивающего их сохранение при их контакте с проводниками 1 в диапазоне скоростей встречи метаемого тела с преградой, предусмотренном в испытаниях. Проводники 1 упруго деформируются при размещении метаемого тела в сборе с изолятором 2 в метательном устройстве и принимают заданную форму после выхода из метательного устройства за счет своих конструктивных упругих характеристик и при содействии потока разгоняющей среды, который создает усилия на проводники 1 в направлении, ортогональном траектории движения метаемого тела на участке его перемещения от метательного устройства к токосъемнику 4. К моменту начала контакта с токосъемником 4 проводники 1 или восстанавливают первоначально заданную форму или их размер L достигает заданных значений. Взаимодействие упругого проводника 1 с неподвижной поверхностью токосъемника 4 под углом к ней при движении метаемого тела с проводниками 1 внутри токосъемника 4 в направлении к преграде обеспечивает непрерывное прижатие проводника 1 к токосъемнику 4 с созданием условий безударного точечного начала контактирования и дальнейшего непрерывного контактирования во всем требуемом периоде поддержания режима контакта. Свидетельством такого режима служат остаточные следы воздействия проводников 1 на поверхность токосъемника 4 в виде остаточных пластических деформационных следов (царапин, вдавливаний) на этой поверхности, наблюдаемых в испытаниях. К моменту начала периода контакта корпус метаемого тела или вершина головной части метаемого тела (в частном случае его действия по нормали к преграде, с углом встречи с преградой с=90°) находится в непосредственной близости к лицевой поверхности преграды, за счет установки необходимого расстояния W между токосъемником 4 и преградой.
Для метаемых тел удлиненной формы применен вариант исполнения контактирующей пары «проводник-токосъемник» с закрепленным на изоляторе в хвостовой зоне метаемого тела 8, как это показано на фиг.2, недеформируемым проводником 1, например, пластинчатой конструкции и деформируемым пластически токосъемником 4, например, из многослойной фольги (прорезаемым в представленном частном случае) при взаимодействии с таким проводником 1 в диапазоне скоростей встречи метаемого тела 8 с преградой в испытаниях. На фиг.3 проиллюстрирован вариант испытаний с токосъемником 4, электрически изолированным через выполненные из электроизоляционных материалов элементы 9 оснастки крепления токосъемника 4 от выполненной из электропроводящего материала преграды 10, к которой подсоединен электрически провод 5 линии канала электрической связи с наземной аппаратурой. В таком варианте электрическая цепь канала замыкается как через проводник 1 и токосъемник 4, так и за счет формирования непрерывного электрического контакта корпуса проникающего в преграду метаемого тела 8 с материалом преграды 10 в каверне. Если на проводнике 1 разместить дополнительные элементы или сформировать конструктивные элементы, например, в виде кольцеобразного завитка 11, как это показано на фиг.4, то создаются дополнительные условия для регулирования периода времени установления заданного положения проводников 1 за счет создания заданного изгиба проводников 1 при их нахождении в метательном устройстве 12, что изображено на фиг.4. Там же проиллюстрирован вариант подключения размещенного в метаемом теле 8 бортового оборудования 13 к элементам электрического подключения 3 проводников 1. На фиг.5 изображен вид принявших заданную форму проводников 1 в периоде режима их контакта с токосъемником 4 в процессе испытаний действия метаемого тела 8 по преграде 10 с непрерывной регистрацией параметров конечной баллистики. Представленные на фиг.3…5 метательное устройство 12 и преграда 10 являются узлами предлагаемой установки проведения испытаний с непрерывной регистрацией параметров конечной баллистики метаемых тел.
Для стабилизируемых на полете вращением снабженных ведущими поясками (поз.14 на фиг.6) метаемых тел 8, ускоряемых в содержащих нарезы 15 метательных устройствах 12, создаются дополнительные условия для уменьшения (за счет действия на проводники 1 центробежных сил) периода времени установления заданной формы проводников 1 и для увеличения усилий прижатия проводников 1 к токосъемнику 4 в режиме их контакта. На фиг.6 проиллюстрирован момент выхода проводников 1 за дульный срез нарезного ствола метательного устройства 12, а на фиг.7 проиллюстрирован пример размещения продольной оси токосъемника 4 под углом по отношению к траектории перемещения вращающегося вокруг своей оси метаемого тела 8 (продольная ось и траектория показаны штрихпунктирными линиями на фиг.7) для сближения следа 16 (штриховая линия) от проводника 1 на токосъемнике 4 с направлением продольной оси токосъемника 4. Такое закрепление токосъемника 4 в установке с целью размещения его продольной оси вдоль следа 16 от проводника 1 способствует увеличению возможного для условий проведения испытаний числа токосъемников 4 и соответствующему увеличению каналов линии электрической связи. Кроме того, этим обеспечивается увеличение периода времени в режиме контакта проводника 1 с токосъемником 4 за счет совмещения зоны контактирования токосъемника 4 (части, обращенной к проводнику 1 поверхности токосъемника 4, прилегающей к следу 16 от проводника 1) с траекторией движения проводника 1, скрепленного с изолятором 2 и вращающимся вокруг оси метаемым телом 8. Следует отметить, что представленные на фиг.фиг.2…5 изображения положения проводников 1 и токосъемников 4 установлены из анализа специально выполненных высокоскоростных оптических регистраций (кинограмм) их функционирования в широком диапазоне условий проведения испытаний метаемых тел 8 различной конструкции.
В варианте установки, изображенной на фиг.8, преграда 12 выполнена в виде токарных обрабатывающих резцов 17. Резцы закреплены в держателе 18 вокруг траектории движения метаемого тела 8, представляющего собой механически обрабатываемый образец, с внешней поверхности которого резцами срезается слой материала. При этом в электрической цепи, образованной при контакте проводников 1 с токосъемником 4, регистрируется сигнал, пропорциональный усилию, воздействующему на образец 8 со стороны резцов 17 и изменению величины этого усилия в процессе механической обработки. По этим регистрациям устанавливается история изменения усилий резания непосредственно в процессе обработки материала образца с высокими скоростями резания. Такое исполнение установки позволяет увеличить как возможную для исследования начальную скорость резания, так и длину обрабатываемого образца 8. Следовательно, увеличится и диапазон скоростей резания, исследование которого возможно при проведении единичного испытания. Схема проведения испытаний, представленная на фиг.8, может также служить иллюстрацией варианта проведения испытаний с непрерывной электрической регистрацией параметров конечной баллистики при действии метаемого тела 8 по конечной преграде (10), пробиваемой метаемым телом 8 в процессе взаимодействия с ней. Эта схема может служить и примером организации испытаний с непрерывной электрической регистрацией параметров траекторных взаимодействий метаемого тела 8 с исследуемыми объектами на пути его перемещения от метательного устройства 12 до преграды 10.
Для повышения эффективности и универсальности применения устройства при проведении испытаний изолятор 2 может быть снабжен закрепленным в нем и выполненным с электрическими обкладками пьезокерамическим диском, по меньшей мере одна электрическая обкладка которого соединена с проводником. На фиг.9 показан вариант закрепления в изоляторе 2 пьезокерамического диска 19, примененного в испытаниях, подтвердивших работоспособность предлагаемого устройства. Измерительный преобразователь ускорений выполнен в виде закрепленного в изоляторе 2 с использованием наполнителя 20 пьезокерамического диска 19, снабженного электрическими обкладками 21. Электрические обкладки 21 пьезокерамического диска 19 соединены с проводниками 1 через элементы электрического подключения 3, выполненные в виде проводов.
Функционирование устройства в составе установки поясняется в описании способа проведения испытаний.
При осуществлении способа проведения испытаний с непрерывной регистрацией параметров конечной баллистики метаемых тел контактную связь с метаемым телом 8 осуществляют с помощью устройства по любому из представленных выше вариантов исполнения, при этом токосъемник 4 подключается через провода 5 канала линии электрической связи к наземной аппаратуре, размещается и закрепляется перед преградой 10, при этом обращенный к преграде 10 передний торец токосъемника 4 устанавливается от преграды 10 на расстоянии W, обеспечивающем начало замыкания проводника 1 на токосъемник 4 до момента касания преграды 10 метаемым телом 8, проводник 1 подключается к бортовому оборудованию 13 метаемого тела 8, а изолятор 2 скрепляется с метаемым телом 8, которое далее размещается в метательном устройстве 12, после чего производят ускорение метаемого тела 8 со скрепленным с ним изолятором 2 в метательном устройстве 12 до достижения метаемым телом 8 требуемой скорости встречи с преградой, обеспечивают требуемый период времени поддержания режима контакта проводника 1 с токосъемником 4 и непрерывно регистрируют параметры конечной баллистики метаемого тела 8 в преграде 10 во всем периоде режима контакта. Установка токосъемника 4 на расстоянии, превышающем указанное значение W, не обеспечивает замкнутости электрической цепи до момента касания преграды 10 метаемым телом 8 с электропроводящим корпусом и уменьшает возможный период времени непрерывной электрической регистрации параметров. Установка на расстоянии, меньшем значения W, приводит к потере полезной информации об истории изменения измеряемого параметра на начальном этапе внедрения метаемого тела 8 в преграду 10 из-за отсутствия на начальном этапе внедрения контакта проводника 1 с токосъемником 4.
В случае снабжения изолятора 2 пьезокерамическим диском 19, после закрепления токосъемника 4 изолятор 2 скрепляют с метаемым телом 8 и производят метание тела.
В случае выполнения, по меньшей мере, двух каналов линии электрической связи, перед тем как производят метание тела, положение метаемого тела 8 в метательном устройстве 12 ориентируют в соответствии с расположением закрепленных перед преградой 10 токосъемников 4.
Предлагаемое изобретение реализовано при подготовке к проведению полунатурных испытаний с определением параметров конечной баллистики проникающих в прочные преграды метаемых тел. Полунатурные испытания предполагают реализацию процессов проникания в преграды подобных натурным метаемым объектам физических моделей (ударников), размеры которых уменьшены по сравнению с натурными не более чем в 10 раз. Такое ограничение позволяет реализовывать в полунатурных процессах тот же порядок скоростей деформирования материалов метаемых тел и материалов преград, что и в натурных. Диаметр d корпуса ударников 8 составлял величину 20 мм и выше, а скорости встречи с преградами реализованы в испытаниях в диапазоне скоростей с=150…800 м/с. Процесс взаимодействия проводника 1 с токосъемником 4 при этих испытаниях контролировался в том числе и с помощью высокоскоростной оптической съемки. На фиг.10 представлен пример такой съемки при моделировании процесса с применением токосъемника 4 в виде усеченного конуса, выполненного из оптически прозрачного материала. Наблюдался период времени выхода проводников 1 из токосъемника 4. На фиг.10 выделены кадры из регистрируемой кинограммы процесса, соответствующие этому периоду. Съемка осуществлена регистратором ЖЛВ-2 в проходящем свете с использованием импульсной подсветки. Скорость съемки составляла 125000 кадров в секунду. Скорость метаемого тела =600 м/с. На фиг.11 представлен пример оптической регистрации процесса взаимодействия недеформируемого проводника 1 с пластически деформируемым токосъемником 4 и приведены последовательные кадры из кинограммы начального периода взаимодействия проводника 1 с токосъемником 4.
Фотография вариантов исполнения проводников 1 и изоляторов 2 устройства контактной связи до скрепления с метаемым телом 8 представлена на фиг.12. Фотография примененных в ряде испытаний вариантов метаемых тел (ударников) 8 в сборе с изолятором 2 и проводниками 1 приведена на фиг.13.
Для контроля функционирования электрической контактной связи в сложных условиях взаимодействия с преградой были проведены испытания с непрерывной регистрацией параметров конечной баллистики при действии ударников по нормали к разнесенным преградам различной конструкции. Результаты испытаний, представленные на фиг.14…15, соответствуют варианту, где метаемое тело – стальной 23-мм ударник 8, массой q=0,157 кг, с биконической головной частью (угол при вершине 2 =120°, далее 2 =60°); преграда 10 – две плиты из алюминиевого сплава Д16, первая толщиной h по отношению к диаметру d ударника 8 (или его миделю) h=0,87d, что составляет в абсолютных величинах 20 мм, вторая – толщиной h=0,35d закреплена за ней на расстоянии 0,35d; скорость встречи по нормали к преграде 10 c=468 м/с, остаточная скорость ударника 8  =150 м/с.
Типичная исходная информация, получаемая при осуществлении способа испытаний с применением предлагаемого устройства, представлена на фиг.14 эскизом остаточных деформаций преграды 10, полученных в результате действия по ней ударника 8 и зафиксированных по разрезу преграды 10. На фиг.15 – регистрируемый в форме осциллограммы при проведении испытаний действия данного ударника 8 по данной преграде 10 параметр конечной баллистики – история замедления ударника 8 в процессе пробития разнесенной преграды 10. Непрерывно регистрируемая осциллограмма представляет собой генерируемый измерительным преобразователем ускорений электрический сигнал, величина которого пропорциональна в каждый момент времени замедлению ударника 8, и изменение этого сигнала во времени отражает историю изменения отрицательных ускорений испытываемых ударником 8 при действии по преграде 10. В качестве чувствительного элемента измерительного преобразователя ускорений применен пьезокерамический диск 19, закрепленный в изоляторе 2 аналогично изображенному на фиг.9. Собственная частота измерительного преобразователя ускорений в закрепленном состоянии зависит от конструктивных размеров изолятора 2, пьезокерамического диска 19, материалов изолятора 2, наполнителя 20 и пьезокерамического диска 19, и для реализованных вариантов составила величину около 120 кГц. Коэффициент преобразования измерительного преобразователя ускорений по напряжению ku при масштабной емкости 68000 пФ составил величину около ku=0,2×10-6 В×с2/м, а линейность амплитудной характеристики примененных измерительных преобразователей ускорений проанализирована в специально проведенных исследованиях. Установлена нелинейность до 8% в диапазоне динамических нагрузок, действующих на пьезокерамический диск 19 в проведенных полунатурных испытаниях метаемых тел. Осциллограмма получена с применением запоминающего осциллографа С8-9. Масштаб сигнала на осциллограмме по времени kt определяется калибровкой осциллографа по клетке на осциллограмме (кл) kt=50 мкс/кл. Масштаб сигнала по оси ординат k определяется калибровкой осциллографа по амплитуде сигнала и обычно составляет величину k=1…5 В/кл в зависимости от коэффициента преобразования измерительного преобразователя ускорений по напряжению и величины масштабной емкости. На осциллограмме электрический сигнал U(t) положителен и пропорционален отрицательным ускорениям . Значение отрицательных ускорения  при масштабной емкости 68000 пФ составляет . Начало изменения электрического сигнала обозначено на осциллограмме рисками, соответствующими нулевым отметкам сигнала по времени и амплитуде. Регистрируемый непрерывно электрический сигнал является первичной информацией, получаемой в испытаниях, и, кроме истории замедления ударника 8 в процессе действия его по преграде 10, напрямую отражает также историю изменения усилий, воздействующих на ударник 8 со стороны преграды 10 в при его действии по ней. Следовательно, непрерывная регистрация предоставляет информацию об основных кинематических и силовых параметрах конечной баллистики ударника 8. Двукратным интегрированием кривой замедления получают сначала зависимость изменения скорости ударника 8 (t), затем перемещения ударника 8 в процессе его действия по преграде 10 или глубины внедрения l(t) ударника 8 в преграду 10.
Осциллограммы на фиг.15 и фиг.16 регистрировались одновременно по двум каналам с различной калибровкой по времени. Осциллограмма на фиг.15 с калибровкой по времени kt=50 мкс/кл более подробно отражает историю замедления ударника 8 в начальном периоде процесса его действия по преграде 10. Эскиз осциллограммы на фиг.16 с калибровкой по времени kt=100 мкс/кл проведен по средней линии следа луча на осциллограмме и представляет историю замедления ударника 8 в периоде всего времени процесса пробития разнесенной преграды 10. Под осциллограммой отмечен момент времени окончания процесса пробития ударником 8 преграды 10. Масштаб осциллограммы по ускорению .
Осциллограммы, регистрируемые в испытаниях, напрямую отражают истории изменения усилий F(t) со стороны преграды, воздействующих на ударники 8 в процессе их действия по преградам 10. Величина этих усилий может быть легко установлена перемножением массы ударника 8 q и действующих на него отрицательных ускорений и является одним из важнейших параметров конечной баллистики. Сравнение усилий для различных ударников 8 при действии по одной и той же преграде 10 с одинаковой скоростью c позволяет оценить как стойкость преграды 10 или ее динамическую прочность, так и анализировать особенности протекания процесса действия ударника 8 по преграде 10 в зависимости от конструктивных различий ударников 8. На фиг.17 результаты такого анализа приведены для трех ударников 8 в условиях испытаний их действия по нормали к преграде 10 из материала АБТ толщиной h=60 мм, что по отношению к диаметру d ударника 8 составляет величину h=2,61d. Сплошная линия на графике – история изменения усилия F(t), воздействующего на ударник 8 с углом при вершине конической головной части 2 =60°, штрихпунктирная – на ударник 8 с биконической головной частью, при вершине 2 =60° и далее 2 =30°, штриховая – на ударник 8 с биконической головной частью, при вершине 2 =120° и далее 2 =30°. Скорости встречи в диапазоне с=460…475 м/с и массы ударников 8 в диапазоне q=0,15…0,16 кг.
Результаты испытаний при проверке функционирования устройства в условиях действия ударника 8 по разнесенным тонким преградам 10, представленные на фиг.18, также демонстрируют надежную работу устройства контактной связи и существенно иную историю замедления ударника 8 в процессе его действия по такой преграде 10 по сравнению с представленной выше. Ударник 8 стальной диаметром d=23 мм с конической головной частью с углом при вершине 2 =60°, массой q=0,15 кг. Преграда состоит из двух выполненных из титана пластин толщиной h=0,13d, скрепленных между собой на расстоянии 1,26d. Скорость встречи по нормали к преграде c=473 м/с. Масштабы осциллограммы по времени и ускорению составляют соответственно kt=50 мкс/кл и .
Регистрируемые в испытаниях непрерывно параметры могут быть использованы также и для анализа различий их изменения на различных стадиях процесса действия ударника 8 по преграде 10. Например, на фиг.18 на ударный импульс от пробития первой преграды 10 наложен штриховой линией импульс от пробития второй преграды 10. Приведенный на фиг.18 эскиз осциллограммы проведен по средней линии следа луча на регистрируемой в испытаниях осциллограмме.
Если же регистрируемые параметры конечной баллистики выразить в безразмерном виде, то появляется возможность анализа особенностей протекания во времени процесса различных случаев действия ударников 8 по преграде 10. Например, на фиг.19 на одном графике совмещены данные, полученные из осциллограмм на фиг.16 (сплошная и штрихпунктирная) и на фиг.17 (пунктирная линия). Данные представлены в безразмерном виде, где представляет собой отношение текущей скорости ударника 8 к скорости его встречи с преградой c; – отношение перемещения или глубины внедрения ударника 8 в преграду 10 к конечной глубине внедрения или какому-либо другому параметру реализованного процесса конечной баллистики; – отношение текущего времени процесса t к полному периоду времени действия ударника 8 по преграде 10. На представленном графике перемещение – отнесено к конечной глубине внедрения ударника 8 в преграду 10 (восходящая штриховая линия), длине ударника 8 (штрихпунктирная) и протяженности разнесенной преграды 10 (сплошная). Представленные выше результаты испытаний и проверки функционирования устройства отражают факт повышения эффективности и надежности проведения испытаний с непрерывной регистрацией параметров конечной баллистики метаемых тел.
Формула изобретения
1. Устройство контактной связи, предназначенное для электрического соединения бортового оборудования метаемого тела с наземной аппаратурой, включающее, по меньшей мере, один проводник, предназначенный для электрического подключения к бортовому оборудованию, закрепленный в изоляторе, предназначенном для установки в метаемом теле, и, по меньшей мере, один токосъемник, предназначенный для закрепления перед преградой и электрически подключенный к проводу канала электрической связи, при этом максимальный поперечный размер проводника в направлении, перпендикулярном продольной оси изолятора, выбран из условия обеспечения его контакта с токосъемником, а минимальное удаление обращенной к проводнику поверхности токосъемника от этой же оси выбрано из условия предотвращения контакта с метаемым телом.
2. Устройство по п.1, отличающееся тем, что закрепленная в изоляторе часть проводника снабжена элементами электрического подключения к бортовому оборудованию метаемого тела.
3. Устройство по п.1, отличающееся тем, что к токосъемнику электрически подключен провод канала электрической связи, снабженный элементами электрического подключения к наземной аппаратуре.
4. Устройство по п.1, отличающееся тем, что проводник выполнен упругодеформируемым с обеспечением отклонения проводника от продольной оси изолятора в поперечном направлении на этапе перемещения от метательного устройства к токосъемнику за счет конструкционных размеров и характеристик материала.
5. Устройство по п.1, отличающееся тем, что проводник выполнен с обеспечением дополнительного отклонения удаленной от изолятора части проводника в направлении, перпендикулярном продольной оси симметрии изолятора, за счет конструктивных элементов проводника, сформированных на проводнике.
6. Устройство по п.1, отличающееся тем, что токосъемник выполнен из материала, пластически деформируемого или прорезаемого проводником.
7. Устройство по п.1, отличающееся тем, что изолятор снабжен закрепленным в нем и выполненным с электрическими обкладками пьезокерамическим диском, по меньшей мере, одна электрическая обкладка которого соединена с проводником.
8. Установка проведения испытаний с непрерывной регистрацией параметров конечной баллистики метаемых тел, включающая устройство контактной связи, содержащее закрепленный в изоляторе проводник, предназначенный для размещения на метаемом теле, и токосъемник, предназначенный для закрепления перед преградой.
9. Установка по п.8, отличающаяся тем, что токосъемник закреплен перед преградой так, что расстояние от обращенного к преграде торца токосъемника до преграды не меньше расстояния, обеспечивающего начало контакта проводника с токосъемником до момента касания преграды метаемым телом.
10. Установка по п.8, отличающаяся тем, что снабжена метательным устройством с нарезным стволом для метания тел с ведущим пояском.
11. Установка по п.8, отличающаяся тем, что токосъемник закреплен так, что его продольная ось расположена под углом к траектории перемещения метаемого тела.
12. Установка по п.8, отличающаяся тем, что снабжена преградой, выполненной в виде токарных обрабатывающих резцов для срезания слоя материала с поверхности метаемого тела.
13. Способ проведения испытаний с непрерывной регистрацией параметров конечной баллистики метаемых тел, заключающийся в том, что перед метанием тела токосъемник устройства контактной связи закрепляют перед преградой и подключают к наземной аппаратуре, проводник подключают к бортовому оборудованию метаемого тела, а изолятор скрепляют с метаемым телом, которое размещают в метательном устройстве, после чего производят метание тела со скрепленными с ним изолятором и проводником до достижения телом требуемой скорости встречи с преградой, обеспечивают требуемый период поддержания режима контакта проводника с токосъемником и непрерывно регистрируют параметры конечной баллистики метаемого тела в преграде во всем периоде режима контакта.
14. Способ по п.13, отличающийся тем, что в случае снабжения изолятора пьезокерамическим диском после подключения токосъемника к наземной аппаратуре изолятор скрепляют с метаемым телом.
15. Способ по п.13, отличающийся тем, что в случае выполнения в устройстве контактной связи, по меньшей мере, двух токосъемников перед метанием тела его положение в метательном устройстве ориентируют в соответствии с расположением закрепленных перед преградой токосъемников.
РИСУНКИ
MM4A – Досрочное прекращение действия патента СССР или патента Российской Федерации на изобретение из-за неуплаты в установленный срок пошлины за поддержание патента в силе
Дата прекращения действия патента: 03.08.2007
Извещение опубликовано: 27.02.2009 БИ: 06/2009
|
|