|
|
(21), (22) Заявка: 2005141285/28, 28.12.2005
(24) Дата начала отсчета срока действия патента:
28.12.2005
(46) Опубликовано: 20.04.2007
(56) Список документов, цитированных в отчете о поиске:
SU 1150488 A, 15.04.1985. RU 2004102725 A, 10.07.2005. US 3713338 A, 30.01.1973. JP 56035022, 07.04.1981.
Адрес для переписки:
440026, г.Пенза, ул. Красная, 40, Пензенский Государственный Университет
|
(72) Автор(ы):
Серебряков Дмитрий Иванович (RU), Мурашкина Татьяна Ивановна (RU)
(73) Патентообладатель(и):
ГОУ ВПО Пензенский Государственный Университет (ПГУ) (RU)
|
(54) ВОЛОКОННО-ОПТИЧЕСКИЙ СИГНАЛИЗАТОР УРОВНЯ ЖИДКОСТИ
(57) Реферат:
Устройство относится к контрольно-измерительной технике и может быть использовано для сигнализации наличия или отсутствия в зоне измерения прозрачной для инфракрасного излучения жидкости. Устройство содержит источник и приемник излучения, подводящее и отводящие оптические волокна, чувствительный элемент. Чувствительный элемент выполнен в виде стержня круглого сечения из оптически прозрачного материала, для которого выполняется условие n0в.ср1, где n0, nв.ср, n1 – показатели преломления воздуха, жидкости и стержня соответственно. Длина стержня L определена формулой. R – радиус шарового сегмента световода, обращенного в сторону измеряемых сред 1,5dов R 2dов, где dов – диаметр оболочки оптического волокна. Отношение L/R должно отвечать определенным условиям. Технический результат – технологичность конструкции чувствительного элемента. 2 ил.
Изобретение относится к контрольно-измерительной технике и может быть использовано для сигнализации наличия или отсутствия в зоне измерения прозрачной для инфракрасного излучения жидкости с коэффициентом преломления n>1,25, в условиях изменения температуры окружающей среды в диапазоне -100…+150°С на изделиях ракетно-космической техники (РКТ).
В результате поиска по источникам патентной и технической информации не обнаружены устройства с совокупностью существенных признаков, совпадающих с предлагаемым изобретением и обеспечивающим заявленный технический результат.
Известен волоконно-оптический сигнализатор уровня жидкости, содержащий последовательно установленные и оптически согласованные источник света, подводящее оптическое волокно, чувствительный элемент, отводящее оптическое волокно и фотоприемник, подключенный к электронному блоку, при этом чувствительный элемент выполнен в виде установленных в оправе с зазором двух отрезков оптических волокон, одни торцы которых в зазоре перпендикулярны их оптическим осям, а другие оптически согласованы соответственно с подводящим и отводящим оптическими волокнами. Чувствительный элемент выполнен в виде оправы с коническими поверхностями, обращенными вершинами к зазору между отрезками оптических волокон, при этом расстояние от торцов отрезков оптических волокон до оправы не менее двух диаметров оптических волокон, а ширина зазора больше двух их диаметров (Патент SU 1275220 А1, кл. G01F 23/28, опублик. 07.12.86).
Недостатком указанного сигнализатора являются большие потери света из-за того, что большая часть светового потока в чувствительном элементе от подводящего оптического волокна распространяется вне аппертурного угла отводящего оптического волокна. Кроме того, необходима точная юстировка торцов подводящего и отводящего волокон относительно друг друга в чувствительном элементе. При контроле уровня жидкости, содержащей микрочастицы, существует возможность загрязнения торцов подводящего и отводящего оптических волокон в чувствительном элементе.
Наиболее близким по технической сущности к предлагаемому является волоконно-оптический датчик уровня, содержащий последовательно расположенные источник излучения, подводящее оптическое волокно, отводящее оптическое волокно и приемник излучения, в котором подводящее и отводящее волокна соединены с чувствительным элементом, выполненным в виде световода из оптически прозрачного материала. Поверхность чувствительного элемента выполнена в виде двух зеркально симметричных частей, каждая из которых образована вращением отрезка логарифмической спирали вокруг оси, лежащей в плоскости волокон и проходящей через центры их торцов, причем центры спиралей совмещены с центрами торцов волокон (Патент SU 1150488 А, кл. G01F 23/22, опублик. 15.04.85 (прототип)).
Недостатком данного датчика является низкая технологичность конструкции чувствительного элемента из-за сложности получения поверхности чувствительного элемента.
Техническим результатом является технологичность конструкции чувствительного элемента.
Указанный технический результат достигается тем, что в известном волоконно-оптическом датчике уровня, содержащем источник излучения, подводящее и отводящее оптические волокна с отношением do/dc=2,5, где do – диаметр оболочки оптического волокна, dc – диаметр сердцевины оптического волокна, соединенные с чувствительным элементом в виде световода, приемник излучения, предлагается световод (чувствительный элемент) выполнить в виде стержня круглого сечения из оптически прозрачного материала, для которого выполняется условие

где n0, nВ.СР, n1 – показатели преломления воздуха, жидкости и стержня соответственно длиной, удовлетворяющей выражению

где NA – апертурный угол оптического волокна, dc – диаметр сердцевины оптического волокна, R – радиус шарового сегмента световода, обращенного в сторону измеряемых сред

где dов – диаметр оболочки оптического волокна, – угол отражения от шарового сегмента

а отношение L/R должно отвечать условию

Предлагаемая новая конструкция чувствительного элемента волоконно-оптического сигнализатора уровня жидкости лишена такого недостатка, как сложность получения поверхности чувствительного элемента, т.е. конструкция технологична, а также конструктивные параметры L, R отвечающие условию (5) как будет показано ниже обеспечивают максимальный перепад сигнала и минимальные информативные потери в зоне измерения, за счет обеспечения одного и того же значения угла падения на шаровой сегмент чувствительного элемента для всех лучей, распространяющихся в пределах угловой апертуры подводящего оптического волокна, и попадания этих лучей в отводящие оптические волокна.
Таким образом, предлагаемое изобретение представляет собой техническое решение задачи, являющееся новым, промышленно применимым и обладающим изобретательским уровнем, т.е. предлагаемое изобретение отвечает критериям патентоспособности.
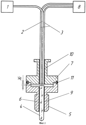
На фигуре 1 приведена упрощенная конструкция предлагаемого сигнализатора, на фигуре 2 – ход лучей в первичном преобразователе.
Волоконно-оптический сигнализатор уровня жидкости содержит последовательно установленные и оптически согласованные источник излучения 1, например полупроводниковый излучающий диод, подводящее 2 и отводящие 3 оптические волокна, чувствительный элемент 4, корпус 5, состоящий из двух частей 6 и 7, приемник излучения 8, например фотодиод (фигура 1). Цилиндрическая часть чувствительного элемента 4 закреплена в части 6 корпуса 5 с помощью соединительного состава 9 с коэффициентом преломления n2В.СР, при этом шаровой сегмент выступает за пределы части 6 корпуса 5 на значение, большее или равное R, определяемое выражением (3). Подводящее оптическое волокно 2 и отводящие оптические волокна 3 собраны в пучок (сечение А-А на фигуре 2) и закреплены в части 7 корпуса 5 с помощью клея 10, обладающего большой упругостью. Чувствительный элемент 4 выполнен из оптически прозрачного материала, например кварцевого стекла (стержня), для материала которого выполняется условие (1). Его форма представляет собой стержень длиной L, определяемой выражением (2), поверхность которого, обращенная в сторону измеряемой среды, представляет собой шаровой сегмент радиусом R, определяемый выражением (3). Части 6 и 7 корпуса 5 соединены между собой с помощью сварки 11, при этом центр торца подводящего оптического волокна 2 должен находится на одной оси с центром торца чувствительного элемента 4 (фигура 2). Расстояние между общим торцом оптических волокон 2, 3 и торцом чувствительного элемента 4 Xi 0…0,01 мм (фигура 1). При расчете параметров R, L значение Xi не учитывается из-за очень малых размеров.
Устройство работает следующим образом.
Излучение источника излучения 1 направляется по подводящему оптическому волокну 2 к чувствительному элементу 4 (фигура 1). Поток излучения, излучаемый торцом подводящего оптического волокна 2, падает на торец чувствительного элемента 4 под углом NA, который является апертурным углом оптического волокна, преломляется и распространяется под углом, который определяется с помощью закона Снеллиуса и равен

до шарового сегмента и падает на последний под углом удовлетворяющим условию (4) (фигура 2). При отсутствии контакта чувствительного элемента с жидкостью лучи переотражаются от шарового сегмента под углом и возвращаются обратно по чувствительному элементу путем переотражения от цилиндрической поверхности под углом , определяемый из треугольника АВС и равный
=90- ,
до выходного торца чувствительного элемента и падают на него под углом , который находят из треугольника ADM и равный
=90- ,
где =180- – – угол, определяется из треугольника AOD,
где = -m – разница между углом =180- ,
где =90- – – угол, определяемый из треугольника STO,
и углом =180-2 – определяется из треугольника AOS,
где m= / – количество отражений от шарового сегмента, причем берется только целая часть (т.е. m=1, 2, 3… и т.д.), преломляются и выходят из чувствительного элемента, падая на торцы отводящих оптических волокон
Проведенные расчеты по формуле (4) для стержня из кварцевого стекла, материал которого удовлетворяет условию (1), и жидкостей с коэффициентом преломления n>1,25 показали, что максимальный перепад сигнала Q будет обеспечен, если световой поток переотражается от шарового сегмента под углом , равным

Т.е. при отсутствии контакта шарового сегмента с жидкостью при падении луча под углом на шаровой сегмент происходит полное внутренние отражение и луч отражается от шарового сегмента под углом

где отр – угол отражения от шарового сегмента.
Для углов падения , приведенных в выражении (6) и отвечающих выражению (4), было получено sin отр>1. Это означает, что преломленный луч отсутствует и падающий луч под углом отр= будет возвращаться обратно в среду, из которой он падает (Оптические волокна и волоконные элементы. Сборник статей и переводов под ред. канд. техн. наук Блох К.И. – М.: Химия, 1972. – с.72-73). При контакте шарового сегмента с жидкостью происходит нарушение условия полного внутреннего отражения и часть светового потока выходит из стержня под углом

где nВ.СР>1,25 – коэффициент преломления жидкости; вых – угол преломления.
Таким образом, для обеспечения нужного значения угла падения , удовлетворяющего выражению (4), при котором будет выполняться и нарушаться условие полного внутреннего отражения при отсутствии контакта с жидкостью и при контакте с жидкостью соответственно, рассчитывают конструктивные параметры L, R по формулам (2) и (3), отвечающие условию (5), которые обеспечат максимальный перепад сигнала и минимальные информативные потери в зоне измерения. Расчетным путем доказано, что конструктивные параметры R и L, удовлетворяющие условию (5), обеспечивают при отсутствии контакта с жидкостью попадание светового потока от подводящего оптического волокна в отводящие оптические волокна.
Технический результат предлагаемого изобретения следующий
В предлагаемой конструкции чувствительного элемента волоконно-оптического сигнализатора уровня жидкости исключены сложные технологические операции по получению поверхности чувствительного элемента, т.е. конструкция технологична.
Конструктивные параметры L, R чувствительного элемента, отвечающие условию (5), обеспечивают максимальный перепад сигнала и минимальные информативные потери в зоне измерения за счет обеспечения одного и того же значения угла падения на шаровой сегмент чувствительного элемента для всех лучей, распространяющихся в пределах угловой апертуры подводящего оптического волокна, и попадания этих лучей в отводящие оптические волокна.
Предлагаемая новая конструкция чувствительного элемента волоконно-оптического сигнализатора уровня жидкости работоспособна в жестких условиях РКТ обладает повышенной искровзрывобезопасностью и не требует сложных технологических и измерительных операций при изготовлении.
Формула изобретения
Волоконно-оптический сигнализатор уровня жидкости, содержащий источник и приемник излучения, подводящее и отводящие оптические волокна, чувствительный элемент, отличающийся тем, что чувствительный элемент выполнен в виде стержня круглого сечения из оптически прозрачного материала, для которого выполняется условие
N0в.ср1,
где n0, nв.ср, n1 – показатели преломления воздуха, жидкости и стержня соответственно,
длиной, удовлетворяющей выражению

где NA – апертурный угол оптического волокна, dc – диаметр сердцевины оптического волокна, R – радиус шарового сегмента световода, обращенного в сторону измеряемых сред:
1,5dов R 2dов,
где dов – диаметр оболочки оптического волокна, – угол отражения от шарового сегмента:
arcsin n0/nв.ср< в.ср/n1,
а отношение L/R должно отвечать условию




РИСУНКИ
|
|