|
|
(21), (22) Заявка: 2005134922/09, 10.11.2005
(24) Дата начала отсчета срока действия патента:
10.11.2005
(46) Опубликовано: 20.04.2007
(56) Список документов, цитированных в отчете о поиске:
RU 16311 U1, 20.12.2000. RU 2210061 C2, 10.08.2003. US 2843830 A, 15.07.1958. DE 1564244, 30.07.1970. DE 3641706, 16.06.1988.
Адрес для переписки:
140103, Московская обл., г. Раменское, ул. Гурьева, 2, ОАО “РПКБ”
|
(72) Автор(ы):
Баженов Владимир Ильич (RU), Люшинский Анатолий Владимирович (RU), Мухин Анатолий Николаевич (RU), Никовский Евгений Алексеевич (RU)
(73) Патентообладатель(и):
Открытое акционерное общество “Раменское приборостроительное конструкторское бюро” (RU)
|
(54) ТОКОСЪЕМНИК
(57) Реферат:
Изобретение относится к области измерительной техники, а именно к устройствам для коммутации цепей электрического тока. Токосъемник содержит корпус, коллектор с n кольцами желобкового типа, выполненными из золотоникелиевого сплава ЗлХ-0,5 и отделенными друг от друга электроизоляционными стенками, два щеткодержателя, закрепленные в щеткодержателях щетки, выполненные из золотомедного сплава ЗлМ-800. Кольца в нем выполнены с ковкой со стороны торцевых поверхностей со степенью уковки 1,1÷1,3 со скоростью деформации 50÷250 1/с. Техническим результатом является повышение надежности токосъемника. 3 ил.
Данное изобретение относится к области измерительной техники, а именно к устройствам для коммутации цепей электрического тока от неподвижных частей приборов к подвижным.
Известны токосъемники, состоящие из коллектора с кольцами и разделяющими их изоляционными стенками, щеток, введенных в контакт с кольцами [1].
Наиболее близким по технической сущности к предлагаемому является токосъемник [2], содержащий корпус, коллектор с n кольцами желобкового типа, выполненными из золотоникелевого сплава ЗлХ-0,5 и отделенными друг от друга электроизоляционными стенками, два щеткодержателя, расположенные в корпусе симметрично относительно продольной оси коллектора, закрепленные в щеткодержателях щетки, выполненные из золотомедного сплава ЗлМ-800 и введенные в контакт по поверхности желоба с каждым из колец с двух диаметрально противоположных сторон.
Недостатком такого токосъемника является недостаточная надежность вследствие износа щеток и колец токосъемника.
Техническим результатом изобретения является повышение надежности токосъемника.
Данный технический результат достигается в токосъемнике, содержащем корпус, коллектор с n кольцами желобкового типа, выполненными из золотоникелевого сплава ЗлХ-0,5 и отделенными друг от друга электроизоляционными стенками, два щеткодержателя, расположенные в корпусе симметрично относительно продольной оси коллектора, закрепленные в щеткодержателях щетки, выполненные из золотомедного сплава ЗлМ-800 и введенные в контакт с каждым из колен по поверхности желоба с двух диаметрально противоположных сторон, тем, что кольца выполнены с ковкой со стороны торцевых поверхностей со степенью уковки 1,1-1,3 со скоростью деформации 50-250 1/с.
При выполнении колец с ковкой со стороны торцевых поверхностей со степенью уковки 1,1-1,3 со скоростью деформации 50-250 1/с происходит повышение прочности колец и увеличение их износоустойчивости. В результате увеличивается долговечность колец и повышается надежность токосъемника,
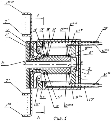
На фиг.1 приведен общий вид токосъемника, на фиг.2 – разрез токосъемника по плоскости, перпендикулярной продольной оси коллектора, на фиг.3 – узел контакта ветви щетки с кольцом в увеличенном масштабе.
В корпусе 1 токосъемника (фиг.1) на подшипниках 2′, 2″ посредством оси 3 установлен коллектор 4 с продольной осью 5-5. В коллекторе 4 установлены кольца 6′, 6″…6(n) с отходящими от них проводниками 7′, 7″…7(n). Кольца 6′, 6″…6(n) изготовлены из золотоникелевого сплава ЗлХ-0,5 и отделены друг от друга электроизоляционными стенками 8′, 8″…8(n-1).
С кольцом 6′ коллектора 4 с одной стороны введена в контакт одна ветвь 9′ первой щетки, а с диаметрально противоположной стороны – вторая ветвь 9″ первой щетки. В контакт с кольцом 6″ с одной его стороны введена одна ветвь 9′” второй щетки, а с диаметрально противоположной стороны – вторая ветвь 9IV второй щетки.
Соответственно, с n-м кольцом с одной его стороны введена в контакт одна ветвь 9(2n-1) n-й щетки, а с диаметрально противоположной стороны – вторая ветвь 9(2n) n-й щетки.
От первой щетки в токосъемнике проведен проводник 10′, от второй щетки – проводник 10″, соответственно от n-й щетки – проводник 10(n).
Корпус 1 закрыт крышкой 11. Щеткодержатели 12′, 12″ (фиг.2) установлены в корпусе 1 симметрично относительно продольной оси 5-5 коллектора 4. Каждая щетка выполнена в виде пружины U-образной формы.
Один свободный конец первой щетки образует ее первую ветвь 9′, второй свободный конец образует вторую ветвь 9″. Другие концы первой и второй ветвей 9′ и 9″ первой щетки закреплены в щеткодержателе 12′ и соединены тыльной частью 13′. Все щетки с нечетными номерами установлены в щеткодержателе 12′.
Один свободный конец второй щетки образует ее первую ветвь 9″‘, второй свободный конец образует вторую ветвь 9IV. Другие концы первой и второй ветвей 9″‘ и 9IV второй щетки закреплены в щеткодержателе 12″ и соединены тыльной частью 13″ второй щетки.
Все щетки с четными номерами установлены в щеткодержателе 12″.
Все щетки выполнены аналогичным образом из золотомедного сплава ЗлМ-800.
Первая ветвь 9′ первой щетки (фиг.3) расположена в желобе 14 первого кольца 6′, имеет поперечное сечение круглой формы с диаметром d окружности, центр О которой находится на оси симметрии 15-15 первого кольца 6′. Поверхность 16 первой ветви 9′ первой щетки контактирует с поверхностью 17 желоба 14 первого кольца 6′, с поверхностью 17 желоба 14 первого кольца 6′ также контактирует поверхность 16 второй ветви 9″ первой щетки.
Кольца 6′, 6″…6(n) выполнены с ковкой со стороны их торцевых поверхностей 18, 19 со степенью уковки 1,1-1,3 со скоростью деформации 50-250 1/с.
При изготовлении колец посредством штампа производится вырезка из плоской заготовки конфигурации колец и ковка со стороны торцевых поверхностей 18, 19. При ковке со степенью уковки 1,1-1,3 первичные кристаллы сплава ЗлХ-0,5 дробятся, вытягиваются в радиальном направлении колец и выстраиваются так, что волокна располагаются по радиусу от центра колец. В результате прочность сплава ЗлХ-05 вдоль волокон увеличивается. При ковке со скоростью деформации 50-250 1/с происходит нагрев кольца, что вызывает упорядочение кристаллической структуры сплава ЗлХ-0,5, снятие внутренних напряжений, заваривание пузырей, трещин, пор и упрочение кольца. Увеличение прочности колец 6′, 6″…6(n) вызывает повышение их износоустойчивости.
Токосъемник работает следующим образом. Корпус I закрепляется на неподвижной части, а коллектор 4 – на подвижной части прибора. При перемещении подвижной части прибора относительно неподвижной части электрический сигнал с подвижной части, например, передается по проводнику 7′ через поверхность 17 желоба 14 в кольце 6′ по первой ветви 9′ первой щетки 12′ и проводнику 10′ во внешнюю цепь в неподвижной части прибора.
Вследствие повышения износоустойчивости колец 6′, 6″…6(n) повышаются их долговечность и надежность токосъемника.
Источники информации
1. Патент США №3.321.980, НКИ 74-5, МКИ G01С 19/40. Гироскопическое устройство. 1967 г.
2. Свидетельство на полезную модель №16311, кл. G01D 5/252. Токосъемник. 2000 г.
Формула изобретения
Токосъемник содержащий корпус, коллектор с n кольцами желобкового типа, выполненными из золотоникелиевого сплава ЗлХ-0,5 и отделенными друг от друга электроизоляционными стенками, два щеткодержателя, расположенных в корпусе симметрично относительно продольной оси коллектора, закрепленные в щеткодержателях щетки, выполненные из золотомедного сплава ЗлМ-800 и введенные в контакт с каждым из колец по поверхности желоба с двух диаметрально противоположных сторон, отличающийся тем, что кольца выполнены с ковкой со стороны торцевых поверхностей со степенью уковки 1,1÷1,3, со скоростью деформации 50÷250 с-1.
РИСУНКИ
|
|