|
| На основании пункта 3 статьи 13 Патентного закона Российской Федерации от 23 сентября 1992 г. № 3517-I патентообладатель обязуется передать исключительное право на изобретение (уступить патент) на условиях, соответствующих установившейся практике, лицу, первому изъявившему такое желание и уведомившему об этом патентообладателя и федеральный орган исполнительной власти по интеллектуальной собственности, – гражданину РФ или российскому юридическому лицу. |
|
(21), (22) Заявка: 2005131606/02, 13.10.2005
(24) Дата начала отсчета срока действия патента:
13.10.2005
(46) Опубликовано: 20.04.2007
(56) Список документов, цитированных в отчете о поиске:
RU 2183813 C1, 20.06.2002. RU 2262062 C1, 10.10.2005. US 4173186 A, 06.11.1979. US 4553480 A, 19.11.1985.
Адрес для переписки:
125130, Москва, ул. З. и А. Космодемьянских, 11-15, кв.69, А.Д. Царькову
|
(72) Автор(ы):
Сагаков Станислав Святославович (RU), Царьков Алексей Данилович (RU), Желтов Вячеслав Алексеевич (RU)
(73) Патентообладатель(и):
Сагаков Станислав Святославович (RU), Царьков Алексей Данилович (RU)
|
(54) БЕСШУМНЫЙ ПАТРОН
(57) Реферат:
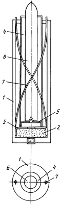
Изобретение относится к патронам для стрелкового и более тяжелого оружия. Патрон содержит поршень, пулю, заряд, гильзу с капсюлем, снабженную в передней части бортиком для остановки поршня. Патрон снабжен стволом, внутри которого размещен дополнительный поршень и упомянутая пуля, а поршень выполнен с центральным отверстием, совмещенным со стволом, снабженным в передней части бортиком для остановки размещенного в нем дополнительного поршня. Повышается скорость полета пули. 1 ил.
Устройство предназначено для бесшумной стрельбы.
Предшествующий уровень техники
Известен бесшумный патрон (см. RU 2183813, опубл. 2002 г.), содержащий поршень, пулю, заряд, гильзу с капсюлем, снабженную в передней части бортиком для остановки поршня.
Однако прототип разгоняет пулю исключительно на длину гильзы, т.к. поршень, вытолкнув пулю, отсекает пороховые газы, закупоривая гильзу, что при этом обеспечивает бесшумную и беспламенную стрельбу. Увеличение заряда прототипа не приводит к повышению кинетической энергии пули, т.к. поршень срезает бортик гильзы и ударная волна вырывается из ствола оружия.
Раскрытие изобретения
Задачей изобретения является повышение начальной скорости вылета пули.
Задача решается тем, что бесшумный патрон содержит гильзу с капсюлем, заряд, размещенный между торцом гильзы и большим поршнем с центральным отверстием, совмещенным со стволом, внутри которого установлен малый (дополнительный) поршень и пуля. При этом гильза и ствол в передней части снабжены бортиками для остановки поршней.
Пояснения к фигурам
Бесшумный патрон поясняется чертежом, где: 1 – гильза с капсюлем, 2 – заряд, 3 – большой поршень, 4 – ствол, 5 – малый поршень, 6 – пуля и 7 – 2-заходный винт.
Работа бесшумного патрона
Бесшумный патрон работает следующим образом. При инициировании заряда 2 в гильзе 1 пороховые газы перемещают поршни 3 и 5 с одинаковым ускорением в переднюю часть гильзы 1 и ствола 4. Закрученная вдоль продольной оси пуля 6 вылетает, а поршни стопорятся соответствующими бортиками, не давая пороховым газам вырваться наружу. Предложенная конструкция обеспечивает повышение скорости пули.
Формула изобретения
Бесшумный патрон, содержащий поршень, пулю, заряд, гильзу с капсюлем, снабженную в передней части бортиком для остановки поршня, отличающийся тем, что он снабжен стволом, внутри которого размещены дополнительный поршень и упомянутая пуля, а поршень выполнен с центральным отверстием, совмещенным со стволом, снабженным в передней части бортиком для остановки размещенного в нем дополнительного поршня.
РИСУНКИ
|
|