|
|
(21), (22) Заявка: 2005115931/02, 25.05.2005
(24) Дата начала отсчета срока действия патента:
25.05.2005
(43) Дата публикации заявки: 27.11.2006
(46) Опубликовано: 20.04.2007
(56) Список документов, цитированных в отчете о поиске:
ТАНК “УРАЛ”, техническое описание и инструкция по эксплуатации (172М.ТО), книга первая, М., Военное издательство министерства обороны СССР, 1975, стр.48, рис.15, стр.132. RU 2074348 С1, 27.02.1997. RU 2166164 С1, 27.04.2001. US 6851348 B1, 08.02.2005. US 2004055451 A1, 25.03.2004.
Адрес для переписки:
620027, г.Екатеринбург, ул. Свердлова, 6, ФГУП “Уралтрансмаш”, ЦКБ “Трансмаш”
|
(72) Автор(ы):
Бутрин Юрий Филиппович (RU), Дерягин Александр Михайлович (RU), Евсюнин Василий Петрович (RU), Кукис Валерий Александрович (RU), Щелчков Сергей Александрович (RU)
(73) Патентообладатель(и):
Федеральное государственное унитарное предприятие “Уральский завод транспортного машиностроения” (ФГУП “Уралтрансмаш”) (RU)
|
(54) АРТИЛЛЕРИЙСКОЕ ОРУДИЕ РАЗДЕЛЬНОГО ЗАРЯЖАНИЯ
(57) Реферат:
Изобретение относится к области военной техники, в частности к артиллерийским орудиям. Артиллерийское орудие раздельного заряжания содержит ствол, выполненный в виде трубы, жестко соединенной с казенником, внутри которого установлен затвор, люльку и противооткатное устройство. Внутри казенника установлена подвижная камора с одним или двумя каналами с возможностью одновременного досылания по разным траекториям заряда в канал подвижной каморы, а снаряда в трубу и перемещения после этого заряда на одну линию с осью ствола. Казенник и труба установлены с возможностью их стопорения относительно люльки в конце отката. Изобретение обеспечивает повышение скорострельности орудия. 2 ил.
Изобретение относится к области военной техники, в частности к артиллерийским орудиям калибра выше 100 мм, в которых применяется раздельное заряжание снаряда и заряда, и может быть использовано в конструкциях орудий для сухопутных войск, военно-морского флота, береговой обороны.
Известна 115-мм танковая пушка Д-68 (см. Техническое описание танка Т-64 , М.: Военное издательство министерства обороны СССР, 1969, стр.81), состоящая из ствола, затвора, люльки, противооткатных устройств, ограждения со спусковым механизмом и цапф. Ствол состоит из трубы, жестко скрепленной в камерной части с кожухом, муфты, казенника. Ствол размещен внутри люльки. Казенник предназначен для размещения и крепления деталей затвора, а также для соединения ствола с тормозом отката и накатником. Цилиндрическая часть кожуха является направляющей для ствола, которой он скользит по латунным втулкам люльки во время отката и наката. Снаряд и заряд досылаются в канал ствола одновременно, однако для этого необходимо иметь значительный свободный объем за казенником для размещения на линии досылания друг за другом снаряда и заряда.
Наиболее близкой к заявляемому изобретению по совокупности существенных признаков является 125-мм танковая пушка Д-81 танка Т-72 (см. Танк Урал , техническое описание и инструкция по эксплуатации (172М.ТО), книга первая. М.: Военное издательство министерства обороны СССР, 1975, стр.48, рис.15, стр.132), состоящая из ствола, затвора, противооткатных устройств, люльки, ограждения со спусковым механизмом. Ствол пушки состоит из трубы, скрепленной в каморной части с кожухом, муфты, казенника и механизма продувания. Казенник предназначен для размещения и крепления деталей затвора, а также для соединения ствола с тормозом отката и накатником. Затвор служит для запирания канала ствола при выстреле, производства выстрела и выбрасывания стреляного поддона. Ствол размещен в люльке с возможностью относительного перемещения в процессе отката и наката после выстрела. В канале ствола при выстреле размещаются снаряд и заряд.
В пушке Д-81 снаряд и заряд заряжаются раздельно. После выстрела и завершения процесса отката-наката снаряд выводится на линию досылания и досылается в камору, затем – таким же образом заряд.
Недостатком конструкции является значительное время, которое необходимо для заряжания боеприпасов, и соответственно низкая скорострельность.
Задачей предлагаемого изобретения является повышение скорострельности орудия.
Задача решается тем, что в артиллерийском орудии раздельного заряжания, содержащем ствол, выполненный в виде трубы, жестко соединенной с казенником, внутри которого установлен затвор, люльку и противооткатное устройство, внутри казенника установлена подвижная камора с одним или двумя каналами. Подвижная камора установлена с возможностью одновременного досылания по разным траекториям заряда в канал подвижной каморы, а снаряда в трубу и перемещения после этого заряда на одну линию с осью ствола. Казенник и труба установлены с возможностью стопорения относительно люльки в конце отката.
Новая совокупность конструктивных элементов, а также наличие связей между ними позволяют, в частности, за счет:
– установки внутри казенника дополнительно подвижной каморы с одним или двумя каналами одновременно досылать по разным траекториям заряд в подвижную камору, а снаряд в трубу и перемещать после этого заряд на одну линию с осью канала ствола. Две операции: досылка снаряда и досылка заряда происходят в один промежуток времени;
– установки казенника и трубы с возможностью стопорения относительно люльки в конце отката перемещать подвижную камору с зарядом на линию оси канала ствола во время операции наката орудия.
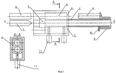
Изобретение поясняется чертежами, где на фиг.1 изображена часть артиллерийского орудия, с разрезом А-А по казеннику с поступательной подачей заряда на линию оси канала ствола; на фиг.2 изображена часть артиллерийского орудия, с разрезом В-В по казеннику с подачей заряда на линию оси канала ствола вращением каморы.
Артиллерийское орудие (фиг.1, фиг.2) содержит ствол 1, представляющий собой трубу 2, жестко соединенную с казенником 3, внутри которого размещена подвижная камора 4 и затвор 5 с горизонтальным клином. Подвижная камора 4 с каналами предназначена для размещения зарядов 6 и имеет возможность поступательного (фиг.1, сечение А-А) или вращательного (фиг.2, сечение В-В) перемещения относительно казенника 3. Снаряд 7 при этом размещен на линии досылания О-О. Казенник 3 соединен с люлькой 8 противооткатными устройствами 9, с помощью которых осуществляется процесс отката-наката. В конце отката казенник 3 с трубой 2 стопорятся относительно люльки стопором 10. Перемещение подвижной каморы 4 относительно казенника 3 осуществляется гидроцилиндрами 11.
Процесс заряжания происходит следующим образом. После очередного выстрела в конце отката казенник 3 с трубой 2 стопорятся относительно люльки 8 стопором 10. При этом открывается затвор 5. В случае применения зарядов 6 в гильзе удаляется использованная гильза и после этого снаряд 7 выводится на линию досылания О-О в трубу 2. Если применяется сгораемая гильза, то заряд 6 и снаряд 7 в конце отката уже находятся на линии досылания О-О. Далее выполняется одновременное досылание снаряда 7 в трубу 2 и заряда 6 в канал подвижной каморы 4. После этого стопор 10 выключается и казенник 3 с трубой 2 начинают накат, во время которого подвижная камора 4 гидроцилиндрами 11 перемещается внутри казенника 3 так, что в конце наката заряд 6 выходит на одну линию О-О с осью канала ствола 1 (трубы 2). При этом закрывается затвор 5, орудие готово к выстрелу. После выстрела начинается откат, и цикл повторяется с размещением заряда 6 при досылании ниже оси О-О канала ствола 1.
Если канал в подвижной каморе 4 только один, то во время отката она возвращается в первоначальное положение приводными гидроцилиндрами 11.
Таким образом, предложенное техническое решение позволит повысить скорострельность орудия за счет сокращения длительности цикла заряжания.
Формула изобретения
Артиллерийское орудие раздельного заряжания, содержащее ствол, выполненный в виде трубы, жестко соединенной с казенником, внутри которого установлен затвор, люльку и противооткатное устройство, отличающееся тем, что внутри казенника установлена подвижная камора с одним или двумя каналами с возможностью одновременного досылания по разным траекториям заряда в канал подвижной каморы, а снаряда в трубу и перемещения после этого заряда на одну линию с осью ствола, причем казенник и труба установлены с возможностью их стопорения относительно люльки в конце отката.
РИСУНКИ
MM4A – Досрочное прекращение действия патента СССР или патента Российской Федерации на изобретение из-за неуплаты в установленный срок пошлины за поддержание патента в силе
Дата прекращения действия патента: 26.05.2008
Извещение опубликовано: 10.10.2009 БИ: 28/2009
NF4A – Восстановление действия патента СССР или патента Российской Федерации на изобретение
Дата, с которой действие патента восстановлено: 27.02.2010
Извещение опубликовано: 27.02.2010 БИ: 06/2010
Прежний патентообладатель:
Федеральное государственное унитарное предприятие “Уральский завод транспортного машиностроения”
(73) Патентообладатель:
Открытое акционерное общество “Уральский завод транспортного машиностроения”
Договор № РП0000947 зарегистрирован 18.08.2010
Извещение опубликовано: 10.10.2010 БИ: 28/2010
|
|