|
|
(21), (22) Заявка: 2006105077/02, 17.02.2006
(24) Дата начала отсчета срока действия патента:
17.02.2006
(46) Опубликовано: 20.04.2007
(56) Список документов, цитированных в отчете о поиске:
Каталог фирмы “FRANKONIA”, 2005, с.83. SU 21737 A1, 31.07.1931. RU 2186320 С2, 27.07.2002. RU 95108692 A1, 27.01.1997. RU 2256142 C1, 10.07.2005. FR 2795169 A, 22.12.2000. GB 2332039 A, 09.06.1999. US 4896446 A, 30.01.1990.
Адрес для переписки:
426063, г.Ижевск, ул. Промышленная, 8, ФГУП “Ижевский механический завод”
|
(72) Автор(ы):
Матюшин Виталий Вавилович (RU), Воинков Сергей Александрович (RU)
(73) Патентообладатель(и):
Федеральное государственное унитарное предприятие “Ижевский механический завод” (RU)
|
(54) РЕГУЛИРУЕМЫЙ ПО ДЛИНЕ ПРИКЛАД
(57) Реферат:
Изобретение относится к оружейной технике. Регулируемый по длине приклад выполнен из двух полых половин, содержит вкладыш, установленный внутри приклада, и затыльник. Вкладыш выполнен из эластичного материала и снабжен выступами, выполненными на его поверхности, затыльник образован задней поверхностью вкладыша, выступающей за заднюю поверхность приклада, а на внутренней поверхности обеих половин приклада выполнены пазы для размещения в них выступов вкладыша. Изобретение обеспечивает создание простого, надежного и удобного в эксплуатации приклада. 2 ил.
Изобретение относится к оружейной технике, а именно к регулируемым по длине прикладам.
Известен регулируемый по длине приклад винтовки Anschutz KK-Buchse Super Match 1913 (см. каталог фирмы «Frankonia”, 2005 г., с.141, рис.10). Известное устройство содержит плечевой упор (затыльник), положение которого относительно приклада регулируется при помощи винтов.
Недостатками известного устройства являются сложность конструкции и большой вес, а также сложность регулировки длины приклада.
Известен также регулируемый по длине приклад винтовки модели SL 8 фирмы “Heckler & Koch” (см. каталог фирмы «Frankonia”, 2005 г., с.83), взятый за прототип. Известный регулируемый по длине приклад, выполненный из двух полых половин, содержит вкладыш, установленный внутри приклада и затыльник.
Недостатком известного устройства является неудобство в эксплуатации, т.к. для регулировки длины приклада необходимо иметь набор вкладышей и при этом сам процесс регулировки длины ствола, заключающийся в подборе вкладыша необходимого размера, достаточно сложен и длителен.
Задачей заявленного изобретения является создание простого, надежного и удобного в эксплуатации регулируемого по длине приклада.
Поставленная задача решается за счет того, что в регулируемом по длине прикладе, выполненном из двух полых половин и содержащем вкладыш, установленный внутри приклада, и затыльник, вкладыш выполнен из эластичного материала и снабжен выступами, выполненными на его поверхности, затыльник образован задней поверхностью вкладыша, выступающей за заднюю поверхность приклада, а на внутренней поверхности обеих половин приклада выполнены пазы для размещения в них выступов вкладыша.
Использование заявленного изобретения позволяет повысить удобство эксплуатации оружия, так как не требуется наличия вкладышей. Выполнение на вкладыше, размещенном внутри приклада, выступов упрощает процесс регулировки длины приклада. Выполнение вкладыша из эластичного материала позволяет выполнить посадку с натягом. Обе половины приклада плотно сжимают вкладыш, образуя жесткое, неподвижное соединение, тем самым повышая надежность устройства. Кроме того, вкладыш, задняя поверхность которого образует затыльник, выполняет дополнительную функцию демпфирующего устройства, гасящего импульс отдачи при выстреле.
Заявленное устройство поясняется чертежами, на которых изображено:
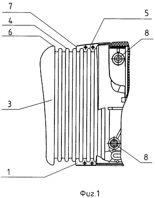
Фиг.1 – общий вид устройства (одна половина приклада условно не показана);
Фиг.2 – детали заявленного устройства в аксонометрии.
Регулируемый по длине приклад 1 (фиг.1), состоящий из двух полых половин 2 (фиг.2), содержит вкладыш 3 (фиг.1), выполненный из эластичного материала (например, из эластомера или резины). На боковой поверхности вкладыша 3 выполнены выступы 4 для размещения их в пазах 5, выполненных на внутренней поверхности обеих половин 2 приклада 1. Задняя поверхность 6 вкладыша 3, выступающая за заднюю поверхность 7 приклада 1, выполнена в виде затыльника. Обе половины 2 приклада 1 соединяются друг с другом при помощи винтов 8.
Заявленное устройство работает следующим образом. Для того чтобы произвести регулировку длины приклада, необходимо освободить винты 8, скрепляющие половины 2 приклада 1 и вкладыш 3. Затем нужно развести половины 2 и переместить освободившийся вкладыш 3 на необходимую величину, установив при этом выступы 4 вкладыша 3 в соответствующих пазах 5 обеих половин 2 (фиг.2) приклада 1. Затем обе половины приклада 1 скрепить винтами 8.
Формула изобретения
Регулируемый по длине приклад, выполненный из двух полых половин и содержащий вкладыш, установленный внутри приклада, и затыльник, отличающийся тем, что вкладыш выполнен из эластичного материала и снабжен выступами, выполненными на его поверхности, затыльник образован задней поверхностью вкладыша, выступающей за заднюю поверхность приклада, а на внутренней поверхности обеих половин приклада выполнены пазы для размещения в них выступов вкладыша.
РИСУНКИ
|
|