|
|
(21), (22) Заявка: 2005123099/03, 20.07.2005
(24) Дата начала отсчета срока действия патента:
20.07.2005
(46) Опубликовано: 20.04.2007
(56) Список документов, цитированных в отчете о поиске:
SU 1444606 A1, 15.12.1988. RU 2040758 C1, 25.07.1995. RU 2185572 C2, 20.07.2002. RU 2212584 C2, 20.09.2003. RU 2196936 C2, 20.03.2003. SU 929981 A1, 23.05.1982. SU 1693339 A1, 23.11.1991.
Адрес для переписки:
620012, г.Екатеринбург, пл. I пятилетки, ООО “Уралмаш-Метоборудование”
|
(72) Автор(ы):
Вяткин Андрей Анатольевич (RU), Жилкин Владимир Прокопьевич (RU), Скачкова Софья Семеновна (RU)
(73) Патентообладатель(и):
Общество с ограниченной ответственностью “Уралмаш-Металлургическое оборудование” (RU)
|
(54) ЗАГРУЗОЧНОЕ УСТРОЙСТВО ТЕПЛОВОГО АГРЕГАТА ДЛЯ ПЕРЕРАБОТКИ ТВЕРДЫХ БЫТОВЫХ ОТХОДОВ
(57) Реферат:
Изобретение относится к области термической переработки твердых бытовых отходов (ТБО) и может быть использовано в установках для термической переработки отходов методом слоевого сжигания, преимущественно с подвижными колосниками. Загрузочное устройство теплового агрегата для переработки твердых бытовых отходов содержит бункер с окном выдачи материала, барабан-питатель с приводом вращения, а также средство стабилизации потока материала. Средство стабилизации выполнено в виде лопаток, жестко закрепленных непосредственно на барабане-питателе под углом к касательной его образующей в направлении выдачи материала, равным 1-1,2 угла естественного откоса материала, при этом шаг между лопатками по образующей барабана-питателя и высота лопатки по нормали к образующей составляют 2-5 диаметров частиц материала, причем барабан-питатель с лопатками смонтирован в габарите окна выдачи бункера и имеет возможность смещения из окна выдачи бункера. Технический результат: обеспечение равномерной загрузки и максимально рыхлой укладки неоднородного, склонного к слеживанию материала из бункера на движущуюся колосниковую решетку. 1 з.п. ф-лы, 2 ил.
Изобретение относится к области термической переработки твердых бытовых отходов (ТБО) и может быть использовано в установках для термической переработки отходов методом слоевого сжигания, преимущественно с подвижными колосниками.
Известно загрузочное устройство для термических установок со слоевым сжиганием ТБО на наклонных решетках [Виллевальд Р.С., Беньяминов Д.Н. Проектирование и эксплуатация мусоросжигательных заводов. М. Стройиздат, 1982, стр.23-24, фиг.5].
Загрузочное устройство содержит загрузочную воронку, течку, неподвижный стол и подвижный механический толкатель (питатель). Подвижный толкатель (питатель) предназначен для подачи отходов со стола на колосниковое полотно решетки. Питатель расположен горизонтально и совершает возвратно-поступательное движение с ходом, регулируемым в зависимости от характеристики поступающих отходов. Питатель выполнен в виде сварной рамы, перемещающейся по четырем роликам. Передняя часть питателя – плунжер – скользит по поверхности неподвижного стола, расположенного под загрузочной воронкой. Привод питателя – гидравлический. Часть питателя, выступающая в топку, выполняется водоохлаждаемой либо изготавливается из жаростойких материалов.
Недостатками этого загрузочного устройства является дискретная загрузка, что делает невозможным его использование для загрузки твердых бытовых отходов в термическую установку с подвижными колосниками в виде конвейерной ленты (см. заявку на изобретение №2003114185, МКИ F 23 G 5/00), так как уплотнение загружаемого материала при толкании вызывает загрузку на конвейер отдельных массивов слежавшегося материала с повышенной плотностью, что впоследствии затрудняет доступ кислорода внутрь массива, замедляет горение материала и может привести к локальному прекращению процесса горения и неполной переработке ТБО. Кроме того, использование гидравлики в условиях запыленности, повышенных температур и ударных нагрузок снижает надежность работы устройства.
Известно загрузочное устройство для загрузки материала на конвейер термической установки, например агломерационной машины (Авторское свидетельство SU 1444606, МКИ 4 F 27 B 21/06), содержащее промежуточный бункер с окном выдачи материала и размещенный под ним барабанный питатель с прилегающим к нему по всей длине стабилизатором потока материала в виде поворотного скребка, конструкция которого принята в качестве прототипа.
Это загрузочное устройство обеспечивает равномерную подачу достаточно однородного материала на конвейер термической установки, однако при работе с твердыми бытовыми отходами, имеющими неоднородную структуру, склонность к слеживанию и недостаточное сцепление с поверхностью барабана, возможно прекращение устойчивого дозирования материала барабаном питателем из-за нарушения схода материала из окна выдачи бункера, при этом конвейерная лента загрузится неравномерно, горение слоя приобретет канальный характер, что приведет к неполному сгоранию ТБО. Неравномерная загрузка конвейерной ленты вызовет также резкие колебания аэродинамического сопротивления слоя, что приведет к разбалансу газопотоков термической установки и к выбросу газов в рабочее помещение
Кроме этого, такая конструкция загрузочного устройства не может обеспечить достаточную рыхлость неоднородного материала из-за неэффективного разрушения массивов, особенно по высоте, поскольку слой материала снимается стабилизатором с поверхности барабана и прямолинейно перемещается по его полкам толстым слоем. В результате на конвейер могут попасть плотные массивы материала и, как следствие, замедлится или полностью прекратится процесс горения таких массивов. При этом возникнет опасность поступления на разгрузку не полностью сгоревших ТБО, т.е. нарушения технологического процесса их переработки, а для обеспечения завершения процесса слоевого горения потребуется уменьшение скорости конвейера, что снизит производительность термической установки.
Следует также отметить трудность прочистки окна бункера при зависании слоя, вызванном слеживанием материала. Из-за затрудненного доступа к окну выдачи материала для реализации прочистки окна и осмотра состояния барабана-питателя потребуется длительная остановка процесса.
Задача, решаемая изобретением, заключается в обеспечении равномерной загрузки и максимально рыхлой укладки неоднородного, склонного к слеживанию материала из бункера на движущуюся колосниковую решетку.
Эта задача решается следующим образом.
В известном загрузочном устройстве теплового агрегата для переработки твердых бытовых отходов, содержащем бункер с окном выдачи материала, барабан-питатель с приводом вращения, а также средство стабилизации потока материала, согласно изобретению средство стабилизации выполнено в виде лопаток, жестко закрепленнных непосредственно на барабане-питателе под углом к касательной его образующей в направлении выдачи материала, равным 1-1,2 угла естественного откоса материала, при этом шаг между лопатками по образующей барабана-питателя и высота лопатки по нормали к образующей составляют 2-5 диаметров частиц материала, причем барабан-питатель с лопатками смонтирован в габарите окна выдачи бункера, кроме этого, барабан-питатель смонтирован с возможностью смещения из окна выдачи бункера.
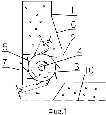
На фиг.1 изображен общий вид загрузочного устройства теплового агрегата для переработки твердых бытовых отходов (поперечный разрез).
На фиг.2 изображен вид устройства при смещении барабана-питателя из окна выдачи.
Загрузочное устройство теплового агрегата для переработки твердых бытовых отходов состоит из верхнего бункера 1 с окном 2 выдачи материала, барабана-питателя 3, смонтированного в габарите окна 2, с возможностью вращения от привода 4. На барабане-питателе 3 для стабилизации потока материала под углом к касательной его образующей в направлении выдачи материала с шагом t жестко закреплены лопатки 5. Угол составляет 1-1,2 угла естественного откоса материала, а шаг t и высота h лопаток 5 по нормали к образующей барабана-питателя 3 составляют 2-5 диаметров частиц материала. Бункер 1 имеет расширение 6 в нижней части до габаритов окна выдачи 2.
Барабан-питатель 3 смонтирован в емкости 7, установленной на тележке 8, имеющей возможность перемещения по направляющим 9 в направлении, противоположном подаче материала, при этом емкость 7 выполнена с возможностью пристыковки к бункеру 1.
Устройство работает следующим образом.
Твердые бытовые отходы (ТБО) поступают в бункер 1 и самотеком достигают окна выдачи 2. Посредством привода 4 барабан-питатель 3 приводится во вращение, при этом лопатки 5, проходя под окном выдачи 2, захватывают прилегающий к барабану-питателю 3 слой материала толщиной, равной высоте h лопатки 5, т.е. 2-5 диаметров частиц, вследствие чего слой материала расчленяется кромками лопаток 5 на массивы, ограниченные величиной шага t, равного 2-5 диаметрам частиц. Далее массивы сходят с лопаток 5, падают на колосниковую решетку 10 и разрушаются, образуя стабильно равномерный и рыхлый слой по всей ее ширине. Возможная высота слоя от 300 до 600 мм обеспечивается плавным регулированием числа оборотов барабана-питателя 3.
При шаге t, меньшем 2-х диаметров частиц, имеет место заклинивание частиц ТБО между лопатками 5, при шаге t, большем 5-ти диаметров, массивы получаются слишком большими и в дальнейшем не разрушаются. При высоте h лопатки 5 менее 2-х диаметров частиц ТБО скорость вращения барабана-питателя 3 превышает 5 об/мин, что приводит к большим динамическим нагрузкам на привод 4. Увеличение высоты лопаток 5 сверх 5-ти диаметров приводит к формированию крупных неразрушаемых массивов. Разворот лопаток 5 по ходу подачи материала способствует сходу массивов при перемещении лопатки 5 из верхнего положения на угол менее 90 градусов (в момент, когда лопатка наклоняется под углом естественного откоса материала), при этом массивы падают с большой высоты и разрушаются. При большем угле установки лопаток 5 высота падения массивов уменьшается. При меньшем угле происходит заклинивание частиц между лопатками 5 и образующей барабана-питателя 3.
Расширение 6 бункера 1 облегчает проходимость материала к поверхности барабана-питателя 3.
Для прочистки окна выдачи материала, периодических осмотров и ремонтов устройства нижняя емкость 7 с барабаном-питателем 3 выкатывается на тележке 8 по направляющим 9 в сторону головной части агрегата без съема бункера 1.
Использование изобретения позволит снизить энергозатраты на фильтрацию воздуха через слой, благодаря равномерной и рыхлой укладке частиц обеспечивает интенсивное и полное выгорание частиц ТБО, повышает производительность машины и гарантирует экологическую безопасность процесса слоевого сжигания. Кроме того, снижаются простои машины за счет сокращения времени на обслуживание оборудования. Применение изобретения возможно также в черной и цветной металлургии для организации загрузки шихты на агломашину, а также в строительстве при обжиге известняка или клинкера на конвейерных машинах.
Формула изобретения
1. Загрузочное устройство теплового агрегата для переработки твердых бытовых отходов, содержащее бункер с окном выдачи материала, барабан-питатель с приводом вращения, а также средство стабилизации потока материала, отличающееся тем, что средство стабилизации выполнено в виде лопаток, жестко закрепленных непосредственно на барабане-питателе под углом к касательной его образующей в направлении выдачи материала, равным 1-1,2 угла естественного откоса материала, при этом шаг между лопатками по образующей барабана-питателя и высота лопатки по нормали к образующей составляют 2-5 диаметров частиц материала, причем барабан-питатель с лопатками смонтирован в габарите окна выдачи бункера.
2. Устройство по п.1, отличающееся тем, что барабан-питатель смонтирован с возможностью смещения из окна выдачи бункера.
РИСУНКИ
PC4A – Регистрация договора об уступке патента СССР или патента Российской Федерации на изобретение
Прежний патентообладатель:
Общество с ограниченной ответственностью “Уралмаш – Металлургическое оборудование”
(73) Патентообладатель:
Общество с ограниченной ответственностью “Уралмаш-Инжиниринг”
Договор № РД0039419 зарегистрирован 11.08.2008
Извещение опубликовано: 20.09.2008 БИ: 26/2008
|
|