|
|
(21), (22) Заявка: 2004110402/06, 29.08.2002
(24) Дата начала отсчета срока действия патента:
29.08.2002
(30) Конвенционный приоритет:
07.09.2001 DK PA 2001 01305
(43) Дата публикации заявки: 10.05.2005
(46) Опубликовано: 20.04.2007
(56) Список документов, цитированных в отчете о поиске:
WO 01/53730 A1, 26.07.2001. WO 1208295, 04.05.1995. SU 1551927 A1, 23.03.1990. SU 672422 A, 05.07.1979. DE 3508986 A1, 19.09.1985.
(85) Дата перевода заявки PCT на национальную фазу:
07.04.2004
(86) Заявка PCT:
DK 02/00565 (29.08.2002)
(87) Публикация PCT:
WO 03/023264 (20.03.2003)
Адрес для переписки:
129010, Москва, ул. Б.Спасская, 25, стр.3, ООО “Юридическая фирма Городисский и Партнеры”, пат.пов. Г.Б. Егоровой, рег.№ 513
|
(72) Автор(ы):
МОСБЮ Петер (DK), ИБСЕН Бьярне (DK)
(73) Патентообладатель(и):
ФЛОУКОН ИНТЕРНЭШНЛ А/С (DK)
|
(54) ВКЛАДЫШ ДЛЯ ДИНАМИЧЕСКОГО УПРАВЛЕНИЯ ПОТОКОМ
(57) Реферат:
Изобретение касается вкладыша для установки в корпус клапана или трубчатого элемента для динамического управления потоком движущейся среды. Вкладыш содержит первый чашеобразный участок с площадью оттока, второй чашеобразный участок, расположенный смещаемым по оси внутри первого чашеобразного участка с площадью притока, прижимную пружину, которая стремится оттолкнуть два чашеобразных участка друг от друга. Второй чашеобразный участок выполнен относительно первого чашеобразного участка таким образом, что площадь притока первого чашеобразного участка закрывается в ответ на смещение второго чашеобразного участка относительно первого чашеобразного участка. Помимо площади притока второй чашеобразный участок содержит, по меньшей мере, одну осевую прорезь притока, выполненную в боковых стенках, причем эта прорезь притока закрывается в ответ на смещение второго чашеобразного участка относительно первого чашеобразного участка. Изобретение позволяет обеспечить более высокую степень пропускной способности в единицу времени. 8 з.п. ф-лы, 6 ил.
Изобретение касается вкладыша для установки в корпус клапана или трубчатый элемент для динамического управления потоком движущейся среды, который содержит:
– первый чашеобразный участок с площадью оттока, содержащей по меньшей мере одну осевую прорезь оттока, выполненную в боковой стенке первого чашеобразного участка,
– второй чашеобразный участок, расположенный смещаемым по оси внутри первого чашеобразного участка с площадью притока,
– прижимную пружину, приспособленную для приложения силы, которая стремится отжать два чашеобразных участка друг от друга,
причем второй чашеобразный участок выполнен относительно первого чашеобразного участка таким образом, что по меньшей мере одна осевая прорезь оттока, выполненная в боковой стенке первого чашеобразного участка, закрывается в ответ на смещение второго чашеобразного участка относительно первого чашеобразного участка.
Один такой вкладыш известен, например, из публикации WO 95/12082, в которой описан клапан с вкладышем, выполненным таким образом. В этом вкладыше площадь притока является постоянной, тогда как площадь оттока изменяется в ответ на перепад давления во вкладыше, причем прорези, составляющие площадь оттока в первом чашеобразном участке, постепенно закрываются вторым чашеобразным участком, когда перепад давления увеличивается. Тем самым площадь оттока уменьшается, посредством чего в случае изменяющегося перепада давления получают по существу постоянное количество текущей жидкости в единицу времени.
Однако было обнаружено, что практически полностью постоянное количество в единицу времени не достигается, и это происходит прежде всего из-за изменений в силе сжатия пружины, что является характерным для падения давления в области притока вкладыша.
Поэтому задача настоящего изобретения состоит в том, чтобы создать вкладыш для установки в корпус клапана или трубчатый элемент для динамического управления потоком движущейся среды и с помощью этого вкладыша в еще более высокой степени обеспечить возможность получения постоянной пропускной способности в единицу времени по сравнению с вкладышами, известными из уровня техники.
Технический результат достигается посредством вкладыша, образованного так, что площадь притока второго чашеобразного участка содержит по меньшей мере одну осевую прорезь притока, выполненную в боковой стенке второго чашеобразного участка, причем эта прорезь притока закрывается в ответ на смещение второго чашеобразного участка относительно первого чашеобразного участка.
Таким образом, получается, что площадь притока так же, как площадь оттока, изменяется в ответ на перепад давления во вкладыше, посредством чего можно получить полностью постоянный поток жидкости в единицу времени, несмотря на изменения в силе сжатия пружины от используемой прижимной пружины.
Согласно предпочтительному варианту осуществления, площадь по меньшей мере одной осевой прорези притока должна быть выбрана так, чтобы удовлетворять следующему условию:
Vi/Vi = -1/2· s/s,
где Vi представляет общую площадь притока, Vi представляет изменение в общей площади притока, s представляет полное сжатие прижимной пружины, а s представляет изменение полного сжатия прижимной пружины. Удовлетворение этому условию приводит к полной компенсации увеличения в силе сжатия пружины, когда прижимная пружина сжимается во время деформации (сжатия) вкладыша.
Вкладыш предпочтительно выполняют так, что его деформация имеет место в интервале 0-35% сжатия прижимной пружины от ее свободного конца. Внутри этого интервала ответная сила сжатия прижимной пружины линейно пропорциональна ее сжатию, и поэтому можно получить простую конфигурацию прорезей притока. Таким образом, при таких условиях можно образовать по меньшей мере одну осевую прорезь притока с постоянной шириной.
Согласно предпочтительному варианту осуществления по меньшей мере одну осевую прорезь притока закрывают уплотняющим кольцом, размещенным на открытом конце первого чашеобразного участка, причем это уплотняющее кольцо образует динамическое уплотнение относительно второго чашеобразного участка.
Площадь притока второго чашеобразного участка в различных вариантах осуществления может содержать ряд предпочтительно круглых отверстий притока, выполненных в его боковой стенке, отверстия притока, выполненные на его концевом основании, или в форме отверстий притока, размеры которых можно непрерывно регулировать. Эти различные варианты осуществления отверстий притока приводят к различным преимуществам, описанным ниже.
Далее изобретение будет более подробно описано со ссылкой на чертежи, на которых;
на фиг.1 изображен вид в продольном разрезе первого варианта осуществления вкладыша согласно изобретению;
на фиг.2 изображен вид в продольном разрезе второго варианта осуществления вкладыша согласно изобретению;
на фиг.3A изображен вид в продольном разрезе третьего варианта осуществления вкладыша согласно изобретению;
на фиг.3В изображен вид в поперечном разрезе по линии А-А варианта осуществления, показанного на фиг.3A;
на фиг.4A изображен вкладыш, показанный на фиг.1, размещенный в корпусе клапана;
на фиг.4B изображено то же, что и на фиг.4A, с активизированным вкладышем;
на фиг.5 изображена характеристическая кривая потока с изменяющимся перепадом давления во вкладыше;
на фиг.6 изображен вид в продольном разрезе вкладыша, показанного на фиг.1, и его связанная прижимная пружина.
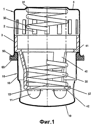
На фиг.1 показан первый вариант осуществления вкладыша согласно изобретению. Вкладыш содержит первый чашеобразный участок 1 с боковой стенкой 3 и концевым основанием 4 и второй чашеобразный участок 10 с боковой стенкой 18 и концевым основанием 19. Второй чашеобразный участок 10 можно перемещать в осевом направлении внутрь в первом чашеобразном участке 1, как будет описано ниже. Между двумя чашеобразными участками 1, 10 размещена частично сжатая прижимная пружина 30, находящаяся на одном конце 31 в упоре с концевым основанием 4 первого чашеобразного участка 1, в то время как другой конец находится в упоре с концевым основанием 42 направляющей 40 пружины. Направляющая 40 пружины содержит первое кольцо 41, которое плотно посажено внутри первого чашеобразного участка 1, и второе кольцо, которое составляет концевое основание 42 направляющей 40 пружины. Между двумя кольцами 41, 42 направляющая 40 пружины перфорирована большими отверстиями, которые обеспечивают прохождение среды без существенных снижений давления.
Направляющая 40 пружины примыкает к второму чашеобразному участку 10 по нижней стороне кольца 41 и закреплена относительно него посредством силы сжатия пружины, передаваемой через прижимную пружину 30. Между первым чашеобразным участком 1 и вторым чашеобразным участком 10 размещено уплотняющее кольцо 50, которое образует динамическое уплотнение относительно второго чашеобразного участка 10, когда последний смещается по направлению оси относительно первого чашеобразного участка 1. Для скрепления всех участков, чтобы образовать один сборный вкладыш, расположена развальцовка 60, которая закрывает снаружи выступающий фланец на первом чашеобразном участке 1 и проходит под уплотняющим кольцом 50 и выступающим наружу фланцем, располагаясь над таким же фланцем на втором чашеобразном участке 10.
В боковой стенке 3 первого чашеобразного участка 1 выполнен ряд проходящих в осевом направлении прорезей 2 оттока, которые в показанном варианте осуществления равномерно распределены по всей периферии. Также во втором чашеобразном участке 10 выполнены отверстия 11 притока, которые в этом варианте осуществления образованы как круглые отверстия, расположенные в боковой стенке 18. Во втором чашеобразном участке 10 также выполнен ряд проходящих в осевом направлении прорезей 12 притока с постоянной шириной, действие которых будет описано ниже со ссылкой на фиг.4A и 4B.
На фиг.2 показан вид в продольном разрезе второго варианта осуществления вкладыша согласно изобретению. Этот вкладыш соответствует по существу вкладышу, показанному на фиг.1, и к аналогичным элементам относятся одинаковые ссылочные позиции.
Различие между вкладышами, показанными на фиг.1 и 2, состоит в расположении отверстий 11 притока. Во вкладыше, показанном на фиг.1, ряд отверстий 11 притока расположен в боковой стенке 18 второго чашеобразного участка 10, тогда как вкладыш, показанный на фиг.2, снабжен только одним отверстием 11 притока, которое расположено в концевом основании 19 второго чашеобразного участка 10. Для потока не имеет никакого значения, расположены ли отверстия 11 притока в боковой стенке 18 или в концевом основании 19, но можно получить различные преимущества с помощью выбора одного местоположения, а не другого.
Располагая ряд отверстий 11 притока в боковой стенке 18 (фиг.1), можно регулировать размер общей площади притока, либо изменяя размер отверстий 11 притока во время изготовления, либо посредством вставок наконечника (не показанных), которые можно установить в кольцеобразных отверстиях 11 притока. Таким образом, можно регулировать очень простым способом максимальную пропускную способность вкладыша. Используя, например, шесть отверстий 11 притока и только три различных размера прорезей (факультативно, посредством вставок наконечника), можно таким образом задавать общую площадь потока до 13 различных размеров.
Располагая отверстия 11 притока в концевом основании 19 второго чашеобразного участка 10 (фиг.2), получают более короткое осевое пространство второго чашеобразного участка 10, что может иметь значение при включении в клапан или трубчатый элемент. Кроме того, этот вариант осуществления более просто изготовить, чем вариант осуществления с отверстиями 11 притока, расположенными в боковой стенке 18 второго чашеобразного участка 10.
На фиг.3A показан вкладыш, который можно непрерывно регулировать для получения требуемой площади притока и, таким образом, требуемой максимальной пропускной способности в единицу времени через вкладыш. Снова в этом варианте осуществления одинаковые ссылочные позиции, используемые на фиг.1 и 2, относятся к аналогичным элементам.
Второй чашеобразный участок 10 в варианте осуществления, показанном на фиг.3A, не имеет изготовленное за одно целое концевое основание 19, как имеет место в вариантах осуществления, показанных на фиг.1 и 2. Второй чашеобразный участок 10 снабжен юбкой 13, которая выполнена таким образом, что она закрывает одно или более отверстий 11 притока посредством ее аналогичного смещения. Юбка 13 предпочтительно образована так, что вещество способно протекать через нее без существенного снижения давления, посредством чего ее влияние на поток минимально. Кроме того, для предотвращения вращения юбки 13 выполнено средство, которое для изображенного варианта осуществления показано более подробно на фиг.3 В, который представляет вид в разрезе по линии А-А на фиг.3A. Это средство содержит проходящее в осевом направлении удлиненное углубление 17 во втором чашеобразном участке 10 и выступ 13A, находящийся в зацеплении с углублением 17 и выполненный на одной ножке на юбке 13.
С помощью направляющей резьбы 14 юбка 13 соединена со шпинделем 15 таким образом, что вращение шпинделя 15 обеспечивает линейное осевое смещение юбки 13 для большего или меньшего закрывания площадей 11 притока. Размер площади притока, таким образом, предварительно устанавливают с помощью вращения шпинделя 15 посредством подходящего ключа, и впоследствии установку можно заблокировать с помощью стопорной гайки 16, которая, когда затянута, предотвращает нежелательную самоактивизацию шпинделя 15.
На фиг.4A и 4B изображен вид сверху варианта осуществления вкладыша согласно изобретению, показанного на фиг.1 и размещенного в корпусе 80 клапана. Как показано, выступающий наружу фланец на первом чашеобразном участке 1 опирается на выступающий внутрь фланец 83, размещенный в корпусе клапана, где расположено О-образное кольцо 81 между вкладышем и корпусом 80 клапана, чтобы обеспечить статическое уплотнение между этими участками. Таким образом осуществляется прохождение вещества через вкладыш и его управление этим вкладышем. Пружинящее кольцо устанавливают в углублении в корпусе 80 клапана для закрепления там вкладыша.
Если корпус 80 клапана размещен в трубчатой системе, вкладыш первоначально займет положение, показанное на фиг.4A, в котором перепад давления в клапане настолько маленький, что вкладыш не приводится в действие для управления пропускной способностью. Эта ситуация показана более подробно на фиг.5, на которой изображена характеристическая кривая потока в случае изменяющегося перепада давления во вкладыше. Пока перепад давления ниже порога управления, обозначенного на фиг.5 пунктирной линией, сила сжатия прижимной пружины 30 будет достаточно большой, чтобы предотвратить смещение второго чашеобразного участка 10 в первый чашеобразный участок 1.
В случае перепада давления выше вкладыша, увеличивающегося до значения, которое выше обозначенного порога, сила сжатия прижимной пружины 30 больше не будет способна сопротивляться входному давлению, и второй чашеобразный участок 10 будет постепенно перемещаться в первый чашеобразный участок 1, как показано на фиг.4 В. Как видно из фиг.4B, отверстия 11 притока не закрыты, тогда как прорези 2 притока постепенно закрываются в результате увеличивающегося перепада давления. Это действие, которое по существу известно, приводит к приблизительно постоянной пропускной способности в единицу времени через вкладыш. Однако прижимная пружина 30 взаимодействует с силой сжатия пружины, которая увеличивается с увеличением перепада давления и, таким образом, увеличивает смещение второго чашеобразного участка 10 в первый чашеобразный участок 1, и чтобы принять во внимание это изменение в силе сжатия пружины, во втором чашеобразном участке 10, согласно изобретению, выполнены удлиненные в осевом направлении прорези 12 притока с постоянной шириной, которые закрываются в ответ на смещение второго чашеобразного участка 10 в первый чашеобразный участок 1. Закрывания прорезей 12 притока достигают с помощью уплотняющего кольца 50, которое образует, как упомянуто выше, динамическое уплотнение относительно второго чашеобразного участка 10, когда последний перемещается по оси относительно первого чашеобразного участка 1.
В дальнейшем будет описана теория по настоящему изобретению со ссылкой на фиг.6, которая представляет вид в продольном разрезе вкладыша, показанного на фиг.1, установленного в корпусе клапана, и связанной прижимной пружины 30 в несмещенном состоянии.
Первый чашеобразный участок 1 и второй чашеобразный участок 10 можно рассматривать как цилиндр и поршень, соответственно, и такой поршень примет положение относительно цилиндра, при котором перепад давления (P1-P2) и его воздействие на площадь A поршня будет сбалансировано силой F сжатия пружины, которая является результатом ответного сжатия прижимной пружины 30. Перепад давления (P1-P2) создается давлением P1 с внешней стороны вкладыша и давлением P2 внутри вкладыша и зависит от размера общей площади притока. Сила F сжатия прижимной пружины 30, в случае цилиндрической прижимной пружины, пропорциональна полному сжатию прижимной пружины 30, и в дальнейшем жесткость пружины будет обозначаться Cs.
Суммарное снижение давления выше вкладыша можно определить как (P1-P3) и оно разделяется на перепад давления (P1-P2) и оставшееся падение давления (P2-P3). Оставшееся падение давления (P2-P3) влияет только на относительную деформацию (сжатие) вкладыша и, таким образом, не является частью следующих вычислений.
На основании уравнивания сил для поршня приводится следующее:

и поскольку сила F давления, как указано выше, пропорциональна полному сжатию s прижимной пружины 30 и выражается уравнением:

комбинация уравнений (1) и (2) дает:

из чего можно вывести следующее дифференциальное уравнение:

Пропускная способность или поток Q через общую площадь притока определяется произведением площади Vi притока, постоянной пропускной способностью или коэффициентом fc потока и квадратом перепада давления по площади притока, то есть:

Из этого можно вывести дифференциальное уравнение:

Результат функции управления вкладыша, заключающийся в поддерживании постоянной пропускной способности, состоит в том, что требуется выполнять условие d(Q)= 0, и это означает, что:



Из уравнений (8), (1), (2) и (4) можно вывести:



Уравнение (10) показывает, что посредством сравнительно небольших изменений в деформации вкладыша относительно полного сжатия прижимной пружины 30 от ее свободной длины, относительное изменение в площади притока будет пропорционально деформации вкладыша. Это также можно выразить следующим образом:

Таким образом, видно, что, по меньшей мере, в случае относительной деформации менее 35% сжатия прижимной пружины 30 от ее свободной длины, линейное изменение площади притока в соответствии с уравнением (11) приведет к постоянной пропускной способности через вкладыш. Именно это обстоятельство используется в настоящем изобретении, в котором второй чашеобразный участок 10 снабжен осевыми прорезями 12 притока с постоянной шириной, которые закрываются в ответ на смещение второго чашеобразного участка 10 в первый чашеобразный участок 1.
Изобретение было описано со ссылкой на предпочтительные варианты осуществления. Однако возможно использовать другие конфигурации вкладыша, отличающиеся от описанных выше и показанных на чертежах. Например, можно выполнить большее или меньшее количество отверстий 11 притока и/или прорезей 12 притока, и аналогично этому, количество отверстий 2 оттока также может быть различным по необходимости. Размер и местоположение отверстий 11 притока, прорезей 12 притока и прорезей 2 оттока также могут быть различными по необходимости. Наконец, можно получить одну отдельную прорезь 12 притока с постоянной шириной, объединяя множество прорезей притока с меняющимися значениями ширины, обеспечивая постоянную сумму этих значений ширины в любом поперечном сечении.
Формула изобретения
1. Вкладыш для динамического управления потоком движущейся среды, установленный в корпусе (80) клапана или трубчатом элементе, содержащий
первый чашеобразный участок (1) с площадью оттока, включающий, по меньшей мере, одну осевую прорезь (2) оттока, выполненную в боковой стенке (3) первого чашеобразного участка,
второй чашеобразный участок (10), расположенный с возможностью смещения по оси внутри первого чашеобразного участка (1) с площадью притока,
прижимную пружину (30), приспособленную для приложения силы (F), которая стремится оттолкнуть два чашеобразных участка (1, 10) друг от друга,
причем второй чашеобразный участок (10) выполнен относительно первого чашеобразного участка (1) таким образом, что, по меньшей мере, одна осевая прорезь (2) оттока, выполненная в боковой стенке (3) первого чашеобразного участка (1), закрывается в ответ на смещение второго чашеобразного участка (10) относительно первого чашеобразного участка (1),
отличающийся тем, что площадь притока второго чашеобразного участка (10) содержит, по меньшей мере, одну осевую прорезь (12) притока, выполненную в боковой стенке (18) второго чашеобразного участка (10), причем эта прорезь (12) притока закрывается в ответ на смещение второго чашеобразного участка (10) относительно первого чашеобразного участка (1).
2. Вкладыш по п.1, отличающийся тем, что площадь, по меньшей мере, одной осевой прорези (12) притока выбирают так, чтобы удовлетворять следующему условию:
Vi/Vi=-1/2· s/s,
где Vi представляет общую площадь притока, Vi представляет изменение в общей площади притока, s представляет полное сжатие прижимной пружины, a s представляет изменение полного сжатия прижимной пружины.
3. Вкладыш по п.2, отличающийся тем, что деформация вкладыша имеет место в интервале 0-35% сжатия прижимной пружины (30) от ее свободного конца.
4. Вкладыш по п.3, отличающийся тем, что, по меньшей мере, одна осевая прорезь (12) притока имеет постоянную ширину.
5. Вкладыш по любому из пп.1-4, отличающийся тем, что, по меньшей мере, одну осевую прорезь (12) притока закрывают уплотняющим кольцом (50), размещенным на открытом конце первого чашеобразного участка (1), причем это уплотняющее кольцо (50) образует динамическое уплотнение относительно второго чашеобразного участка (10).
6. Вкладыш по п.1, отличающийся тем, что площадь притока второго чашеобразного участка (10) содержит ряд отверстий (11) притока, выполненных в его боковой стенке (18).
7. Вкладыш по п.6, отличающийся тем, что отверстия (11) притока имеют круглую форму.
8. Вкладыш по п.1, отличающийся тем, что площадь притока второго чашеобразного участка (10) содержит отверстие (11) притока, выполненное в его концевом основании (19).
9. Вкладыш п.1, отличающийся тем, что площадь притока второго чашеобразного участка (10) содержит отверстия (11) притока, размер которых непрерывно регулируется.
РИСУНКИ
MM4A – Досрочное прекращение действия патента СССР или патента Российской Федерации на изобретение из-за неуплаты в установленный срок пошлины за поддержание патента в силе
Дата прекращения действия патента: 30.08.2009
Извещение опубликовано: 20.07.2010 БИ: 20/2010
|
|