|
|
(21), (22) Заявка: 2005136505/11, 24.11.2005
(24) Дата начала отсчета срока действия патента:
24.11.2005
(46) Опубликовано: 20.04.2007
(56) Список документов, цитированных в отчете о поиске:
RU 2255872 C1, 10.07.2005. US 4861115 A, 29.08.1989. EP 0103716 A1, 28.03.1984. RU 2090412 C1, 20.09.1997.
Адрес для переписки:
399770, Липецкая обл., г. Елец, ул. Коммунаров, 28, Елецкий государственный университет им. И.А. Бунина
|
(72) Автор(ы):
Сливинский Евгений Васильевич (RU), Зайцев Андрей Анатольевич (RU), Шалеев Евгений Юрьевич (RU)
(73) Патентообладатель(и):
Государственное образовательное учреждение высшего профессионального образования “Елецкий государственный университет им. И.А. Бунина” (RU)
|
(54) ТОРМОЗ РЕЛЬСОВОГО ЭКИПАЖА
(57) Реферат:
Изобретение относится к области рельсовых транспортных средств, а именно к тормозным системам вагонов. Тормоз включает тормозную магистраль, связанную через разобщительный кран с воздухораспределителем, основным тормозным цилиндром и дополнительным цилиндром. Шток дополнительного цилиндра расположен с возможностью поступательного движения в пазу серьги, шарнирно закрепленной на двуплечем рычаге основного тормозного цилиндра. Рукоятка управления разобщительным краном снабжена рычагом, шарнирно взаимосвязанным со стержнем фиксатора, подвижно размещенного в направляющей, жестко присоединенной к корпусу дополнительного цилиндра. На штоке дополнительного цилиндра выполнена выточка, взаимодействующая с упомянутым стержнем фиксатора при повороте рукоятки разобщительного крана в положение перекрыши. Достигается повышение эффективности работы тормоза за счет расширения функциональных возможностей тормоза. 2 ил.
Предлагаемое изобретение относится к области рельсовых транспортных средств и может быть использовано в конструкциях пассажирских и грузовых вагонов.
Известен тормоз рельсового экипажа. Так в книге “Технический справочник железнодорожника” под редакцией Е.Ф.Рудой в томе 6 “Подвижной состав” (Гос. транспортное железнодорожное издательство, М., 1952 г.) на стр.866, фиг.49 в разделе “Автоматические тормоза” показана и описана рычажная передача грузового четырехосного вагона, состоящая из шарнирно соединенных между собой рычагов и подвесок с триангилями и тормозными колодками, управляемыми тормозным цилиндром, подключенным к запасному резервуару через воздухораспределитель (см. фиг.44 стр.863, а также стр.864 и 865), питаемым сжатым воздухом из тормозной магистрали. Существенным недостатком такого тормоза является то, что в случае утечки воздуха из запасного резервуара при длительной стоянке одиночного вагона или группы вагонов без локомотива и, следовательно, отсутствия давления сжатого воздуха в тормозной магистрали может произойти роспуск тормозов, что приведет к самодвижению последних. В практике чтобы предупредить такое возможное явление, используют башмаки, которые укладывают на рельсы под колеса вагонов. Несмотря на эффективность такого рода фиксации подвижного состава, имеются недостатки. Во-первых, операция установки башмаков вручную небезопасна и, во-вторых, известны случаи, когда станционные работники забывают установить башмаки и, следовательно, самодвижение вагонов не исключено. В то же время известны случаи, когда те же работники забывают убрать башмаки, и тогда при начальном движении подвижного состава последний сходит с рельс.
Известен также тормоз тележки рельсового экипажа, описанный в патенте RU 2255872. Такой тормоз содержит подобные комплектующие узлы и детали тормоза, представленного в аналоге, но имеет существенное отличие, которое заключается в том, что на тележке экипажа шарнирно закреплен дополнительный цилиндр, шток которого с возможностью поступательного движения расположен в пазу серьги, шарнирно закрепленной на двуплечевом рычаге основного тормозного цилиндра. Поршень дополнительного цилиндра со стороны штока подпружинен, а надпоршневая полость дополнительного цилиндра соединена с запасным резервуаром. В случае утечки воздуха из запасного резервуара экипаж затормаживается усилием, создаваемым пружиной дополнительного цилиндра, и его самодвижение исключается. Однако описанный тормоз обладает существенным недостатком. Так, в составе поезда, например, один из вагонов требуется по отказу пневмотормозной системы отключить от тормозной магистрали. Для этого перекрывают разобщительный кран, а так как давление воздуха в запасном резервуаре сразу же упадет, то тормозные колодки затормозят колесные пары пружиной дополнительного цилиндра. Или, например, при роспуске вагонов с горки и отсутствии сжатого воздуха как в тормозной магистрали, так и в запасном резервуаре, тормозные колодки также войдут в контакт с колесами колесных пар и поэтому движение вагонов будет исключено до тех пор, пока не произойдет зарядки их запасных резервуаров сжатым воздухом.
Поэтому целью предлагаемого изобретения является повышение эффективной работы тормоза рельсового экипажа за счет расширения его характеристик, позволяющих использовать его в различных условиях эксплуатации.
Поставленная цель достигается тем, что рукоятка управления разобщительным краном снабжена рычагом, шарнирно взаимосвязанным со стержнем фиксатора, подвижно размещенного в направляющей, жестко присоединенной к корпусу дополнительного цилиндра, а на его штоке выполнена выточка, взаимодействующая с упомянутым стержнем фиксатора при повороте рукоятки разобщительного крана в положение перекрыша.
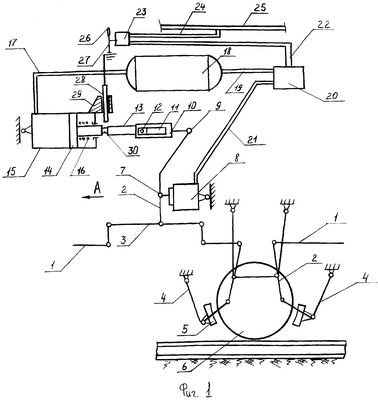
На фиг.1 показана принципиальная схема тормоза, а на фиг.2 – часть одного из узлов ее в перспективе.
Тормоз рельсового экипажа состоит из горизонтальных 1 и вертикальных рычагов 2, а также регулировочных рычагов 3 и подвесок 4, несущих тормозные колодки 5, контактирующие с колесами 6 колесных пар экипажа (последние не показаны). Один из вертикальных рычагов 2 с помощью шарнира 7 соединен со штоком основного тормозного цилиндра 8 и последний с помощью шарнира 9 соединен с серьгой 10, в пазу 11 которой размещен подвижно палец 12 штока 13 поршня 14 дополнительного цилиндра 15. Поршень 14 подпружинен относительно дополнительного цилиндра 15 пружиной сжатия 16. Цилиндр 15 с помощью трубопровода 17 подключен к запасному резервуару 18, а он в свою очередь связан трубопроводом 19 с воздухораспределителем 20, который связан трубопроводом 21 с основным тормозным цилиндром 8 и трубопроводом 22 с разобщительным краном 23. Последний также соединен трубопроводом 24 с тормозной магистралью 25. Рукоятка управления 26 разобщительного крана 23 снабжена рычагом 27, который шарнирно соединен со стержнем 28 фиксатора, подвижно установленного в направляющей 29, жестко закрепленной на дополнительном цилиндре 15. Стержень 28 фиксатора контактирует с выточкой 30, выполненной на штоке 13 поршня 14 дополнительного цилиндра 15.
Работает тормоз рельсового экипажа следующим образом. При необходимости служебного торможения экипажа в тормозной магистрали 25 широко известным в данной области техники способом снижают давление сжатого воздуха и тогда последний, находящийся в запасном резервуаре 18, через воздухораспределитель 20 по трубопроводу 21 поступает в основной тормозной цилиндр 8. При этом шток последнего выдвигается по стрелке А, что способствует поступательному и угловому перемещению связанного с ним вертикального рычага 2. Такие перемещения способствуют движению регулировочных рычагов 3 и подвесок 4, что и позволяет тормозным колодкам 5 войти в контакт с колесом 6 экипажа и тем самым снизить его поступательную скорость. В то же время упомянутый вертикальный рычаг 2 перемещает серьгу 10 также в направлении стрелки А и поэтому палец 12 штока 13 дополнительного цилиндра 15 свободно проскальзывает по пазу 11 и тем самым не оказывает осевого давления на шток 13. В этом случае шток 13 не может переместиться по стрелке А еще и за счет того, что надпоршневая полость дополнительного цилиндра 15 находится под давлением сжатого воздуха, поступающего постоянно в дополнительный цилиндр 15 по трубопроводу 17 из запасного резервуара 18. Как только надобность в торможении экипажа отпадет, давление воздуха в тормозной магистрали 25 поднимают, что исключает подачу его в трубопровод 21 и последний через воздухораспределитель 20 соединяется с атмосферой, обеспечивая тем самым вышеуказанным деталям исходное положение, такое, как это показано на фиг.1. Если же при длительной стоянке экипажа без локомотива, снабженного устройством получения сжатого воздуха или же в случае разрыва поезда на подъеме, давление воздуха в тормозной магистрали 25 резко снижается и последний через воздухораспределитель 20 из запасного резервуара 18 поступает в основной тормозной цилиндр 15 и, как это было описано выше, приводит экипаж или их группу (вагонов) к останову. Однако в практике такая стоянка (особенно длительная) может привести к утечке сжатого воздуха из основного тормозного цилиндра 15 других приборов тормоза и тогда экипаж или группа вагонов не сможет быть больше удержана тормозными колодками 5. Как только это произойдет (давление сжатого воздуха в надпоршневой полости дополнительного цилиндра 15 будет снижаться), поршень 14 и его шток 13 будут перемещаться под действием сжатой пружины сжатия 16 также по стрелке А, приводя в движение рычажную систему тормоза и поджимая тем самым тормозные колодки 5 к колесам 6. В результате самодвижение экипажа будет исключено. В тех случаях, когда, например, один из экипажей (вагонов) поезда будет иметь какой-либо отказ в пневмотормозной системе, в результате чего возможна утечка воздуха из ее составляющих деталей и чтобы не произошло самоторможение его, вручную поворачивают рукоятку управления 26 разобщительного крана 23 по стрелке В (см. фиг.2), что вызовет угловой поворот по этой же стрелке рычага 27, а так как он соединен со стержнем 28 фиксатора, то последний будет перемещаться по стрелке С и, войдя в выточку 30, выполненную на штоке 13 дополнительного цилиндра 15, застопорит его. Такое действие исключит перемещение поршня 16, а следовательно, и штока 13 по стрелке А, а это не обеспечит прижатие тормозных колодок 5 колесу 6. Другой возможный вариант срабатывания тормозных колодок 5 может быть при формировании составов на сортировочных станциях, имеющих горки. В этом случае, также предварительно расцепив экипажи на одиночные вагоны или групповые их структуры, поворачивают у каждого экипажа по стрелке В рукоятки управления 26 разобщительных кранов 23 и тем самым вводят стержни 28 фиксаторов в выточки 30 каждого из штоков 13 дополнительных цилиндров 15, а это в свою очередь не позволит перемещаться штокам 13 по стрелке А и, следовательно, не создает самоторможения экипажей (вагонов). После того как поезд будет сформирован, вагонники, обходя состав, перемещают рукоятки управления 26 разобщительных кранов 23 в направлении, обратном стрелкам В, освобождая тем самым штоки 13 от фиксации их стержнями 28 фиксаторов. После подачи сжатого воздуха от локомотива в тормозную магистраль 25 и накопления его в запасном резервуаре 18, последний всегда будет удерживать поршень 14 и его шток 13 дополнительного цилиндра 15 в положении, показанном на фиг.1. Далее процессы служебного торможения экипажей, их самоторможения, формирования поездов на сортировочных станциях и т.д. могут повторяться подобно тому, как это описано выше.
Технико-экономическое преимущество предложенного технического решения очевидно, так как оно существенно расширяет эксплуатационные возможности системы самоторможения подвижного состава в различных ситуациях движения, торможения, аварийного состояния и формирования отдельных экипажей в поезда на сортировочных станциях, снабженных горками.
Формула изобретения
Тормоз рельсового экипажа, включающий тормозную магистраль, связанную через разобщительный кран с воздухораспределителем, основным тормозным цилиндром и дополнительным цилиндром, шток которого с возможностью поступательного движения расположен в пазу серьги, шарнирно закрепленной на двуплечем рычаге основного тормозного цилиндра, отличающийся тем, что рукоятка управления разобщительным краном снабжена рычагом, шарнирно взаимосвязанным со стержнем фиксатора, подвижно размещенного в направляющей, жестко присоединенной к корпусу дополнительного цилиндра, а на его штоке выполнена выточка, взаимодействующая с упомянутым стержнем фиксатора при повороте рукоятки разобщительного крана в положение перекрыши.
РИСУНКИ
|
|