|
|
(21), (22) Заявка: 2005133025/11, 26.10.2005
(24) Дата начала отсчета срока действия патента:
26.10.2005
(46) Опубликовано: 20.04.2007
(56) Список документов, цитированных в отчете о поиске:
SU 1811733 A3, 10.04.2005. RU 2181448 C1, 20.04.2000. US 6012494 А, 11.01.2000. WO 97/35482 A1, 02.10.1997.
Адрес для переписки:
614094, г.Пермь, а/я 3263, пат.пов. Т.А.Юшкиной
|
(72) Автор(ы):
Андреев Владимир Кириллович (RU), Бакаев Сергей Георгиевич (RU)
(73) Патентообладатель(и):
Андреев Владимир Кириллович (RU), Бакаев Сергей Георгиевич (RU)
|
(54) ГИБКИЙ ВАЛ
(57) Реферат:
Изобретение относится к области машиностроения и предназначено для использования, преимущественно, в устройствах для перфорации обсаженных скважин. Гибкий вал состоит из звеньев, соединенных друг с другом концевыми частями. Каждое звено выполнено в виде цилиндрической втулки с центральным отверстием. На одной из концевых частей втулки выполнен соединительный элемент в виде двух выступов, каждый из которых – таврового профиля, расположенных в диаметральной плоскости оппозитно друг другу. При этом внешние поверхности стенок выполнены заодно с внешней кольцевой поверхностью цилиндрической втулки. Расстояние между внутренними поверхностями стенок приблизительно равно диаметру центрального отверстия. На другой концевой части перпендикулярно диаметральной плоскости расположения выступа выполнено гнездо в виде поперечного сквозного паза таврового профиля, ориентированного вырезом полки внутрь цилиндрической втулки, а вырезом стенки – к торцу втулки. При этом размерные параметры, а также профиль паза выполнены из условия размещения в упомянутом пазу выступов для обеспечения шарнирного соединения одного звена с другим. Внутри центрального отверстия размещен сердечник. В качестве сердечника может быть использована полая трубка, поверх которой установлен защитный слой в виде спирали. Кроме того, для обеспечения целостности оболочки и исключения радиального перемещения звеньев относительно друг друга, поверх нее произведена навивка в виде спиральной металлической ленты или встречная навивка указанной ленты в два слоя. Изобретение повышает надежность работы за счет обеспечения надежного соединения звеньев друг с другом и исключения повреждения при работе сердечника при одновременном расширении эксплуатационных возможностей за счет обеспечения передачи значительного вращательного и продольного усилия, обеспечения различного, в том числе и малого радиуса изгиба, с созданием при перфорации прямолинейных перфорационных каналов. 6 з.п. ф-лы, 5 ил.
Изобретение относится к области машиностроения и предназначено для использования, преимущественно, в устройствах для перфорации обсаженных скважин для передачи вращательного и поступательного движения режущему инструменту. Изобретение также может быть использовано в механизмах и машинах для передачи крутящих моментов от привода до исполнительного органа, расположенного на значительном удалении с большими углами несоосности.
Известен гибкий вал, состоящий из оболочки в виде отдельных звеньев с центральным отверстием, контактирующих концевыми частями через соединительный элемент и гнездо друг с другом, и размещенный в отверстиях звеньев сердечник – напорный рукав (1). При этом звенья выполнены в виде втулок, каждая из которых имеет внутреннюю сферическую поверхность – гнездо и внешнюю сферическую поверхность – соединительный элемент, с обеспечением охвата внешней сферической поверхности конца одной втулки внутренней сферической поверхностью конца другой втулки с образованием при этом гибкой оболочки в виде цепи, в которой звенья установлены с возможностью их частичного относительного пространственного перемещения относительно друг друга.
Однако указанный известный гибкий вал является недостаточно надежным в работе, так как при определенных нагрузках (особенно при наличии твердых пород) возможно «рассыпание» гибкого вала на отдельные звенья ввиду их недостаточно надежного соединения между собой.
Также известен гибкий вал, содержащий оболочку в виде цепи звеньев с центральным отверстием, шарнирно соединенных между собой смежными соединительными элементами, и размещенный в отверстиях звеньев сердечник, выполненный в виде гибкого упругого цилиндрического элемента – пружины (2). Каждое звено при этом образовано пересечением двух взаимно перпендикулярных цилиндрических поверхностей, а соединительный элемент выполнен в виде двух торцевых вилок, размещенных перпендикулярно друг другу. Благодаря такой конструкции обеспечивается передача значительного вращательного и продольного усилия.
Однако указанный известный гибкий вал не лишен недостатков, основным из которых является сложность конструкции, а значит и недостаточная надежность в работе.
Еще одним недостатком является то, что известный гибкий вал предназначен только для передачи крутящих моментов. Значительные осевые нагрузки, особенно при растяжении, вал передать не может, т.к. внутренние звенья соединены между собой планками 10 (указанные позиции взяты из чертежа известного вала) посредством болтов 11. Данное соединение звеньев из-за геометрических размеров невозможно выполнить равнопрочным со звеньями 12 и 1 (в любом случае диаметр болта 11 будет небольшим, т.е. его прочность будет в несколько раз меньше звеньев). Вот почему указанный известный гибкий вал и не обеспечивает передачу осевого усилия, а также не позволяет получить минимальный радиус изгиба вала.
Наиболее близким к предлагаемому техническому решению по назначению и совокупности признаков является гибкий вал, содержащий оболочку, выполненную в виде отдельных звеньев с центральным отверстием, контактирующих концевыми частями друг с другом посредством соединительного элемента, выполненного на одной из концевых частей звена, и гнезда, выполненного на другой его концевой части, с обеспечением при этом возможности ограниченного углового перемещения звеньев относительно друг друга, и размещенный в отверстиях звеньев сердечник в виде гибкого троса (3). В указанном гибком вале соединительный элемент звена представляет собой сферический выступ, а гнездо звена – сферическое гнездо. При этом центральное отверстие звена выполнено расширяющимся к торцам звена.
Недостатками указанного известного гибкого вала являются следующие:
– недостаточная надежность соединения звеньев друг с другом ввиду сложности обеспечения прочной завальцовки концевых частей, поэтому в данной конструкции всегда предусмотрено наличие сердечника – гибкого троса, который «держит» нагрузку и не позволяет «рассыпаться» звеньям;
– ненадежная работа указанного гибкого вала при использовании его в устройствах для перфорации обсаженных скважин, так как при проведении перфорации требуется устанавливать внутрь гибкого вала полую трубку – напорный рукав, посредством которого на режущий инструмент подается рабочая жидкость, но при работе указанного устройства производится постоянное деформирующее воздействие на указанный напорный рукав троса, также размещенного внутри гибкого вала, в результате чего напорный рукав разрушается и требуется его замена;
– известный гибкий вал также не позволяет обеспечить повышенную осевую жесткость и значительный крутящий момент, особенно при перфорации скважин, пробуренных в твердых породах, т. к зацепление звеньев выполнено сферическим и нет плоского торцового упора. Это же не позволит получить прямолинейность перфорационного канала, пробуренного устройством с известным гибким валом (канал будет уводить в любую сторону и даже может быть несколько его изгибов, особенно при наличии твердых пород).
Все это снижает эксплуатационные возможности известного гибкого вала.
Технический результат, достигаемый предлагаемым изобретением, заключается в повышении надежности работы за счет обеспечения надежного соединения звеньев друг с другом и исключения повреждения при работе сердечника, при одновременном расширении эксплуатационных возможностей за счет обеспечения передачи значительного вращательного и продольного усилия, обеспечения различного, в том числе и малого радиуса изгиба, с созданием при перфорации прямолинейных перфорационных каналов.
Указанный технический результат достигается предлагаемым гибким валом, содержащим оболочку в виде отдельных звеньев с центральным отверстием, контактирующих концевыми частями друг с другом посредством соединительного элемента, выполненного на одной из концевых частей звена, и гнезда, выполненного на другой его концевой части, с возможностью при этом ограниченного пространственного перемещения при этом звеньев относительно друг друга, и размещенный в отверстиях звеньев сердечник, при этом новым является то, что каждое звено оболочки выполнено в виде цилиндрической втулки, на одной из концевых частей которой в качестве соединительного элемента выполнено два выступа таврового профиля, расположенных в диаметральной плоскости оппозитно друг другу, внешние поверхности стенок которых выполнены заодно с внешней кольцевой поверхностью цилиндрической втулки, и с расстоянием между внутренними поверхностями стенок, приблизительно равным диаметру центрального отверстия звена, при этом на другой концевой части втулки перпендикулярно диаметральной плоскости расположения упомянутых выступов в качестве гнезда выполнен поперечный сквозной паз таврового профиля, ориентированный вырезом полки таврового профиля внутрь цилиндрической втулки, а вырезом стенки таврового профиля – к торцу указанной втулки, причем размерные параметры и профиль упомянутого паза выполнены из условия размещения в нем указанных выступов для обеспечения шарнирного соединения звеньев с возможностью их ограниченного пространственного перемещения относительно друг друга, при этом поверх оболочки вала дополнительно размещена навивка в виде спирали.
В качестве сердечника гибкий вал содержит полую трубку, поверх которой размещена защитная спираль.
Поверх оболочки размещены по меньшей мере две спирали в виде встречной навивки.
Высота цилиндрической втулки между выступами и сквозным пазом относится к высоте выступа и глубине паза как 1:(1,5÷3):(1,5÷3).
Высота выреза полки таврового профиля сквозного паза больше высоты полки выступа таврового профиля.
Торцы полки выступа таврового профиля выполнены трапециевидной формы под углом к кольцевой поверхности цилиндрической части втулки.
Вырез стенки сквозного паза таврового профиля имеет трапециевидную форму.
Вышеуказанный технический результат обеспечивается за счет следующего.
Благодаря выполнению каждого звена, состоящим практически из трех частей: цилиндрическая втулка с центральным отверстием и расположенные на ее концах выступы и гнездо особой конфигурации – таврового профиля, обеспечивается наряду с простой сборкой еще и надежность соединения звеньев друг с другом, с обеспечением при этом возможности ограниченного разнонаправленного изгиба всего гибкого вала без нарушения его целостности и без необходимости установки внутри гибкого троса.
При этом осуществляется возможность именно ограниченного пространственного перемещения звеньев относительно друг друга, а не только углового, как у прототипа, что позволяет при работе гибкого вала не деформировать ребрами звеньев сердечник, а значит обеспечивается надежная работа вала.
Кроме того, благодаря выполнению выступов и сквозного паза в звеньях в виде таврового профиля и дополнительному размещению поверх оболочки навивки в виде спирали обеспечивается надежная передача крутящего момента и продольного усилия предлагаемым гибким валом. Это в свою очередь, позволяет расширить эксплуатационные возможности заявляемого вала и использовать его при различных условиях эксплуатации, в том числе при перфорации пород различной твердости.
Кроме того, гибкий вал, составленный из звеньев указанной конструкции, позволяет получать малый радиус изгиба практически равным радиусу изгиба стального каната (за счет того, что соотношение радиуса изгиба к диаметру вала более 8), что обеспечивает при перфорационных работах прямолинейность перфорационных каналов.
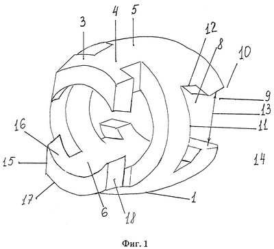
Предлагаемое изобретение поясняется чертежами, где на фиг.1 представлен общий вид звена вала; на фиг.2 – продольный разрез звена с сечением между выступами; на фиг.3 – продольный разрез звена с сечением по телу выступов; на фиг.4 – вид с концевого участка звена, на котором выполнено гнездо; на фиг.5 – вид с концевого участка звена, на котором выполнены выступы.
Заявляемый гибкий вал представляет собой цепь звеньев 1, соединенных друг с другом концевыми частями. Каждое звено 1 выполнено в виде цилиндрической втулки с центральным отверстием 2 (фиг.4 и 5), на одной из концевых частей которой выполнен соединительный элемент в виде двух выступов 3, каждый из которых таврового профиля, расположенных в диаметральной плоскости оппозитно друг другу. При этом внешние поверхности стенок 4 выступов 3 выполнены заодно с внешней кольцевой поверхностью 5 цилиндрической втулки, а расстояние между внутренними поверхностями 6 стенок 4 выступов 3 приблизительно равны диаметру центрального отверстия 2 звена 1.
На другой концевой части звена 1 перпендикулярно диаметральной плоскости расположения выступов 3 выполнено гнездо в виде поперечного сквозного паза 7 (фиг.3) таврового профиля, ориентированного вырезом полки 8 таврового профиля внутрь цилиндрической втулки, а вырезом стенки 9 таврового профиля к торцу 10 звена 1. При этом размерные параметры сквозного паза 7 (глубина, ширина 11 и высота 12 выреза полки 8 паза таврового профиля, ширина 13 и высота 14 выреза стенки 9 паза таврового профиля), а также профиль этого паза 7 выполнены из условия размещения в упомянутом пазу 7 выступов 3 для обеспечения шарнирного соединения одного звена с другим (с возможностью при этом ограниченного частичного пространственного перемещения звеньев относительно друг друга, преимущественно, по оси и по дуге окружности).
В преимущественном варианте выполнения, например, высота 12 выреза полки 8 паза 7 должна ориентировочно быть не менее чем в 1,5-2 раза больше высоты 15 полки 16 выступа 3 для обеспечения свободы движения одного звена по отношению к другому. Также, исходя из этой цели, а также из возможности размещения выступов 3 в сквозном пазу 7, глубина сквозного паза 7 должна быть несколько большей, чем высота выступа 3, а ширина 11 выреза полки 8 паза 7 – несколько большей, чем ширина 17 полки 16 выступа 3. Но при этом должно быть обеспечено и соединение звеньев друг с другом (без рассыпания). В частном случае этому также будет способствовать выполнение торцов 18 полки 16 выступа 3 трапециевидной формы под углом к кольцевой поверхности цилиндрической части втулки, что обеспечивает при размещении выступов 3 в пазе 7 частичное зацепление выступов 3 посредством торцов 18 в вырезе полки 8.
Кроме того, если следует получить гибкий вал с большей степенью свободы изгиба, то при этом следует конструктивно выполнить соотношение: высота цилиндрической втулки между выступами и сквозным пазом относится к высоте выступа и глубине паза как 1:(1,5÷3):(1,5÷3).
При этих условиях передача вращения гибкого вала будет происходить синхронно и последовательно по всем звеньям с передачей крутящего момента и осевого усилия при различных изгибах вала.
Внутри отверстий 2 звена 1 размещен сердечник (на чертеже не показан). В преимущественном варианте выполнения в качестве сердечника может быть использована полая трубка, поверх которой установлен защитный слой в виде спирали.
Кроме того, для обеспечения целостности оболочки и исключения радиального перемещения звеньев относительно друг друга, поверх нее произведена навивка в виде спиральной металлической ленты или встречная навивка указанной ленты в два слоя.
Заявляемый гибкий вал работает следующим образом.
Производят сборку указанного вала, для чего выступы 3 звена 1 размещают в гнезде – сквозном пазу 7 второго звена 1, а выступы второго звена размещают в гнезде третьего звена и т.д. После сборки по указанному принципу оболочки гибкого вала осуществляют навивку на нее металлической ленты, а внутри оболочки размещают сердечник – полую трубку с защитной спиралью (в случае использования гибкого вала в перфорационном устройстве). Собранный гибкий вал одним концом присоединяют к приводному механизму, а другим концом – к режущему инструменту с обеспечением сообщения проточного канала полой трубки с промывочным каналом режущего инструмента. При работе привода производится передача крутящего момента и продольной нагрузки по всей длине гибкого вала от звена к звену посредством взаимодействия поверхностей гнезда и выступов, причем указанный эффект будет происходить при различных изгибах гибкого вала, в том числе при малом радиусе изгиба.
Благодаря указанным качествам предлагаемый гибкий вал обеспечивает надежную работу перфорационного устройства в целом и расширяет его эксплуатационные возможности.
ИСТОЧНИКИ ИНФОРМАЦИИ
1. Свидетельство РФ №19086 на полезную модель, кл. Е21В 43/11 от 2001 г.
2. Патент РФ №2239733, кл. F16C 1/20 от 2002 г.
3. Патент СССР №1811733, кл. F16C 1/20 от 1990 г.
Формула изобретения
1. Гибкий вал, содержащий оболочку в виде отдельных звеньев с центральным отверстием, контактирующих концевыми частями друг с другом посредством соединительного элемента, выполненного на одной из концевых частей звена, и гнезда, выполненного на другой его концевой части, с возможностью ограниченного пространственного перемещения при этом звеньев друг относительно друга, и размещенный в отверстиях звеньев сердечник, отличающийся тем, что каждое звено оболочки выполнено в виде цилиндрической втулки, на одной из концевых частей которой в качестве соединительного элемента выполнено два выступа таврового профиля, расположенных в диаметральной плоскости оппозитно друг другу, внешние поверхности стенок которых выполнены заодно с внешней кольцевой поверхностью цилиндрической втулки, и с расстоянием между внутренними поверхностями стенок, приблизительно равным диаметру центрального отверстия звена, при этом на другой концевой части втулки перпендикулярно диаметральной плоскости расположения упомянутых выступов в качестве гнезда выполнен поперечный сквозной паз таврового профиля, ориентированный вырезом полки таврового профиля внутрь цилиндрической втулки, а вырезом стенки таврового профиля – к торцу указанной втулки, причем размерные параметры и профиль упомянутого паза выполнены из условия размещения в нем указанных выступов для обеспечения шарнирного соединения звеньев с возможностью их ограниченного пространственного перемещения друг относительно друга, при этом поверх оболочки вала дополнительно размещена навивка в виде спирали.
2. Гибкий вал по п.1, отличающийся тем, что в качестве сердечника гибкий вал содержит полую трубку, поверх которой размещена защитная спираль.
3. Гибкий вал по п.1, отличающийся тем, что поверх оболочки размещены две спирали в виде встречной навивки.
4. Гибкий вал по п.1, отличающийся тем, что высота цилиндрической втулки между выступами и сквозным пазом относится к высоте выступа и глубине паза как 1:(1,5÷3):(1,5÷3).
5. Гибкий вал по п.1, отличающийся тем, что высота выреза полки таврового профиля сквозного паза больше высоты полки выступа таврового профиля.
6. Гибкий вал по п.1, отличающийся тем, что торцы полки выступа таврового профиля выполнены трапециевидной формы под углом к кольцевой поверхности цилиндрической части втулки.
7. Гибкий вал по п.1, отличающийся тем, что вырез стенки сквозного паза таврового профиля имеет трапециевидную форму.
РИСУНКИ
|
|