|
|
(21), (22) Заявка: 2006119860/11, 06.06.2006
(24) Дата начала отсчета срока действия патента:
06.06.2006
(46) Опубликовано: 20.04.2007
(56) Список документов, цитированных в отчете о поиске:
FR 2622649 A1, 05.05.1989. US 5333978 A, 02.08.1994. SU 469005 A, 14.07.1975. US 6264414 B1, 24.07.2001. DE 3441561 A, 22.05.1986. EP 0523393 A1, 20.01.1993.
Адрес для переписки:
452005, Республика Башкортостан, г. Белебей, ул. Сыртлановой, 1А, ОАО “БелЗАН”, группа РИЗ и патентоведения ОППРП, Э.Ф. Ганеевой
|
(72) Автор(ы):
Антонов Владимир Михайлович (RU), Скворцова Светлана Степановна (RU), Воронин Алексей Владимирович (RU)
(73) Патентообладатель(и):
Открытое акционерное общество “Белебеевский завод “Автонормаль” (RU)
|
(54) ШПИЛЬКА
(57) Реферат:
Изобретение относится к конструкциям крепежных изделий и может быть использовано для сборки резьбовых соединений в машиностроении. Шпилька содержит резьбовую часть большего и меньшего диаметров на противоположных торцах, буртик, шестигранник, цилиндрическую часть. При этом шестигранник находится между цилиндрической частью и резьбовой частью меньшего диаметра. В результате облегчается монтаж и демонтаж резьбовых соединений, в том числе в труднодоступных местах, при этом не требуется специальный инструмент для монтажа. 1 ил.
Изобретение относится к конструкциям крепежных деталей типа шпилек и может быть использовано для сборки резьбовых соединений в машиностроении.
Известна резьбовая шпилька, содержащая стержень, резьбовую часть, буртики, гладкую цилиндрическую часть (Патент Япония №4-37289, кл. F 16 В 35/04).
Известная конструкция имеет следующие недостатки:
1. Для закручивания шпильки необходим специальный инструмент.
2. Требуется сложнопрофильный инструмент для изготовления цилиндрической части между буртиками.
3. При откручивании необходим специальный монтажный инструмент, в случае демонтажа шпильки возникает вероятность повреждения резьбовой части.
Наиболее близким по технической сущности к предлагаемому изобретению является шпилька, состоящая из конической части на одном торце и шестигранника на противоположном торце, резьбовой части с большим и меньшим диаметрами, буртика (патент Франция №2622649, кл. F 16 B 39/00, 35/04).
Недостатками прототипа являются:
1. Данная шпилька предназначена только для деформации кольца с изменением ее формы.
2. Требуется специальный инструмент для изготовления конусной резьбовой части большего диаметра и шестигранника.
Предлагаемым изобретением решается задача создания крепежной детали для облегчения как при ручной, так и при автоматизированной сборке резьбовых соединений, так как подобные шпильки устанавливаются в труднодоступных местах, а шестигранник легко позволяет производить монтаж и демонтаж узла, при этом не требуется специальный инструмент для монтажа.
Указанный технический результат достигается тем, что конструкция шпильки, состоящая на противоположных торцах из резьбовой части большего и меньшего диаметров, шестигранника, буртика, цилиндрической части, согласно изобретению шестигранник выполнен между цилиндрической частью и резьбовой частью меньшего диаметра.
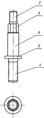
Изобретение поясняется чертежом, где показана конструкция шпильки и вид сверху.
Шпилька содержит резьбовую часть 1, буртик 2, цилиндрическую часть 3, шестигранник 4 и резьбовую часть 5.
Предлагаемая шпилька технологична в изготовлении, позволит легко производить монтаж и демонтаж узла, не требующего при этом использования специального инструмента.
Формула изобретения
Шпилька, содержащая резьбовую часть большего и меньшего диаметров на противоположных торцах, буртик, шестигранник, цилиндрическую часть, отличающаяся тем, что шестигранник находится между цилиндрической частью и резьбовой частью меньшего диаметра.
РИСУНКИ
|
|